Ripple of a DC/DC converter based on SEPIC topology
- Autores: Bityukov V.K.1, Lavrenov A.I.1
-
Afiliações:
- Russian Technological University (RTU MIREA)
- Edição: Volume 53, Nº 2 (2024)
- Páginas: 162-168
- Seção: ТЕХНОЛОГИИ
- URL: https://journals.rcsi.science/0544-1269/article/view/262753
- DOI: https://doi.org/10.31857/S0544126924020056
- ID: 262753
Citar
Texto integral
Resumo
Mathematical models serve as the basis for unified methods for the calculation and designing of radio-electronic devices. The developed limiting continuous mathematical model of a DC/DC converter, built using SEPIC topology, allows to determine the range of changes in currents flowing through the inductor windings and voltages on the capacitor plates, as well as to determine their maximum and minimum values for various converter parameters, such as switching frequency of the power switch, fill factor, element ratings, etc. The research results have shown that the phase coordinates of the mathematical model tend to the real values of currents and voltages of the converter when the switching frequency of the power switch is more than 200 kHz. Correspondence is established between the calculated values of the pulsation ranges and the results obtained during modelling (with changes in the filling factor and switching frequency of the power switch).
Palavras-chave
Texto integral
ВВЕДЕНИЕ
Автономность наукоемких радиоэлектронных устройств является одной из основных тенденций развития техники. Как правило, в автономных устройствах энергообеспечение выполняется с помощью литий-ионных аккумуляторов и/или топливных ячеек. Специфика этих устройств заключается в использовании стабилизированных низковольтных напряжений. Для формирования стабильного напряжения необходимой величины применяют DC/DC преобразователи [1], так как напряжение первичных источников напряжения со временем изменяется в широком диапазоне [2, 3]. Эти особенности диктуют потребность в разработке различных средств расчета и проектирования DC/DC преобразователей.
На настоящее время DC/DC преобразователи без гальванической развязки насчитывают шесть топологий: понижающего типа (buck converter), повышающего типа (boost converter), полярно-инвертирующего типа (buck-boost converter), SEPIC, Ćuk и Zeta. Первые три топологии исследованы достаточно подробно, в отличии остальных преобразователей понижающе-повышающего типа [4, 5]. А вот DC/DC преобразователи, построенные по топологии SEPIC, Ćuk и Zeta, требуют дополнительных исследований и разработки соответствующих методов расчета и проектирования.
Разработка радиоэлектронных устройств базируется на соответствующих математических моделях. Для базовых DC/DC преобразователей топологий buck converter, boost converter и buck-boost converter уже созданы предельные непрерывные математические модели [6]. DC/DC преобразователи понижающе-повышающего типа, построенные по топологиям SEPIC [7], Ćuk [8] и Zeta [9, 10], тоже описаны с помощью предельных непрерывных математических моделей. Но если для топологий Ćuk [8] и Zeta [9, 10] выполнен анализ пульсаций токов, протекающих через обмотки дросселей, и напряжений на конденсаторах, то для топологии SEPIC подобный анализ отсутствует.
АНАЛИТИЧЕСКИЙ ВЫВОД УРАВНЕНИЙ, ОПИСЫВАЮЩИХ РАЗМАХИ ПУЛЬСАЦИЙ ТОКОВ И НАПРЯЖЕНИЙ
Процедура разработки предельной непрерывной математической модели DC/DC преобразователя, построенного по топологии SEPIC (рис. 1), подробно рассмотрена в [7]. Поэтому в данной работе сохранена преемственность в обозначениях физических величин и электрорадиоэлементов с [7].
Рис. 1. Принципиальная электрическая схема преобразователя понижающе-повышающего типа, построенного по топологии SEPIC.
Мгновенные токи iL1 и iL2, протекающие через обмотки дросселей L1 и L2, и мгновенные напряжения uC1 и uC2 на конденсаторах С1 и С2 содержат постоянную и переменную составляющие. Поэтому можно записать, что
(1)
где δiL1 — переменная составляющая тока iL1; δiL2 — переменная составляющая тока iL2; δuC1 — переменная составляющая напряжения uC1; δuC1 — переменная составляющая напряжения uC1.
Подставив из (1) уравнения, определяющие мгновенные токи и напряжения, в системы уравнений (6) и (13) из [7], описывающие обе фазы работы преобразователя, а также приняв во внимание, что постоянные составляющие токов и напряжений, как правило, много больше размахов соответствующих пульсаций [10], получают:
(2)
(3)
Используя уравнения системы (2), получают формулы для определения переменных составляющих δiL1 δiL2, δuC1 и δuC2 за время первой фазы:
(4)
; (5)
; (6)
. (7)
Используя уравнения системы (3), получают формулы для определения переменных составляющей δiL1 δiL2, δuC1 и δuC2, за время второй фазы:
(8)
; (9)
; (10)
. (11)
Используя уравнения (4)—(7), получают формулы для определения размаха пульсаций ΔiL1, ΔiL2, ΔuC1 и ΔuC2 за время первой фазы:
; (12)
; (13)
; (14)
. (15)
Используя выражения (8)—(11), получают формулы для определения размаха пульсаций ΔiL1, ΔiL2, ΔuC1 и ΔuC2 за время второй фазы:
; (16)
; (17)
; (18)
. (19)
Уравнения (12)—(15) первой фазы эквивалентны уравнениям (16)—(19) второй фазы, так как средние значения токов и напряжений со временем не изменяются. Поэтому изменения мгновенных значений токов и напряжений по модулю в первой фазе будут равны их изменению по модулю во второй фазе. В дальнейшем для упрощения сбора данных в качестве уравнений для расчета использованы формулы (12)—(15).
Таким образом, зная номиналы выбранных элементов электронной компонентной базы и режим работы преобразователя (коэффициент заполнения D и период T), формулы (12)—(15) позволяют рассчитать размах пульсации токов iL1, iL2, протекающих через обмотки дросселей L1 и L2, и напряжений uC1, uC2 на обкладках конденсаторов С1 и С2 соответственно.
МОДЕЛИРОВАНИЕ В СРЕДЕ MULTISIM
Проверка достоверности полученных выражений для расчета размахов пульсаций токов и напряжений выполнена сравнением результатов расчета по формулам (12)—(15) с результатами схемотехнического моделирования в среде Multisim. Аналитический вывод уравнений для расчета постоянных составляющих SEPIC преобразователя и их сравнение с результатами моделирования представлены в [10].
Рис. 2. Схема моделирования DC/DC преобразователя.
На рис. 2 показана схема моделирования DC/DC преобразователя. В качестве силового транзистора был использован MOSFET IRLZ44N (как и в [11]), который использован для коммутации тока от входного источника питания V1 с заданной частотой f тактовых импульсов, создаваемых генератором V2. Все компоненты схемы выбраны из базы данных Multisim. Дроссели представлены эквивалентными схемами. Активные сопротивления выбранных дросселей, имеющих индуктивность 55 мкГн, не превышали 1 Ом.
Для исследования влияния коэффициента заполнения D на размахи пульсаций был использован режим анализа переходных процессов. Размахи пульсации токов и напряжений регистрировались в установившемся режиме (через 5–12 мс после начала моделирования). Результаты исследования, показывающие влияние коэффициента заполнения D, как основного параметра, на режим работы преобразователя, представлены на рис. 3 и рис. 4 (сплошные линии — расчет, штриховые линии — моделирование).
Рис. 3. Влияние коэффициента заполнения на пульсации токов, протекающих через обмотки дросселей L1 и L2: 1L1 — расчетные значения ΔiL1; lL2 — расчетные значения ΔiL2; 2 — результаты моделирования ΔiL1м и ΔiL2м.
Здесь и далее приняты обозначения: ΔiL — размахи пульсаций тока, протекающего через обмотку дросселей L1 и L2, полученные с помощью предельной непрерывной математической модели; ΔuC — пульсации напряжения на конденсаторах С1 и С2, полученные с помощью предельной непрерывной математической модели; ΔiL1— размахи пульсаций тока, протекающего через обмотку дросселей L1 и L2, полученные с помощью моделирования; ΔuCм — пульсации напряжения на конденсаторах С1 и С2, полученные с помощью моделирования.
Рис. 4. Влияние коэффициента заполнения на пульсации напряжения на конденсаторах С1 и С2: 1С1 — расчетное значение ΔuC1; 2С1 — результат моделирования ΔuC1м; 1С2 — расчетное значение ΔuC2 2С2 — результат моделирования ΔuC2м.
Информация, приведенная на рис. 3 и рис. 4, иллюстрирует достаточно хорошее совпадение результатов моделирования с результатами расчетов по разработанной математической модели. Однако при значениях коэффициента заполнения D менее 0.3 и более 0.7 наблюдаются существенные отличия. Это объясняется допущениями, принятыми при выводе формул (23)—(30) [7], и влиянием паразитных параметров электрорадиоэлементов на работу преобразователя. В окрестности коэффициента заполнения D = 0.5 наблюдаются практически тождественные значения размахов пульсаций токов и напряжений, полученных при расчете и моделировании.
На рис. 3 и рис. 4 видно, что минимальная разница между рассчитанными значениями и результатами моделирования наблюдаются при коэффициентах заполнения D от 0.45 до 0.60. Для ΔiL1 минимальная разница составляет 6 мА (2.2% от ΔiL1м) при D = 0.60, для ΔiL2 — 2 мА (0.9% от ΔiL2м) при D = 0.50, для ΔuC1 — 0.2 мВ (1.5% от ΔuC1м) при D = 0.50. Разница ΔuC2 — 0.1 мВ (0.63% от ΔuC2м) при D = 0.45.
Рис. 5. Влияние частоты коммутации силового транзистора на размахи пульсаций токов, протекающих через обмотку дросселей L1 и L2 при коэффициенте заполнения, равном 0.5: 1 — расчетное значение ΔiL, 2L1 — результат моделирования ΔiL1м 2L2 — результат моделирования ΔiL2м
При изменении коэффициента заполнения D относительно минимума разница между расчетными значениями и значениями, полученными при моделировании, увеличивается. Так, для ΔiL1 разница составляет 14 мА (10%) и 9 мА (3%), для ΔiL2 — 13 мА (9%) и 68 мА (24%), для ΔuC1— 0.62 мВ (14%) и 10.55 мВ (23%), а для ΔuC2— 2.4 мВ (28%) и 17 мВ (23%), при коэффициентах заполнения D равных 0.3 и 0.7 соответственно.
Результаты исследования влияния частоты коммутации f силового транзистора VT1 на размахи пульсаций токов и напряжений представлены на рис. 5 и рис. 6.
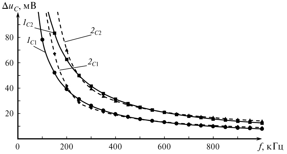
Рис. 6. Влияние частоты коммутации силового транзистора на размахи пульсаций напряжения на конденсаторах С1 и С2 при коэффициенте заполнения, равном 0.5: 1С1 — расчетное значение ΔuC1; 2С1 — результат моделирования ΔuC2; 1С2 — расчетное значение ΔuC2 2С2 — результат моделирования ΔuC2м.
На рис. 6 хорошо видна предельность непрерывной математической модели [8, 10] при частоте менее 200 кГц.
Расхождение результатов расчета и моделирования размахов пульсаций токов ΔiL1 достигает 86 мА (4.2% от ΔiL1м) и 217 мА (10% от ΔiL2м) для ΔiL2, а отличия значений размахов пульсаций напряжения ΔuC1 достигают 312 мВ (66.7% от ΔuC1м) и 421 мВ (62.7% от ΔuC2м) для ΔuC2.
При частоте коммутации f силового транзистора рассматриваемого DC/DC преобразователя, превышающей 200 кГц, минимальные отклонения для пульсаций тока ΔiL1наблюдаются на частоте 250 кГц и составляют 7 мА (1.6%), пульсации тока ΔiL2 совпадают с ΔiL2м на частоте 650 кГц, а для пульсаций напряжения ΔuC1 — 5 мкВ (0.03%) на частоте 550 кГц и для ΔuC2 — 27 мкВ (0.12%) на частоте 550 кГц.
ЗАКЛЮЧЕНИЕ
Cоставлены эквивалентные схемы для DC/DC преобразователя, построенного по топологии SEPIC, в режимах накопления и передачи энергии. В соответствии с правилами Кирхгофа были записаны системы уравнений для обеих фаз работы устройства. Для формулировки математической модели в матричном виде системы уравнений были преобразованы в матричный вид.
Представляя мгновенные токи и напряжения как суммы постоянной и переменной составляющих, были записаны системы уравнений, описывающие работу преобразователя в режимах накопления и передачи энергии. Используя полученные выражения для постоянных составляющих токов и напряжений и проинтегрировав системы уравнений, описывающие каждую фазу, впервые сформулированы уравнения для определения пульсаций токов, протекающих через обмотку дросселей, и напряжений на конденсаторах, основанные на предельной непрерывной математической модели.
Для проверки достоверности расчетов размахов пульсаций выполнено сравнение результатов, полученных с использованием предельной непрерывной математической модели, с результатами моделирования DC/DC преобразователя. Исследовано влияние коэффициента заполнения D и частоты переключения f силового транзистора на размахи пульсаций характерных токов и напряжений. При коэффициенте заполнения D, близком к 0.5 размаха пульсации, вычисленные с помощью математической модели, совпали с результатами моделирования.
Минимальное расхождение результатов расчета и моделирования при изменении коэффициента заполнения D составляет: 6 мА (2.2%) для ΔiL1, 2 мА (0.9%) для ΔiL2, 0.2 мВ (1.5%) для ΔuC1 и 0.1 мВ (0.63%) для ΔuC2. При изменении частоты коммутации f минимальная разница составляет: для ΔiL1— 7 мА (1.6%), для ΔiL2— 0 мА, для ΔuC1— 5 мкВ (0.03%) и для ΔuC2 — 27 мкВ (0.12%).
Sobre autores
V. Bityukov
Russian Technological University (RTU MIREA)
Autor responsável pela correspondência
Email: bitukov@mirea.ru
Rússia, Moscow
A. Lavrenov
Russian Technological University (RTU MIREA)
Email: bitukov@mirea.ru
Rússia, Moscow
Bibliografia
- Shubin V.V. A high voltage CMOS voltage level converter for a low voltage process // Russian Microelectronics. 2022. V. 51. No. 3. P. 155–163.
- Babenko V.P., Bityukov V. K., Simachkov D. S. DC/DC Buck-Boost Converter with Single Inductance // Russian Microelectronics. 2022. V. 51. No. 1. P. 60–70. DOI: S0544126921060041. EDN: ESWIIC.
- The use of DC-DC converters within the power installation of the electric vehicle / V.E. Yutt, V.V. Lohnin, K.M. Sidorov, K.H. Gulyamov // Vestnik MADI (in Russian). 2015. No. 4(43). P. 34–40. EDN: UYSEBH.
- Bityukov V.K., Simachkov D.S., Babenko V.P. Circuitry of electric power converters: Textbook for undergraduate students specialized in 11.03.01 — Radio engineering, 11.02.03 — Infocommunication technologies and communication systems, 11.03.03 — Design and technology of electronic means; for Master’s students: 11.04.01 — Radio engineering; for students in the speciality 11.05.01 — Radio electronic systems and complexes; for in-depth study of the discipline “Circuitry of electronic devices”. Vologda: Infra-Engineering, 2023. 384 p.
- Myslimov D.A. Mathematical Modeling of a DC/DC Buck Converter in NI // Science Prospects. 2023. No. 3(162). P. 80–83. EDN: EEPFUZ.
- Korshunov A. Methodology for constructing continuous models of pulsed DC voltage converters // Components and Technologies. 2006. No. 8(61). P. 124–130. EDN: MTFMUV.
- Lavrenov A.I., Bityukov V.K. Mathematical model of a DC/DC converter based on SEPIC topology // Russian Technological Journal. 2024. V. 12. No. 1. P. 69–79.
- Korshunov A. Pulsed DC voltage converter based on the Chuk scheme // Silovaya Elektronika [in Russian]. 2017. V. 4. No. 67. P. 60–66. EDN: ZQLXRR.
- Bityukov V.K., Lavrenov A.I., Malitsky D.A. Mathematical model of a DC/DC converter based on SEPIC topology. (Part 1) // Design and Technology of Electronic Means. 2022. No. 4. P. 53–57. EDN: SGUTFI.
- Bityukov V.K., Lavrenov A.I., Malitsky D.A. Mathematical model of a DC/DC converter based on SEPIC topology (Part 2) // Design and Technology of Electronic Means. 2023. No. 1. P. 48–53. EDN: VXPIIR.
- Babenko V.P., Bityukov V.K. Energy and noise characteristics of a SEPIC/CUK converter with bipolar output // Russian Microelectronics. 2021. V. 50. No. 5. P. 357–363. DOI: S0544126921040025. EDN: SGUPMB.
Arquivos suplementares








