Modeling of Non-Isothermal Viscoelastic-Viscoplastic Deformation of Bending Reinforced Plates
- Authors: Yankovskii A.P.1
-
Affiliations:
- Khristianovich Institute of Theoretical and Applied Mechanics SB RAS, 630090, Novosibirsk, Russia
- Issue: No 5 (2023)
- Pages: 147-169
- Section: Articles
- URL: https://journals.rcsi.science/1026-3519/article/view/137556
- DOI: https://doi.org/10.31857/S0572329923700071
- EDN: https://elibrary.ru/GLOLRC
- ID: 137556
Cite item
Full Text
Abstract
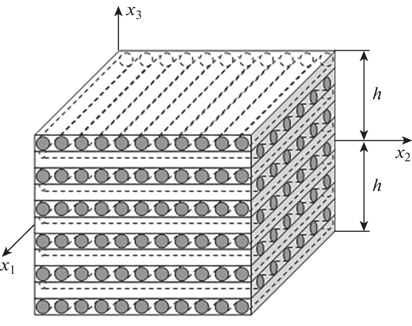
A model of non-isothermal viscoelastic-viscoplastic deformation of multidirectionally reinforced flexible plates has been developed. The viscoplastic deformation of isotropic materials of the composition is described by the relations of the flow theory with isotropic hardening, which take into account the dependences of the loading functions on temperature and strain rate intensity. The viscoelastic behavior of the composition components is described by the equations of the Maxwell–Boltzmann model. The weakened resistance of reinforced plates to transverse shifts is modeled by the Ambartsumian bending theory relations, and the geometric nonlinearity is modeled in the Karman approximation. The connection between the thermophysical and mechanical components of the problem of inelastic dynamic deformation of reinforced plates is taken into account. The temperature over the thickness of structures is approximated by a 7th order polynomial. The numerical solution of the formulated nonlinear two-dimensional problem is constructed using an explicit scheme of time steps. The viscoelastic-viscoplastic dynamic behavior of a relatively thin glass-plastic plate is studied with and without allowance for the thermal response in it. The structure is loaded transversely with an air blast wave. It is shown that the failure to take into account the thermal response in a fiberglass plate can significantly distort the calculated fields of residual deformations of the components of its composition, despite the fact that the maximum heating of such a structure does not exceed 10°C. Viscoelastic-plastic calculations, when the sensitivity of the composite materials to the rate of their deformation can be neglected, can reasonably be carried out without taking into account the thermal response of the composite plate, if there are no external heat sources of non-mechanical origin.
About the authors
A. P. Yankovskii
Khristianovich Institute of Theoretical and Applied Mechanics SB RAS, 630090, Novosibirsk, Russia
Author for correspondence.
Email: lab4nemir@rambler.ru
Россия, Новосибирск
References
- Амбарцумян С.А. Теория анизотропных пластин. Прочность, устойчивость и колебания. М.: Наука, 1987. 360 с.
- Богданович А.Е. Нелинейные задачи динамики цилиндрических композитных оболочек. Рига: Зинатне, 1987. 295 с.
- Bannister M. Challenger for composites into the next millennium – a reinforcement perspective // Compos. Part A Appl. 2001. V. 32. № 7. P. 901–910. https://doi.org/10.1016/S1359-835X(01)00008-2
- Mouritz A.P., Gellert E., Burchill P., Challis K. Review of advanced composite structures for naval ships and submarines // Compos. Struct. 2001. V. 53. № 1. P. 21–42. https://doi.org/10.1016/S0263-8223(00)00175-6
- Абросимов Н.А., Баженов В.Г. Нелинейные задачи динамики композитных конструкций. Н. Новгород: ННГУ, 2002. 391 с.
- Куликов Г.М. Термоупругость гибких многослойных анизотропных оболочек // Изв. РАН. МТТ. 1994. № 2. С. 33–42.
- Soutis C. Fibre reinforced composites in aircraft construction // Prog. Aerosp. Sci. 2005. V. 41. № 2. P. 143–151. https://doi.org/10.1016/j.paerosci.2005.02.004
- Reddy J.N. Mechanics of laminated composite plates and shells: theory and analysis. N.Y.: CRC Press, 2004. 831 p.
- Qatu M.S., Sullivan R.W., Wang W. Recent research advances on the dynamic analysis of composite shells: 2000–2009 // Compos. Struct. 2010. V. 93. P. 14–31.
- Vasiliev V.V., Morozov E. Advanced mechanics of composite materials and structural elements. Amsterdam: Elsever, 2013. 412 p.
- Андреев А. Упругость и термоупругость слоистых композитных оболочек. Математическая модель и некоторые аспекты численного анализа. Saarbrucken (Deutschland): Palmarium Academic Publishing, 2013. 93 с.
- Gill S.K., Gupta M., Satsangi P.S. Prediction of cutting forces in machining of unidirectional glass fiber reinforced plastic composites // Front. Mech. Eng. 2013. V. 8. P. 187–200. https://doi.org/10.1007/s11465-013-0262-x
- Kazanci Z. Dynamic response of composite sandwich plates subjected to time-dependent pressure pulses // Int. J. Non Linear Mech. 2011. V. 46. № 5. P. 807–817. https://doi.org/10.1016/j.ijnonlinmec.2011.03.011
- Соломонов Ю.С., Георгиевский В.П., Недбай А.Я., Андрюшин В.А. Прикладные задачи механики композитных цилиндрических оболочек. М.: Физматлит, 2014. 407 с.
- Moriniere F.D., Alderliesten R.C., Benedictus R. Modelling of impact damage and dynamics in fibre-metal laminates – A review // Int. J. Impact Eng. 2014. V. 67. P. 27–38. https://doi.org/10.1016/j.ijimpeng.2014.01.004
- Gibson R.F. Principles of composite material mechanics. Taylor & Francis Group, LLC, 2015. 815 p.
- Димитриенко Ю.И. Механика композитных конструкций при высоких температурах. М.: Физматлит, 2018. 447 с.
- Vena P., Gastaldi D., Contro R. Determination of the effective elastic-plastic response of metal-ceramic composites // Int. J. Plast. 2008. V. 24. № 3. P. 483–508. https://doi.org/10.1016/j.ijplas.2007.07.001
- Leu S.-Y., Hsu H.-C. Exact solutions for plastic responses of orthotropic strain-hardening rotating hollow cylinders // Int. J. Mech. Sci. 2010. V. 52. № 12. P. 1579–1587. https://doi.org/10.1016/j.ijmecsci.2010.07.006
- Brassart L., Stainier L., Doghri I., Delannay L. Homogenization of elasto-(visco) plastic composites based on an incremental variational principle // Int. J. Plast. 2012. V. 36. P. 86–112. https://doi.org/10.1016/j.ijplas.2012.03.010
- Ахундов В.М. Инкрементальная каркасная теория сред волокнистого строения при больших упругих и пластических деформациях // Мех. композ. материалов. 2015. Т. 51. № 3. С. 539–558.
- Янковский А.П. Моделирование вязкоупруго-вязкопластического поведения гибких армированных пластин // Изв. РАН. МТТ. 2021. № 5. С. 27–44. https://doi.org/10.31857/S0572329921040140
- Янковский А.П. Моделирование термоупруговязкопластического деформирования гибких армированных пластин // ПММ. 2022. Т. 86. № 1. С. 121–150. https://doi.org/10.31857/S003282352201009X
- Безухов Н.И., Бажанов В.Л., Гольденблат И.И., Николаенко Н.А., Синюков А.М. Расчеты на прочность, устойчивость и колебания в условиях высоких температур. М.: Машиностроение, 1965. 566 с.
- Композиционные материалы. Справочник. Киев: Наук. думка, 1985. 592 с.
- Reissner E. The effect of transverse-shear deformation on the bending of elastic plates // J. Appl. Mech. 1945. V. 12. № 2. P. 69–77.
- Houlston R., DesRochers C.G. Nonlinear structural response of ship panels subjected to air blast loading // Comput. Struct. 1987. V. 26. № 1–2. P. 1–15. https://doi.org/10.1016/0045-7949(87)90232-X
- Фрейденталь А., Гейрингер Х. Математические теории неупругой сплошной среды. М.: Физматгиз, 1962. 432 с.
- Деккер К., Вервер Я. Устойчивость методов Рунге–Кутты для жестких нелинейных дифференциальных уравнений. М.: Мир, 1988. 332 с.
- Хажинский Г.М. Модели деформирования и разрушения металлов. М.: Научный мир, 2011. 231 с.
- Малмейстер А.К., Тамуж В.П., Тетерс Г.А. Сопротивление жестких полимерных материалов. Рига: Зинатне, 1972. 498 с.
- Янковский А.П. Моделирование процессов теплопроводности в пространственно-армированных композитах с произвольной ориентацией волокон // Прикладная физика. 2011. № 3. С. 32–38.
- Пространственно-армированные композиционные материалы: Справочник / Ю.М. Тарнопольский, И.Г. Жигун, В.А. Поляков. М.: Машиностроение, 1987. 224 с.
- Луканин В.Н., Шатров М.Г., Камфер Г.М. и др. Теплотехника. М.: Высш. шк., 2003. 671 с.
- Справочник по композитным материалам. Кн. 1. М.: Машиностроение, 1988. 448 с.
Supplementary files









