Mechanics of Defects in Dislocation-Free Silicon Single Crystals
- 作者: Verezub N.A.1, Prostomolotov A.I.1
- 
							隶属关系: 
							- Ishlinsky Institute for Problems in Mechanics RAS
 
- 期: 编号 2 (2023)
- 页面: 3-29
- 栏目: Articles
- URL: https://journals.rcsi.science/1026-3519/article/view/137504
- DOI: https://doi.org/10.31857/S057232992260061X
- EDN: https://elibrary.ru/DHFWUC
- ID: 137504
如何引用文章
全文:
详细
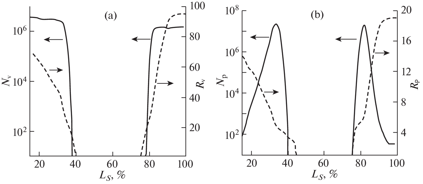
The problems of defect mechanics in dislocation-free silicon single crystals are relevant and technically significant due to the intensive development of microelectronics, which imposes increasingly high demands on minimizing the level of micro- and nanodefects in silicon wafers used to manufacture microelectronic chips. The solution of these problems is associated with the study of the regularities of thermomechanical processes both at the stage of growing silicon single crystals and at subsequent thermal annealing of wafers cut from them. The article provides an overview of theoretical and experimental work aimed at developing ways to control these processes. This includes the development of physical concepts of defect formation in dislocation-free single-crystal silicon and the development of mathematical models corresponding to different temperature ranges, implemented both during the growth of a single crystal and during thermal annealing of wafers cut from it. Thus, near the crystallization temperature, the processes of fast recombination and diffusion transfer of intrinsic point defects (vacancies and interstitial silicon atoms) are simulated, while at lower temperatures, the processes of their agglomeration into microdefects (pores and clusters of interstitial silicon atoms) are simulated. The verification of such models is illustrated for two experimental processes of growing silicon single crystals with a diameter of 150 mm by the Czochralski method, as well as for the process of rapid high-temperature thermal annealing of silicon wafers cut on their basis.
作者简介
N. Verezub
Ishlinsky Institute for Problems in Mechanics RAS
														Email: verezub@ipmnet.ru
				                					                																			                												                								Moscow, 119526 Russia						
A. Prostomolotov
Ishlinsky Institute for Problems in Mechanics RAS
							编辑信件的主要联系方式.
							Email: aprosto@inbox.ru
				                					                																			                												                								Moscow, 119526 Russia						
参考
- Мильвидский М.Г., Освенский В.Б. Структурные дефекты в монокристаллах полупроводников. М.: Металлургия, 1984. 256 с.
- Voronkov V.V. The mechanism of swirl defects formation in silicon // J. Crystal Growth. 1982. V. 59. P. 625–643. https://doi.org/10.1016/0022-0248(82)90386-4
- Mori T., Wang Z., Brown R. Transient simulation of grown-in defect dynamics in Czochralski crystal growth of silicon // Electrochem. Soc. Proc. 2000. V. 17. P. 118–127.
- Voronkov V.V., Falster R. Grown-in microdefects, residual vacancies and oxygen precipitation bands in Czochralski silicon // J. Crystal Growth. 1999. V. 204. № 4. P. 462–474. https://doi.org/10.1016/S0022-0248(99)00202-X
- Бабич В.М., Блецкан Н.И., Венгер Е.Ф. Кислород в монокристаллах кремния. Киев: ИНТЕРПРЕС ЛТД, 1997. 223 с.
- Voronkov V.V. Formation of voids and oxide particles in silicon crystals // Mater. Sci. Eng. 2000. V. B73. P. 69–76. https://doi.org/10.1016/S0921-5107(99)00436-5
- Lin W. Oxygen segregation and microscopic inhomogeneity in Cz silicon // Proc. 2nd Int. Symp. on Advanced Science and Technology of Silicon Materials. Kona-Hawaii, USA, 1996. P. 288–293.
- Bracht H. Native point defects in silicon // Electrochem. Soc. Proc. 1997. V. 22. P. 357–371.
- Litvinov Yu. M., Makarov A.S., Petrov S.V. et al. Oxidation test application for chemical-mechanical polished (CMP) silicon wafers quality control // Proc. of 4th Int. Conf. ICSC. Obninsk: IphPE, 2001. P. 605–612.
- Федина Л.И., Дрофа А.Т., Ободников В.И. и др. Анализ ростовых микродефектов в кристаллах FZ-Si, выращенных в условиях вакансионного пересыщения // Совещ. по росту кристаллов, пленок и дефектам структуры кремния (Кремний-2002). Новосибирск: ИФП СО РАН, 2002. С. 16.
- Эйдензон А.М. Условия возникновения дислокаций в первоначально бездислокационных монокристаллах кремния, выращенных из расплава // Изв. АН СССР. Сер. Физическая. 1980. Т. 44. № 2. С. 312–319.
- Wijaranakula W. A real-time simulation of point defect reactions near the solid and melt interface of a 200 mm diameter Czochralski silicon crystal // J. Electrochem. Soc. 1993. V. 140. № 11. P. 3306–3315. https://doi.org/10.1149/1.2221028
- Togawa S., Nishi Y., Kobayashi M. Estimation of radial resistivity profile of FZ-Si crystals by numerical simulation // Electrochem. Soc. Proc. 1998. V. 98 (13). P. 67–79.
- Ratnieks G., Muiznieks A., Buligins L. et al. Influence of the three dimensionality of the HF electromagnetic field on resistivity variations in Si single crystals during FZ growth // J. Crystal Growth. 2000. V. 216. P. 204–219. https://doi.org/10.1016/S0022-0248(00)00354-7
- Larsen T.L., Jensen L., Ludge A. et al. Numerical simulation of point defect transport in floating-zone silicon single crystal growth // J. Crystal Growth. 2001. V. 230. P. 300–304. https://doi.org/10.1016/S0022-0248(01)01320-3
- Ciszek T.F., Wang T.H. Silicon defect and impurity studies using float-zone crystal growth as tool // J. Crystal Growth. 2002. V. 237–239. P. 1685–1691. https://doi.org/10.1016/S0022-0248(01)02325-9
- Sinno T., Brown R.A., Ammon W.A. et al. Point defect dynamics and the oxidation-induced stacking – fault ring in Czochralski-grown silicon crystals // J. Electrochem. Soc. 1998. V. 145. № 1. P. 302–318. https://doi.org/10.1149/1.1838251
- Wang Z., Brown R.A. Simulation of almost defect-free silicon crystal growth // J. Crystal Growth. 2001. V. 231. P. 442–447. https://doi.org/10.1016/S0022-0248(01)01433-6
- Nakamura K., Saishoji T., Tomioka J. Diffusion model of point defects in silicon crystals during melt-growth // Electrochem. Soc. Proc. 1998. V. 13. P. 41–53.
- Nakamura K., Saishoij T., Tomioka J. Grown-in defects in silicon crystals // J. Crystal Growth. 2002. V. 237–239. P. 1678–1684. https://doi.org/10.1016/S0022-0248(01)02323-5
- Sinno T., Jiang Z.K., Brown R.A. Atomistic simulation of point defects in silicon at high temperature // Appl. Phys. Lett. 1996. V. 68. № 21. P. 3026–3030.
- Talanin V.I., Talanin I.E., Levinson D.I. Physics of the formation of microdefects in dislocation-free monocrystals of float-zone silicon // Semicond. Sci. Technol. 2002. V. 17. P. 104–113.
- Sinno T. Thermophysical properties of intrinsic point defect crystalline silicon // Electrochem. Soc. Proc. 2002. V. 2. № 1. P. 212–226.
- Hourai M., Kely G.P.,Tanaka T. et al. Control of grown-in defects in Czochralski silicon crystals // Electrochem. Soc. Proc. 1997. V. 22. P. 372–385.
- Furuya H., Harada K., Park J.G. CZ single-crystal silicon without grown-in defects // Solid State Technology. 2000. V. 11. P. 525–528.
- Kitamura K., Furukawa J., Nakada Y. et al. Radial distribution of temperature gradients in growing CZ-Si crystals and its application to the prediction of microdefect distribution // J. Crystal Growth. 2002. V. 242. P. 293–301.
- Abe T. Thermal gradients measured by thermocouples near growth interfaces in CZ-silicon crystals // Electrochem. Soc. Proc. 1999. V. 99 (1). P. 414–424.
- Abe T. The formation mechanism of grown-in defects in CZ silicon crystals based on thermal gradients measured by thermocouples near growth interfaces // Silicon-99, Japan. 1999. P. 55–69.
- Nakabayashi Y., Osman H.I., Toyonaga K. et al. Fractional contribution in Si self-diffusion: dopant concentration and temperature dependence on Si self-diffusion mechanism // Electrochem. Soc. Proc. 2002. V. 2. № 1. P. 241–247.
- Inoue N., Tanahashi K., Kikuchi M. Point defect behavior in a growing silicon crystal // Proc. 3rd Symp. on Atomic-Scale Surface and Interface Dynamics. Japan: Fukuoka, 1999. P. 215–219.
- Nakai K., Inoue Y., Yokota H. et al. Formation of grown-in defects in nitrogen doped Cz-Si crystals // Proc. 3rd Int. Symp. on Advanced Science and Technology of Silicon Materials. 2000. P. 88–95.
- Akatsuka M., Okui M., Umeno S., Sucoka K. Calculation of size distribution of void defect in Czochralski silicon // Electrochem. Soc. Proc. 2002. V. 2. № 1. P. 517–527.
- Sucoka K., Akatsuka M., Okui M., Kata H. Computer simulation for morfology, size and dependence of oxide precipitates in Czochralski silicon // Electrochem. Soc. Proc. 2002. V. 2. № 1. P. 540–553.
- Okui M., Nishimoto M. Effect of the axial temperature gradient on the formation of grown-in defect regions in Czochralski silicon crystals; reversion of the defect regions between the inside and outside of the Ring-OSF // J. Crystal Growth. 2002. V. 237–239. P. 1651–1656.
- Yang D., Chu J., Ma X. et al. Oxidation-induced stacking faults in nitrogen doped Czochralski silicon // Electrochem. Soc. Proc. 2002. V. 2. № 1. P. 273–279.
- Верезуб Н.А., Простомолотов А.И. Механика процессов выращивания и термообработки монокристаллического кремния // Изв. РАН. МТТ. 2020. № 5. С. 51–63. https://doi.org/10.31857/S0572329920040157
- Верезуб Н.А., Воронков В.В., Мильвидский М.Г., Простомолотов А.И. Взаимодействие собственных точечных дефектов при выращивании монокристаллов кремния методом Чох-ральского // Поверхность. Рентгеновские, синхронные и нейтронные исследования. 2001. № 10. С. 15–20.
- Verezub N.A., Prostomolotov A.I., Mezhennyi M.V., Mil’vidskii M.G., Reznik V.Ya. Theoretical and experimental study of the formation of grown-in and as-grown microdefects in dislocation-free silicon single crystals grown by Czochralski method //Crystallography reports. 2005. V. 50. Suppl. 1. P. S159–S167.
- Prostomolotov A.I., Verezub N.A. Integrated approach for modeling of heat transfer and microdefect formation during CZ silicon single crystal growth // Solid State Phenomena. 2007. V. 131–133. P. 283–288.
- Prostomolotov A., Verezub N., Mezhennyi M., Resnik V. Thermal optimization of CZ bulk growth and wafer annealing for crystalline dislocation-free silicon // J. Crystal Growth. 2011. V. 318. P. 187–192. https://doi.org/10.1016/j.jcrysgro.2010.11.080
- Vasiliev Yu.B., Verezub N.A., Mezhenniy M.V., Prosolovitch V.S., Prostomolotov A.I., Reznik V.Ya. Peculiarities of a defect generation during a heat treatment of large diameter dislocation–free silicon wafers with specified distribution of oxygen–containing gettering centres // Russian Microelectronics. 2013. V. 42. № 8. P. 467–476.
- Huff H.R., Goodall R.K. Silicon wafer thermal processing: 300 mm // Proc. 2nd Int. Symp. on Advanced Science and Technology of Silicon Materials. USA: Kona-Hawaii, 1996. P. 322–343.
- Fischer A., Richter H., Kumer W., Kucher P. Slip-free processing of 300 mm silicon batch wafers // J. Appl. Phys. 2000. V. 87. № 3. P. 1543–1549. https://doi.org/10.1063/1.372047
- Giannattasio A., Senkader S., Falster R.J., Wilshaw P.W. The generation of slip in CZ-silicon // Int. Conf. on Extended Defects in Semiconductors. Abstracts. Italy: Bologna, 2002. P. 23.
- Falster R. Intrinsic point defects and reactions in silicon. Advances in defect engineering // First Int. School on Crystal Growth Technology (ISCGT-1): Book of lecture notes. Switzerland: Beatenberg, 1998. P. 258–274.
补充文件
 
				
			 
						 
						 
					 
						 
						 
				
 
  
  
  电邮这篇文章
			电邮这篇文章 










