Forecast of geomagnetic and solar activity based on macroscopic nonlocal correlations
- Authors: Korotaev S.М.1, Serdyuk V.О.1, Kiktenko E.О.1, Popova I.V.1, Budnev N.М.2, Gorohov J.V.3
-
Affiliations:
- Schmidt Institute of Physics of the Earth RAS
- Irkutsk State University
- Pushkov Institute of Terrestrial Magnetism, Ionosphere and Radio Wave Propagation RAS
- Issue: Vol 65, No 2 (2025)
- Pages: 229-240
- Section: Articles
- URL: https://journals.rcsi.science/0016-7940/article/view/292543
- DOI: https://doi.org/10.31857/S0016794025020084
- EDN: https://elibrary.ru/CXQHGW
- ID: 292543
Cite item
Abstract
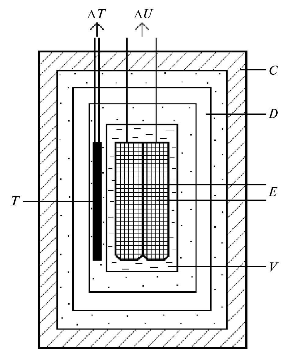
A series of long-term experiments to study macroscopic nonlocal correlations between random dissipative heliogeophysical processes and probe processes in detectors revealed important properties of macroscopic entanglement predicted by absorber electrodynamics. These correlations have retarded and advanced components. The advanced correlation corresponds to time-reversed causality (due to the randomness of the processes, this does not lead to the well-known paradoxes). Solar as well as geomagnetic activity turned out to be the dominant global source processes causing the detector response. Advanced correlations make it possible to forecast the random components of these processes. The practical feasibility of such forecasts with a lead time of several months and with an accuracy sufficient for all practical purposes has been demonstrated.
Full Text
About the authors
S. М. Korotaev
Schmidt Institute of Physics of the Earth RAS
Author for correspondence.
Email: korotaev@gemrc.ru
Geoelectromagnetic Research Centre
Russian Federation, Moscow, TroitskV. О. Serdyuk
Schmidt Institute of Physics of the Earth RAS
Email: korotaev@gemrc.ru
Geoelectromagnetic Research Centre
Russian Federation, Moscow, TroitskE. О. Kiktenko
Schmidt Institute of Physics of the Earth RAS
Email: korotaev@gemrc.ru
Geoelectromagnetic Research Centre
Russian Federation, Moscow, TroitskI. V. Popova
Schmidt Institute of Physics of the Earth RAS
Email: korotaev@gemrc.ru
Geoelectromagnetic Research Centre
Russian Federation, Moscow, TroitskN. М. Budnev
Irkutsk State University
Email: korotaev@gemrc.ru
Russian Federation, Irkutsk
J. V. Gorohov
Pushkov Institute of Terrestrial Magnetism, Ionosphere and Radio Wave Propagation RAS
Email: korotaev@gemrc.ru
Russian Federation, Moscow, Troitsk
References
- Коротаев С.М., Буднев Н.М., Сердюк В.О., Зурбанов В.Л., Миргазов Р.Р., Шнеер В.С., Мачинин В.А., Киктенко Е.О., Бузин В.Б., Панфилов А.И. Новые результаты мониторинга вертикальной компоненты электрического поля в озере Байкал на базе поверхность−дно // Геомагнетизм и аэрономия. Т. 55. № 3. С. 406−418. 2015. https://doi.org/10.7868/S001679401502011X
- Коротаев С.М., Буднев Н.М., Сердюк В.О., Киктенко Е.О., Орехова Д.А. Новые результаты Байкальского эксперимента по прогностическому эффекту макроскопических нелокальных корреляций // Вестн. МГТУ им. Н.Э. Баумана. Сер. Естественные науки. № 4. С. 56−72. 2019. https://doi.org/10.18698/1812-3368-2019-4-56-72
- Коротаев С.М., Морозов А.Н. Нелокальность диссипативных процессов – причинность и время. М.: Физматлит, 216 с. 2018.
- Коротаев С.М., Сердюк В.О., Горохов Ю.В. Прогноз геомагнитной и солнечной активности на основе нелокальных корреляций // ДАН. Т. 415. № 6. С. 814−817. 2007.
- Коротаев С.М., Сердюк В.О., Попова И.В., Горохов Ю.В., Киктенко Е.О., Орехова Д.А. Эксперимент по долгосрочному прогнозированию геомагнитной активности на основе нелокальных корреляций // Геомагнетизм и аэрономия. Т. 64. № 1. С. 141−148. 2024. https://doi.org/10.31857/S0016794024010144
- Amico L., Fazio R., Osterloch A., Vedral V. Entanglement in many-body systems // Rev. Mod. Phys. V. 80. № 2. P. 517−576. 2008. https://doi.org/10.1103/RevModPhys.80.517
- Calsamiglia J., Hartmann L., Dür W., Briegel H.-J. Spin gases: quantum entanglement driven by classical kinematics // Phys. Rev. Lett. V. 95. № 18. ID 180502. 2005. https://doi.org/10.1103/PhysRevLett.95.180502
- Cramer J.G. Generalized absorber theory and Einstein-Podolsky-Rosen paradox // Phys. Rev. D. V. 22. № 2. P. 362–376. 1980. https://doi.org/10.1103/PhysRevD.22.362
- Cramer J.G. The transactional interpretation of quantum mechanics // Rev. Mod. Phys. V. 58. № 3. P. 647−687. 1986. https://doi.org/10.1103/RevModPhys.58.647
- Elitzur A.S., Dolev S. Is there more to T? / The Nature of Time: Geometry, Physics and Perception. Eds. R. Buccery, M. Saniga, W.M. Stuckey. Dordrecht: Springer. P. 297−306. 2003. https://doi.org/10.1007/978-94-010-0155-7_31
- Home D., Majumdar A.S. Incompatibility between quantum mechanics and classical realism in the strong macroscopic limit // Phys. Rev. A. V. 52. № 6. P. 4959−4962. 1995. https://doi.org/10.1103/PhysRevA.52.4959
- Hoyle F., Narlikar J.V. Cosmology and action-at-a-distance electrodynamics // Rev. Mod. Phys. V. 67. № 1. P. 113–155. 1995. https://doi.org/10.1103/RevModPhys.67.113
- Korotaev S.M. Causality and Reversibility in Irreversible Time. Irvine, CA: Scientific Research Publishing, 130 p. 2011.
- Korotaev S., Budnev N., Serdyuk V., Kiktenko E., Gorohov J., Zurbanov V. Macroscopic entanglement and time reversal causality by data of the Baikal experiment // J. Phys. Conf. Ser. V. 1051. ID 012019. 2018a. https://doi.org/10.1088/1742-6596/1051/1/012019
- Korotaev S., Budnev N., Serdyuk V., Kiktenko E., Orekhova D., Gorohov J. Macroscopic nonlocal correlations in reverse time by data of the Baikal Experiment // J. Phys. Conf. Ser. V. 1557. ID 012026. 2020. https://doi.org/10.1088/1742-6596/1557/1/012026
- Korotaev S., Budnev N., Serdyuk V., Kiktenko E., Orekhova D., Gorohov J. Macroscopic nonlocal correlations by new data of the Baikal Experiment // J. Phys. Conf. Ser. V. 2197. ID 012019. 2022. https://doi.org/10.1088/1742-6596/2197/1/012019
- Korotaev S.M., Gorohov J.V., Serdyuk V.O., Novysh A.V. Response of macroscopic nonlocal correlation detector to a phase transition // J. Phys. Conf. Ser. V. 1348. ID 012041. 2019. https://doi.org/10.1088/1742-6596/1348/1/012041
- Korotaev S.M., Morozov A.N., Serdyuk V.O., Nalivayko V.I., Novysh A.V., Gaidash S.P., Gorohov J.V., Pulinets S.A., Kanonidi Kh.D. Manifestation of macroscopic nonlocality in the processes of solar and geomagnetic activity // Vestnik of BMSTU. Special Issue. P. 173−185. 2005.
- Korotaev S.M., Serdyuk V.O., Budnev N.M. Advanced response of the Baikal macroscopic nonlocal correlation detector to the heliogeophysical processes / Unified Field Mechanics II. Eds. R.L. Amoroso, L.H. Kauffman, P. Rowlands, G. Albertini. London: World Scientific. P. 375–380. 2018b. https://doi.org/10.1142/9789813232044_0035
- Kordas G., Wimberger S., Witthaut D. Dissipation induced macroscopic entanglement in an open optical lattice // Europhys. Lett. V. 100. № 3. ID 30007. 2012. https://doi.org/10.1209/0295-5075/100/30007
- Laforest M., Baugh J., Laflamme R. Time-reversal formalism applied to bipartite entanglement: theoretical and experimental exploration // Phys. Rev. A. V. 73. № 3. ID 032323. 2006. https://doi.org/10.1103/PhysRevA.73.032323
- Lean J.L., Brueckner G.E. Intermediate-term solar periodicities: 100–500 days // Astrophys. J. V. 337. P. 568−578. 1989. https://doi.org/10.1086/167124
- Lee S.-S.B., Park J., Sim H.-S. Macroscopic quantum entanglement of a Kondo Cloud at finite temperature // Phys. Rev. Lett. V. 114. № 5. ID 057203. 2015. https://doi.org/10.1103/PhysRevLett.114.057203
- Lloyd S., Maccone L., Garcia-Patron R., Giovannetti V., Shikano Y., Pirandola S., Rozema L.A., Darabi A., Soudagar Y., Shalm L.K., Steinberg A.M. Closed timelike curves via postselection: theory and experimental demonstration // Phys. Rev. Lett. V. 106. № 4. ID 040403. 2011. https://doi.org/10.1103/PhysRevLett.106.040403
- Ma X.-S., Zotter S., Kofler J., Ursin R., Jennewien T., Brukner Č., Zeilinger A. Experimental delayed-choice entanglement swapping // Nat. Phys. V. 8. P. 479−485. 2012. https://doi.org/10.1038/nphys2294
- Maldacena J., Susskind L. Cool horizons for entangled black holes // Progress of Physics. V. 61. № 9. P. 781−811. 2013. https://doi.org/10.1002/prop.201300020
- Megidish E., Halevy A., Shacham T., Dvir T., Dovrat L., Eisenberg H.S. Entanglement swapping between photons that have never coexisted // Phys. Rev. Lett. V. 110. № 21. ID 210403. 2013. https://doi.org/10.1103/PhysRevLett.110.210403
- Reid M.D., He Q.Y., Drummond P.D. Entanglement and nonlocality in multi-particle systems // Frontiers of Physics. V. 7. № 1. P. 72−85. 2012. https://doi.org/10.1007/s11467-011-0233-9
Supplementary files

















