Spectra and anisotropy of cosmic rays during gle64
- Authors: Kovalev I.I.1, Kravtsova M.V.1, Olemskoy S.V.1, Sdobnov V.E.1
-
Affiliations:
- Institute of Solar-Terrestrial Physics of Siberian Branch of Russian Academy of Sciences
- Issue: Vol 64, No 1 (2024)
- Pages: 55-59
- Section: Articles
- URL: https://journals.rcsi.science/0016-7940/article/view/260743
- DOI: https://doi.org/10.31857/S0016794024010066
- EDN: https://elibrary.ru/GQNWGL
- ID: 260743
Cite item
Full Text
Abstract
Ground-based observations of cosmic rays by the spectrographic global survey method were used to study the ground-level enhancement in cosmic ray intensity on August 24, 2002. Spectra of variations of primary cosmic rays and their anisotropy were obtained. Based on measurements from the GOES spacecraft and global network of cosmic ray stations, the differential rigidity spectra of accelerated particles in the vicinity of the Sun were calculated. The maximum rigidity to which solar particles were accelerated was estimated.
Full Text
1. Введение
Наземные возрастания солнечных космических лучей (CКЛ), так называемые события GLE (Ground Level Enhancement), представляют собой особый класс солнечных протонных событий (СПС), регистрируемый мировой сетью наземных станций космических лучей (КЛ). Начиная с 1942 г. и по настоящее время в каталоге GLE (https://gle.oulu.fi) записано 73 события. Последнее в списке — GLE73, зафиксированное 28 октября 2021 г. [Papaioannou et al., 2022]. Это самые высокоэнергичные из возрастаний СКЛ. Термин GLE используется для событий с релятивистскими солнечными протонами, а для событий с нерелятивистскими частицами применяется определение СПС [Miroshnichenko, 2014]. В некоторых СПС спектр ускоренных солнечных частиц может простираться в область релятивистских энергий. Такие частицы могут дать слабые GLE. С физической точки зрения слабые GLE важны для понимания различных механизмов ускорения и разделения возможных вкладов от различных источников [Mishev et al., 2017; Miroshnichenko and Yanke, 2016]. Особое значение в этом вопросе приобретает форма энергетического/жесткостного спектра ускоренных частиц.
Настоящая работа посвящена исследованию слабого GLE 24 августа 2002 г. В базе данных (https://gle.oulu.fi) событие записано как GLE64. Оно входит в число рекордного количества GLE во время 23-го солнечного цикла — №10 из 16 событий, которые вызвали большой интерес у исследователей, например [Белов и др., 2010; Gopalswamy et al., 2012].
Источником GLE64 следует считать активную область (АО) 10069, находившуюся вблизи западного края Солнца (02° S, 81° W). 24 августа 2002 г. АО породила солнечную вспышку класса X3.1 (https://www.solarmonitor.org/), связанную с крупным и высокоскоростным корональным выбросом массы (КВМ) типа гало [Raymond et al. 2003] с последующей генерацией СКЛ вплоть до релятивистских энергий. По наблюдениям коронографа SOHO/LASCO, скорость КВМ составила 1913 км/с (https://cdaw.gsfc.nasa.gov/CME_list). На орбите Земли наблюдалось СПС с потоком протонов >10 МэВ, равным 220 pfu (https://umbra.nascom.nasa.gov/SEP/). В это время нейтронными мониторами (НМ) зафиксировано небольшое GLE. Самое быстрое начало GLE64 зарегистрировано НМ на ст. Южный Полюс (Rc = 0.10 ГВ). По 1-минутным данным были обнаружены протоны с энергиями >500 МэВ [Struminsky et al., 2020]. GLE64 наблюдалось только на высокоширотных НМ, максимальная амплитуда возрастания ~14% отмечена НМ на ст. Южный Полюс (Rc = 0.10 ГВ) [Белов и др., 2010]. В работе [Lugaz et al., 2009], несмотря на трудности оценки магнитной связи с Землей из-за расположения АО 10069, предложена модель, объясняющая фактическое наблюдение этого GLE на Земле.
Целью работы является получение пространственного распределения КЛ и дифференциальных жесткостных спектров солнечных протонов в период GLE64 по данным наземных и спутниковых наблюдений интенсивности КЛ.
2. Данные и метод
Для исследования использованы 5-ти минутные данные мировой сети станций КЛ (26 станций) (https://www.nmdb.eu/; https://cr0.izmiran.ru) и данные космического аппарата (КА) GOES-10, а именно: потоки протонов в энергетических диапазонах 0.6—4, 4—9, 9—15, 15—44, 40—80, 80—165, 165—500 МэВ (https://www.goes.noaa.gov/).
Амплитуды модуляции отсчитывались от фонового уровня в 00:00 UT 24 августа 2002 г.
Анализ выполнен с применением метода спектрографической глобальной съемки (СГС) [Dvornikov and Sdobnov, 1998; Kovalev et al., 2022]. Метод СГС дает возможность наряду с амплитудами и фазами первой, второй гармоник питч-угловой анизотропии определять дифференциальный жесткостной спектр вариаций изотропной составляющей КЛ.
Для расчета дифференциальных спектров КЛ использовалось выражение, полученное в рамках модели модуляции КЛ регулярными электромагнитными полями гелиосферы [Дворников и др., 2013].
3. Результаты и обсуждение
На рис. 1 приведены временной ход изотропного потока первичных протонов разной жесткости и относительная интенсивность вторичных нейтронов, зарегистрированных НМ на ст. Южный Полюс. Возрастание интенсивности частиц с жесткостью 2 ГВ наблюдается с 01:15 до 01:50 UT и совпадает с ростом интенсивности вторичных нейтронов на ст. Южный Полюс.
Рис. 1. Относительная интенсивность первичных протонов с жесткостями 2 (штриховая линия), 4 (сплошная тонкая линия) и 6 ГВ (пунктирная линия), а также относительная интенсивность вторичных нейтронов, зарегистрированных НМ на ст. Южный Полюс (сплошная толстая линия).
На рис. 2 изолиниями показано пространственное распределение КЛ с жесткостью 2 ГВ в солнечно-эклиптической геоцентрической системе координат в отдельные моменты развития исследуемого GLE. По оси абсцисс отложены значения долготного угла (ϕ), а по оси ординат —широтного угла (λ). В представленные моменты времени наблюдается ярко выраженная первая гармоника питч-угловой анизотропии с повышенным потоком частиц из направления ϕ ~ 60°, λ ~ 0°. Отсутствие второй гармоники питч-угловой анизотропии (А2) в этом событии в рамках модели модуляции КЛ регулярными электромагнитными полями гелиосферы [Дворников и др., 2013] объясняется тем, что в это время структуры межпланетного магнитного поля (ММП) в виде петли не сформировалось.
Рис. 2. Пространственное распределение КЛ с жесткостью 2 ГВ в солнечно-эклиптической геоцентрической системе координат в отдельные моменты времени развития GLE: (а) — перед событием (01:30 UT), (б) — максимальное возрастание интенсивности КЛ (02:00 UT), (в) — после события (02:50 UT).
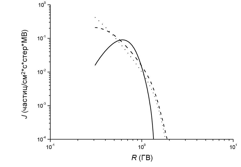
На рис. 3 приведены дифференциальные жесткостные спектры первичных протонов перед возрастанием интенсивности КЛ и на пике события. Из рис. 3 видно, что используемый вид спектра хорошо описывает наблюдаемую зависимость интенсивности КЛ от их жесткости. Можно отметить значительное повышение интенсивности протонов для жесткостей до 2 ГВ относительно спектра перед началом события (00:00 UT).
Рис. 3. Дифференциальные жесткостные спектры первичных протонов, рассчитанные по 5-минутным данным. Сплошная линия — расчетный спектр в момент GLE (01:50 UT), штриховая линия — расчетный спектр перед GLE (00:00 UT). Треугольниками отмечены наблюдаемые данные GOES-10 (для жесткостей ниже 1 ГВ) и данные наземных наблюдений КЛ (для жесткостей выше 1 ГВ) в момент GLE.
Считая спектр галактических протонов слабо меняющимся в течение рассматриваемого события, можно рассчитать спектр ускоренных на Солнце протонов. Для этого берется дифференциальный спектр за период перед началом GLE и вычитается из дифференциального спектра в отдельные моменты GLE. Полученные таким образом спектры солнечных ускоренных протонов на разных этапах события приведены на рис. 4. Максимальную жесткость ускоренных частиц можно оценить в ~2 ГВ. Отметим, что такая же небольшая максимальная жесткость ускоренных частиц ~2—3 ГВ была обнаружена нами при анализе методом СГС нескольких качественно похожих событий 23-го солнечного цикла: GLE57 (6 мая 1998 г. —вспышка Х2.7, ускорение частиц ~1.8 ГВ) [Луковникова и Сдобнов, 2022], GLE58 (24 августа 1998 г. —вспышка Х1.0, ускорение частиц ~2.5 ГВ) [Kravtsova and Sdobnov, 2023]. В распределении КЛ по направлениям прихода к Земле события различны: во время GLE57 была обнаружена двунаправленная (А2) анизотропия [Луковникова и Сдобнов, 2022], в событиях GLE58 и GLE64 доминирует первая гармоника питч-угловой анизотропии. Появление А2 указывает на нахождение Земли в петлеобразной структуре ММП [Дворников и др., 2013].
Рис. 4. Дифференциальные жесткостные спектры ускоренных на Солнце частиц в отдельные моменты GLE64: перед событием (01:30 UT, сплошная линия), на максимуме интенсивности КЛ (02:00 UT, штриховая линия), после события (02:50 UT, пунктирная линия).
4. Заключение
В ходе проведенного исследования на основе данных наблюдений на мировой сети станций КЛ и КА GOES-10 получены дифференциальные жесткостные спектры ускоренных на Солнце протонов и пространственное распределение КЛ в период GLE 24 августа 2002 г. с 5-минутным временным разрешением. Установлено, что максимальная жесткость ускоренных протонов во время GLE64 составила ~2 ГВ, а повышенный поток протонов с жесткостью 2 ГВ наблюдался из ϕ ~ 60°, λ ~ 0°.
Благодарности
Результаты получены с использованием оборудования Центра коллективного пользования “Ангара” (http://ckp-rf.ru/ckp/3056/) и Уникальной научной установки “Российская национальная наземная сеть станций космических лучей” (Сеть СКЛ) (https://ckp-rf.ru/usu/433536/).
Авторы выражают благодарность создателям и операторам базы данных Neutron Monitor Database (https://www.nmdb.eu/), основанной на программе FP7 Европейского союза (номер контракта 213007), за предоставление данных мировой сети станций.
Финансирование работы
Работа выполнена при финансовой поддержке Минобрнауки России (субсидия № 075-ГЗ/Ц3569/278).
About the authors
I. I. Kovalev
Institute of Solar-Terrestrial Physics of Siberian Branch of Russian Academy of Sciences
Author for correspondence.
Email: ivankov@iszf.irk.ru
Russian Federation, Irkutsk
M. V. Kravtsova
Institute of Solar-Terrestrial Physics of Siberian Branch of Russian Academy of Sciences
Email: rina@iszf.irk.ru
Russian Federation, Irkutsk
S. V. Olemskoy
Institute of Solar-Terrestrial Physics of Siberian Branch of Russian Academy of Sciences
Email: osv@iszf.irk.ru
Russian Federation, Irkutsk
V. E. Sdobnov
Institute of Solar-Terrestrial Physics of Siberian Branch of Russian Academy of Sciences
Email: sdobnov@iszf.irk.ru
Russian Federation, Irkutsk
References
- Белов А.В., Ерошенко Е.А., Крякунова О.Н., Курт В.Г., Янке В.Г. Наземные возрастания солнечных космических лучей в трех последних циклах солнечной активности // Геомагнетизм и аэрономия. Т. 50. №1. С. 23—36. 2010.
- Дворников В.М., Кравцова М.В., Сдобнов В.Е. Диагностика электромагнитных характеристик межпланетной среды по эффектам в космических лучах // Геомагнетизм и аэрономия. Т. 53. № 4. С. 457—468. 2013. https://doi.org/10.7868/S001679401304007X
- Логачёв Ю.И., Базилевская Г.А., Вашенюк Э.В. и др. Каталог солнечных протонных событий 23-го цикла солнечной активности (1996−2008 гг.). ESDBrepository, ГЦ РАН, Москва. https://doi.org/10.2205/ESDB-SAD-P-001-RU
- Луковникова А.А., Сдобнов В.Е. Питч-угловая анизотропия и дифференциальные жесткостные спектры космических лучей во время GLE 2 и 6 мая 1998 г. // Солнечно-земная физика. Т. 8. № 2. С. 29—33. 2022. https://doi.org/10.12737/szf-82202204
- Dvornikov V.M., Sdobnov V.E. Analyzing the solar proton event of 22 October 1989, using the method of spectrographic global survey // Solar Phys. V. 178. № 2. P. 405—422. 1998.
- Gopalswamy N., Xie H., Yashiro S., et al. Properties of ground level enhancement events and the associated solar eruptions during solar cycle 23 // Space Sci. Rev. V. 171. P. 23—60. 2012. https://doi.org/10.1007/s11214-012-9890-4
- Kovalev I.I., Olemskoy S.V., Sdobnov V.E. A proposal to extend the spectrographic global survey method // J. Atmosp. Solar-Terr. Phys. V. 235. P. 105887. 2022. https://doi.org/10.1016/j.jastp.2022.105887
- Kravtsova M.V., Sdobnov V.E. Cosmic ray ground level enhancement on August 24, 1998 // Bull. Rus. Acad. Sci.: Phys. V. 87. № 7. P. 1018—1020. 2023. https://doi.org/10.3103/S1062873823702428
- Lugaz N., Roussev I.I., Sokolov I.V., Jacobs C. The August 24, 2002 coronal mass ejection: when a western limb event connects to earth // Proc. IAU 257 Symposium. P. 391—398. 2009. https://doi.org/10.1017/S1743921309029615
- Miroshnichenko L.I. Solar Cosmic rays: fundamentals and applications. Springer, 2014. 521 p.
- Miroshnichenko L.I., Yanke V.G. Size distributions of solar proton events: methodological and physical restrictions // Solar Phys. V. 291. P. 3685—3704. 2016. https://doi.org/10.1007/s11207-016-1002-2
- Mishev A., Poluianov S., Usoskin I. Assessment of spectral and angular characteristics of sub-GLE events using the global neutron monitor network // J. Space Weather and Space Climate. 7. A28. 2017. https://doi.org/10.1051/swsc/2017026
- Papaioannou A., Kouloumvakos A., Mishev A., et al. The first ground level enhancement of solar cycle 25 on 28 October 2021 // Astron. Astrophys. V. 660. L5. 2022. https://doi.org/10.1051/0004-6361/202142855
- Raymond J. C., Ciaravella A., Dobrzycka D., et al. Far-ultraviolet spectra of fast coronal mass ejections associated with X-class flares // Astrophys. J. V. 597. № 2. P. 1106—1117. 2003. https://doi.org/10.1086/378663
- Struminsky A.B., Logachevb Yu.I., Grigorieva I.Yu., Sadovski A.M. Two types of gradual events: solar protons and relativistic electrons // Geomag. Aeron. V. 60. № 8. P. 1057—1066. 2020. https://doi.org/10.1134/S001679322008023X
- URL CME, hhttps://cdaw.gsfc.nasa.gov/CME_list
- URL Data GLE, hhttps://gle.oulu.fi
- URL IZMIRAN, hhttps://cr0.izmiran.ru
- URL Flares, hhttps://www.solarmonitor.org/
- URL GOES, hhttps://www.goes.noaa.gov/
- URL NMDB, hhttps://www.nmdb.eu/
- URL SEP, hhttps://umbra.nascom.nasa.gov/SEP/
Supplementary files







