Development of a new technological scheme of the carousel milking platform based on the principles of magnetic levitation
- Authors: Lobachevsky Y.P.1, Kirsanov V.V.1, Kirsanov S.V.1
-
Affiliations:
- Federal Scientific Agroengineering Center VIM
- Issue: No 2 (2024)
- Pages: 63-67
- Section: Mechanization, electrification, automation and digitalization
- URL: https://journals.rcsi.science/2500-2627/article/view/260375
- DOI: https://doi.org/10.31857/S2500262724020128
- EDN: https://elibrary.ru/GSIZFQ
- ID: 260375
Cite item
Full Text
Abstract
The Carousel, the most capital–intensive and loaded milking unit, is a rotating platform that carries a large mechanical load. Its own weight, combined with the weight of the animals being moved, can reach 1200 kg per milking place or more. To reduce friction in the wheeled systems of high-loaded vehicles, large-sized assemblies and mechanisms of machinery and equipment, including agricultural machinery and aggregates, the use of magnetic suspension technology is promising. The research was carried out in order to develop a new technological scheme of a levitating rotating milking platform Carousel based on the principles of magnetic levitation. The creation of a fundamentally new resource-saving design of the Carousel milking platform based on the principles of magnetic levitation in order to increase its reliability and reduce operating costs due to the exclusion of wear on the propellers of the rail-wheel system is possible. A new scheme of a rotating milking platform Carousel using permanent magnet magnetic suspension technology without the use of wheel thrusters is proposed. Its force calculation was performed in the main mode of steady motion with the platform fully filled with animals and partially filled at the beginning and end of the milking cycle of animals, obtaining basic equations for determining the necessary repulsive forces in horizontal and vertical magnetic assemblies providing magnetic levitation (suspension) and lateral stabilization (centering) of the rotating platform.
Full Text
Автоматизированные доильные залы Карусель – наиболее эффективное технологическое решение для обслуживания животных на крупных молочных фермах (1200 голов и более), использование которых обеспечивает высокую производительность труда благодаря поточности и автоматизации выполнения технологических операций, рационализации рабочей позы операторов и др. [1]. К наиболее капиталоемким и нагруженным узлам доильной установки Карусель относится вращающаяся платформа, несущая на себе большую механическую нагрузку. Ее собственная масса в сумме с массой перемещаемых животных составляет 1200 кг на одно доильное место и более [2]. Карусель работает практически в безостановочном круглосуточном режиме (24×7), что сопровождается значительным расходом электроэнергии, повышенным износом движителей системы «рельс–колесо» и приводных колес фрикционных передач электроприводов вращения платформы. Для снижения трения в колесных системах высоконагруженных транспортных средств, крупногабаритных узлах и механизмах машин и оборудования перспективно использование технологии магнитного подвеса [3]. К ее преимуществам относится практически полное отсутствие силы трения при перемещении грузовой платформы или вращающегося ротора, значительное снижение потребляемой мощности на передвижение, плавность и бесшумность хода, существенное уменьшение эксплуатационных затрат, связанных с необходимостью замены опорных катков, направляющих рельс, смазывания подшипников и др.
Еще в 1979 г. в городе Раменское Московской области был построен экспериментальный опытный участок для ходовых испытаний вагонов на магнитном подвесе в виде эстакады длиной 600 м. С конца 1970-х по 1980-е годы было создано пять опытных образцов вагонов, получивших обозначения серий от ТП-01 до ТП-05 [4]. К сожалению, эти работы были прекращены и возобновились только в XXI в. В других странах они активно продолжались, что позволило создать действующие конструкции высокоскоростных поездов на магнитном подвесе, которые эксплуатируют в Германии, Китае, Японии, США и Великобритании и развивают скорость порядка 400…600 км/ч. В качестве систем подвеса в них используют электромагнитный, электродинамический и подвес на постоянных магнитах [5]. В Германии подвес на постоянных магнитах нашел применение также во внутризаводском транспорте [6]. При этом уменьшаются затраты на строительство и эксплуатацию, улучшается экология, существенно экономится электроэнергия. Элементы пути могут располагаться над, на или в полу, что также позволяет снизить материальные затраты. На сегодняшний день в России учеными Петербурского государственного университета путей сообщения Александра I (г. Санкт-Петербург) при поддержке Российского фонда фундаментальных исследований и ОАО «Российские железные дороги» разработана технология, которая позволяет формировать магнитное поле, обеспечивающее левитацию грузовой платформы массой 32 т. На ее основе планируется создание высокоскоростного транспортного коридора для перевозки грузовых морских контейнеров [7]. Предлагаемая грузовая магнито-левитационная транспортная система (рис. 1) содержит платформу 1 с морским контейнером 2, установленную на двух тележках 3, снабженных для страховки опорными колесами 4, расположенными по бокам тележек 3 и взаимодействующими с продольными путевыми балками 5. На несущих тележках 3 попарно установлены магнитные модули (по два на каждую тележку), которые состоят из бортового магнитного полюса 6 и путевого магнитного полюса 7 левитации. Путевой магнитный полюс 7 установлен на активной путевой структуре 8, бортовой магнитный полюс 6 – на соответствующей несущей тележке 3. Платформа снабжена тяговым линейным электродвигателем, выполненным в виде линейного синхронного двигателя со сверхпроводниковой обмоткой возбуждения и системой питания, статор которого уложен вдоль активной путевой структуры 8.
Рис. 1. Грузовая магнито-левитирующая платформа ПГУПС: а) общий вид, б) технологическая схема.
Исходя из изложенного, цель исследования – разработка новой технологической схемы левитирующей вращающейся доильной платформы Карусель на принципах магнитной левитации.
Методика. Методологической основой для исследований послужили работы А. А. Зайцева, Ю. Ф. Антонова, Е. М. Фришмана, В. Г. Горелова, Г. Н. Талашкина, Я. В. Соколова и др., выполненные в СССР и современной России по расчету сил в системах магнитного подвеса при создании высокоскоростных транспортных средств. Ожидаемый всплеск интереса к подобным исследованиям и разработкам связан с определенной цикличностью развития техники и технологий [8]. На наш взгляд использование технологии магнитного подвеса может быть перспективно, в том числе в сельском хозяйстве, в частности, в крупногабаритных высоко нагруженных системах, узлах и механизмах для перемещения различных грузов, материалов и самих животных, а также для повышения ресурса быстроизнашиваемых рабочих органов сельскохозяйственных машин [9]. Так, в доильных установках типа Карусель вращающаяся платформа, по существу, представляет собой один большой роликовый подшипник, внешний диаметр которого может достигать 25 м и более. Для снижения потерь на трение качения, уменьшения нагрузки на привод, снижения материалоемкости, повышения эксплуатационной надежности, сокращения затрат на техническое обслуживание и ремонт вместо традиционной системы «рельс-колесо» предлагается применить технологию магнитного подвеса на постоянных магнитах. При этом перспективным направлением может быть использование постоянных неодимовых магнитов, обладающих сильным магнитным полем и значительным сроком службы (до 100 лет) без размагничивания.
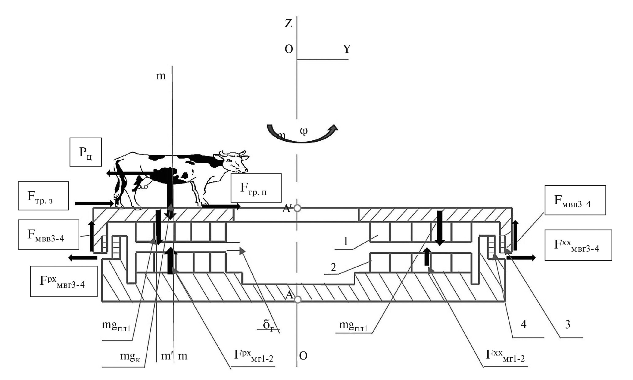
Результаты и обсуждение. На основе проведенного анализа была разработана технологическая схема левитирующей доильной платформы на постоянных магнитах и выполнен ее магнитостатический силовой расчет (рис. 2).
При установившемся движении на левитирующую платформу и расположенных на ней животных в плоскости ZOY действуют следующие силы:
Рц – центробежная сила инерции, действующая на животное, Н;
mкg – сила тяжести животного (коровы), Н;
mпл₁g – масса платформы, приходящаяся на 1 доильное место, Н;
Fтрп, Fтр₃ – силы трения, действующие соответственно на передние и задние конечности животных, Н;
Fмг₁₋₂ – сила отталкивания вертикального подвеса платформы, действующая между горизонтальными магнитными сборками 1 и 2 подвижной и неподвижной частей, приходящаяся на одно доильное место, Н;
Fмвг₃₋₄ – сила отталкивания горизонтальной боковой стабилизации платформы, действующая между вертикальными магнитными сборками подвижной и неподвижной частей, приходящаяся на одно доильное место, Н;
Fмвв₃₋₄ – вертикальная подъемная сила боковой магнитной сборки, Н.
Рис. 2. Cхема cил, действующих на левитирующую доильную платформу Карусели с животными при ее полном заполнении: 1 – подвижная горизонтальная магнитная сборка левитации; 2 – неподвижная горизонтальная магнитная сборка левитации; 3 – подвижная вертикальная магнитная сборка боковой стабилизации; 4 – неподвижная вертикальная магнитная сборка боковой стабилизации; Rпл – радиус платформы, м; ϭг – воздушный левитационный зазор между горизонтальными магнитными сборками, м; ϭв – воздушный левитационный зазор между вертикальными магнитными сборками, м; hцт.к – расстояние от подвижной части платформы до центра тяжести животного по вертикали, м; hпл – высота платформы, м; Lоо-mm – расстояние от оси вращения платформы до центра тяжести животного по вертикали, м; lm-m΄ – расстояние от центра тяжести животного до центра тяжести доильного места платформы по вертикали, м; h мг – расстояние от нижнего основания платформы до боковой вертикальной магнитной сборки (3–4); точка «А» находится на оси вращения платформы О-О.
Согласно законам теоретической механики, для обеспечения условий равновесия платформы в установившемся режиме и расчета действующих на платформу сил, необходимо составить три уравнения проекций сил по осям (х, у, z) и три уравнения моментов сил (относительно точки А: знак «+» по часовой стрелке, «-» – против, рис. 2):
(1)
Рассмотрим действующие на рис. 2 силы и подставим их в уравнения системы (1):
(2)
Решая первое уравнение из системы (2), получим уравнение левитации:
(3)
Остальные уравнения естественным образом обращаются в «0», в силу симметричности нагрузок.
Рассмотрим аналогичную систему уравнений при частичном заполнении платформы в первом и последних циклах работы установки. В качестве допущения примем, что платформа заполнена на 50 % и все животные находятся на одной ее стороне (рис. 3).
Рис. 3. Cхема cил, действующих на левитирующую доильную платформу Карусели при ее частичном заполнении: Fᵖˣмг₁₋₂ и Fˣˣмг₁₋₂ – силы отталкивания вертикального подвеса платформы, действующие между горизонтальными магнитными сборками 1 и 2 соответственно на нагруженной стороне (рабочий ход) и противоположной стороне (холостой ход), Н; Fᵖˣмвг₃₋₄ и Fˣˣмвг₃₋₄ – силы отталкивания вертикальных боковых магнитных сборок для горизонтальной боковой стабилизации платформы соответственно на нагруженной стороне (рабочий ход) и противоположной стороне без нагрузки (холостой ход), Н.
Особенность работы левитирующей платформы при ее частичном заполнении в начале и конце дойки заключается в возникновении несимметричной односторонней нагрузки (см. рис. 3), которая может вызвать перекос платформы с уменьшением левитационного зазора на нагруженной стороне и его увеличением на противоположной стороне без животных в вертикальной плоскости, а также вызвать дисбаланс платформы в горизонтальной плоскости, вследствие увеличения центробежной силы из-за массы животных, сосредоточенных на нагруженной стороне платформы [10]. Для компенсации этого явления в конструкции платформы могут быть использованы магнитные вертикальные боковые сборки Хальбаха разной ширины [11], что позволит обеспечить как боковую (горизонтальную), так и дополнительную вертикальную стабилизацию (платформы) благодаря созданию дополнительной подъемной силы Fмвв3–4. Учитывая, что горизонтальный левитационный зазор (25…50 мм) намного меньше радиуса платформы (10…15 м), его изменением и влиянием на конфигурацию сил можно пренебречь. Для предварительного анализа, полагая с небольшим допущением равенство значений mк = mпл1 и учитывая, что нагруженное доильное место (с коровой) создает удвоенную нагрузку, по отношению к ненагруженному, аналогично будут соотноситься уравновешивающие их силы магнитного отталкивания:
(4)
По оси «Y» также произойдет перераспределение сил между нагруженной и холостой сторонами, при этом соотношение будет обратным. Сила отталкивания на нагруженной стороне (рабочий ход) будет меньше силы на противоположной стороне (холостой ход) Fᵖˣмвг3–4 < Fхмвг3–4 из-за увеличения бокового воздушного зазора на нагруженной стороне вследствие действия большей центробежной силы и соответствующего его уменьшения на ненагруженной (холостой) стороне. Для идентификации этих сил запишем такое перераспределение, введя коэффициент неравномерности боковой силы «k», определяемый экспериментально:
(5)
Рассмотрим условие равновесия платформы при частичном ее заполнении в соответствии со схемой на рис. 3 в плоскости ZOY:
(6)
Упрощая и решая систему уравнений (6), с учетом выражения (4), запишем первое уравнение левитации при частичном заполнении платформы:
(7)
Аналогично решаем второе уравнение системы боковой стабилизации (6), вводя соответствующую замену:
или
(8)
Учитывая соотношение (5), запишем:
(9)
С учетом известного выражения для центробежной силы Рц=mK⋅ω2⋅r аналогичным образом получим выражение для суммы моментов сил. Полагая, что r=Loo-mm и с небольшим допущением , а также учитывая выражения (4), (5), (8), (9), запишем:
(10)
Решая это уравнение относительно Fˣˣмг1–2 с учетом замены и упрощения по ранее приведенным формулам, получим:
(11)
Подставляя это выражение в первое уравнение системы (6) и решая относительно Fмвв3–4 с учетом необходимых упрощений, получим выражение для вертикальной подъемной силы боковой магнитной сборки:
(12)
Угловую скорость можно определить по известной зависимости:
(13)
полагая известным число оборотов n (платформа делает за 1 час 5…6 оборотов, или 0,09 об/мин).
Выводы. На основе проведенного анализа траспортных систем с магнитным подвесом обоснована возможность создания принципиально новой конструкции левитирующей вращающейся доильной платформы Карусель на постоянных магнитах.
Разработана технологическая схема ресурсосберегающей конструкции доильной платформы Карусель с использованием горизонтальных левитирующих (подъемных) и вертикальных магнитных сборок боковой стабилизации платформы, исключающая необходимость использования колесных движителей типа «рельс-колесо».
Получены основные уравнения, позволяющие определить необходимые силы магнитной левитации и боковой стабилизации вращающейся платформы на основе постоянных магнитов в основном режиме установившегося движения при полном заполнении платформы животными и частичном ее заполнении в начале и конце цикла доения животных.
ФИНАНСИРОВАНИЕ РАБОТЫ.
Данная работа финансировалась за счет средств бюджета института (учреждения, организации). Никаких дополнительных грантов на проведение или руководство данным конкретным исследованием получено не было.
СОБЛЮДЕНИЕ ЭТИЧЕСКИХ СТАНДАРТОВ.
В данной работе отсутствуют исследования человека или животных.
КОНФЛИКТ ИНТЕРЕСОВ.
Авторы данной работы заявляют, что у них нет конфликта интересов.
About the authors
Ya. P. Lobachevsky
Federal Scientific Agroengineering Center VIM
Author for correspondence.
Email: lobachevsky@yandex.ru
доктор технических наук, академик РАН
Russian Federation, 109428, Moskva, 1-i Institutskii proezd, 5V. V. Kirsanov
Federal Scientific Agroengineering Center VIM
Email: kirvv2014@mail.ru
доктор технических наук, член-корреспондент РАН
Russian Federation, 109428, Moskva, 1-i Institutskii proezd, 5S. V. Kirsanov
Federal Scientific Agroengineering Center VIM
Email: sergejkirsanovv@gmail.com
аспирант
Russian Federation, 109428, Moskva, 1-i Institutskii proezd, 5References
- Научно-технические достижения агроинженерных научных организаций в условиях цифровой трансформации сельского хозяйства / Я. П. Лобачевский, Ю. Ф. Лачуга, А. Ю. Измайлов и др. // Техника и оборудование для села. 2023. № 3 (309). С. 2–12.
- Куртеманш А. Патент 2551565. Вращающаяся доильная станция, комплект для ее монтажа и способы ее монтажа и эксплуатации. Опубликовано 27.05.2015 в бюлл. № 15.
- Зайцев А. А., Соколова Я. В., Пантина Т. А. Инновационное развитие транспортной системы с применением технологии магнитной левитации // Мир транспорта. 2019. Т. 17. № 4 (83). С. 36–45.
- Киселенко А. Н., Сундуков Е. Ю., Тарабукина Н. А. Методы прогнозирования развития транспортных систем в современных условиях // Мир транспорта. 2022. Т. 20. № 3. С. 40–49.
- Vandalaele V., Lambert P., Delchambre A. Non- contact handling in microassembly: acoustical levitation // Precision Engineering. 2005. Vol. 29. No. 4. P. 491–505.
- Антонов Ю. Ф. Устройство левитации и боковой стабилизации на базе ленточного высокотемпературного сверхпроводника второго поколения // Транспортные системы и технологии. 2019. Т. 5. № 4. С. 115–123.
- Зайцев А. А. Грузовая транспортная платформа на магнитнолевитационной основе: опыт создания // Инновационные транспортные системы и технологии. 2015. Т. 1. № 2. С. 5–15. doi: 10.17816/transsyst2015125-15.
- Лачуга Ю. Ф., Кирсанов В. В. Анализ цикличности развития техники и технологий в различных технологических укладах на примере молочного животноводства // Российская сельскохозяйственная наука. 2021. № 2. С. 54–58.
- Лобачевский Я. П., Миронов Д. А., Миронова А. В. Основные направления повышения ресурса быстроизнашиваемых рабочих органов сельскохозяйственных машин // Сельскохозяйственные машины и технологии. 2023. Т. 17. № 1. С. 41–50.
- Пятаков М. А., Поляков П. А., Русакова Н. Е. Изучение взаимодействия ферромагнетиков и расчет меры этого взаимодействия // Известия Российской академии наук. Серия физическая. 2020. Т. 84. № 5. С. 719–722.
- Брюханов С. В. Патент РФ № 2683122. Устройство магнитной левитации и поперечной стабилизации на постоянных магнитах. Опубл. 26.03.2019. Бюл. № 9.
Supplementary files




