Investigation of the Hydrophobic Properties Stability of Textured Polymer Coatings Deposited on the Track-Etched Membrane Surface
- Authors: Kravets L.I.1, Yarmolenko M.A.2, Rogachev A.V.2, Gainutdinov R.V.3, Kuvaytseva M.A.1, Altynov V.A.1, Lizunov N.E.1
- 
							Affiliations: 
							- Flerov Laboratory of Nuclear Reactions of the Joint Institute for Nuclear Research
- Francisk Skorina Gomel State University
- Crystalography and Photonics Federal Research Centre of the Russian Academy of Sciences
 
- Issue: Vol 14, No 5 (2024)
- Pages: 387-406
- Section: Articles
- URL: https://journals.rcsi.science/2218-1172/article/view/281213
- DOI: https://doi.org/10.31857/S2218117224050056
- EDN: https://elibrary.ru/MXYRPM
- ID: 281213
Cite item
Full Text
Abstract
The stability of the hydrophobic properties of coatings with a morphologically developed (textured) surface prepared from polytetrafluoroethylene and ultra-high molecular weight polyethylene during storage, as well as during prolonged contact with water and aqueous solutions of sodium chloride with concentrations from 5 to 15 g/L has been studied. These coatings were deposited on the surface of a poly(ethylene terephthalate) track-etched membrane by electron-beam dispersion of the pristine polymers in vacuum. It is found that coatings from polytetrafluoroethylene under the influence of real environmental conditions tend to age and gradually lose their hydrophobic properties. The water contact angle of the coatings decreases by an average of 30° during storage samples of composite membranes for 5 years. This is 23% of the pristine value. The decrease in the contact angle of coatings of this type is due to the transition from a heterogeneous wetting mode to a homogeneous one, the reason for which is the formation of an adsorption layer of water on their surface. In contrast, the water contact angle for coatings from ultra-high molecular weight polyethylene practically does not change during storage of membrane samples. A study of the polymer coatings stability during prolonged contact of composite membranes with water and aqueous solutions of sodium chloride showed that if coatings from ultra-high molecular weight polyethylene are stable in both water and aqueous solutions of sodium chloride, then coatings from polytetrafluoroethylene are more stable to the action of aqueous salt solutions than water.
Full Text
ВВЕДЕНИЕ
Модифицирование полимерных материалов, в том числе мембран, является универсальным подходом, позволяющим варьировать в широком диапазоне их физико-химические, механические и эксплуатационные свойства. Это значительно расширяет области их применения [1−3]. Одним из современных методов модифицирования мембран является нанесение на их поверхность тонких полимерных покрытий. Такое модифицирование приводит к образованию композиционных мембран (КМ), состоящих из пористой подложки – исходной мембраны и осажденного слоя полимера [4−6]. Наибольший интерес представляет разработка методов создания композиционных мембран, в которых один из слоев имеет высокопористую гидрофильную основу, а второй тонкий микропористый слой обладает гидрофобными свойствами. Мембраны подобного строения, наряду с традиционно применяемыми гидрофобными мембранами из поливинилиденфторида (ПВДФ), политетрафторэтилена (ПТФЭ) и полипропилена (ПП), находят применение в процессах мембранной дистилляции для опреснения воды [7−12]. В публикациях последних лет показано, что использование тонкого гидрофобного слоя в сочетании с толстой гидрофильной основой позволяет повысить производительность процесса мембранной дистилляции вследствие низкого сопротивления массопереносу за счет уменьшения длины пути переноса водяного пара через гидрофобный слой [13−17]. В этой связи поиск новых методов получения двухслойных полимерных мембран, в составе которых один из слоев имеет гидрофильную природу, а второй обладает гидрофобными свойствами, является весьма актуальным.
Существуют различные подходы к созданию двухслойных КМ, одним из которых является осаждение на пористую подложку слоя полимера, синтезированного в плазме [18−20]. Использование плазмы имеет большие преимущества: позволяет регулировать толщину осажденного слоя полимера, обеспечивает его высокую адгезию, характеризуется малым временем проведения процесса и возможностью применения в качестве прекурсоров широкого круга органических и элементорганических соединений. Применение этого метода в случае полимеризации органических соединений, содержащих функциональные группы, позволило получить на поверхности мембран полимерные слои гидрофильной природы [21]. Попытки использовать метод плазмохимической полимеризации с целью получения гидрофобного слоя полимера на поверхности мембран не привели к положительным результатам. Проведенные исследования показали, что на поверхности осажденных полимерных покрытий при использовании в качестве прекурсоров, не содержащих функциональные группы, например, ацетилена, 1,1,1,2-тетрафторэтана [21], гексафторбензола или перфторгексана [14] присутствуют кислородсодержащие, в том числе карбоксильные функциональные группы, образование которых связано с окислением при выносе образцов на воздух, а также с наличием остаточного кислорода в вакуумной реакционной камере [22]. Так, согласно исследованиям, угол смачивания поверхности полимера, образованного в плазме ацетилена составляет 65°, в плазме 1,1,1,2-тетрафторэтана и гексафторбензола – 90°, а в плазме перфторгексана – 105°. Именно с образованием кислородсодержащих функциональных групп в поверхностном слое полимеров, осажденных плазмохимическим методом, связаны недостаточно высокие значения углов смачивания, необходимые для успешного проведения процесса мембранной дистилляции с целью опреснения воды. По этой же причине недостаточно высокие значения углов смачивания наблюдаются для покрытий, осажденных в плазме кремнийорганических соединений – гексаметилдисилазане и гексаметилдисилоксане [23]. Угол смачивания поверхности полимера, образованного в плазме гексаметилдисилазана составляет 98°, а в плазме гексаметилдисилоксана – 97°.
Для нанесения гидрофобных полимерных покрытий на поверхность мембран может быть также использован целый ряд современных методов модифицирования. Наибольший интерес представляют методы формирования покрытий из активной газовой фазы. Эта группа методов включает осаждение покрытий в результате протекания реакций полимеризации низкомолекулярных органических соединений, образованных в процессе диспергирования полимеров при воздействии на них лазерного излучения [24, 25], плазмы ВЧ-разряда [26−28] или пучка ускоренных электронов [29−31]. Особенностью этого подхода является одновременное протекание двух основных стадий, а именно, стадии образования летучих низкомолекулярных продуктов и стадии их активации, под которой понимают процесс перехода в активное реакционноспособное состояние. Указанные методы являются высокотехнологичными и позволяют регулировать структуру и состав осаждаемых слоев [31], а также получать высоко- и супергидрофобные покрытия на поверхности твердых тел [30−33]. С этой целью в качестве мишени применяют материалы с низкой поверхностной энергией. К таким материалам в первую очередь относятся соединения на основе кремния и фтора. Так, осаждение слоя полимера, полученного высокочастотным магнетронным распылением (ВЧ МР) политетрафторэтилена приводит к формированию на поверхности трековой мембраны из полиэтилентерефталата слоя полимера, угол смачивания водой которого в среднем составляет 111° [23, 26]. Величина угла смачивания покрытия, сформированного под воздействием электронного пучка на ПТФЭ, в зависимости от его толщины, изменяется от 130 до 155° [23, 33]. Различие в смачиваемости покрытий, формируемых методами ВЧ МР и электронно-лучевого диспергирования (ЭЛД) может быть в первую очередь вызвано различием в их химической структуре. Сравнительное исследование химической структуры покрытий, осажденных методами ВЧ МР и ЭЛД при использовании в качестве мишени политетрафторэтилена [34], показало, что покрытия, полученные под воздействием электронного пучка на данный полимер, по сравнению с покрытиями, осажденными методом магнетронного распыления, по химическому составу более близки к исходному ПТФЭ. Для них наблюдаются более высокие концентрации химических групп CF2, входящих в состав исходного полимера, и значительно меньшие концентрации групп C*−CF, CF3, образующиеся в процессе его деструкции. Это обеспечивает получение полимерных покрытий с более высоким углом смачивания. Поэтому при выборе метода осаждения полимерных покрытий с целью достижения высоко- или супергидрофобного состояния следует отдать предпочтение электронно-лучевому методу осаждения.
Известно, что супергидрофобное состояние полимеров определяется не только его химическим составом, но и геометрией поверхности [35, 36]. Иными словами, для получения супергидрофобных покрытий их поверхность должна иметь низкую поверхностную энергию, а также высокую степень шероховатости. Существует два основных подхода для создания супергидрофобных поверхностей, у которых угол смачивания водой выше 150°: образование микро- или наноструктур с высокой степенью шероховатости на поверхности гидрофобных материалов или нанесение гидрофобных покрытий на поверхности с высокой степенью шероховатости [37, 38]. В работе [33] для получения полимерных покрытий с супергидрофобными свойствами были реализованы оба подхода. Для этого был применен метод электронно-лучевого диспергирования полимеров в вакууме. Использование в качестве мишени ПТФЭ позволило получить однослойное наноструктурированное покрытие, угол смачивания которого достигал 155°. При формировании двухслойного супергидрофобного покрытия на первом этапе с целью создания наноструктур с высокой степенью шероховатости в качестве мишени использовали сверхвысокомолекулярный полиэтилен (СВМПЭ). На втором этапе на поверхность образованных наноструктур наносили тонкий слой покрытия из ПТФЭ, формируемого методом ЭЛД. Величина угла смачивания для этого типа покрытий в зависимости от их общей толщины изменяется от 150° до 160°. Значительное повышение угла смачивания объясняется существенным развитием шероховатости слоя ПТФЭ и его более низкой поверхностной энергией по сравнению с покрытием из СВМПЭ, а также образованием полимерного покрытия, имеющим иерархическую структуру.
Несмотря на широкие перспективы использования высоко- и супергидрофобных покрытий благодаря ряду их уникальных свойств, таких как водонепроницаемость, стойкость к коррозии, устойчивость к биообрастанию, большинство работ, опубликованных до последнего времени, в основном посвящено методам их получения [35, 39, 40]. Для практического же применения важна способность данных материалов сохранять гидрофобные свойства при хранении и эксплуатации в различных условиях. Вопрос о долговечности гидрофобных свойств для супергидрофобных материалов в литературе обсуждался недостаточно полно. Анализ имеющихся данных позволяет выделить следующие работы. Так, проблеме термостабильности кремнийорганических покрытий посвящены работы [41, 42]. В работе [43] исследована стабильность супергидрофобных покрытий на основе сополимера стирола и бутилметакрилата к воздействию УФ-излучения, авторами работы [44] изучено влияние озона на свойства супергидрофобных покрытий. Особенности взаимодействия гидрофобных и супергидрофобных материалов на основе фтороксисиланов и силиконовых резин электротехнического назначения с водой и водными растворами электролитов при непосредственном контакте рассматривались в работах [45–47]. Авторы этих работ наблюдали снижение гидрофобности, обусловленное переходом в метастабильное состояние.
Для композиционных полимерных мембран с покрытиями на основе фторполимеров и предельных углеводородов с целью их применения в процессах мембранной дистилляции для опреснения воды проблема устойчивости гидрофобных свойств покрытий, осажденных на поверхности пористой подложки остается не исследованной. Сказанное делает актуальным проведение исследований по изучению устойчивости гидрофобных свойств этих материалов при их длительном контакте не только с водой, но и с водными растворами солей. Данные эксперименты важны, поскольку при контакте с водными растворами данных материалов также возможен переход в метастабильное состояние с заметным снижением углов смачивания. В связи с этим, целью данной работы является изучение стабильности гидрофобных свойств полимерных покрытий, осажденных на поверхности полиэтилентерефталатной трековой мембраны (ПЭТФ ТМ) путем электронно-лучевого диспергирования политетрафторэтилена и сверхвысокомолекулярного полиэтилена в вакууме, при хранении, а также при длительном контакте композиционных мембран с водой и водными растворами хлорида натрия с концентрацией от 5 до 15 г/л. Для определения эффективности композиционных мембран разработанного образца использован процесс обессоливания водного раствора хлорида натрия методом мембранной дистилляции с воздушным зазором.
МЕТОДИКА ЭКСПЕРИМЕНТА
В качестве пористой подложки в экспериментах использовали ПЭТФ ТМ с эффективным диаметром пор 250 нм, изготовленную на основе пленки Лавсан (ГОСТ 24234-80, Россия) толщиной 10.0 мкм. Для получения мембраны исходную пленку облучали ускоренными на циклотроне У-400 положительно заряженными ионами криптона с энергией ∼3 МэВ/нуклон. Флюенс ионов составлял 2 × 108 см–2. Химическое травление облученной ПЭТФ-пленки проводили при температуре 75°С в водном растворе гидроксида натрия с концентрацией 3 моль/л по методике [48]. До начала травления для увеличения избирательности процесса травления треков облученную пленку подвергали воздействию УФ-излучения с максимальной длиной волны спектра испускания 310–320 нм. При исследовании процесса мембранной дистилляции также использовали образцы трековой мембраны из полипропилена (ПП ТМ) с эффективным диаметром пор 250 нм. Для изготовления мембраны исходную пленку Torayfan T2372 (Toray Co., Japan) толщиной 10.0 мкм облучали ускоренными на циклотроне ионами криптона. Флюенс ионов составлял 2 × 108 см–2. Химическое травление облученной пленки проводили при температуре 80°C в водном растворе оксида хрома (VI) с концентрацией 1000 г/л по методике [49].
Покрытия на поверхность ПЭТФ трековой мембраны размером 20 × 30 см наносили осаждением из активной газовой фазы, формируемой электронно-лучевым диспергированием полимеров в вакууме. В качестве источника электронов использовали электронно-лучевую пушку с катодом прямого накала, позволяющую получать пучки с энергией 0.8–1.6 кэВ поперечным сечением (5–10) × 10–4 м2. Начальное давление остаточных газов в вакуумной камере составляло 4 × 10−3 Па, температура поверхности подложки ~300 К. Мишенями для нанесения покрытий служили порошки ПТФЭ, плотность которого составляла 2.15 г/см3 (Aldrich) и СВМПЭ со средней молекулярной массой 5 × 106 г/моль (Foresight Global FZE, UAE). Контроль толщины осаждаемых покрытий осуществляли с помощью кварцевого измерителя толщины. Модифицированию подвергали одну сторону мембраны. Схема установки и методика осаждения покрытий подробно описаны в [16, 50].
Характеристики исходной и модифицированных мембран определяли при помощи ряда методик. Количество полимера, осажденного на мембране, находили гравиметрически по увеличению массы образца. Газопроницаемость (поток воздуха, прошедший через мембрану) измеряли при определенном перепаде давления (∆P) при помощи поплавкового расходомера. По величине газопроницаемости, исходя из уравнения Хагена-Пуазейля [51]:
, (1)
где Q – расход воздуха, η – вязкость воздуха, l – толщина мембраны, S – площадь мембраны, d – диаметр пор, N – число пор на поверхности мембраны площадью 1 см2, применяя соответствующую программу [52], рассчитывали газодинамический (эффективный) диаметр пор. Погрешность определения эффективного диаметра пор не превышала 2%. Объемную пористость мембран рассчитывали исходя из соотношения объема пор к общему объему в единице объема мембраны [53]:
, (2)
где П – пористость, d – эффективный диаметр пор, N – число пор на 1 см2.
Смачиваемость поверхности мембран характеризовали значениями углов смачивания водой, измеренными на установке “Easy Drop DSA100” (KRUSS, Germany) с программным обеспечением Drop Shape Analysis V.4. Для измерений использовали деионизированную воду. Статические углы смачивания (Θw) определяли при комнатной температуре с помощью метода “сидячей капли” [54]. Для этого каплю воды объемом 3 мкл наносили на поверхность мембраны с помощью микрошприца. Изображение капли записывали видеокамерой и оцифровывали после достижения равновесия, при котором дальнейшее растекание капли не происходило. Угол смачивания определяли, как угол между поверхностью смоченной мембраны и линией, касательной к изогнутой поверхности капли в точке трехфазного контакта. Среднее значение было получено по меньшей мере из пяти измерений для каждого образца мембраны. Точность измерения составила ± 1°. Динамические углы смачивания определяли наклонным методом. Для этого каплю воды объемом 30 мкл помещали на предметный столик, который затем со скоростью 2°/сек начинали наклонять. Наступающий угол смачивания (Qн) определяли по достижении максимального угла перед тем, как линия трехфазного контакта (ЛТК) начинала двигаться в сторону газовой фазы. Отступающий угол смачивания (Qот) определяли по достижении минимального значения угла до того момента, когда ЛТК начинала движение в сторону жидкой фазы [54]. Угол скатывания (a) характеризовали как угол наклона предметного столика, когда капля воды начинала движение.
Величину LEPW (давление жидкости на входе мембраны) для гидрофобных мембран рассчитывали по уравнению Юнга–Лапласа [55]:
, (3)
где B – геометрический фактор, определяемый структурой пор мембраны (в случае пор цилиндрической формы B = 1), γL – поверхностное натяжение воды в н/м, rmax – максимальный размер пор мембраны, Θw – угол смачивания водой поверхности мембраны.
Исследование микроструктуры образцов, а также определение диаметра пор на поверхности мембран проводили с помощью растрового электронного микроскопа (РЭМ) высокого разрешения HITACHI SU-8020 (Japan). Перед просмотром на образцы напыляли в вакууме тонкий слой золота.
Морфологию поверхности мембран изучали методом атомно-силовой микроскопии (АСМ) [56] с помощью прибора NTEGRA Prima (NT-MDT, Россия). Сканирование проводили в прерывисто-контактном режиме с использованием кремниевых зондов HA_FM (Tipsnano, Estonia). Поле сканирования составляло 2 × 2 мкм2 с разрешением 512 × 512 точек на изображение. Основным определяемым параметром являлась величина среднеквадратичного отклонения высот поверхности от среднего значения (Sq), рассчитанная по всем точкам скана. Для того чтобы избежать влияния пор при определении поверхностной шероховатости, исследовали также сканы меньшей площадью, не содержащие пор.
Рентгеновские фотоэлектронные спектры (РФЭС) получали с помощью прибора K-Alpha Thermo Scientific (USA), оснащенного полусферическим анализатором. Для возбуждения фотоэлектронов использовали рентгеновское излучение алюминиевого анода (AlKα = 1486.6 эВ) при напряжении на трубке 12 кВ и токе эмиссии 3 мА. Положение пиков калибровали по стандартному пику С1s (284.6 эВ) [57]. Обзорные спектры регистрировали при окне пропускания 100 эВ с шагом по спектру 0.5 эВ, региональные спектры – при окне пропускания 20 эВ с шагом 0.05 эВ. Регистрацию и обработку спектров проводили с помощью программы Avantage совместно с атласами эталонных спектров [57, 58]. Форму пиков аппроксимировали сверткой Гауссовой и Лоренцевой функций.
Для выяснения устойчивости полимерных покрытий проводили исследование полученных композиционных мембран при длительном контакте (18 час) с водой, а также водными растворами хлорида натрия с концентрацией от 5 до 15 г/л. Концентрация соли в тестируемых растворах выбиралась таким образом, чтобы соответствовать классификации природных вод по минерализации, согласно которой воды с содержанием солей (в основном хлорида натрия) от 1 до 10 г/л являются солоноватыми, а с содержанием солей свыше 10 г/л – солеными. Данные исследования выполняли в стеклянной ячейке, наполненной тестовым раствором. Исследуемые образцы помещали на дно ячейки таким образом, чтобы поверхность мембран, на которую было осаждено покрытие, полностью контактировала с раствором. После контакта с тестовым раствором мембраны дважды промывали в дистиллированной воде, после чего удаляли избыток воды фильтровальной бумагой с ее поверхности и высушивали на воздухе в течение 2 часов. Предварительными испытаниями было установлено, что в течение этого времени угол смачивания поверхности мембраны достигал равновесное значение.
Экспериментальные исследования по использованию мембран для опреснения водного раствора хлорида натрия проводили на лабораторной установке, подробно описанной ранее [16, 50]. Данная установка содержала мембранно-дистилляционный модуль (МДМ) с воздушным зазором, установленный вертикально. Рабочая площадь мембраны составляла 5 × 10−3 м2. МДМ состоял из двух камер, разделенных мембраной и сплошной охлаждаемой перегородкой. Толщина воздушного зазора между мембраной и охлаждаемой перегородкой составляла 4 мм. По одной из камер проходил горячий поток (опресняемая вода), по другой двигался поток холодной воды. Горячий поток циркулировал по замкнутому контуру между МДМ и водяным термостатом марки LOIP LT-100 (Россия), с помощью которого поддерживали температуру 65°С. Холодный поток циркулировал по замкнутому контуру между МДМ и жидкостным криостатом марки LOIP FT-211-25 (Россия), с помощью которого поддерживали температуру 10°С. Температуру горячего и холодного потоков на входе и выходе МДМ контролировали электронными термометрами с ценой деления 0.1°С. Опресняемая вода, концентрация хлорида натрия в которой составляла 15 г/л, и холодная вода термостатировались в специальных емкостях по принципу “водяной бани”. Перемещение горячего и холодного потоков осуществлялось насосами марки LOIP LS-301 (Россия). Расход потоков в камерах горячего раствора и холодной воды составлял 600 ± 5 мл/мин. Расходы горячего и холодного потоков контролировали ротаметрами. Конденсат, образующийся на поверхности охлаждаемой перегородки, стекал самотеком через имеющейся в нижней части штуцер в стеклянный измерительный цилиндр. Использовался объемный метод измерения количества конденсата, получаемого за определенное время. Эффективность процесса МД оценивали коэффициентом солезадержания, который определяли из соотношения:
, (4)
где Сo – концентрация NaCl в подающем растворе, Сx – концентрация NaCl в конденсате. Концентрацию соли в подающем растворе и конденсате определяли кондуктометрически с помощью прибора Starter 3100C (OHAUS Co., China).
РЕЗУЛЬТАТЫ И ИХ ОБСУЖДЕНИЕ
Свойства композиционных мембран после изготовления
В данной работе мы использовали аналоги композиционных мембран, вновь изготовленные осаждением на поверхности полиэтилентерефталатной трековой мембраны покрытий из СВМПЭ и ПТФЭ методом электронно-лучевого диспергирования исходных полимеров в вакууме, свойства которых подробно описаны ранее в работах [16, 50]. Здесь же мы хотели бы привести основные полученные нами результаты.
Результаты измерения характеристик ПЭТФ ТМ с диаметром пор 250 нм и композиционных мембран, полученных путем нанесения на ее поверхность покрытий из СВМПЭ и ПТФЭ, приведены в табл. 1, где каждое экспериментально найденное значение представляет собой результат усреднения трех измерений. Из представленных данных следует, что в процессе модифицирования наблюдается прирост массы образцов мембраны, связанный с осаждением покрытий на ее поверхности. Поток воздуха и, как следствие, эффективный диаметр пор композиционных мембран, рассчитываемый из величины газопроницаемости, уменьшается. Это указывает на то, что диаметр пор в осажденном слое полимеров несколько меньше диаметра пор исходной мембраны. Наибольшее уменьшение эффективного диаметра пор происходит при нанесении покрытия из СВМПЭ. Так, осаждение покрытия из ПТФЭ толщиной 300 нм вызывает уменьшение эффективного диаметра пор исходной мембраны до 195 нм, в то время как при осаждении покрытия из СВМПЭ такой же толщины диаметр пор образующейся композиционной мембраны составляет 180 нм. При осаждении покрытия из ПТФЭ толщиной 500 нм эффективный диаметр пор ПЭТФ ТМ уменьшается до 180 нм, а осаждение покрытия из СВМПЭ такой же толщины вызывает уменьшение ее эффективного диаметра пор до 145 нм (табл. 1).
Таблица 1. Изменение характеристик ПЭТФ ТМ* при нанесении на ее поверхность покрытий, полученных методом электронно-лучевого диспергирования полимеров
| Параметры | Исходная мембрана | Тип и толщина осажденного слоя полимера | |||
| СВМПЭ 300 нм | СВМПЭ 500 нм | ПТФЭ 300 нм | ПТФЭ 500 нм | ||
| Увеличение массы образца, % | — | 7.0 | 8.7 | 10.2 | 13.7 | 
| Поток воздуха при DР = 104 Па, мл/мин см2 | 300 | 105 | 50 | 130 | 100 | 
| Эффективный диаметр пор, нм | 250 | 180 | 145 | 195 | 180 | 
| Пористость, % | 9.8 | 5.1 | 3.3 | 6.0 | 5.1 | 
| Угол смачивания, град | 65 | 110 | 115 | 150 | 155 | 
| LEPW, бар | — | 2.75 | 4.25 | 6.45 | 7.35 | 
| Поверхностная шероховатость, нм (площадь сканирования 2 × 2 мкм2) | 50.0 | 39.3 | 50.4 | 16.3 | 20.1 | 
| Поверхностная шероховатость, нм (область без пор) | 5.4 | 26.1 | 38.5 | 14.2 | 17.2 | 
| Максимальный поток конденсата, г/м2 × час | 1815 | 935 | 920 | 960 | 945 | 
| Коэффициент солезадержания, % | 53.45 | 99.65 | 99.85 | 99.98 | 99.99 | 
* Данные ранее опубликованных нами работ [16, 50].
Формирование покрытий на поверхности исходной мембраны иллюстрирует рис. 1, на котором представлены изображения поверхностного слоя композиционных мембран, полученные методом растровой электронной микроскопии. Можно видеть: в процессе модифицирования на поверхности исходной мембраны (рис. 1а) образуются упорядоченные наноструктуры, размеры которых зависят от типа покрытия (рис. 1б–д). Наноструктуры, образующиеся при использовании в качестве мишени СВМПЭ значительно больше по размерам, чем наноструктуры сформированные при диспергировании ПТФЭ. Вместе с этим, как показали экспериментальные данные, диаметр пор на обратной стороне композиционных мембран остается неизменным (рис. 1е). Это свидетельствует о том, что осаждение покрытий методом электронно-лучевого диспергирования полимеров в вакууме происходит лишь на стороне трековой мембраны, подвергнутой модифицированию. Нанесение на поверхность ПЭТФ ТМ покрытий данным методом приводит, таким образом, к формированию композиционных мембран, имеющих асимметричную форму пор – диаметр пор на необработанной стороне мембран не изменяется, а на модифицированной стороне происходит его уменьшение. Аналогичные данные получены нами при исследовании модифицирования трековых мембран методом полимеризации в плазме [21] и магнетронного распыления полимеров в вакууме [26, 27].
Рис. 1. Изображения поверхностного слоя, полученные методом РЭМ, исходной ПЭТФ ТМ с диаметром пор 250 нм (а), мембран с покрытием из СВМПЭ толщиной 300 (б) и 500 нм (в); мембран с покрытием из ПТФЭ толщиной 300 (г) и 500 нм (д); обратная сторона модифицированной мембраны (е).
При использовании мембран в процессах мембранной дистилляции с целью опреснении воды важно, чтобы осаждаемые покрытия не образовывали сплошного непористого слоя на поверхности исходной мембраны, так как это может привести к существенному снижению производительности данного процесса. Иными словами, композиционные мембраны должны обладать достаточной газопроницаемостью, сопоставимой с проницаемостью гидрофобных мембран из ПВДФ, ПТФЭ и ПП, традиционно применяемыми в процессах мембранной дистилляции. Анализ экспериментальных данных показывает, что при осаждении на поверхности ПЭТФ ТМ с эффективным диаметром пор 250 нм покрытия из СВМПЭ толщиной 300 нм и покрытий из ПТФЭ толщиной от 300 до 500 нм включительно, полученными электронно-лучевым диспергированием исходных полимеров, образующиеся композиционные мембраны обладают проницаемостью, сопоставимой с мембраной из ПВДФ с диаметром пор 0.22 мкм толщиной 50 мкм (Millipore, Germany), величина газопроницаемости которой при DР = 104 Па составляет 190 мл/мин см2 [59]. Осаждение покрытий из СВМПЭ толщиной 500 нм и более вызывает заметное снижение газопроницаемости композиционных мембран (табл. 1), что, в свою очередь, приводит к снижению их пористости. Данный факт следует учитывать при выборе длительности процесса модифицирования ПЭТФ трековых мембран с целью осаждения гидрофобных покрытий на их поверхности.
Исследование морфологии поверхностного слоя модифицированных мембран с помощью АСМ показывает, что в процессе осаждения покрытий на поверхности ПЭТФ ТМ происходит развитие ее шероховатости (рис. 2). Так, для исходной мембраны среднеквадратичное отклонение высот поверхности от среднего значения Sq, рассчитанное по всем точкам скана площадью 2 × 2 мкм2, равно 50.0 нм. Относительно высокое значение этой величины обусловлено как наличием пор на мембранной поверхности, так и способом изготовления трековой мембраны, включающем химическое травление. Чтобы избежать влияния пор при определении поверхностной шероховатости, были обработаны сканы меньшей площадью, не содержащие пор. Для исходной ПЭТФ ТМ величина Sq в этом случае составляет 5.4 нм, что на порядок меньше при выборе поля сканирования большей величины. Осаждение на поверхности трековой мембраны покрытия из СВМПЭ толщиной 300 нм при сканировании образца площадью 2 × 2 мкм2 показывает, что величина Sq уменьшается по сравнению с исходной мембраной и становится равной 39.3 нм. Из этих данных следовало бы сделать вывод о том, что в процессе осаждения покрытия происходит сглаживание структурных неоднородностей. Полученный результат можно объяснить формированием слоя полимера в каналах пор на некоторой глубине от входа и перекрытием пор на поверхности мембраны. Однако при выборе площади сканирования, не содержащей пор, Sq = 26.1 нм, что значительно выше, чем у исходной мембраны. Возрастание величины Sq на беспоровой поверхности в процессе осаждения покрытия свидетельствует о том, что покрытие из СВМПЭ имеет более развитую поверхность по сравнению с поверхностью исходной трековой мембраны. Это означает, что при интерпретации результатов определения поверхностной шероховатости мембран с помощью АСМ, во избежание ошибок, следует указывать размер сканируемой площади образцов. Увеличение толщины покрытия до 500 нм ведет к росту поверхностной шероховатости – величина Sq при выборе площади сканирования, не содержащей пор, для композиционной мембраны заметно возрастает.
Рис. 2. Трехмерные изображения поверхности, полученные методом АСМ, ПЭТФ ТМ с диаметром пор 250 нм после нанесения покрытия из СВМПЭ толщиной 300 (а) и 500 нм (б), после нанесения покрытия из ПТФЭ толщиной 300 (в) и 500 нм (г); сканирование произведено непосредственно после изготовления образцов мембран.
Осаждение на поверхности ПЭТФ ТМ покрытий из ПТФЭ толщиной 300 и 500 нм вследствие формирования полимера в каналах пор на некоторой глубине от входа и частичного перекрытия пор на поверхности также приводит к уменьшению величины среднеквадратичного отклонения высот поверхности от среднего значения при сканировании образцов площадью 2 × 2 мкм2. Однако при выборе меньшей площади сканирования, не содержащей пор, величина Sq выше, чем у исходной мембраны (табл. 1). Возрастание среднеквадратичного отклонения высот поверхности от среднего значения на поверхности без пор в процессе осаждения свидетельствует о том, что покрытия из ПТФЭ, также как покрытия из СВМПЭ, имеют более развитую поверхность по сравнению с поверхностью исходной ТМ и величина их шероховатости зависит от продолжительности процесса осаждения.
Исследование смачиваемости мембран показывает некоторое различие их поверхностных свойств (табл. 1). Если исходная ПЭТФ ТМ характеризуется величиной угла смачивания водой (Θw), равной 65°, то для композиционной мембраны с покрытием из СВМПЭ толщиной 300 нм значение Θw составляет 110°. Увеличение толщины осажденного слоя полимера до 500 нм приводит к повышению угла смачивания до 115°. Дальнейшее увеличение толщины осажденного слоя СВМПЭ до 1200 нм ведет к росту угла смачивания до 125°, т.е. в этом случае происходит образование высокогидрофобного слоя полимера. Такое изменение смачиваемости поверхности композиционных мембран обусловлено ростом шероховатости слоя СВМПЭ, обладающего гидрофобными свойствами, при увеличении его толщины [60].
Осаждение покрытий, полученных диспергированием ПТФЭ приводит к более заметной гидрофобизации поверхностного слоя исходной мембраны – величина угла смачивания поверхности композиционных мембран при возрастании толщины покрытия с 300 до 500 нм увеличивается от 150 до 155°. Существенное повышение угла смачивания в этом случае обусловлено более низкой поверхностной энергией ПТФЭ в сравнении со СВМПЭ. Так, для ПТФЭ поверхностная энергия составляет 18.5 мДж/м2, а для СВМПЭ эта величина равна 33.0 мДж/м2 [61]. Определение угла скатывания (a), т.е. угла наклона подложки к горизонту, при котором происходит соскальзывание капли воды с поверхности, для данных покрытий показывает, что они имеют значения a, равные 26 и 28° соответственно, в то время как пленка коммерческого ПТФЭ обладает существенно более высоким углом скатывания, равным 64° [62]. Супергидрофобные материалы по определению [35, 36] характеризуются не только высокими значениями угла смачивания (≥ 150°), но и малым углом скатывания воды с наклонной поверхности (< 10°). Это означает, что в случае осаждения покрытий из ПТФЭ с помощью метода электронно-лучевого диспергирования мы также наблюдаем образование полимерных материалов, обладающих высокогидрофобными свойствами. Ранее в опубликованных нами работах [16, 50] при исследовании свойств покрытий из ПТФЭ были сделаны ошибочные выводы о том, что данные материалы являются супергидрофобными. Высокие значения углов скатывания, свидетельствующие либо о метастабильности смачивания, либо о топологических особенностях поверхности покрытий, не позволяют характеризовать их как супергидрофобные материалы. В этой связи, в настоящей работе на основе экспериментально полученных данных о величине углов скатывания мы считаем, что правильнее отнести покрытия из ПТФЭ к высокогидрофобным материалам. Нанесение на поверхность ПЭТФ ТМ покрытий из СВМПЭ и ПТФЭ из активной газовой фазы, получаемой электронно-лучевым диспергированием исходных полимеров в вакууме, таким образом, приводит к образованию КМ, состоящих из двух слоев, одним из которых является полиэтилентерефталатная трековая мембрана, характеризующаяся средним уровнем гидрофильности. Второй, текстурированный слой, имеет высокогидрофобные свойства. Угол смачивания этого слоя, в зависимости от его толщины, изменяется для покрытий из СВМПЭ от 110 до 125°, а для покрытий из ПТФЭ от 150 до 155°. Кроме этого, исследование поверхностных и структурных свойств вновь полученных образцов композиционных мембран показывает, что они аналогичны полученным ранее [16, 50]. Это указывает на воспроизводимость методики нанесения покрытий электронно-лучевым диспергированием полимеров в вакууме и является существенным преимуществом данного метода модифицирования мембран с точки зрения его возможной практической реализации.
Краевой угол воды является мерой смачивания твердого тела, указывающим, является ли его поверхность более гидрофобной по отношению к другой. Однако при использовании мембран в процессах мембранной дистилляции для опреснения воды помимо угла смачивания важным параметром является также величина LEPW – минимально необходимое давление воды для проникновения ее в поры мембраны. Чтобы предотвратить возникновение смачивания пор, значение LEPW должно быть как можно выше. Согласно уравнению (3), применяемому для расчета LEPW, эта величина зависит от максимального размера пор и гидрофобности мембраны. Это означает, что для получения высокого значения LEPW следует использовать материалы для мембран, обладающие высокой гидрофобностью, т.е. низким уровнем поверхностной энергии и малым размером пор [55]. Заметим: выбор мембран с незначительным размером пор может привести к снижению производительности процесса мембранной дистилляции вследствие низкой проницаемости мембран. Иными словами, для достижения высокой производительности процесса МД применяемые мембраны должны обладать высокой проницаемостью и высоким значением LEPW.
Значения LEPW для композиционных мембран, сформированных осаждением покрытий из СВМПЭ и ПТФЭ различной толщины на поверхность ПЭТФ ТМ приведены в табл. 1 (в расчетах в качестве максимального размера пор использованы значения, определенные из величины газопроницаемости мембран). Из представленных данных следует, что по сравнению с гидрофобной трековой мембраной из ПП (угол смачивания водой равен 120°) с диаметром пор 250 нм, для которой значение LEPW составляет 2.95 бар, композиционные мембраны (за исключением мембраны с покрытием из СВМПЭ толщиной 300 нм) показали увеличение LEPW с 4.25 до 7.35 бар. Эти результаты указывают на то, что для композиционных мембран требуется более высокое давление, чтобы пропустить воду через поры, т.е. слой покрытия эффективно улучшает сопротивление смачиванию. Наилучшими характеристиками при этом обладает мембрана с покрытием из ПТФЭ толщиной 500 нм, угол смачивания для которой равен 155°.
Транспортные свойства мембран в процессе мембранной дистилляции
Для определения эффективности разделения солевого раствора модифицированными мембранами был использован метод мембранной дистилляции с воздушным зазором. На рис. 3б представлены данные по изменению производительности композиционных мембран с покрытием из СВМПЭ во времени, на котором для сравнения также приведены кривые по изменению потока конденсата во времени для мембран с покрытием из ПТФЭ, ранее опубликованные нами в работах [16, 50]. Видно, в процессе эксплуатации для всех КМ на начальном этапе наблюдается возрастание потока конденсата до некоторого максимального значения, а затем происходит его постепенное уменьшение. Композиционная мембрана с осажденным слоем ПТФЭ толщиной 300 нм при этом показала наибольшее значение потока конденсата – 960 г/м2 час. По мере увеличения толщины слоя ПТФЭ, осажденного на поверхности исходной мембраны, величина максимального потока конденсата уменьшается. Так, максимальный поток конденсата через мембрану с покрытием из ПТФЭ толщиной 500 нм составляет 945 г/м2 час. Из исследуемых композиционных мембран наибольшей газопроницаемостью обладает первая, а наименьшей газопроницаемостью – вторая мембрана. Это позволяет заключить, что эффективность мембран в процессе мембранной дистилляции, в первую очередь, определяются величиной их газопроницаемости, т.е. пористостью.
Рис. 3. Изменение потока конденсата во времени в процессе мембранной дистилляции исходных трековых мембран из ПЭТФ и ПП (а) и композиционных мембран с покрытием из ПТФЭ толщиной 300 (1) и 500 нм (2), с покрытием из СВМПЭ толщиной 300 (3) и 500 нм (4), осажденным методом ЭЛД (б)
Через два часа после начала испытаний все композиционные мембраны показали идентичную тенденцию к снижению потока конденсата. Потоки конденсата начинают постепенно снижаться до окончания эксперимента. Уменьшение потока конденсата на 1.5% регистрируется через 6.5 часа для мембраны с покрытием из ПТФЭ толщиной 300 нм. Для мембраны с осажденным слоем ПТФЭ толщиной 500 нм это значение составляет 1.7%. Для мембраны с покрытием из СВМПЭ толщиной 300 нм поток конденсата через 6.5 часов уменьшается на 1.7%, а для мембраны с покрытием толщиной 500 нм – на 1.6%. Причиной уменьшения потока конденсата во времени может являться осаждение соли на рабочей поверхности мембраны, т.е. ее загрязнение. Кроме этого, модифицированные мембраны обладали шероховатостью. Очевидно, шероховатость мембраны влияет на площадь поверхности, на которой испаряется вода. Это должно существенно повлиять на эффективность мембран в процессе мембранной дистилляции. К сожалению, наши экспериментальные данные не позволяют сделать вывод о влиянии шероховатости осажденного слоя полимера на производительность данного процесса, поскольку композиционные мембраны имели различную пористость.
Причиной уменьшения потока конденсата во времени в процессе мембранной дистилляции может также являться разрушение осажденного на поверхности трековой мембраны гидрофобного покрытия и проникновения в поры продуктов деструкции. Исследование смачиваемости КМ по завершение процесса показало, что Θw поверхности мембран, в зависимости от толщины покрытия, уменьшается на 8−10°. Это может указывать на частичное разрушение слоя полимера. Однако, для исходных трековых мембран из ПЭТФ и ПП наблюдается аналогичная зависимость изменения потока конденсата во времени (рис. 3а). Для них также на начальном этапе происходит увеличение потока конденсата до определенного максимального значения, а затем величина потока начинает постепенно снижаться. При этом исходная ПЭТФ ТМ показала максимальное значение потока конденсата, равное 1815 г/м2 час. Высокое значение этой величины обусловлено гидрофильными свойствами матрицы мембраны. Для мембраны из полипропилена вследствие ее гидрофобности значение максимального потока равно 630 г/м2 час, что значительно ниже чем для двухслойных композиционных мембран. Причиной низкого значения потока для ПП трековой мембраны является большая толщина по сравнению с толщиной нанесенного гидрофобного покрытия у композиционных мембран. Уменьшение потока конденсата во времени для исходных трековых мембран дает основание полагать, что основной причиной снижения производительности КМ является, вероятно, конструкция мембранно-разделительного модуля, а не разрушение покрытий.
Сравнение композиционных мембран по селективности разделения при опреснении водного раствора хлорида натрия с концентрацией 15.0 г/л (удельная электропроводность 26.85 мСм/см) методом мембранной дистилляции приведено в табл. 1. В таблице также представлены данные по селективности разделения для исходной трековой мембраны из полиэтилентерефталата. Видно, что исследованные композиционные мембраны обеспечивают высокую селективность разделения. В результате проведения процесса МД содержание соли в воде снижается в среднем более чем в 5000 раз. Значение коэффициента солезадержания (R) в исследованном режиме составляет 99.65–99.98%. Получаемый в результате МД дистиллят соответствует требованиям к питьевой воде и к технологической воде во многих производствах. Для исходной ПЭТФ ТМ коэффициент солезадержания равен 53.45%, а для мембраны из ПП – 99.99%. Низкое значение R для трековой мембраны из ПЭТФ указывает на недостаточную селективность разделения в процессе мембранной дистилляции.
Таким образом, композиционные мембраны, состоящие из гидрофильной микропористой основы, в качестве которой использована трековая мембран из ПЭТФ, и осажденных на ее поверхности покрытий из ПТФЭ и СВМПЭ, полученных электронно-лучевым диспергированием, по сравнению с исходной мембраной, обеспечивают более высокую селективность разделения при обессоливании водного раствора хлорида натрия методом мембранной дистилляции. Кроме того, производительность двухслойных композиционных мембран в процессе мембранной дистилляции вследствие низкого сопротивления массопереносу (за счет уменьшения длины пути переноса водяного пара через гидрофобный слой покрытия из ПТФЭ) выше в сравнении с исходной ПП трековой мембраной.
Свойства композиционных мембран после хранения
При оценке возможности применения композиционных мембран разработанного нами образца для обессоливания воды методом мембранной дистилляции важное значение имеет сохранение данными материалами низкой смачиваемости при хранении. Воздействие реальных условий окружающей среды на покрытия из ПТФЭ, как показали наши исследования, в отличие от покрытий из СВМВЭ, имеют тенденцию стареть и постепенно терять свои гидрофобные свойства, что потенциально ставит под угрозу их применение. Так, угол смачивания для покрытий из ПТФЭ при хранении образцов мембран в течение 5 лет уменьшается в среднем на 30° (рис. 4а), что составляет 23% от первоначальной величины. Начальное высокогидрофобное состояние на текстурированной поверхности данного материала является, таким образом, нестабильным. Снижение угла смачивания можно объяснить следующим явлением. Для высокогидрофобного состояния на шероховатой поверхности характерна реализация гетерогенного режима смачивания (модель Касси–Бакстера) [60], когда между смачивающей жидкостью и твердым телом сохраняется слой микропузырьков воздуха. Тем самым площадь контакта покрытия и жидкости составляет лишь несколько процентов от площади геометрической проекции капли на поверхность. В случае полного вытеснения воздуха водой возможен переход из гетерогенного режима смачивания в гомогенный режим (модель Венцеля) [60], сопровождающийся значительным снижением значений краевого угла. В противоположность этому, угол смачивания покрытий из СВМПЭ при хранении образцов мембран практически не изменяется. Наблюдаемое незначительное увеличение данной величины лежит в пределах ошибки (рис. 4а). Учитывая более высокое значение поверхностной энергии данного полимера по сравнению с ПТФЭ, можно предположить, что в данном случае реализуется гомогенный режим смачивания, который характеризуется отсутствием микропузырьков воздуха между каплей воды и поверхностью покрытия.
Рис. 4. Изменение угла смачивания водой (а), величины LEPW (б) и поверхностной шероховатости (в) покрытий из СВМПЭ и ПТФЭ в зависимости от их толщины при хранении композиционных мембран в течение 5 лет.
Изменение в смачиваемости композиционных мембран при хранении приводит к изменению значения минимально необходимого давления воды для проникновения ее в поры (рис. 4б), поскольку данная величина напрямую зависит от угла смачивания поверхностного слоя мембран. Если для мембран с покрытием из СВМПЭ наблюдается возрастание LEPW, то для мембран с покрытием из ПТФЭ происходит существенное уменьшение данной величины. Однако эти значения вполне сопоставимы со значением LEPW трековой мембраной из ПП с диаметром пор 250 нм, для которой эта величина составляет 2.95 бар. Это вполне позволяет использовать композиционные мембраны данного образца в процессах мембранной дистилляции для опреснения воды.
Для объяснения наблюдаемых явлений в изменении смачиваемости поверхности композиционных мембран при хранении было проведено сравнительное исследование морфологии образцов мембран непосредственно после их изготовления и после хранения. Как показали наши исследования, структура поверхностного слоя мембран практически не изменяется (рис. 5). Определение параметров шероховатости образцов мембран (рис. 4в) подтверждает данный вывод – среднеквадратичные отклонения высот поверхности для модифицированных мембран от среднего значения, рассчитанные по всем точкам скана площадью 2 × 2 см2 лежат в пределах ошибки измерения. Разброс экспериментальных данных может быть обусловлен неоднородностью морфологической структуры покрытий. Сохранение структуры полимерных покрытий позволяет заключить, что причина уменьшения краевого угла при хранении композиционных мембран, вызванного переходом из гетерогенного режима смачивания в гомогенный режим, заключается в ином.
Рис. 5. Трехмерные изображения поверхности, полученные методом АСМ, ПЭТФ ТМ с диаметром пор 250 нм после нанесения покрытия из СВМПЭ толщиной 300 (а) и 500 нм (б), после нанесения покрытия из ПТФЭ толщиной 300 (в) и 500 нм (г); сканирование произведено после хранения образцов мембран в течение 5 лет.
Известно, что состояние Касси–Бакстера обеспечивается совместным действием геометрии поверхности и ее химического состава [35, 36]. Однако под воздействием внешних факторов, таких как ультрафиолетовое излучение, агрессивная внешняя среда, поверхность полимерных покрытий способна окисляться, что вызывает образование в ее поверхностном слое функциональных групп. Это может привести к гидрофилизации поверхности покрытий. Таким образом, изменение химического состава, наряду с изменением текстуры поверхности, под воздействием факторов окружающей среды также может повлиять на стабильность покрытий. Для выявления изменений в химическом составе поверхностного слоя композиционных мембран, происходящих в процессе хранения, были проведены измерения спектров РФЭС образцов мембран непосредственно после их изготовления и после хранения. Исследование методом РФЭС химической структуры покрытий из СВМПЭ, осажденных методом ЭЛД, непосредственно после изготовления композиционных мембран показало присутствие пиков, связанных с атомами углерода и кислорода (табл. 2). Детальный анализ спектров C1s свидетельствует о некотором отличии электронной структуры и химического состояния углерода в осажденных покрытиях и исходном полимере. В спектре исходного полимера присутствует один интенсивный пик с максимумом энергии (Есв) при 285.0 эВ [23, 27], отвечающий химическому состоянию углерода в составе связей C–C и C–H [57, 58]. В спектрах покрытий, полученных методом электронно-лучевого диспергирования СВМПЭ, присутствуют два компонента: интенсивный с максимумом энергии связи Есв = 285.0 эВ, отвечающий химическому состоянию углерода в составе групп C–C и C–H, и компонент малой интенсивности с максимумом Есв = 286.5 эВ, который соответствует углероду в составе кислородсодержащих функциональных групп C−ОH и C−OR [63, 64]. Парциальные концентрации этих состояний для покрытия толщиной 300 нм соответственно равны 97.8 и 2.2%, а для покрытия толщиной 500 нм – 96.7 и 3.3% [23]. Эти данные свидетельствуют о появлении на поверхности полимерных покрытий кислородсодержащих групп. Увеличение толщины осажденного слоя полимера, кроме этого, приводит к росту концентрации кислородсодержащих групп на его поверхности. Отношение числа атомов кислорода к числу атомов углерода на поверхности покрытий из СВМПЭ в среднем составляет 1.45 × 10–2 [23], что на порядок ниже, чем на поверхности исходной ПЭТФ ТМ. Это свидетельствует о том, что концентрация ионогенных функциональных групп, в частности кислородсодержащих групп, на поверхности данных покрытий значительно ниже в сравнении с исходной мембраной, для которой отношение числа атомов кислорода к числу атомов углерода составляет 3.4 × 10–1 [27].
Таблица 2. Данные РФЭС по изменению элементного состава покрытий при хранении композиционных мембран в течение 5 лет
| Тип и толщина покрытия | Образец мембраны | Содержание атомов, ат. % | Соотношение атомов | ||
| C | F | O | O/C | ||
| СВМПЭ, 300 нм | после изготовления | 98.7 | — | 1.3 | 1.3 × 10–2 | 
| СВМПЭ, 300 нм | после хранения | 98.8 | — | 1.2 | 1.2 × 10–2 | 
| СВМПЭ, 500 нм | после изготовления | 98.4 | — | 1.6 | 1.6 × 10–2 | 
| СВМПЭ, 500 нм | после хранения | 98.3 | — | 1.7 | 1.7 × 10–2 | 
| ПТФЭ, 300 нм | после изготовления | 31.6 | 68.4 | — | — | 
| ПТФЭ, 300 нм | после хранения | 31.5 | 68.5 | — | — | 
| ПТФЭ, 500 нм | после изготовления | 30.7 | 69.1 | 0.2 | 0.6 × 10–2 | 
| ПТФЭ, 500 нм | после хранения | 30.8 | 68.9 | 0.3 | 1.0 × 10–2 | 
Исследование методом РФЭС химической структуры покрытий из СВМПЭ после хранения композиционных мембран в течение 5 лет показало присутствие пиков, связанных с атомами углерода и кислорода (табл. 2). Отсутствие других элементов в химическом составе покрытий означает, что загрязнения их поверхности при хранении мембран не происходило. Отношение числа атомов кислорода к числу атомов углерода в осажденных покрытиях в этом случае в среднем составляет 1.45 × 10–2, что соответствует соотношению данных атомов в образцах покрытий после изготовления композиционных мембран. Это означает, что окисления поверхности данных покрытий при хранении не наблюдается. В спектрах C1s покрытий из СВМПЭ после хранения композитных мембран, также присутствуют только два компонента: интенсивный с максимумом Есв = 285.0 эВ, отвечающий химическому состоянию углерода в составе групп C–C и C–H [57, 58], и компонент малой интенсивности с максимумом при 286.5 эВ, который соответствует углероду в составе кислородсодержащих функциональных групп C−ОH и C−OR [63, 64]. Парциальные концентрации этих состояний для покрытия толщиной 300 нм соответственно равны 98.4 и 1.6%, а для покрытия толщиной 500 нм – 96.2 и 3.8% (рис. 6а). Отсутствие иных кислородсодержащих групп в составе покрытий также указывает на то, что окисления поверхности данных покрытий при хранении композиционных мембран не происходит.
Рис. 6. Спектры РФЭС атомов С1s покрытий из СВМПЭ (а) и ПТФЭ (б) толщиной 500 нм, осажденных методом электронно-лучевого диспергирования; измерение произведено после хранения композиционных мембран в течение 5 лет.
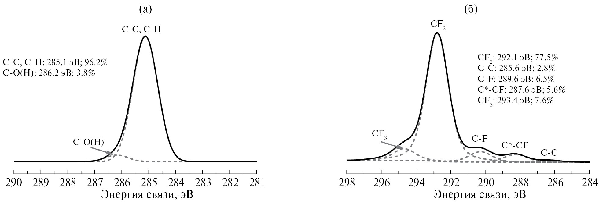
Изучение методом РФЭС химического состава покрытий из ПТФЭ, осажденных методом ЭЛД, показало присутствие пиков, связанных с атомами углерода, фтора и слабо интенсивного пика кислорода для образца мембраны с толщиной осажденного слоя полимера 500 нм (табл. 2). Детальный анализ спектров C1s показывает значительное различие электронной структуры и химического состояния углерода в исходном ПТФЭ и осажденных покрытиях. В спектре исходного полимера присутствуют два компонента: интенсивный с максимумом энергии связи Есв = 292.1 эВ, отвечающий химическому состоянию углерода в составе групп CF2 [57, 58], и компонент малой интенсивности с максимумом при 284.5 эВ, который соответствует углероду в составе связей C−C [57, 58]. Парциальные концентрации этих состояний составляют 98.5 и 1.5%, соответственно [16]. Согласно литературным данным, спектр C1s ПТФЭ содержит один компонент, отвечающий группе CF2 с максимумом Есв = 292.1 эВ [65, 66]. По-видимому, присутствие в спектре слабоинтенсивного пика (284.5 эВ) может быть связано с наличием в составе полимера незначительного количества углеводородных примесей. Для покрытий из ПТФЭ, полученных методом ЭЛД, наблюдается уширение спектров, что свидетельствует о суперпозиции нескольких линий, соответствующих различным химическим состояниям атома углерода. Разложение линии спектра С1s выявило три дополнительных пика с энергиями связи 287.5, 293.9 и 289.8 эВ, отвечающих химическому состоянию углерода в составе групп C*−CF, CF3 и связи C−F соответственно [29, 30]. Это свидетельствует о протекании процессов деструкции ПТФЭ, происходящих под воздействием электронного пучка. Присутствие групп CF3 указывает на наличие макромолекул с короткими цепями [67]. Концентрация фторсодержащих групп, соответствующих различным химическим состояниям углерода в покрытиях из ПТФЭ различной толщины, как показывают экспериментальные данные, колеблется незначительно [16, 34].
Исследование методом РФЭС химической структуры покрытий из ПТФЭ после хранения композиционных мембран в течение 5 лет показало присутствие пиков, связанных с атомами углерода, фтора и слабо интенсивного пика кислорода для образца мембраны с толщиной полимера 500 нм (табл. 2). Наличие кислорода в поверхностном слое покрытия после его формирования дает основание полагать на то, что незначительная концентрация кислородсодержащих групп образуется в процессе осаждения. Отсутствие других элементов в химическом составе покрытий означает, что загрязнения их поверхности не происходило при хранении композиционных мембран. Отношение числа атомов кислорода к числу атомов углерода в образцах покрытий толщиной 500 нм после изготовления и после хранение практически совпадает (табл. 2). Это означает, что окисления поверхности данного покрытия при хранении не наблюдается. Детальный анализ спектра C1s покрытия из ПТФЭ после хранения композиционной мембраны в течение 5 лет (рис. 6б), свидетельствует о том, что он также имеет сложный характер, связанный с присутствием связей C–C (285.6 эВ), C–F (289.6 эВ) и групп CF2 (292.1 эВ), C*–CF (287.6 эВ), CF3 (293.4 эВ). Парциальные концентрации этих состояний для покрытия толщиной 500 нм соответственно равны 2.8, 6.5, 77.5, 5.6 и 7.6%.
Одной из возможных причин снижения краевого угла при хранении композиционных мембран может являться образование смачивающих/адсорбционных пленок на их поверхности при контакте с водными парами или растворами. Так, авторами работ [45–47] показано, что молекулы воды способны адсорбироваться не только на гидрофобных, но и на супергидрофобных поверхностях. При этом толщины пленок на гидрофобных поверхностях достигали величин, соответствующих нескольким монослоям воды. На текстурированных супергидрофобных поверхностях было обнаружено образование лишь адсорбционных слоев воды. Косвенную информацию о присутствии адсорбционного слоя воды на поверхности покрытий из ПТФЭ может дать измерение динамических углов смачивания. В том случае, если углы натекания и оттекания существенно выше 90°, адсорбция паров воды из атмосферы не приводит к образованию сплошной адсорбционной или смачивающей пленки. В то же время при углах натекания и оттекания меньше 90° может происходить образование сплошных смачивающих пленок [46]. Важное значение для эксплуатационных свойств имеет также гистерезис угла смачивания, определяемый по разности углов натекания и оттекания. Изменение гистерезиса угла смачивания напрямую зависит от адсорбции на поверхности паров реагентов и ее шероховатости.
Результаты измерения динамических улов смачивания для композиционных мембран, содержащих покрытие из ПТФЭ, приведены в табл. 3. Из представленных данных следует, что в процессе хранения мембран происходит существенное уменьшение углов натекания и оттекания. Гистерезис угла смачивания и угол скатывания при этом возрастают. Увеличение гистерезиса угла при сохранении степени шероховатости может указывать на образование смачивающих/адсорбционных слоев воды на поверхности покрытий. Значения углов натекания и оттекания для данных покрытий, лежащие в области, превышающей 90°, свидетельствуют об образовании лишь адсорбционных слоев воды на поверхности композиционных мембран в процессе хранения. Адсорбции воды на поверхности покрытий из ПТФЭ за счет диполь-дипольного взаимодействия с молекулами воды способствует наличие электрического заряда на нем, возникновение которого происходит в результате инжекции в формирующийся полимерный слой вторичных и отраженных электронов, а также заряженных частиц активной газовой фазы, получаемой при электронно-лучевом диспергировании мишени. Это означает, что в этом случае происходит образование электретного состояния ПТФЭ [68, 69], т.е. полимера, имеющего на поверхности электрические заряды, длительно сохраняющиеся во времени. Формирование отрицательного электретного заряда на покрытиях из ПТФЭ, осажденных под воздействием электронного пучка показана в работах [68, 70].
Таблица 3. Изменение статического и динамических углов смачивания* покрытий из ПТФЭ в процессе хранения композиционных мембран
| Толщина покрытия | Образец мембраны | Угол смачивания, град | Гистерезис, град | Угол скатывания, град | ||
| статический | оттекания | натекания | ||||
| 300 нм | после изготовления | 150 | 129 | 156 | 27 | 26 | 
| 300 нм | после хранения | 115 | 97 | 142 | 45 | 40 | 
| 500 нм | после изготовления | 155 | 134 | 164 | 30 | 28 | 
| 500 нм | после хранения | 119 | 103 | 144 | 41 | 42 | 
* Ошибка при определении статического и динамических углов смачивания составляет менее 1°.
При оценке возможности применения композиционных мембран разработанного образца для обессоливания воды методом мембранной дистилляции важное значение, кроме этого имеет сохранение данными материалами низкой смачиваемости при длительном контакте мембран с водой и водными растворами солей. Для выяснения устойчивости полимерных покрытий в данных средах проведено исследование полученных композиционных мембран при контакте с водой, а также водными растворами хлорида натрия с концентрацией от 5 до 15 г/л. В результате проведенных экспериментов установлено, что покрытия из СВМПЭ устойчивы как в воде, так и в водных растворах хлорида натрия. Изменение угла смачивания данных покрытий после контакта с тестовыми растворами лежит в пределах ошибки (табл. 4). Покрытия из ПТФЭ демонстрируют лучшую устойчивость к водно-солевым растворам. Краевые углы поверхности мембран изменяются в среднем не более чем на 8° после выдержки в тестируемых растворах в течение 18 часов, в то время как после контакта мембран с водой угол смачивания уменьшается на 16° (табл. 4). Вероятно, это связано с образованием энергетически более выгодных гидратов внутри водно-солевых растворов. В случае контакта покрытия из ПТФЭ с раствором сильного электролита на его поверхности происходит образование двойного электрического слоя [71]. Заряженный отрицательно поверхностный слой полимерного покрытия будет компенсироваться слоем противоионов, содержащий гидратированные ионы Na+. Т.е. молекулы воды в приповерхностном слое находятся при этом в связанном состоянии. Это затрудняет образование адсорбционного слоя воды на поверхности покрытия. В отсутствие в растворе соли молекулы воды не гидратированы и способны адсорбироваться на поверхности покрытия при контакте мембран с водой, что приводит к снижению угла смачивания.
Таблица 4. Изменение угла смачивания* полимерных покрытий после контакта с водой и водными растворами NaCl в течение 18 часов
| Угол смачивания | Тип и толщина осажденного покрытия | |
| СВМПЭ, 300 нм | ПТФЭ, 300 нм | |
| Покрытие после хранения, град | 118 | 115 | 
| Покрытие после контакта с водой, град | 115 | 99 | 
| Покрытие после контакта с раствором NaCl с концентрацией 5 г/л, град | 116 | 105 | 
| Покрытие после контакта с раствором NaCl с концентрацией 10 г/л, град | 115 | 108 | 
| Покрытие после контакта с раствором NaCl с концентрацией 15 г/л, град | 118 | 107 | 
* Ошибка при определении углов смачивания составляет менее 1°.
ЗАКЛЮЧЕНИЕ
Проведенные исследования, таким образом, позволяют сделать следующие заключения. Модифицирование ПЭТФ ТМ осаждением покрытий из активной газовой фазы, получаемой электронно-лучевым диспергированием СВМПЭ и ПТФЭ, приводит к формированию композиционных мембран, состоящих из двух слоев, одним из которых является исходная трековая мембрана, характеризующаяся средним уровнем гидрофильности с углом смачивания, равным 65°. Второй, осажденный слой с морфологически развитой (текстурированной) поверхностью, имеет высокогидрофобные свойства. Угол смачивания этого слоя, в зависимости от его толщины, изменяется для покрытий из СВМПЭ от 110 до 125°, а для покрытий из ПТФЭ от 150 до 155°. Высокие значения углов скатывания для покрытий из ПТФЭ (26 и 28° соответственно) не позволяют характеризовать их как супергидрофобные, так как супергидрофобные материалы по определению характеризуются не только высокими значениями угла смачивания (≥ 150°), но и малым углом скатывания воды с наклонной поверхности (< 10°).
Покрытия из ПТФЭ под воздействием реальных условий окружающей среды имеют тенденцию стареть и постепенно терять свои гидрофобные свойства. Угол смачивания водой покрытий из ПТФЭ при хранении образцов мембран в течение 5 лет уменьшается в среднем на 30°, что составляет 23% от первоначальной величины. Начальное высокогидрофобное состояние на поверхности данного материала, таким образом, является нестабильным. Уменьшение угла смачивания покрытий из ПТФЭ с текстурированной поверхностью при хранении образцов композиционных мембран обусловлено переходом от гетерогенного режима смачивания к гомогенному, причиной чего является образование на их поверхности адсорбционного слоя воды.
В противоположность этому угол смачивания покрытий из СВМПЭ при хранении образцов мембран практически не изменяется. Наблюдаемое незначительное увеличение данной величины лежит в пределах ошибки. Учитывая более высокое значение поверхностной энергии данного полимера, можно предположить, что в данном случае реализуется гомогенный режим смачивания. Сохранение угла смачивания покрытий из СВМПЭ при хранении мембран не вызывает значительных изменений величины давления на входе мембраны (LEPW). Это вполне позволяет использовать композиционные мембраны данного образца в процессах мембранной дистилляции для опреснения воды.
Исследование устойчивости полимерных покрытий при длительном контакте композиционных мембран с водой и водными растворами хлорида натрия с концентрацией от 5 до 15 г/л показало, что если покрытия из СВМПЭ устойчивы как в воде, так и водно-солевых растворах, то покрытия из ПТФЭ более стабильны к действию растворов соли, чем воды. Стабильность покрытий из ПТФЭ в растворах сильного электролита может быть объяснена образованием двойного электрического слоя на их поверхности.
ФИНАНСИРОВАНИЕ РАБОТЫ
Данная работа финансировалась за счет средств бюджета Объединенного института ядерных исследований (г. Дубна).
КОНФЛИКТ ИНТЕРЕСОВ
Авторы заявляют, что у них нет конфликта интересов.
About the authors
L. I. Kravets
Flerov Laboratory of Nuclear Reactions of the Joint Institute for Nuclear Research
							Author for correspondence.
							Email: kravets@jinr.ru
				                					                																			                												                	Russian Federation, 							Dubna, 20, Joliot-Curie St., 141980						
M. A. Yarmolenko
Francisk Skorina Gomel State University
														Email: kravets@jinr.ru
				                					                																			                												                	Belarus, 							Gomel, 104, Sovetskaya St., 246019						
A. V. Rogachev
Francisk Skorina Gomel State University
														Email: kravets@jinr.ru
				                					                																			                												                	Belarus, 							Gomel, 104, Sovetskaya St., 246019						
R. V. Gainutdinov
Crystalography and Photonics Federal Research Centre of the Russian Academy of Sciences
														Email: kravets@jinr.ru
				                					                																			                												                	Russian Federation, 							Moscow, 59, Leninsky Ave., 119333						
M. A. Kuvaytseva
Flerov Laboratory of Nuclear Reactions of the Joint Institute for Nuclear Research
														Email: kravets@jinr.ru
				                					                																			                												                	Russian Federation, 							Dubna, 20, Joliot-Curie St., 141980						
V. A. Altynov
Flerov Laboratory of Nuclear Reactions of the Joint Institute for Nuclear Research
														Email: kravets@jinr.ru
				                					                																			                												                	Russian Federation, 							Dubna, 20, Joliot-Curie St., 141980						
N. E. Lizunov
Flerov Laboratory of Nuclear Reactions of the Joint Institute for Nuclear Research
														Email: kravets@jinr.ru
				                					                																			                												                	Russian Federation, 							Dubna, 20, Joliot-Curie St., 141980						
References
- Modification of Polymer Properties. / Ed. by Jasso-Gastinel C.F., Kenny J.M. Oxford (UK): William Andrew. 2016. 232 p.
- Ярославцев А.Б., Шельдешов Н.В., Заболоцкий В.И. и др. Мембраны и мембранные технологии. М.: Научный мир. 2013. 612 с.
- Khulbe K.C., Feng C., Matsuura T. The art of surface modification of synthetic polymeric membranes. // J. Appl. Polym. Sci. 2010. V. 115. P. 855–895.
- Abegunde O.O., Akinlabi E.T., Oladijo O.Ph., Akinlabi S., Ude A.U. Overview of thin film deposition techniques. // AIMS Materials Science. 2019. V. 6. № 2. P. 174–199.
- Liu F., Wang L., Li D., Liu Q., Deng B. A review: the effect of the microporous support during interfacial polymerization on the morphology and performances of a thin film composite membrane for liquid purification. // RCS Adv. 2019. V. 9. P. 35417–35428.
- Farahbakhsh J., Vatanpour V., Khoshnam M., Zargar M. Recent advancements in the application of new monomers and membrane modification techniques for the fabrication of thin film composite membranes: A review. // Reactive and Functional Polymers. 2021. V. 166. Article 105015.
- Eykens L., DeSitter K., Dotremont C., Pinoy L., Van der Bruggen B. Coating techniques for membrane distillation: An experimental assessment. // Sep. Purif. Technol. 2018. V. 193. P. 38–48.
- Zahid M., Rashid A., Akram S., Rehan Z.A., Razzaq W. A comprehensive review on polymeric nano-composite membranes for water treatment. // J. Membr. Sci. Technol. 2018. V. 8. № 1. Article 1000179.
- Yang Zh., Ma X.-H., Tang Ch.Y. Recent development of novel membranes for desalination. // Desalination. 2018. V. 434. P. 37–59.
- Anis Sh. F., Hashaikeh R., Hilal N. Functional materials in desalination: A review. // Desalination. 2019. V. 468. Article 114077.
- Teow Y.H., Mohammad A.W. New generation nanomaterials for water desalination: A review. // Desalination. 2019. V. 451. P. 2–17.
- Assad M. El Haj, Bani-Hanib E., Al-Sawafta I., Issa S., Hmida A., Gupta M., Atiqure R.S.M., Hidouri K. Applications of nanotechnology in membrane distillation: A review study. // Desalination and Water Treatment. 2020. V. 192. P. 61–77.
- Essalhi M., Khayet M. Surface segregation of fluorinated modifying macromolecule for hydrophobic/hydrophilic membrane preparation and application in air gap and direct contact membrane distillation. // J. Membr. Sci. 2012. V. 417–418. P. 163−173.
- Gancarz I., Bryjak M., Kujawski J., Wolska, J., Kujawa, J., Kujawski W. Plasma deposited fluorinated films on porous membranes. // Mater. Chem. Phys. 2015. V. 151. P. 233–242.
- Korolkov I.V., Gorin Y.G., Yeszhanov A.B., Kozlovskiy A.L., Zdorovets M.V. Preparation of PET track-etched membranes for membrane distillation by photo-induced graft polymerization. // Mater. Chem. Phys. 2018. V. 205. P. 55–63.
- Kravets L.I., Yarmolenko M.A., Yablokov M.Yu., Gainutdinov R.V., Altynov V.A., Lizunov N.E. Fabrication of composite membranes for water desalination by electron-beam deposition of a polytetrafluoroethylene-like coating on the surface of track-etched membrane. // High Temp. Mater. Proc. 2020. V. 24. № 4. P. 239−260.
- Yeszhanov A.B., Korolkov I.V., Dosmagambetova S.S., Zdorovets M.V., Güven O. Recent progress in the membrane distillation and impact of track-etched membranes. // Polymers. 2021. V. 13. Article 2520.
- Bryjak M., Gancarz I. Membrane prepared via plasma modification. In: Membranes for membrane reactors: preparation, optimization and selection. Eds. A. Basile and F. Gallucci. Chichester (UK): John Wiley & Sons. 2011. P. 549–568.
- Kravets L.I., Gilman A.B., Dinescu G. Modification of polymer membrane properties by low-temperature plasma. // Rus. J. Gener. Chem. 2015. V. 85. № 5. P. 1284−1301.
- Wang J., Chen X., Reis R., Chen Zh., Milne N., Winther-Jensen B., Kong L., Dumee L.F. Plasma modification and synthesis of membrane materials – A mechanistic review. // Membranes. 2018. V. 8. № 3. Article 56.
- Кравец Л.И., Гильман А.Б., Satulu V., Mitu B., Dinescu G. Формирование ‘diode-like’ композитных мембран методом полимеризации в плазме. // Перспективные материалы. 2017. №. 9. С. 5−21.
- Ясуда Х. Полимеризация в плазме. М.: Мир, 1988. 376 с.
- Кравец Л.И., Алтынов В.А., Ярмоленко М.А., Гайнутдинов Р.В., Satulu V., Mitu B., Dinescu G. Осаждение на поверхности трековых мембран гидрофобных полимерных покрытий из активной газовой фазы. // Мембраны и мембранные технологии. 2022. Т. 12. № 2. С. 151−162.
- Fan W., Qian J., Bai F., Li Y., Wang C., Zhao Q.-Z. A facile method to fabricate superamphiphobic polytetrafluoroethylene surface by femtosecond laser pulses. // Chem. Phys. Lett. 2016. V. 644. P. 261−266.
- Yong J., Chen F., Yang Q., Jiang Z., Hou X. A review of femtosecond-laser-induced underwater superoleophobic surfaces. // Adv. Mater. Interfaces. 2018. V. 5. Article 1701370.
- Satulu V., Mitu B., Pandele A.M., Voicu S.I., Kravets L., Dinescu G. Composite polyethylene terephthalate track membranes with thin teflon-like layers: preparation and surface properties. // Appl. Surf. Sci. 2019. V. 476. P. 452–459.
- Kravets L., Altynov V., Lizunov N., Gainutdinov R., Satulu V., Mitu B., Dinescu G. Hydrophobization of track membrane surface by magnetron sputter deposition of ultra-high molecular weight polyethylene. // Plasma Phys. Technol. 2020. V. 7. № 1. P. 10–15.
- Ju Y., Ai L., Qi X., Li J., Song W. Review on hydrophobic thin films prepared using magnetron sputtering deposition. // Materials. 2023. V. 16. Article 3764.
- Michels A.F., Soave P.A., Nardi J., Jardim P.L.G., Teixeira S.R., Weibel D.E., Horowitz F. Adjustable, (super)hydrophobicity by e-beam deposition of nanostructured PTFE on textured silicon surfaces. // J. Mater. Sci. 2016. V. 51. P. 1316–1323.
- Henda R., Wilson G., Gray-Munro J., Alshekhli O., McDonald A.M. Henda R., Wilson G., Gray-Munro J., Alshekhli O., McDonald A.M. Preparation of polytetrafluoroethylene by pulsed electron ablation: Deposition and wettability aspects. // Thin Solid Films. 2012. V. 520. P. 1885–1889.
- Ярмоленко М.А., Рогачев А.А., Лучников П.А., Рогачев А.В., Джанг Сянь Хун. // Микро- и нанокомпозиционные полимерные покрытия, осаждаемые из активной газовой фазы. / Под ред. А.В. Рогачева. М.: Радиотехника, 2016. 424 с.
- Drabik M., Polonskaya O., Kylian O., Cechvala J., Artemenko A., Gordeev I., Choukourov A., Slavinska D., Matolinova I., Biederman H. Syperhydrophobic coatings prepared by RF magnetron sputtering of PTFE. // Plasma Process Polym. 2010. V. 7. P. 544–551.
- Кравец Л.И., Ярмоленко М.А., Рогачев А.А., Гайнутдинов Р.В., Гильман А.Б., Алтынов В.А., Лизунов Н.Е. Формирование на поверхности трековых мембран супергидрофобных покрытий методом электронно-лучевого диспергирования полимеров в вакууме. // Перспективные материалы. 2019. № 11. С. 59–74.
- Kravets L.I., Altynov V.A., Gilman A.B., Yablokov M Yu., Satulu V., Mitu B., Dinescu G. Deposition of fluorinated polymer films onto track-etched membrane surface. // Rom. Rep. Phys. 2018. V. 70. Article 516.
- Бойнович Л.Б., Емельяненко А.М. Гидрофобные материалы и покрытия: принципы создания, свойства и применение. // Успехи химии. 2008. Т. 77. № 7. С. 619−638.
- Ерофеев Д.А., Машляковский Л.Н. Получение и применение гидрофобных полиуретановых кремнийсодержащих покрытий. Часть 1: Основы явления гидрофобности. // Химия и технология высокомолекулярных соединений. 2022. № 62. С. 58–65.
- Butt H.-J., Ilia V. Roisman I.V., Brinkmann M., Papadopoulos P., Vollmer D., Semprebon C. Characterization of super liquid-repellent surfaces. // Curr. Opin. Colloid Interface Sci. 2014. V. 19. P. 343–354.
- Simpson J.T., Hunter S.R., Aytug T. Superhydrophobic materials and coatings: A review. // Rep. Prog. Phys. 2015. V. 78. Article 086501.
- Liravi M., Pakzad H., Moosavi A., Nouri-Borujerdi A. A comprehensive review on recent advances in superhydrophobic surfaces and their applications for drag reduction. // Prog. Org. Coat. 2020. V. 140. Article 105537.
- Mehanna Y.A., Sadler E., Upton R.L., Kempchinsky A.G., Lu Y., Crick C.R. The challenges, achievements and applications of submersible superhydrophobic materials. // Chem. Soc. Rev. 2021. V. 50. P. 6569–6612.
- Пашинин А.С., Золотареыский В.И., Киселев М.Р., Емельяненко А.М., Бойнович Л.Б. Термостойкость супергидрофобных покрытий. // Доклады Акад. Наук. 2011. Т. 436. № 4. С. 490–493.
- Vidal K., Gomez E., Goitandia A.M., Angulo-Ibanez A., Aranzabe E. The synthesis of a superhydrophobic and thermal stable silica coating via sol-gel process. // Coatings. 2019. V. 9. Article 627.
- Myronyuk O., Baklan D. Aging analysis of textured water-repellent coatings under ultraviolet radiation and water. // Chem. Engineering. 2022. V. 4. № 3. P. 12–15.
- Домантовский А.Г., Емельяненко А.М., Емельяненко К.А., Бойнович Л.Б. Пороговый эффект деградации супергидрофобных покрытий, вызванный воздействием озона. // Журнал технической физики. 2021. Т. 91. № 8. С. 1293–1298.
- Пашинин А.С., Емельяненко А.М., Бойнович Л.Б. Взаимодействие гидрофобных и супергидрофобных материалов с водными средами. // Физикохимия поверхности и защита материалов. 2010. Т. 46. № 6. С. 664−670.
- Бойнович Л.Б., Емельяненко А.М., Пашинин А.С. Особенности взаимодействия силиконовых резин электротехнического назначения с водными средами. // Физикохимия поверхности и защита материалов. 2009. Т. 45. № 1. С. 92−98.
- Емельяненко А.М., Бойнович Л.Б. Анализ смачивания как эффективный метод изучения характеристик покрытий, поверхностей и происходящих на них процессов (обзор). // Заводская лаборатория. Диагностика материалов. 2010. Т. 76. № 9. С. 27−36.
- Apel P.Yu., Dmitriev S.N. Micro- and nanoporous materials produced using accelerated heavy ion beams. // Adv. Natur. Sci.: Nanosci. Nanotechnol. 2011. V. 2. Article 013002.
- Kravets L.I., Dmitriev S.N., Apel P.Yu. Production and properties of polypropylene track membranes. // Collect. Czech. Commun. 1997. V. 62. P. 752–760.
- Кравец Л.И., Ярмоленко М.А., Рогачев А.В., Гайнутдинов Р.В., Алтынов В.А., Лизунов Н.Е. Формирование на поверхности трековых мембран гидрофобных и супергидрофобных покрытий с целью создания композиционных мембран для опреснения воды. // Коллоидный журнал. 2022. Т. 84. № 4. С. 433–452.
- Мулдер М. Введение в мембранную технологию. М.: Мир. 1999. 514 с.
- Овчинников В.В., Селезнев В.Д. Автоматический газодинамический контроль диаметра пор ядерных мембран с использованием микро-ЭВМ. // Измерит. техника. 1989. № 3. С. 12–13.
- Апель П.Ю., Дмитриев С.Н. Оптимизация формы пор трековых мембран. // Критические технологии. Мембраны. 2004. № 3. С. 32−37.
- Huhtamäki T., Tian X., Korhonen J.T., Ras R.H.A. Surface-wetting characterization using contact angle measurements. // Nature Protocols. 2018. V. 13. P. 1521–1538.
- Rezaei M., Warsinger D.M., Lienhard J.H., Duke M.C., Matsuura T., Samhaber W.M. Wetting phenomena in membrane distillation: mechanisms, reversal, and prevention. // Water Research. 2018. V. 139. P. 329−352.
- Scanning probe microscopy and spectroscopy: Theory, techniques, and applications. / Ed. by Dawn Bonnell. Cambridge: Wiley, 2001. 516 p.
- Surface Analysis by auger and X-Ray photoelectron spectroscopy. / Eds by Briggs D., Grant J.T. Chichester: IM Publ., 2003. 505 p.
- Beamson G., Briggs D. High Resolution XPS of Organic Polymers: The Scienta ESCA300 Database. Chichester: John Wiley, 1992. 295 p.
- Dmitriev S.N., Kravets L.I., Sleptsov V.V., Elinson V.M., Potryasai V.V. Hydrophilization of the surface of polyvinylidene fluoride membranes in non-polymerizing gas plasma. // Heavy Ion Physics, FLNR Scientific Report 1999–2000. JINR Dubna, Russia. 2001. P. 225−226.
- Quere D. Wetting and roughness. // Ann. Rev. Mater. Res. 2008. V. 38. P. 71−99.
- Arkles B. Hydrophobicity, hydrophilicity and silanes. // Paint and Coatings Industry. 2006. V. 22. P. 114−135.
- Law K.Y., Zhao H., Samuel B. Adhesion of water on flat polymer surfaces and superhydrophobic surfaces. // NSTI-Nanotech. 2010. V. 1. P. 581− 584.
- Nishime T.M.C., Toth A., Hein L.R.O., Kostov K.G. Surface characteristics analysis of polypropylene treated by dielectric barrier discharge at atmospheric pressure. // J. Phys. Confer. Ser. 2012. V. 370. Article 012025.
- Kostov K.G., Ueda M., Tan I.H., Leite N.F., Beloto A.F., Gomes G.F. Structural effect of nitrogen plasma-based ion implantation on ultra-high molecular weight polyethylene. // Surf. Coat. Technol. 2004. V. 186. P. 287−290.
- Kolska Z., Reznickova A., Hnatowicz V. Svorcik V. PTFE surface modification by Ar plasma and its characterization. // Vacuum. 2012. V. 86. P. 643−647.
- Hubert J., Mertens J., Dufour T., Vandencasteele N., Reniers F., Viville P., Lazzaroni R., Raes M., Terryn H. Synthesis and texturization processes of (super)-hydrophobic fluorinated surfaces by atmospheric plasma. // J. Mater. Res. 2015. V. 30. P. 3177–3191.
- Bismark A., Schulz A., Zell H., Springer J., Tahhan R., Klapotke T.M., Michaeli W. Influence of fluorination on the properties of carbon fibers. // J. Fluor. Chem. 1997. V. 84. P. 127−134.
- Лучников П.А. Управление качеством вакуумных фторполимерных покрытий направленной электронной обработкой. // Вестник науки Сибири. Инженерные науки. 2011. № 1. С. 167−180.
- Козловцев В.А., Голованчиков А.Б., Козловцев Е.В., Алейникова Т.П. Регулирование электретных свойств полимерных материалов. // Известия ВолгГТУ. 2021. № 5. С. 70−74.
- Grytsenko K., Ksianzou V., Kolomzarov Y., Lytvyn P., Dietzel B., Schrader S. Fluoropolymer film formation by electron activated vacuum deposition. // Surfaces. 2021. V. 4. P. 66–80.
- Салем Р.Р. Теория двойного слоя. М.: Физматлит. 2003. 104 с.
Supplementary files
 
				
			 
					 
						 
						 
						 
						 
				
 
  
  
  Email this article
			Email this article 






