Methodology for determining and controlling the load capacity of integrated circuits
- Authors: Shopin G.P.1, Denisyuk A.A.1, Piganov M.N.1
-
Affiliations:
- Samara National Research University
- Issue: Vol 28, No 1 (2025)
- Pages: 14-19
- Section: Articles
- URL: https://journals.rcsi.science/1810-3189/article/view/314384
- DOI: https://doi.org/10.18469/1810-3189.2025.28.1.14-19
- ID: 314384
Cite item
Full Text
Abstract
Background. The relevance of the topic of this work is due to the need to increase the reliability of the quality of determination and control of the load capacity of microcircuits. Aim. Improving the accuracy and expanding the control functions in determining the load capacity of the microcircuits. Methods. The article considers a variant of the diagnostic non-destructive testing of microcircuits. It includes a model, a control device and an algorithm for its functioning. A well-known model was used, which was adapted to specific development and research tasks. The proposed technique makes it possible to find the largest number of inputs of logic elements that can be connected to the output of the tested microcircuits without deterioration of its functional parameters. The device included in the methodology can be used both independently and in the system of the measuring complex in conjunction with other equipment. Operation in three main modes is provided by programming the microcontroller. The program was written in C++. The proposed algorithm ensures the operation of the control device in dichotony modes, sequential and manual. Performs the functions of selecting the initial and maximum values of load elements, the signal level by which the load capacity is determined. Results. The values of the load capacity for three types of chips are obtained. The indicators of control accuracy and reliability have been determined. Using the element base of Microchip and MAXIM companies allowed for a 30% increase in measurement accuracy. Based on the conducted research tests and mock-up of the device, the capabilities of the device in various operating modes are evaluated. Conclusion. Testing of the technique on a number of samples showed its high efficiency. After finalizing the design of the device, instructions for its operation were prepared.
Keywords
Full Text
Введение
Одним из направлений повышения надежности бортовой радиоэлектронной аппаратуры является отбор электронной компонентной базы по результатам входного контроля [1]. Перспективным является диагностический неразрушающий контроль (ДНК). Весьма эффективным информативным параметром при этом может стать нагрузочная способность (НС) цифровых электронных устройств, в частности интегральных микросхем (ИМС) [2; 3]. Однако известные методы, устройства и методики [4; 5] имеют недостаточную точность, низкую функциональность и не позволяют установить настройки для различных режимов работы.
Целью данной работы является повышение точности и расширение функций контроля при определении НС ИМС.
Для достижения данной цели предлагается вариант методики ДНК. Методика включает в себя модель, устройство контроля и алгоритм его функционирования. В качестве рабочей была выбрана известная модель [6], которая была адаптирована под конкретные задачи разработки и исследования. Устройство и алгоритм обладают новизной. Устройство ДНК защищено охранным документом-патентом на изобретение.
1. Структурная схема устройства
В данной статье проводилась доработка структурной схемы устройства для определения нагрузочной способности микросхем из патента № 2819099. Доработанная схема устройства для определения нагрузочной способности микросхем приведена на рис. 1.
Рис. 1. Структурная схема устройства
Fig. 1. Block diagram of the device
Устройство содержит испытуемую микросхему, повторитель, компаратор, источник опорного напряжения, элементы нагрузки, коммутатор, микроконтроллер, жидкокристаллический экран и клавиатуру.
Устройство для определения нагрузочной способности микросхем работает следующим образом.
Выходное напряжение испытуемой микросхемы поступает на вход повторителя с высоким входным напряжением и на сигнальный вход коммутатора, обладающего малым сопротивлением открытого канала.
Управляемый микроконтроллером коммутатор подключает к выходу испытуемой микросхемы определенное число нагрузочных элементов, полученное в результате расчетов. Нагрузочные элементы, начиная со второго, имеют весовые соотношения в два раза выше предыдущего. Вес нагрузочного элемента формируется объединением в общий вход определенного количества входов логических элементов, соответствующего весу.
Напряжение с повторителя, совпадающее с выходным напряжением испытуемой микросхемы, на входе компаратора сравнивается с напряжением, создаваемым источником опорного напряжения. Источник опорного напряжения выдает два уровня напряжения, которые соответствуют низкому и высокому логическому уровню. Сигнал компаратора используется в качестве управляющего для микроконтроллера.
Результаты расчетов с помощью микроконтроллера выводятся на жидкокристаллический экран. Также с помощью клавиатуры и жидкокристаллического экрана возможно изменять режимы работы микроконтроллера.
Помимо режимов работы по уровню напряжения, присутствуют режимы работы по методу определения нагрузочной способности: дихотомии, последовательного перебора и ручного.
2. Выбор элементной базы
Устройство определения нагрузочной способности микросхем предназначено для проведения входного контроля, предусмотрен его мелкосерийный выпуск, и с учетом этих требований к элементной базе предъявляются следующие требования:
- высокая точность;
- низкая стоимость;
- низкое энергопотребление.
В результате анализа существующей элементной базы для большинства элементов выбор сделан в пользу зарубежных компонентов. Причиной такого выбора стали низкая цена, приемлемое качество и доступность информации об элементах зарубежного производства, а также, в отдельных случаях, отсутствие отечественных компонентов общего назначения.
Микроконтроллер является основой устройства и должен производить все вычисления, а также создавать управляющие сигналы для других компонентов устройства. В качестве микроконтроллера был выбран ATmega328/P.
Микросхема ATmega328/P – это маломощный восьмибитный КМОП микроконтроллер. Данный микроконтроллер имеет 32 кбайт встроенной программируемой FLASH-памяти, 1 кбайт EEPROM, 2 кбайта внутренней SRAM. Также микросхема имеет встроенные таймеры-счетчики, АЦП, интерфейсы SPI, 2-wire и USART, аналоговый компаратор и встроенный осциллятор. Присутствует возможность программирования до 23 входов-выходов путем записи скомпилированной программы в память программ.
Для установления стабильной частоты работы микроконтроллера используется кварцевый резонатор с частотой 16 МГц с подключенными к нему конденсаторами емкостью 22 пФ.
Назначение входов-выходов микроконтроллера, задаваемых программно:
- XTAL1 и XTAL2 используются для подключения резонатора;
- PC0-PC2 применяются для управления регистром DD1;
- PC3-PC5 – входы кнопок;
- PC6 – вход сброса;
- PD0-PD4 предназначены для управления ЖК-экраном напрямую;
- PD5 – вход компаратора;
- PD6 – вход, на который поступает сигнал 0/5 В с ключа QS1 о выбранном режиме работы устройства (по низкому/высокому уровню напряжения);
- PB0-PB2 используются для управления ЖК-экраном через сдвиговый регистр;
- PB3-PB5 – для управления мультиплексором, также это входы для программирования микроконтроллера.
Коммутатор в разрабатываемом устройстве предназначен для коммутации выхода испытуемой микросхемы и входов логических элементов. Для повышения точности определения нагрузочной способности коммутатор должен обладать низким сопротивлением открытого канала, основным требованием является возможность коммутации аналоговых сигналов. В качестве коммутатора применены два ключа MAX4652.
Микросхема MAX4652 содержит четыре аналоговых ключа, которые часто используются вместо реле в автоматических устройствах. Они имеют низкие требования по уровню питающего напряжения, занимают меньше места на печатной плате и обладают более высокой надежностью, чем реле. Микросхема имеет четыре нормально разомкнутых ключа, которые замыкаются при подаче логической единицы на вход управления (отмечен символом «#»).
В качестве компаратора используется одиночный компаратор MAX913. Эта микросхема обладает высоким быстродействием.
Повторитель в схеме устройства необходим для выделения сигнала с целью последующего сравнения компаратором и должен обладать высокой точностью. Повторитель построен на операционном усилителе OP07C.
В устройстве используются два источника опорного напряжения, которые должны выдавать максимальное напряжение низкого уровня и минимальное напряжение высокого уровня. Для более высокой точности применяются подстроечные резисторы. Стабилизация напряжения осуществляется с помощью микросхемы КР1158ЕН5Г.
Жидкокристаллический экран нужен для отображения необходимой информации, в качестве него был выбран ЖК-экран WG12864A.
Особенностью данного жидкокристаллического экрана является наличие встроенных контроллеров, которые путем подачи логических сигналов управляют отображением символов на экране. При этом для упрощения работы с экраном тот условно разбит на две половины экрана по 64 пикселя и 8 строк по 8 пикселей, благодаря чему возможно единовременно посылать на экран целый байт информации в заданную строку и позицию в ней.
3. Алгоритм работы устройства
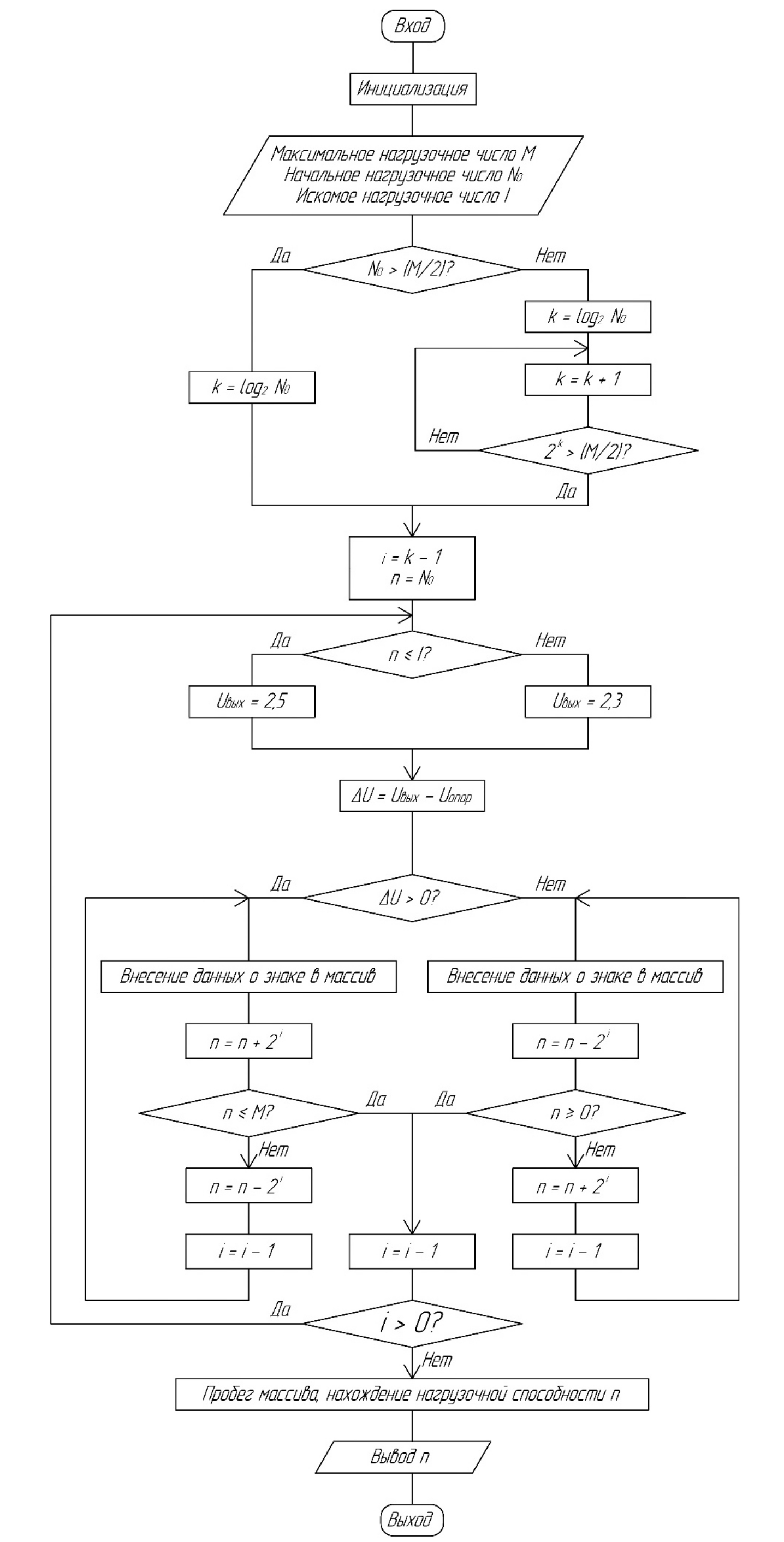
Блок-схема алгоритма приведена на рис. 2.
Рис. 2. Алгоритм работы устройства контроля
Fig. 2. Algorithm of operation of the control device
Алгоритм работы устройства заключается в следующем.
Исходными данными являются максимальное M и начальное N0 нагрузочные числа, целью – определение искомого нагрузочного числа I.
Начальное нагрузочное число задается таким образом, чтобы оно было равно степени двойки, то есть 2, 4, 8, 16 и т. д. Для удобства это число задается так, чтобы оно превышало половину справочного значения нагрузочной способности.
Первым этапом работы является определение количества итераций, необходимых для поиска. Количество итераций определяется как логарифм по степени два от начального нагрузочного числа, если оно превышает половину максимального, или как наименьшее число, возведение двойки в степень которого будет превышать половину максимального нагрузочного числа.
Далее осуществляется проход по итерациям. В ходе каждой итерации осуществляется задание текущего нагрузочного числа n, значение которого проверяется на соответствие искомому. При этом для упрощения считается, что зависимость выходного напряжения испытуемой микросхемы от нагрузочного числа имеет вид кусочно-линейной функции, для которой при текущем нагрузочном числе, меньшем искомого, напряжение принимает значение 2,5 В, меньшем или равном – 2,3 В (исследуется TTL-микросхема).
Проверка соответствия текущего нагрузочного числа искомому осуществляется по уровню напряжения на выходе искомой микросхемы. При этом, если уровень сигнала находится в допустимом диапазоне (напряжение больше 2,4 В), текущее нагрузочное число увеличивается на половину от предыдущего значения интервала поиска. Если уровень сигнала не находится в диапазоне, то число уменьшается. Результат проверки на каждой итерации записывается в массив.
Итерации повторяются до тех пор, пока текущее нагрузочное число не совпадет с искомым.
Таким образом, появляется выигрыш в производительности при определении нагрузочной способности по методу половинного деления интервала поиска ее значения по сравнению с методом, когда происходит равномерное наращивание числа входов логических элементов, подключаемых к выходу испытуемой микросхемы.
Заключение
Предложенная методика определения и контроля нагрузочной способности микросхем позволяет находить наибольшее число входов логических элементов, которые можно подключить к выходу испытуемой ИМС без ухудшения ее параметров. Входящее в состав методики устройство может использоваться как самостоятельно, так и в системе измерительного комплекса совместно с другим оборудованием.
Устройство может работать в трех основных режимах, которые обеспечиваются путем программирования микроконтроллера разработанной программой. Программа для микроконтроллера написана на языке С++. Использование элементной базы фирм Microchip и MAXIM позволило на 30 % повысить точность измерения.
Алгоритм обеспечивает работу устройства контроля в режимах дихотонии, последовательном и ручном. Выполняет функции выбора начального и максимального значения нагрузочных элементов, уровня сигнала, по которому определяется нагрузочная способность.
Алгоритм дает возможность работать (проводить контроль) в режиме дихотонии при высоком уровне напряжения.
About the authors
Gennady P. Shopin
Samara National Research University
Email: shopin.gp@ssau.ru
Candidate of Technical Sciences, associate professor of the Department of Radioelectronic Systems
Research interests: the device of the load capacity of the chip
Russian Federation, 34, Moskovskoye shosse, Samara, 443086Alina A. Denisyuk
Samara National Research University
Email: mikki90210@yandex.ru
engineer of the Department of Radioelectronic Systems, Samara National Research University, Samara, Russia.
Research interests: forecasting the quality and reliability of radio engineering systems
Russian Federation, 34, Moskovskoye shosse, Samara, 443086Mikhail N. Piganov
Samara National Research University
Author for correspondence.
Email: kipres@ssau.ru
Doctor of Technical Sciences, professor of the Department of Radioelectronic Systems
Research interests: reliability of on-board electronic devices
Russian Federation, 34, Moskovskoye shosse, Samara, 443086References
- A. V. Kulikov, “Methods of control and measurements of components of the onboard radio engineering complex,” Physics of Wave Processes and Radio Systems, vol. 26, no. 3, pp. 32–39, 2023, doi: https://doi.org/10.18469/1810-3189.2023.26.3.32-39. (In Russ.)
- M. N. Piganov et al., “Device for monitoring the load capacity of microcircuits,” Proektirovanie i tekhnologiya elektronnykh sredstv, no. 2, pp. 31–36, 2023, url: https://elibrary.ru/item.asp?id=54266030. (In Russ.)
- S. V. Tyulevin et al., “Development of the device for definition of the integrated circuits logic gain,” Physics of Wave Processes and Radio Systems, vol. 20, no. 1, pp. 49–52, 2017, url: https://journals.ssau.ru/pwp/article/view/7108. (In Russ.)
- R. O. Mishanov et al., “Forecasting models generation of the electronic means quality,” CEUR Workshop Proceedings, vol. 1904, pp. 124–129, 2017, url: https://ceur-ws.org/Vol-1904/paper23.pdf.
- R. O. Mishanov et al., “Device for determining the load capacity of microcircuits,” Izvestiya Samarskogo nauchnogo tsentra RAN, vol. 19, no. 1, pp. 420–423, 2017, url: http://www.ssc.smr.ru/media/journals/izvestia/2017/2017_1_420_423.pdf. (In Russ.)
- E. S. Erantseva et al., “Research the load capacity of microcircuits,” Physics of Wave Processes and Radio Systems, vol. 23, no. 3, pp. 74–81, 2020, doi: https://doi.org/10.18469/1810-3189.2020.23.3.74-81. (In Russ.)




