Controlled Nanostructuring of Thin Films by Oblique Deposition
- Authors: Trushin O.S.1, Fattakhov I.S.1,2, Chebokhin M.M.1,2, Popov A.A.1, Mazaletsky L.A.1,2
-
Affiliations:
- Yaroslavl Branch of the Valiev Institute of Physics and Technology of the RAS
- Demidov Yaroslavl State University
- Issue: No 11 (2024)
- Pages: 32-40
- Section: Articles
- URL: https://journals.rcsi.science/1028-0960/article/view/281118
- DOI: https://doi.org/10.31857/S1028096024110041
- EDN: https://elibrary.ru/RETWFC
- ID: 281118
Cite item
Full Text
Abstract
Using electron beam evaporation, thin films of various compositions (Al, Co, Ge, SiO2) were obtained on inclined Si(001) substrates. It was found that at angles of incidence of the evaporated material on the substrate of more than 70° (sliding deposition), arrays of free-standing inclined nanocolumns with lateral dimensions from 10 to 100 nm and an aspect ratio (length/transverse dimension) of at least 10 were formed on the substrate. When substrate rotation was switched on during film growth, an array of nanospirals twisted in one direction was formed. Such films are chiral metamaterials and have pronounced optical activity. Simulation of film growth processes under oblique deposition conditions using the Monte Carlo method showed good qualitative agreement with the experimental data. It was found that the observed processes of nanostructuring during inclined deposition are based on universal mechanisms of competition between growing crystalline grains under conditions of neighbor shading. This makes it possible to obtain nanostructured films of various materials with the required functional characteristics under such conditions.
Full Text
ВВЕДЕНИЕ
Прогресс в области микроэлектроники во многом обусловлен совершенствованием технологии получения тонких пленок. Управляя параметрами текстуры пленок в процессе их роста, можно направленно изменять их свойства, достигая тем самым требуемых функциональных характеристик. Перспективным методом формирования пленок с особыми свойствами является их наноструктурирование в процессе роста. Формирование однородных и хорошо упорядоченных массивов наноструктур на поверхности позволяет существенно изменять электрофизические, магнитные и оптические свойства пленок [1]. Одним из известных технологических приемов, позволяющих обеспечить рост наноструктур, является напыление под углом. Это относительно недорогая технология, которая легко реализуется в условиях массового производства. Данный метод получения пленок вызвал в последние годы значительный интерес, и ему посвящено множество работ [2–4]. Известно, что этим методом можно получать наноструктуры разной формы и размера — от наклонных нанопроволок и наноспиралей до вертикальных наноколонн [4]. Установлено, что причиной наноструктурирования пленок в условиях наклонного напыления является эффект затенения, состоящий в том, что кристаллиты, получившие случайное преимущество в росте на начальных этапах, подавляют в дальнейшем рост соседей, перехватывая поток падающих на поверхность атомов и тем самым формируя поры. Этот эффект убедительно воспроизводится в рамках компьютерного моделирования методами Монте-Карло [5–9] и молекулярной динамики [10–12].
Включение вращения подложки вокруг нормали к ее поверхности в процессе роста приводит к постепенному смещению области тени и формированию наноспиралей. Все наноспирали синхронно закручены в одну сторону, что придает свойство киральности всей метаповерхности. Изменяя скорость вращения подложки, можно менять геометрические размеры наноспиралей (шаг спирали, ее радиус). Кроме того, изменяя направление вращения подложки, можно изменять направление закручивания наноспиралей, т.е. знак киральности [4]. Такие киральные метаматериалы представляют в настоящее время значительный интерес как для фундаментальной науки (для выяснения механизмов взаимодействия света с веществом), так и для практических применений в области прикладной оптики.
Оптические свойства киральных метаматериалов на основе тонких пленок, получаемых методом наклонного напыления с вращением (GLAD), уже достаточно хорошо исследованы [13–18]. Показано, что такие материалы обладают выраженной оптической активностью. Наблюдаются резонансы спектральных характеристик на длинах волн, соответствующих геометрическим размерам наноструктур. Это явление в англоязычной литературе получило название “circular Bragg phenomenon” (циркулярный эффект Брэгга) [16]. В настоящее время киральные метаматериалы с высокими показателями оптической активности в основном изготавливают из диэлектрических материалов, так как у них выше необходимые функциональные оптические параметры (прозрачность, показатель преломления).
Однако металлические наноструктрированные пленки также проявляют киральные свойства. При взаимодействии света с металлическими наноструктурами возможно возбуждение плазмонных резонансов, когда геометрические размеры наноструктуры согласуются с длиной волны падающего излучения. В спирали возникает стоячая волна зарядовой плотности [17, 18]. В результате теоретического анализа показано, что плазмонные резонансы в наноспиралях по-разному взаимодействуют с правой и левой циркулярно-поляризованными волнами [18].
В предыдущих работах были продемонстрированы эффекты оптической асимметрии (разные характеристики отражения правого и левого циркулярно-поляризованного света) на образцах Co с различными геометрическими размерами наноспиралей. Было показано, что величина этих эффектов зависит от шага наноспирали и от числа витков спирали на ее длине. Кроме того, проведенные эксперименты показали, что, меняя технологические условия напыления, можно управлять магнитной анизотропией пленки. Показано, что при существенном увеличении скорости вращения подложки (30 об./мин и более) шаг спирали уменьшается и формируются практически вертикальные колонны с уширением к верху. Магнитная легкая ось смещается к нормали к поверхности пленки.
Целью настоящей работы было проведение сравнительного анализа процессов роста пленок различных материалов (металлов, полупроводников, диэлектриков) в условиях наклонного напыления на кремниевых подложках и нахождение оптимальных условий их наноструктурирования и формирования массивов наноколонн с высоким отношением длина/поперечный размер. Кроме того, в рамках работы изучены условия получения массивов наноспиралей при включении вращения подложки в процессе роста.
МЕТОДИКА ЭКСПЕРИМЕНТА
Подходящей технологией для экспериментов по наклонному напылению является электронно-лучевое испарение. Этот метод сочетает достаточно высокий рабочий вакуум и однородный поток распыляемого материала. Упрощенная схема эксперимента представлена на рис. 1. Ранее этим методом были получены наноструктурированные пленки Al и Co на кремниевой подложке [19–21]. В настоящей работе эксперименты по напылению пленок различного состава на наклонную подложку проводили на установке электронно-лучевого испарения “Оратория-9”. Условия напыления были следующие: базовый вакуум 4 × 10–6 торр, напряжение и ток электронного луча для разных испаряемых материалов представлены в табл. 1.
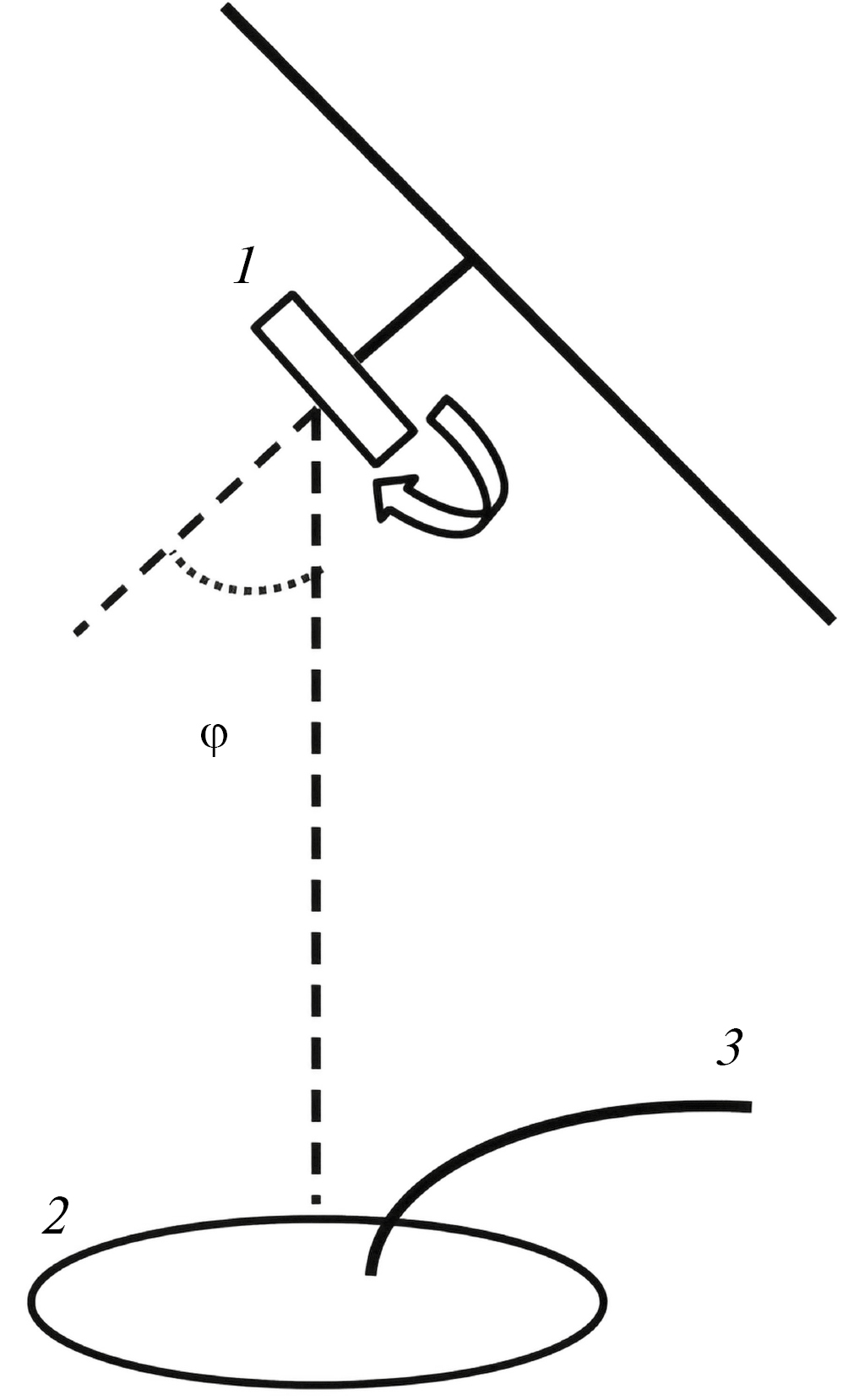
Рис. 1. Схема эксперимента по наклонному напылению: 1 — подложка; 2 — испаряемая мишень; 3 — поток электронов, бомбардирующих мишень.
Таблица 1. Основные параметры процесса напыления пленок
Материал мишени | Напряжение электронного луча, кВ | Ток луча, А | Время напыления, мин |
Al | 8.0 | 1.2 | 5 |
Co | 8.0 | 0.5 | 5 |
Ge | 8.0 | 0.5 | 5 |
SiO2 | 4.0 | 0.2 | 10 |
В качестве подложки использовали кусок стандартной пластины монокристаллического кремния с ориентацией (001) со слоем термического оксида толщиной 300 нм прямоугольной формы размером 20 × 15 мм. Чтобы обеспечить одинаковые условия напыления для разных углов наклона подложки, была изготовлена специальная оснастка, позволяющая одновременно располагать шесть образцов с варьируемыми углами наклона. Расстояние от испарителя до подложки составляло около 1 м. Такое значительное удаление от источника напыляемого материала обеспечивало высокий уровень однородности потока. За одно напыление были получены шесть образцов с разными углами напыления в диапазоне 50°–85°. Держатель также обеспечивал возможность вращения подложки вокруг оси, перпендикулярной ее поверхности, с варьируемыми скоростями. Все эксперименты проводили при комнатной температуре. Время напыления для разных образцов указано в табл. 1. Получаемые в этих условиях пленки обладали хорошей адгезией и имели гладкую поверхность. Далее пленки подвергались различным видам анализов. Морфология и структура получаемых пленок была исследована методом растровой электронной микроскопии (РЭМ) (микроскоп SUPRA-40).
РЕЗУЛЬТАТЫ
Проведенные исследования показали, что при углах наклона подложки выше 70° наблюдается процесс наноструктурирования пленки, сопровождаемый увеличением пористости. Степень пористости растет с увеличением угла наклона. Результаты проведенных экспериментов показывают, что с ростом угла наклона подложки уменьшается толщина пленки. Это можно объяснить снижением эффективной площади захвата напыляемого материала. С ростом наклона подложки угол наклона зерен также увеличивается и далее выходит на насыщение около 60°.
По результатам исследований установлено, что оптимальных условий наноструктурирования пленок можно достичь при максимальном угле наклона подложки 85° [19]. Оптимальными в данном контексте являются условия напыления, обеспечивающие наиболее четко выраженное наноструктурирование, когда пленка состоит из отдельных нановолокон, разделенных порами.
Полученные результаты показаны на рис. 2, где представлены микроскопические изображения пленок разного состава — виды поперечного среза и сверху. Видно, что в данных условиях формируется наклонная волокнистая структура, состоящая из наноколонн длиной несколько сотен нанометров и диаметром от 10 до 100 нм. Их наклон к плоскости подложки составляет около 60°. Эти наноколонны разделены большим объемом пор. Сравнение полученных картин для разных материалов показывает, что самые тонкие нановолокна (толщиной около 30 нм) формируются при напылении кобальта. При напылении Al, Ge и SiO2 растут более широкие нановолокна (диаметром около 100 нм). В случае пленок Ge и SiO2 отчетливо выражен эффект уширения нановолокон с увеличением длины. Все эти наблюдения можно объяснить различием диффузионной подвижности атомов разных материалов.
Рис. 2. РЭМ-изображения пленок разного состава (поперечный срез (а, в, д, ж) и вид сверху (б, г, е, з)): а, б — Al; в, г, — Co; д, е — Ge; ж, з — SiO2. Все пленки получены при оптимальном угле наклона 85°.
Картина роста сильно изменится, если оставить тот же угол наклона подложки, но начать менять ее ориентацию по отношению к падающему на нее потоку вещества. Для этого необходимо включить вращение подложки вокруг ее нормали к плоскости. Схематическое изображение механизма формирования наноспиралей при включении вращения подложки вокруг ее нормали к плоскости представлено на рис. 3. Такие эксперименты по напылению пленок различных материалов на наклонную подложку с вращением были также проделаны. Картины роста пленок разного состава при скорости вращения подложки 0.6 об./мин и угле наклона θ = 85° можно проследить на РЭМ-изображениях (рис. 4).
Рис. 3. Схематическое изображение механизма формирования наноспиралей при включении вращения подложки вокруг ее нормали к плоскости.
Рис. 4. РЭМ-изображения пленок разного состава (поперечный срез (а, в, д) и вид сверху (б, г, е)): а, б — Co; в, г — Ge; д, е — SiO2. Все пленки получены при оптимальном угле наклона 85° и скорости вращения подложки 0.6 об./мин.
Как видно из рисунков, при включении вращения подложки в процессе роста пленки формируется массив наноспиралей (геликонов). Проведенные эксперименты показали, что при изменении скорости вращения изменяется шаг спирали, ее радиус и число витков на ее длине. При низких скоростях вращения (0.2 об./мин) формируется один неполный виток. При высоких скоростях вращения (30 об./мин) растут практически вертикальные наноколонны с уширением к верху. Таким образом, данные эксперименты показывают возможность эффективно управлять текстурой роста путем изменения условий напыления.
МОДЕЛЬ
Для интерпретации экспериментальных данных было проведено теоретическое исследование зависимости морфологии растущих пленок от условий напыления путем моделирования методом Монте-Карло. На основе принципов, изложенных в [7, 8], была создана программа на языке С++, реализующая модель роста тонких пленок. Как показано на рис. 5, область моделирования является пространственной решеткой, состоящей из кубических ячеек, каждая из которых может быть занята осажденной частицей. Размер частицы (длина ребра кубической ячейки) был принят равным 1 нм. Необходимо заметить, что рассматриваемая модель осаждения, как отмечается в [7, 8], не является атомистической. Отдельная кубическая частица представляет собой статистически усредненные траектории некоторого количества атомов.
Рис. 5. Схема модели.
Процесс осаждения состоит в следующем. Кубические частицы с произвольными начальными координатами (x–y) в плоскости подложки последовательно отправляются по прямолинейной траектории под заданным углом j, отсчитываемом от нормали к поверхности. Начальную высоту (координату z) каждой частицы устанавливают такой, чтобы она была только на несколько ячеек пространства моделирования больше, чем текущая максимальная высота пленки.
В реальном процессе напыления перед столкновением с поверхностью пленки осаждающаяся частица отклоняется от прямолинейной траектории в результате взаимодействия (например, посредством сил Ван-дер-Ваальса) с поверхностными атомами. В данной модели этот эффект не учитывается явно, и частица, двигаясь по прямой, останавливается возле ближайшей занятой ячейки на растущей поверхности. После присоединения частицы выполняется алгоритм, имитирующий ограниченную диффузию, соответствующую первой зоне структурной модели. Алгоритм диффузии основан на модели случайного блуждания и состоит из следующих шагов. Среди ближайших соседних ячеек, окружающих только что осевшую частицу, ведется поиск вакансий (пустых ячеек). Частица перескакивает в одну из вакансий. Затем вокруг нового положения частицы опять проводится поиск пустых ячеек, и частица снова “перепрыгивает” в одну из них. Такие скачки повторяются несколько раз. Вероятность занятия вакансии частицей зависит от количества занятых ячеек, окружающих данную вакансию, поскольку энергия связи атома в реальной физической системе тем больше, чем больше количество его соседей. Максимальные геометрические размеры модели были ограничены: в плоскости подложки 300 × 300 нм высота пленки до 200 нм. В процессе типичного расчета осаждалось до 10 миллионов частиц. Для устранения влияния границ в модели введены периодические граничные условия.
Проведенные расчеты показали, что морфология растущей пленки в модели меняется с ростом угла падения частиц. При малых углах наклона растет в среднем сплошная пленка. При больших наклонах (более 70°) наблюдается выраженное наноструктурирование пленки. Растут наклонные волокна диаметром несколько десятков нанометров. Эти волокна имеют тенденцию уширения к верху. На рис. 6 представлена типичная форма роста, наблюдаемая в этих условиях модели. Необходимо отметить, что данная картина качественно согласуется с результатами экспериментов (рис. 2) и других групп [7–9]. При включении вращения подложки в рамках модели формируется массив наноспиралей, что также согласуется с экспериментом (рис. 4).
Рис. 6. Виды расчетной ячейки после напыления под углом 85°: а – без вращения; б — при включении вращения.
Анализ рисунков показывает в целом качественное согласие результатов моделирования и данных эксперимента. Таким образом, в основе наблюдаемых процессов наноструктурирования при наклонном напылении лежат универсальные механизмы конкуренции растущих кристаллических зерен в условиях затенения соседей. Это дает возможность получать наноструктурированные пленки различных материалов с требуемыми функциональными характеристиками.
ЗАКЛЮЧЕНИЕ
Таким образом, в результате проведенных экспериментов установлено, что при больших углах наклона подложки (более 70°) происходит наноструктурирование пленок различных материалов (металлов, полупроводников, диэлектриков). Оптимальных условий наноструктурирования (когда нановолокна отчетливо разделены) достигают при угле наклона подложки 85°. Формируется наклонная волокнистая структура с латеральными размерами волокон до 100 нм.
Проведенные измерения магнитных характеристик пленок Co подтвердили тенденцию изменения ориентации легкой оси намагничивания с ростом угла наклона подложки. При больших углах наклона она ориентируется вдоль оси нановолокон, обеспечивая тем самым наклон вектора намагничивания к поверхности пленки.
При включении вращения подложки формируется массив наноспиралей. Варьируя скорость вращения подложки, можно получать наноспирали с разными геометрическими размерами (шаг закручивания, радиус спирали). Необходимо отметить, что все наноспирали закручены в одну и ту же сторону, что придает пленке свойства киральности. Процессы роста пленок в рассматриваемых условиях носят стохастический характер, поэтому формируемый массив наноспиралей характеризуется существенным разбросом размеров и форм. Однако суммарное действие большого числа наноспиралей создает эффект киральной среды и демонстрирует существенную асимметрию оптических характеристик получаемых пленок при отражении правого и левого циркулярно-поляризованного света. Для усиления наблюдаемых эффектов необходимо повысить регулярность расположения наноспиралей на поверхности пленки и уменьшить разброс их геометрических размеров и формы. Были проведены дополнительные исследования таких пленок, напыленных на прозрачную подложку, в геометрии на просвет методом спектроскопии циркулярного дихроизма, которые подтвердили существенную оптическую активность этих структур. При условии дальнейших работ по оптимизации технологии и улучшению функциональных характеристик получаемых пленок данные эффекты могут быть использованы при создании оптических фильтров, поляризаторов и различных оптических сенсоров.
Эта морфология также может быть перспективной для применения в области наносенсорики и нанокатализа и в качестве среды высокоплотной магнитной записи информации.
ФИНАНСИРОВАНИЕ РАБОТЫ
Работа выполнена в рамках государственных программ № FFNN-2022-0018 Министерства науки и высшего образования РФ на оборудовании центра коллективного пользования “Диагностика микро- и наноструктур”.
КОНФЛИКТ ИНТЕРЕСОВ
Авторы заявляют, что у них нет конфликта интересов.
About the authors
O. S. Trushin
Yaroslavl Branch of the Valiev Institute of Physics and Technology of the RAS
Author for correspondence.
Email: otrushin@gmail.com
Russian Federation, Yaroslavl, 150067
I. S. Fattakhov
Yaroslavl Branch of the Valiev Institute of Physics and Technology of the RAS; Demidov Yaroslavl State University
Email: otrushin@gmail.com
Russian Federation, Yaroslavl, 150067; Yaroslavl, 150003
M. M. Chebokhin
Yaroslavl Branch of the Valiev Institute of Physics and Technology of the RAS; Demidov Yaroslavl State University
Email: otrushin@gmail.com
Russian Federation, Yaroslavl, 150067; Yaroslavl, 150003
A. A. Popov
Yaroslavl Branch of the Valiev Institute of Physics and Technology of the RAS
Email: otrushin@gmail.com
Russian Federation, Yaroslavl, 150067
L. A. Mazaletsky
Yaroslavl Branch of the Valiev Institute of Physics and Technology of the RAS; Demidov Yaroslavl State University
Email: otrushin@gmail.com
Russian Federation, Yaroslavl, 150067; Yaroslavl, 150003
References
- Амиров И.И., Селюков Р.В., Наумов В.В., Горлачев Е.С. // Микроэлектроника. 2021. Т. 50. 1. С. 3.
- Hawkeye M.M., Brett M.J. // J. Vac. Sci. Technol. A. 2007. V. 25. P. 1317. doi: 10.1116/1.2764082
- Barranco A., Borras A., Gonzalez-Elipe A.R., Palmero A. // Progress Mater. Sci. 2016. V. 76. P. 59. doi: 10.1016/j.pmatsci.2015.06.003
- Hawkeye M.M., Taschuk M.T., Brett M.J. Glancing Angle Deposition of Thin Films. London: John Wiley & Sons, Ltd, UK. 2014. 299 p.
- Karabacak T., Singh J. P., Zhao Y.-P., Wang G.-C., Lu T.-M. // Phys. Rev. B. 2003. V. 68. P. 125408. doi: 10.1103/PhysRevB.68.125408
- Bouaouina B., Mastail C., Besnard A., Mareus R., Nita F., Michel A., Abadias G. // Mater. Design. 2018. V. 160. P. 338. doi: 10.1016/j.matdes.2018.09.023
- Smy T., Vick D., Brett M. J., Dew S.K., Wu A.T., Sit J.C., Harris K.D. // J. Vac. Sci. Technol. A. 2000. V. 18. № 5. P. 2507. doi: 10.1116/1.1286394
- Suzuki M., Taga Y. // J. Appl. Phys. 2001. V. 90. № 11. P. 5599. doi: 10.1063/1.1415534
- Belyaev B.A., Izotov A.V., Solovev P.N. // Russ. Phys. J. 2016. V. 59. № 2. P. 301. doi: 10.1007/s11182-016-0771-2
- Hubartt B.C., Liu X., Amar J.G. // J. Appl. Phys. 2013. V. 114. P. 083517. doi: 10.1063/1.4819446
- Mes-adi H., Saadouni K., Mazroui M. // Thin Solid Films. 2021. V. 721. P. 13855. doi: 10.1016/j.tsf.2021.138553
- Grigoriev F.V., Sulimov V.B., Tikhonravov A.V. // J. Non-Crystalline Solids. 2019. V. 512. P. 98. doi: 10.1016/j.jnoncrysol.2019.02.016
- Esposito M., Tasco V., Todisco F., Cuscunà M., Benedetti A., Scuderi M., Nicotra G., Passaseo A. // Nano Lett. 2016. V. 16. № 9. P. 5823. doi: 10.1021/acs.nanolett.6b02583
- Singh J.H., Nair G., Ghosh A., Ghosh A. // Nanoscale. 2013. V. 5. P. 7224. doi: 10.1039/c3nr02666c
- Gibbs J.G., Mark A.G., Eslami S., FischerP. // Appl. Phys. Lett. 2013. V. 103. P. 213101. doi: 10.1063/1.4829740
- Faryad M., Lakhtakia A. // Adv. Opt. Photon. 2014. V. 6. P. 225. doi: 10.1364/AOP.6.000225
- Gansel J.K., Thiel M., Rill M.S., Decker M., Bade K., Saile V., Freymann G., Linden S., Wegener M. // Science. 2009. V. 325. P. 1513. doi: 10.1126/science.1177031
- Schaferling M. Chiral Nanophotonics // Springer Ser. in Opt. Sci. Springer International Publishing Switzerland, 2017. P. 205.
- Трушин О.С., Попов А.А., Пестова А.Н., Мазалецкий Л.А., Акулов А.А. // Письма в ЖТФ. 2021. Т. 47. Вып. 12. С. 31. doi: 10.21883/PJTF.2021.12.51064.18748
- Трушин О.С., Попов А.А., Пестова А.Н., Мазалецкий Л.А., Акулов А.А., Ломов А.А. // Изв. РАН. Сер. физ. 2022. Т. 86. № 5. С. 650. doi: 10.31857/S0367676522050283
- Трушин О.С., Фаттахов И.С., Попов А.А., Мазалецкий Л.А., Ломов А.А., Захаров Д.М., Гайдукасов Р.А., Мяконьких А.В., Шендрикова Л.А. // ФТТ. 2023. Т. 65. Вып. 6б. С. 996. doi: 10.21883/FTT.2023.06.55656.16H
Supplementary files








