Распределение электронов около трека быстрого иона в кремнии
- Авторы: Новиков Н.В.1, Чеченин Н.Г.1, Широкова А.А.1
-
Учреждения:
- Московский государственный университет им. М.В. Ломоносова, НИИЯФ им. Д.В. Скобельцына
- Выпуск: № 3 (2024)
- Страницы: 19-27
- Раздел: Статьи
- URL: https://journals.rcsi.science/1028-0960/article/view/259014
- DOI: https://doi.org/10.31857/S1028096024030037
- EDN: https://elibrary.ru/hfyezt
- ID: 259014
Цитировать
Полный текст
Аннотация
Предложена модель описания распределения электронов вблизи трека быстрого иона. Зависимость потока быстрых электронов от времени, глубины слоя и радиальной переменной моделируются с учетом статистического веса каждой траектории. Получено, что длительность импульса в распределении потока электронов составляет доли пикосекунд, а радиальный размер цилиндрической области, где происходит транспорт быстрых электронов, достигает десятков ангстрем.
Полный текст
ВВЕДЕНИЕ
При прохождении иона в среде образуется трек, или протяженная область поврежденного материала, длина которой может достигать десятков микрометров [1]. В соответствии с современными представлениями быстрый тяжелый ион формирует цилиндрическую область, состоящую из ионов и облака электронов [2]. Исследования процессов вблизи трека быстрого иона представляют фундаментальный интерес, так как описывают пространственные и временные изменения в нанометрической окрестности трека, спектры вторичных частиц и структурно-фазовые модификации облученного материала. Прикладное значение этой задачи состоит в моделировании процессов сбоев электроники под действием первичных ионов [3, 4] и фрагментов ядерной реакции [5–7]. Травление треков широко используется в диэлектрических детекторах [8] и при изготовлении полимерных мембран [9].
По характерному времени процессы, протекающие вблизи трека быстрого иона, принято разделять на несколько этапов [10]. На первом этапе за время пролета быстрого иона через мишень (t < 0.1 пс) происходит неупругое взаимодействие иона и атомов мишени, в результате которого вблизи трека создаются электронно-дырочные пары. На следующем этапе осуществляется теплообмен между электронной и ионной подсистемами облученного материала с характерным временем t = 1–10 пс. И наконец, на последнем этапе (t > 100 пс) происходит релаксация облученного материала в состояние термодинамического равновесия, а также миграция и рекомбинация части электронно-дырочных пар.
Задача описания сбоев электроники основана на учете количества электронно-дырочных пар в чувствительных областях электронной схемы и накопления в них избыточного заряда. Для оценки количества пар в зависимости от глубины слоя используется величина линейной передачи энергии (ЛПЭ) быстрого иона [11, 12]. В этой модели максимальная величина избыточного заряда в чувствительной области определяется длиной трека иона в ней [4]. Распределение потоков электронов вблизи трека, а также их угловое и энергетическое распределение в этой модели не учитываются, что ограничивает ее применимость в случаях, когда ион проходит рядом с чувствительной областью, не попадая в нее.
В настоящей работе предложена модель, которая при характерном времени t < 0.1 пс может описать потоки быстрых электронов вблизи трека иона с энергией E = 0.1–10 МэВ/нуклон. В качестве примера быстрого многозарядного иона использованы ионы 24Mg, которые являются одним из основных продуктов реакции в столкновениях протонов с ядром атома кремния.
ОСНОВНЫЕ ПОЛОЖЕНИЯ ПРЕДЛАГАЕМОЙ МОДЕЛИ
Для описания распределения электронов, образовавшихся вблизи трека быстрого иона, предлагается модель, основанная на статистическом моделировании траекторий, выбитых из атома электронов. Модель основана на следующих приближениях.
Количество электронов, рожденных в слое толщиной Δx, оценивается с помощью интерполяции экспериментальных сечений однократной ионизации в газах и поправочного коэффициента, корректирующего энергию связи электрона в атоме в случае твердой мишени. Распределения электронов по углу вылета θ и энергии Ee в момент их вылета из атома вычисляются в первом борновском приближении. Потери энергии электронов в однородной среде моделируются методом Монте-Карло. В отсутствие внешних электромагнитных полей электрон движется по прямолинейной траектории. Когда его энергия уменьшается до Ee = Emin, считается, что электрон останавливается. Процессы рекомбинации электронно-дырочных пар не учитываются. Зависимость от времени количества электронов в каждом элементе фазового пространства (координат и скоростей электронов) в цилиндрической зоне регистрации вблизи трека моделируется на основе описания каждой траектории с учетом ее статистического веса.
В статистической модели траекторий не учитываются процессы, связанные с теплообменом между электронной и ионной подсистемами вблизи трека иона [13] и релаксацией облученного материала в состояние термодинамического равновесия.
КОЛИЧЕСТВО ЭЛЕКТРОНОВ
Если не учитывать многократную ионизацию атомов ионом в одном столкновении и процесс ионизации атомов электронами, то минимальное количество электронов, образовавшихся в слое толщиной Δx после прохождения его быстрым ионом, совпадает с количеством ионизационных столкновений:
ν(Z,E) = ∆xρσ(Z,E), (1)
где Z – заряд ядра иона, E – энергия иона, ρ = 4.977×1022 ат./см3 – плотность кремния (соответствует ρ = 2.32 г/см3), σ(Z, E) – сечение однократной ионизации атома кремния. Величина σ(Z, E) не зависит от массы иона, а энергия E измеряется в кэВ/нуклон или МэВ/нуклон. Максимальное количество электронно-дырочных пар, которое может создать быстрый ион в слое облученного материала толщиной Δx, в соответствии с ЛПЭ-приближением вычисляется в виде:
νmax (Z,E) = ∆xSe (Z,E)/ε0, (2)
где Se(Z, E) – неупругие потери энергии иона в единицах эВ/Å, ε0 – энергия образования одной электронно-дырочной пары (для кремния ε0 = 3.6 эВ [14]). При таком подходе к рождению новых электронно-дырочных пар приводит любое неупругое столкновение быстрого иона, независимо от его заряда q. При прохождении быстрым (E > 0.1 МэВ/нуклон) ионом тонкой однородной мишени толщиной d ~0.01 мкм изменением его энергии E можно пренебречь и считать, что количество ионизационных столкновений и электронно-дырочных пар равномерно распределено вдоль прямолинейной траектории иона.
Для квантово-механического описания зависимости сечения σ(Z, E) от заряда быстрого иона применимо приближение эффективного заряда:
σ(Z,E) = (Z,E)σ(Z = 1,E), (3)
где средний заряд ионов (Z, E) описывается моделью атома Томаса–Ферми [15] при Z < 5 и равновесным зарядом иона в твердых мишенях [16] при Z ≥ 5.
Для аппроксимации сечения однократной ионизации атома кремния протонами σ(Z = 1, E) используем интерполяцию экспериментальных данных в неоне σexp(Zt = 10, E) и аргоне σexp(Zt = 18, E) [17], а также корректирующий множитель Сgs(E, ε0), связанный с уменьшением энергии связи электрона в твердой мишени из кремния по сравнению со значениями ε3s для изолированного атома в приближении Хартри–Фока [18]. Аналогичный метод раньше был применен для оценки сечений потери и захвата ионом одного электрона в твердой мишени [19]. Тогда сечение однократной ионизации атома кремния протонами можно записать в виде:
(4)
где σB(Z = 1, E, ε3s) – сечение ионизации атома кремния протонами в первом борновском приближении с использованием энергии связи 3s-электрона, а интерполяционный коэффициент 4/8 связан с различием зарядов ядра кремния (Zt = 14), неона (Zt = 10) и аргона (Zt = 18). Результаты расчетов показывают, что Сgs(E, ε0) > 1 и сечение σ(Z = 1, E) увеличивается при переходе от газовой мишени к твердой (рис. 1). Этот эффект объясняется тем, что взаимодействие с соседними атомами в твердой мишени приводит к уменьшению глубины потенциальной ямы, в которой находился выбитый электрон.
Увеличение сечения ионизации на два порядка в столкновениях с быстрыми многозарядными ионами (рис. 1) объясняется возрастанием их равновесного заряда (Z, E). Кроме того, при переходе от протонов к многозарядному иону меняется зависимость сечения от энергии. Максимум сечения для протонов при E ≈ 0.06 МэВ/нуклон смещается в область более высоких значений энергии E ≈ 0.6 МэВ/нуклон в случае ионов 24Mg. Энергия, при которой достижим максимум сечения σ(Z, E), близка к энергии Emax, соответствующей максимуму неупругих потерь Semax(Emax) = 0.13 кэВ/нм при Emax = 55 кэВ в случае протонов и Semax(Emax) = 2.7 кэВ/нм при Emax = 570 кэВ/нуклон в случае ионов 24Mg в кремнии [15]. Это связано с доминирующим вкладом однократной ионизации атомов ионами в неупругие потери энергии по сравнению с процессами перезарядки ионов и возбуждением атома мишени [20]. Отличие на порядок величин ν(Z, E) и νmax(Z, E) (рис. 1) объяснятся пренебрежением кинетической энергией выбитого электрона в ЛПЭ-приближении, когда все неупругие потери быстрого иона затрачиваются только на извлечение электрона из потенциальной ямы [7], а также пренебрежением в (1) процессами многократной ионизации атома и ионизацией атома электронами.
Рис. 1. Зависимость от энергии ионов сечения ионизации атома кремния (1–3) и максимального количества электронно-дырочных пар νmax(Z, E) на единице длины трека ионов 24Mg в ЛПЭ-приближении (4): 1 – p-Si в газах Сgs(E, ε0) = 1 в (3), 2 – p-Si в твердой мишени Сgs(E, ε0) > 1 в (3), 3 – 24Mg–Si в твердой мишени. Приведены экспериментальные данные [16] для сечения ионизации протонами в неоне (o) и аргоне (Δ).
ОСОБЕННОСТИ РАСПРЕДЕЛЕНИЯ ВЫБИТЫХ ЭЛЕКТРОНОВ
Для описания распределения электрона по энергии Ee и углу вылета θ в момент его вылета из атома мишени используем результаты квантово- механических расчетов дважды дифференциального сечения однократной ионизации в первом борновском приближении σВ(Е, Ее, θ) [21] с помощью волновых функций электрона изолированного атома [18]:
(5)
Введем безразмерную функцию F(Е, Ее, θ), которая при угле вылета θ описывает количество электронов в диапазоне значений энергии от Ee до Ee + ΔE:
. (6)
Из соотношения (5) следует условие нормировки:
(7)
В приближении эффективного заряда (2) распределение F(Е, Ее, θ) не зависит от среднего заряда иона (Z, E). Распределение электронов по углу характеризуется функцией:
(8)
Максимум в распределении электронов в области углов 70°–80° на рис. 2 объясняется тем, что электроны в соответствии с первым борновским приближением выбиваются преимущественно в направлении переданного атому мишени импульса, формируя бинарный пик в сечении σВ(Е, Ее, θ) [21]. Площадь под кривыми на рис. 2 в диапазоне углов θ ≤ 90° превышает площадь в диапазоне θ ≥ 90°. Такая асимметрия в угловом распределении электронов относительно θ = 90° приводит к тому, что количество электронов, летящих в полусферу 0°–90° относительно направления скорости иона, превышает количество электронов, летящих в полусферу 90°–180°. С увеличением энергии иона E этот эффект усиливается из-за увеличения максимума функции f(E, θ).
Рис. 2. Распределение по углу вылета электронов в столкновении атома кремния и протона с энергией: 0.5 (1); 1 (2); 5 МэВ/нуклон (3).
Разобьем все пространство переменных электрона (Ee, θ) на kmax частей по энергии (Ee ≤ Emax) и jmax частей по углу вылета (0° ≤ θ ≤ 180°). В этом случае условие нормировки (7) запишем в виде:
(9)
Основная часть электронов имеет энергию менее 100 эВ (рис. 3). Количество электронов с энергией Ee ≤ 20 эВ в диапазоне углов θ ≤ 90° составляет 40–70%, а в диапазоне углов θ ≥ 90° достигает 70–95%. Немонотонность зависимостей объясняется изменением вклада электронов в σВ(Е, Ee, θ) в разных энергетических интервалах Ee. Появление максимума при θ ≈ 30° на рис. 3б связано с увеличением доли электронов с Ee > 1 кэВ, которые получили название δ-электронов [22]. Фракция таких электронов достигает 5–9% в диапазоне углов 20°–40°, но из-за небольшого значения f(E, θ) ≈ 0.010–0.015 (рис. 2) вероятность образования δ-электрона Fδ(E) в одном ионизационном столкновении быстрого иона с атомом кремния при E ≤ 0.5 МэВ/нуклон не превышает 0.001. Результаты расчетов дифференциальных сечений ионизации в первом борновском приближении показывают, что количество быстрых электронов в одном ионизационном столкновении с атомом Fδ(E) возрастает с увеличением энергии иона E. Отметим, что Fδ(E) ≈ 0.007, 0.022 и 0.024 для E = 1, 5 и 10 МэВ/нуклон соответственно. Коэффициент Fδ(E) может быть использован в качестве весового множителя в расчетах потерь энергии ионов на основе модели Гаусса с помощью программы SRIM [15], которая моделирует столкновения при больших прицельных параметрах и малых углах рассеяния, и модели Ландау–Вавилова [22] с использованием программы GEANT4 [23], когда все выбитые из атома электроны считают δ-электронами (Ee ≥ 1 кэВ).
Рис. 3. Распределение по углу вылета θ электрона в столкновении ионов 24Mg с энергией E = 0.5 МэВ/нуклон с атомами кремния при Ee ≤ 100 эВ (а) и в диапазоне энергии электрона (б): 100–200 (1); 200–500 (2); 500–1000 (3); ≥ 1000 эВ (4).
ПРОХОЖДЕНИЕ ЭЛЕКТРОНА ЧЕРЕЗ СЛОЙ КРЕМНИЯ
Транспорт электронов в однородной среде описывается методом Монте-Карло [24]. Рассмотрим падение электрона с энергией Ee по нормали к поверхности на мишень толщиной d. При прохождении быстрого электрона через тонкий слой мишени потери энергии пропорциональны ее толщине. При прохождении одного атомного слоя (d = 1–2 Å) удельные потери энергии S(Ee) электрона с энергией Ee > 200 эВ в единицах эВ/Å от толщины этого слоя не зависят (рис. 4). Это позволяет использовать S(Ee) в расчетах энергии электрона Ee при его транспорте в однородной среде.
Рис. 4. Результаты расчетов потерь энергии электрона в кремнии методом Монте-Карло [22]. Электроны с энергией Ee падают по нормали к поверхности мишени из кремния толщиной d: 1 (1); 2 Å (2). Штрихпунктиром обозначена линейная экстраполяция результатов расчета.
Увеличение толщины мишени d приводит к росту коэффициента поглощения электронов Fabs и уменьшению их коэффициента прохождения Ftr. Варьируя толщину мишени так, чтобы для данного значения Ee выполнялось соотношение Ftr(Ee) < 0.001 при d > dmin(Ee), получаем оценку минимальной длины траектории электрона dmin(Ee) при его замедлении до энергии Ee = Emin. Величина dmin(Ee) монотонно растет с увеличением энергии электрона (рис. 5).
Рис. 5. Результаты расчетов методом Монте-Карло [22] минимальной толщины мишени из кремния, при которой коэффициент прохождения электронов удовлетворяет соотношению Ftr(Ee) < 0.001. Штрихпунктиром обозначена экстраполяция результатов расчета для медленных электронов.
Используя зависимость dmin(Ee), можно оценить среднюю длину траектории электрона l(E, θ) – от места его рождения в ионизационном столкновении до момента его замедления (Ee = Emin). Эту величину можно вычислить путем усреднения по спектру электронов при угле вылета θ:
(10)
При вылете электронов под углом θ > 90° к направлению скорости иона электроны перемещаются от места своего рождения не более чем на несколько ангстрем (рис. 6), в то время как при вылете под углом θ < 90° средняя длина траектории электрона l(E, θ) может достигать сотен ангстрем. Эта особенность относится ко всем быстрым ионам, так как в первом борновском приближении F(Е, Ее, θ) зависит только от скорости иона и не зависит от его ионного заряда (Z, E), массы и заряда ядра.
Рис. 6. Средняя длина трека электрона при его замедлении до энергии Emin: 0.5 (1); 1 (2); 5 МэВ/нуклон (3).
ПРОХОЖДЕНИЕ ЭЛЕКТРОНА В ОДНОРОДНОЙ СРЕДЕ
Быстрый ион с зарядом ядра Z и энергией E в момент времени t0 падает по нормали к поверхности бесструктурной мишени из кремния толщиной d. Направим ось ОX вдоль нормали. Из аксиальной симметрии следует, что количество электронов, проходящих через любую плоскость, перпендикулярную скорости иона, можно описать функцией n(x, r, t), где x – глубина слоя, r – радиальная координата, t – время. Будем считать, что электрон с энергией E0 в отсутствие внешних электрических и магнитных полей в результате многократного рассеяния на атомах движется из точки с координатами (x0, r0) под углом θ по отношению к скорости иона по прямолинейной траектории со скоростью Ve(t):
(11)
При движении в однородном материале электроны теряют энергию малыми порциями:
Ee(t) = mVe2(t)/2 = E0 - S(Ee)[(x - x0)2 + (r - r0)2]1/2, (12)
где m – масса электрона, Ee(t) – его энергия в момент времени t, а S(Ee) – удельные потери энергии. Движение электрона по прямолинейной траектории продолжается до момента, когда он либо покинет зону регистрации, либо его энергия уменьшится до значения Ee = Emin. В области энергии Ee < 100 эВ требуется учет молекулярных эффектов. Метод Монте-Карло, если он не использует дополнительные поправки к матрице рассеяния, основан на приближении бинарных столкновений [25] и не может описать такие процессы. Нижняя граница диапазона энергии электрона Emin в программе GEANT4 [23] и базе данных ESTAR [26] составляет 1 кэВ, а в данных для программы PENELOPE [24] этот диапазон расширен до Emin ~ 100 эВ. Траекторию и потери энергии электронов с энергией Emin < 100 эВ в твердых мишенях описывают методами теории функционала плотности [27]. При учете таких особенностей к результатам оценки на основе экстраполяции (рис. 4, 5) следует относиться с некоторой долей осторожности.
МЕТОД СТАТИСТИЧЕСКОГО МОДЕЛИРОВАНИЯ ТРАЕКТОРИЙ
Если известно количество выбитых электронов, их угловое и энергетическое распределение в момент рождения, то их распределение по времени и в пространстве вблизи трека иона в случае гомогенной среды можно получить методом статистического моделирования траекторий, который предлагается в работе. Результат одного ионизационного столкновения иона с атомом мишени описывается набором kmax× jmax траекторий электронов, вылетающих из точки столкновения (x0, r = 0). Долю всех рожденных электронов F(E, Ek, θj) < 1 будем называть статистическим весом этой траектории. Общее количество электронов, двигающихся по траектории, определяется соотношением:
ν(Z,E,Ek,θj) = ν(Z,E)F(E,Ek,θj). (13)
В случае быстрых ионов, проходящих через тонкую (d ~ 0.01 мкм) мишень, можно пренебречь уменьшением энергии иона E. Тогда распределение выбитых из атома мишени электронов в точке x0 + Δx в однородном материале будет отличаться от распределения в точке x0 только запаздыванием по времени на Δt = Δx/V0, где V0 – скорость иона. При разбиении однородной мишени по глубине на слои толщиной Δx = 1 Å моделируются траектории всех электронов, рожденные в области 0 ≤ x ≤ d. Для аппроксимации F(E, Ek, θj) использовали логарифмическую сетку по энергии электрона (kmax = 20, Emах = 5 кэВ) и равномерную линейную сетку по углу θ (jmax = 18 или 36). В результате моделирования весь объем цилиндра высотой H = d и радиусом R = rmax заполняется траекториями электронов, общее количество которых составляет kmax × jmax × d/Δx ~ 105. Из этого пространственно-временного ансамбля событий делаем выборку и вычисляем количество электронов n(x, r, t), проходящих через выбранный фрагмент поверхности в момент времени t (рис. 7). Погрешность расчетов оцениваем, сравнивая величины n(x, r, t) при увеличении параметра jmax.
Рис. 7. Модель для описания распределения количества электронов n(x, r, t) вблизи трека быстрого иона, движущегося вдоль оси x (обозначен крупной стрелкой): ν(Z, E) – количество вторичных электронов при прохождении ионом c энергией E мишени толщиной dx. Пунктиром обозначены треки электронов, испускаемых с энергией Ee под углом θ относительно направления движения иона.
Для анализа n(x, r, t) используем асимптотическую по времени величину N(x, r):
n(x, r, t) → N(x, r) при t →∞, (14)
которая описывает пространственное распределение замедлившихся до энергии Ee = Emin электронов. Радиальное распределение замедлившихся электронов удобно характеризовать также величиной, усредненной по длине трека быстрого иона:
. (15)
В течение небольшого интервала времени возможна ситуация, когда n(x, r, t) >> N(x, r), что может привести к изменению количества электронов и заряда q(x, t) в слое на глубине x и кратковременному изменению электропроводности материала. Тогда становится важным определить максимум отношения n(x, r, t)/N(x, r).
Количество электронов, которые проходят через поверхность на глубине x = X в момент времени t, вычислим интегрированием по радиальной координате:
(16)
Будем считать, что nr(X, t) ≥ 0, если электроны движутся через поверхность x = X в направлении скорости иона, и nr(X, t) ≤ 0 при движении электронов в противоположном направлении. Эти потоки электронов разделены во времени, так как источник электронов появляется с другой стороны от поверхности на глубине X только после того, как быстрый тяжелый ион пересечет поверхность x = X в момент времени t*(X). Общее количество электронов, прошедших через плоскость на глубине x определяется суммой:
(17)
РЕЗУЛЬТАТЫ РАСЧЕТОВ
Метод статистического моделирования траекторий был использован в расчетах потоков электронов n(x, r, t) и распределения остановившихся электронов N(x, r) при прохождении ионов 24Mg с энергией E = 0.1–10 МэВ/нуклон в слое кремния толщиной d = 100 Å. Замедление электронов в однородной среде до энергии Emin = 20 эВ описывается результатом экстраполяции данных S(Ee) (рис. 4).
Ион падает по нормали к поверхности, и координата x в распределениях n(x, r, t) и N(x, r) соответствует глубине слоя. Количество электронно-дырочных пар при прохождении ионов 24Mg мишени из кремния такой толщины не превышает 500 (рис. 1). Траектория каждого электрона описывается ансамблем kmax × jmax траекторий, каждая из которых имеет статистический вес ν(Z, E, Ek, θj). Большая часть этих электронов остается в месте своего рождения при r ≈ 0, а транспорт остальных моделируется в цилиндрической области 0 ≤ x ≤ d, r ≤ Rmax(E) при их замедлении до Ee = Emin или утечке за пределы зоны регистрации (x < 0, x > d, r > Rmax(E)). Размер зоны регистрации Rmax(E) можно определить по уменьшению потоков электронов при увеличении r, и для быстрых ионов E > 0.1 МэВ/нуклон он составляет десятки ангстрем.
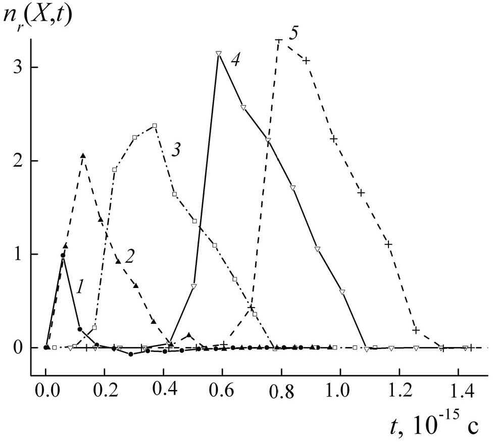
Рассмотрим зависимость количества электронов nr(X, t), проходящих через поверхность, перпендикулярную треку иона на глубине x = X. Через поверхность пролетают два потока электронов, направленные в противоположные стороны. Количество электронов (площадь под кривой на рис. 8), проходящих через поверхность X = const в направлении скорости иона, на порядки может превышать количество электронов, двигающихся в противоположном направлении: nrt+(X) >> nrt–(X). Только при небольшой глубине эти две величины могут быть соизмеримы: nrt–(X)/nrt+(X) ~ 0.01–0.1 (X = 1 Å на рис. 8). Но из-за быстрого увеличения nrt+(X) при возрастании глубины слоя X отношение nrt–(X)/nrt+(X) быстро убывает. В момент времени tmax количество электронов nr(X, t), проходящих слой на глубине x = X, достигает максимума nr(X, tmax), который при небольших X быстро увеличивается за счет появления новых электронно-дырочных пар в области x ≤ X. Ширина распределения на половине высоты характеризует длительность импульса в распределении потока электронов, которая составляет доли фемтосекунд.
Рис. 8. Изменение во времени количества электронов, пролетающих через поверхность на глубине X, при прохождении ионов 24Mg с энергией E = = 0.5 МэВ/нуклон мишени из кремния толщиной d = 100 Å, глубина: 1 (1); 5 (2); 20 (3); 50 (4); 70 Å (5).
Распределение электронов N(x, r) определяет концентрации замедлившихся электронов вблизи трека иона. Результаты расчетов Nr(X) показывают, что увеличивающаяся концентрация электронов с Ee ≤ 20 эВ при возрастании глубины слоя X достигает насыщения Nr(X) → Nrmax(Xmax) на глубине Xmax (рис. 9). Величина Xmax ≈ 20 Å слабо зависит от энергии иона, а уменьшение Nrmax(Xmax с увеличением E можно объяснить уменьшением сечения σ(Z, E) (рис. 1).
Рис. 9. Зависимость общего количества электронов на глубине X при прохождении ионами 24Mg мишени из кремния толщиной d = 100 Å с энергией: 0.5 (1); 1 (2); 5 МэВ/нуклон (3).
Радиальное распределение количества электронов по слоям Nx(r) можно качественно характеризовать параметрами, определяющими положение rmax и величину максимума Nxmax(Xmax), и параметром r∞, определяющим радиальную границу зоны регистрации:
(18)
При увеличении энергии иона E в области E = 0.1–0.5 МэВ/нуклон параметры rmax и Nxmax(Xmax) возрастают, что приводит к увеличению общего количества электронно-дырочных пар (рис. 1) и площади под кривой на рис. 10. С дальнейшим повышением энергии иона E максимум в распределении Nxmax(Xmax) медленно уменьшается, а ширина распределения Nx(r) на половине максимума увеличивается. Во всем диапазоне энергии радиальная граница r∞ составляет десятки ангстрем и возрастает с повышением E, что связано с увеличением количества быстрых электронов в распределении F(E, Ee, θ) и средней длины траектории электрона l(E, θ).
Рис. 10. Зависимость плотности остановившихся электронов от радиального расстояния до трека иона при прохождении ионами 24Mg мишени из кремния толщиной d = 100 Å с энергией: 0.1 (1); 0.5 (2); 5 (3); 10 МэВ/нуклон (4).
ЗАКЛЮЧЕНИЕ
Результаты расчетов потоков электронов от времени и распределения замедлившихся до энергии Emin = 20 эВ электронов при прохождении быстрых ионов 24Mg через слой кремния толщиной d = 100 Å показали, что длительность импульса, создаваемого потоком электронов, составляет доли фемтосекунд. Распределение потока электронов асимметрично по времени относительно максимума из-за зависимости статистического веса и длины траектории электронов от угла их вылета. Увеличивающаяся с ростом глубины проникновения в слой концентрация электронов достигает насыщения на глубине X > 20 Å благодаря балансу между количеством попавших и покинувших этот слой электронов. Радиальный размер цилиндрической области вблизи трека быстрого иона, где происходит транспорт быстрых электронов, зависит от энергии иона и при E ≥ 0.5 МэВ/нуклон составляет десятки ангстрем.
ФИНАНСИРОВАНИЕ РАБОТЫ
Работа выполнена при финансовой поддержке Министерства науки и высшего образования Российской Федерации по проекту “Развитие синхротронных и нейтронных исследований и инфраструктуры для материалов энергетики нового поколения и безопасного захоронения радиоактивных отходов” (грант № 075-15-2021-1353).
Конфликт интересов. Авторы заявляют, что у них нет конфликта интересов.
Об авторах
Н. В. Новиков
Московский государственный университет им. М.В. Ломоносова, НИИЯФ им. Д.В. Скобельцына
Автор, ответственный за переписку.
Email: nvnovikov65@mail.ru
Россия, 119991, Москва
Н. Г. Чеченин
Московский государственный университет им. М.В. Ломоносова, НИИЯФ им. Д.В. Скобельцына
Email: nvnovikov65@mail.ru
Россия, 119991, Москва
А. А. Широкова
Московский государственный университет им. М.В. Ломоносова, НИИЯФ им. Д.В. Скобельцына
Email: nvnovikov65@mail.ru
Россия, 119991, Москва
Список литературы
- Митерев А.М. // УФН. 2002. Т. 172. С.1131.
- Комаров Ф.Ф. // УФН. 2017. Т. 187. С.465.
- Bendel W.L., Petersen E.L. // IEEE Trans. Nucl. Sci. 1983. V. 30. P. 4481. https://doi.org/10.1109/TNS.1983.4333158
- Petersen E.L., Pickel J.C., Adams J.H. et al. // IEEE Trans. Nucl. Sci. 1992. V. 39. P. 1577.
- Bion T., Bourrieau J. // IEEE Trans. Nucl. Sci. 1983. V. 36. P. 2281.
- Akkerman A., Barak J. // IEEE Trans. Nucl. Sci. 2002. V. 49. P.1539.
- Novikov N.V., Chechenin N.G., Shirokova А.А. // Modern Phys. Lett. B. 2023. V. 37. P. 2350041.
- Третьякова С.П. // ФЭЧФЯ. 1993. Т. 23. Вып. 2. С. 364.
- Флеров Г.Н., Апель П.Ю., Дидык А.Ю., Кузнецов В.И., Оганесян Р.Ц. // Атомная энергия. 1989. Т. 67. С. 274.
- Новиков Л.С., Воронина Е.Н. Взаимодействие космических аппаратов с окружающей средой. М: КДУ, Университетская книга, 2021. 560 с.
- International Commission on Radiation Units and Measurements. Report 16, Linear energy transfer. 1970. https://doi.org/10.1093/jicru/os9.1.Report16
- Heinrich W. // Rad. Eff. 1977. V. 34. P. 143.
- Medvedev N., Volkov A.E., Rymzhanov R., Akhmetov F., Gorbunov S., Voronkov R., Babaev P. // J. Appl. Phys. 2023. V. 133. P. 100701. https://doi.org/10.1063/5.0128774
- Чумаков А.И. Действие космической радиации на интегральные схемы. М.: Радио и связь, 2004. 320 с.
- Ziegler J.F., Biersack J.P., Littmark U. The Stopping and Range of Ions in Solids. New York: Pergamon, 1985.
- Schiwietz G., Grande P.L. // Nucl. Instrum. Methods Phys. Res. B. 2001. V. 175–177. Р. 125.
- Rudd M.E., DuBois R.D., Toburen L.H., Ratcliffe C.A., Goffe T.V. // Phys. Rev. A. 1983. V. 28. P. 3244.
- Clementi E., Roetti C. // Atomic Data Nuclear Data Tables. 1974. V. 14. P. 177. http://cdfe.sinp.msu.ru/services/wftables/FirstPage_eng.htm
- Белкова Ю.А., Новиков Н.В., Теплова Я.А. Экспериментальные и теоретические исследования процессов взаимодействия ионов с веществом. М.: НИИЯФ МГУ, 2019. 228 с.
- Novikov N.V. // Rad. Phys. Chem. 2021. V. 189. P. 109699. https://doi.org/10.1016/j.radphyschem.2021.109699
- Stolterfoht N., Dubois R.D., Rivarola R.D. Electron Emission in Heavy Ion-Atom Collision. Springer, 1997. 250 p.
- Вавилов П.В. // ЖЭТФ. 1957. Т. 32. С. 920.
- Allison J., Amako K., Apostolakis J. et al. // Nucl. Instrum. Methods Phys. Res. A. 2016. V. 835. P. 186. http://dx.doi.org/10.1016/j.nima.2016.06.125 (geant4.web.cern.ch)
- Sempau J., Fernandez-Varea J.M., Acosta E., Salvat F. // Nucl. Instrum. Methods Phys. Res. B. 2003. V. 207. P. 107. https://doi.org/10.1016/S0168-583X(03)00453-1
- Новиков Н.В. // Поверхность. Рентген., синхротр. и нейтрон. исслед. 2023. № 6. С. 94. https://doi.org/10.31857/S1028096023060122
- International Commission on Radiation Units and Measurements. Report 37, Stopping Powers for Electrons and Positrons. 1984. https://doi.org/10.1016/0168-583X(85)90718-9 (https://physics.nist.gov/PhysRefData/Star/Text/ESTAR.html)
- Niehaus T.A., Heringer D., Torralva B., Frauenheim T. // Eur. Phys. J. D. 2005. V. 35. P. 467.
Дополнительные файлы













