OPERANDO X-Ray Diffraction Study of Mn–Ce Catalysts for CO Oxidation
- Authors: Vinokurov Z.S.1,2, Afonasenko T.N.3, Mishchenko D.D.1,2, Saraev A.A.1,2, Aydakov E.E.1, Rogov V.A.1, Bulavchenko O.A.1
-
Affiliations:
- Boreskov Institute of Catalysis SB RAS
- Synchrotron radiation facility SKIF, Boreskov Institute of Catalysis SB RAS
- Center of New Chemical Technologies, Boreskov Institute of Catalysis SB RAS
- Issue: No 6 (2023)
- Pages: 74-80
- Section: Articles
- URL: https://journals.rcsi.science/1028-0960/article/view/137771
- DOI: https://doi.org/10.31857/S1028096023060171
- EDN: https://elibrary.ru/DMMCHA
- ID: 137771
Cite item
Full Text
Abstract
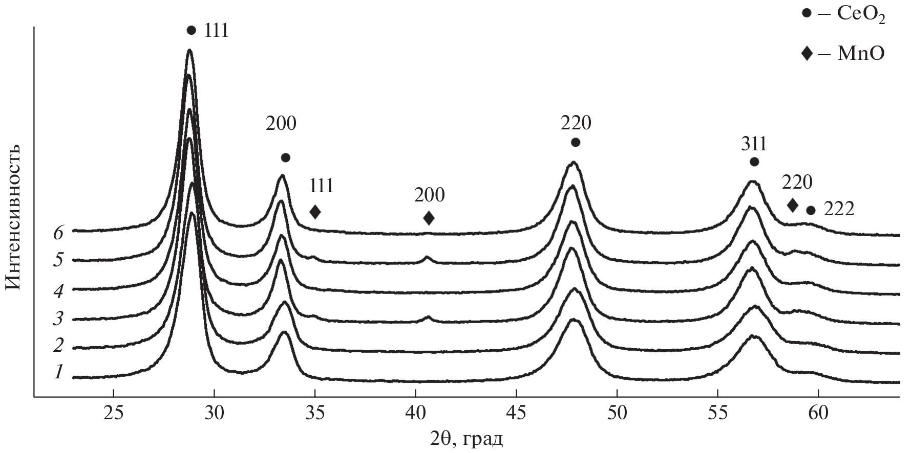
A series of MnOx–CeO2 catalysts with a molar ratio of Mn : Ce = 3 : 7 was prepared by co-precipitation method and futher calcination at temperatures ranged from 300 to 800°С. As prepared catalysts were characterized by powder X-ray diffraction, low-temperature nitrogen adsorption, X-ray photoelectron spectroscopy, and the catalytic activity in the CO oxidation reaction was tested for all samples. It has been shown that a (Mn,Ce)O2 solid solution with the fluorite structure is formed for all catalysts. Based on the studies performed, a catalyst obtained at calcination temperature of 600°С was chosen for further studies of the effect of redox exsolution on the catalytic activity in the CO oxidation reaction by operando X-ray diffraction. The experiment was carried out sequentially in a stepwise manner: stepwise heating/cooling in the reaction mixture 1% CO + 2% O2 at temperatures of 150–175–200–175–150°C (stages 1, 3, and 5); reduction of the sample in a mixture of 10% CO + He at 400°C (stage 2); reduction of the sample in a mixture of 10% H2 + He at 400°C (stage 4). It was shown that the reductive pretreatment leads to phase segregation of the initial (Mn,Ce)O2 solid solution and the appearance of dispersed manganese oxides on the surface. In turn, enrichment of the surface with manganese oxide leads to an increase of the activity in the CO oxidation reaction.
Keywords
About the authors
Z. S. Vinokurov
Boreskov Institute of Catalysis SB RAS; Synchrotron radiation facility SKIF, Boreskov Institute of Catalysis SB RAS
Author for correspondence.
Email: vinokurovzs@catalysis.ru
Russia, 630090, Novosibirsk; Russia, 630559, Kol’tsovo
T. N. Afonasenko
Center of New Chemical Technologies, Boreskov Institute of Catalysis SB RAS
Email: vinokurovzs@catalysis.ru
Russia, 630090, Omsk
D. D. Mishchenko
Boreskov Institute of Catalysis SB RAS; Synchrotron radiation facility SKIF, Boreskov Institute of Catalysis SB RAS
Email: vinokurovzs@catalysis.ru
Russia, 630090, Novosibirsk; Russia, 630559, Kol’tsovo
A. A. Saraev
Boreskov Institute of Catalysis SB RAS; Synchrotron radiation facility SKIF, Boreskov Institute of Catalysis SB RAS
Email: vinokurovzs@catalysis.ru
Russia, 630090, Novosibirsk; Russia, 630559, Kol’tsovo
E. E. Aydakov
Boreskov Institute of Catalysis SB RAS
Email: vinokurovzs@catalysis.ru
Russia, 630090, Novosibirsk
V. A. Rogov
Boreskov Institute of Catalysis SB RAS
Email: vinokurovzs@catalysis.ru
Russia, 630090, Novosibirsk
O. A. Bulavchenko
Boreskov Institute of Catalysis SB RAS
Email: vinokurovzs@catalysis.ru
Russia, 630090, Novosibirsk
References
- Kousi K., Tang C., Metcalfe I.S. et al. // Small. 2021. V. 17. № 21. P. 2006479. https://www.doi.org/10.1002/smll.202006479.2
- Neagu D., Tsekouras G., Miller D.N. et al. // Nature Chem. 2013. V. 5. № 11. P. 916. https://www.doi.org/10.1038/nchem.1773
- Chanthanumataporn M., Hui J., Yue X. et al. // Electrochimica Acta. 2019. V. 306. P. 159. https://www.doi.org/10.1016/j.electacta.2019.03.126
- Tan J., Lee D., Ahn J. et al. // J. Mater. Chem. A. 2018. V. 6. № 37. P. 18133. https://www.doi.org/10.1039/C8TA05978K
- Otto S.-K., Kousi K., Neagu D. et al. // ACS Appl. Energy Mater. 2019. V. 2. № 10. P. 7288. https://www.doi.org/10.1021/acsaem.9b01267
- Myung J., Neagu D., Miller D.N. et al. // Nature. 2016. V. 537. № 7621. P. 528. https://www.doi.org/10.1038/nature19090
- Neagu D., Oh T.-S., Miller D.N. et al. // Nat. Commun. 2015. V. 6. № 1. P. 8120. https://www.doi.org/10.1038/ncomms9120
- Nishihata Y., Mizuki J., Akao T. et al. // Nature. 2002. V. 418. № 6894. P. 164. https://www.doi.org/10.1038/nature00893
- Bulavchenko O.A., Vinokurov Z.S., Afonasenko T.N. et al. // Dalton Trans. 2015. V. 44. № 35. P. 15499. https://www.doi.org/10.1039/C5DT01440A
- Bulavchenko O.A., Vinokurov Z.S., Afonasenko T.N. et al. // Mater. Lett. 2020. V. 258. P. 126768. https://www.doi.org/10.1016/j.matlet.2019.126768
- Bulavchenko O.A., Vinokurov Z.S., Afonasenko T.N. et al. // Mater. Lett. 2022. V. 315. P. 131961. https://www.doi.org/10.1016/j.matlet.2022.131961
- Gates-Rector S., Blanton T. // Powder Diffr. 2019. V. 34. № 4. P. 352. https://www.doi.org/10.1017/S0885715619000812
- Lutterotti L. // Nucl. Instrum. Methods Phys. Res. B. 2010. V. 268. № 3–4. P. 334. https://www.doi.org/10.1016/j.nimb.2009.09.053
- Qi G., Yang R.T. // J. Phys. Chem. B. 2004. V. 108. № 40. P. 15738. https://www.doi.org/10.1021/jp048431h
- Frey K., Iablokov V., Sáfrán G., Osán J. et al. // J. Catalysis. 2012. V. 287. P. 30. https://www.doi.org/10.1016/j.jcat.2011.11.014
- Feng G., Han W., Wang Z. et al. // Catalysts. 2018. V. 8. № 11. P. 535. https://www.doi.org/10.3390/catal8110535
- Zhang L., Spezzati G., Muravev V. et al. // ACS Catal. 2021. V. 11. № 9. P. 5614. https://www.doi.org/10.1021/acscatal.1c00564
- Watanabe S., Ma X., Song C. // J. Phys. Chem. C. 2009. V. 113. № 32. P. 14249. https://www.doi.org/10.1021/jp8110309
- Stobbe E.R., de Boer B.A., Geus J.W. // Catalysis Today. 1999. V. 47. № 1–4. P. 161. https://www.doi.org/10.1016/S0920-5861(98)00296-X
- Lee S.M., Park K.H., Kim S.S. et al. // J. Air Waste Management Association. 2012. V. 62. № 9. P. 1085. https://www.doi.org/10.1080/10962247.2012.696532
Supplementary files






