Electrodeposition of lithium in the presence of surfactants
- Authors: Alpatov S.S.1, Vasiliev F.A.1, Aleshina V.K.2, Vagramyan T.A.2, Semenikhin O.A.1
-
Affiliations:
- M. V. Lomonosov Moscow State University, Department of Chemistry
- D. I. Mendeleev Russian University of Chemical Technology
- Issue: Vol 60, No 5 (2024)
- Pages: 349-360
- Section: Articles
- URL: https://journals.rcsi.science/0424-8570/article/view/268078
- DOI: https://doi.org/10.31857/S0424857024050037
- EDN: https://elibrary.ru/qntsgq
- ID: 268078
Cite item
Full Text
Abstract
The aim of the work was to study the possibility of suppressing the formation of dendrites of metallic lithium during the operation of secondary lithium batteries, including those with a metallic lithium anode. The electrochemical deposition of lithium on copper and lithium substrates in the presence and absence of two surfactants, cetyltrimethylammonium bromide and hexadecylpyridinium bromide was studied by current transient and electrochemical impedance methods. A typical lithium-ion battery electrolyte based on lithium hexafluorophosphate and a mixture of ethylene carbonate (EC) and diethyl carbonate (DEC) was used. It was shown that the presence of the so-called SEI (solid electrolyte interphase) layer on the electrode surface has a significant effect on the electrodeposition process. It was also shown that the mechanism of lithium electrodeposition on copper and lithium substrates is different. It can be assumed that the observed effect of surfactants on the dendrite formation is associated not with the adsorption of surfactants on lithium and blocking the growth of deposits, but with the effect of surfactants on the properties of the SEI layer formed on these substrates.
Full Text
ВВЕДЕНИЕ
Электроосаждение лития из неводных электролитов является ключевым процессом, протекающим при заряде вторичных литиевых источников тока с металлическим литиевым анодом. Этим такие источники принципиально отличаются от широко распространенных в настоящее время литий-ионных аккумуляторов, где в процессе зарядки на аноде протекает интеркаляция ионов лития в другой материал, например в графит или LTO (lithium titanium oxide, титанат лития), или, в случае, например, кремниевых, алюминиевых и других сплавообразующих анодов, – выделение лития в сплав. Более того, известно, что ранние литиевые источники тока имели как раз металлический литиевый анод, и они не использовались в качестве аккумуляторов именно из-за сложностей при осуществлении равномерного и безопасного электроосаждения лития в процессе их заряда.
Широкое внедрение литий-ионных источников тока на время снизило интерес к этой проблематике, однако в последнее время она опять вышла на передний край (см., например, недавние обзоры [1–3]), по двум причинам:
- Обострившееся внимание к проблемам безопасности, которые в значительном числе случаев связаны с некорректным протеканием процессов интеркаляции лития и образованием в этом случае дендритообразных осадков металлического лития, которые в процессе их роста приводят к короткому замыканию аккумулятора.
- Усилившееся стремление повысить удельную емкость и мощность электрохимических накопителей электрической энергии (включая повышенную скорость заряда) и приблизиться к показателям, демонстрируемым двигателями внутреннего сгорания. Это, в частности, необходимо для широкого внедрения электромобилей и другого электротранспорта и решения экологических проблем, связанных со сжиганием ископаемого топлива, что является очень важной и актуальной задачей. Широко используемые сейчас материалы, такие как графит, не позволяют повышать скорость заряда свыше определенного предела без риска образования дендритов металлического лития, которые опять-таки приведут к проблемам с безопасностью.
Таким образом, можно заключить, что решение проблемы повышения емкости и особенно мощности литиевых источников тока, как в случае графитовых, так и металлических литиевых анодов, невозможно без решения проблемы дендритообразования в процессе осаждения/интеркаляции лития. Электроосаждение лития необходимо либо подавить совсем в случае традиционных анодов, либо проводить упорядоченным образом с образованием компактных равномерных осадков, с исключением возможности образования дендритов. Обе эти задачи хорошо известны в классической гальванотехнике и они успешно решаются, в том числе за счет введения в состав электролита разнообразных добавок, в частности, добавок поверхностно-активных веществ (ПАВ), которые тем или иным образом блокируют рост кристаллитов осаждаемого металла и препятствуют образованию дендритов. Однако, что весьма удивительно, в литературе практически отсутствуют какие-либо данные о влиянии поверхностно-активных веществ на процесс электроосаждения лития. Более того, как правило, отсутствуют даже данные об адсорбции различных веществ на литиевом электроде. Вероятно, это связано с известными сложностями при экспериментальной работе с литием; однако, тем не менее, это делает выбор веществ-кандидатов для исследования весьма сложной задачей.
Удалось найти в литературе только две статьи, которые описывают эффект поверхностно-активных добавок на электроосаждение лития из органических электролитов, аналогичных используемым в практических литиевых аккумуляторах. Одна из них, статья Besenhard и др. 1987 г. [4] описывает использование некоторых неполярных органических ПАВ на основе углеводородов для защиты от коррозии литиевых электродов и улучшения морфологии электроосажденного лития из электролитов на основе пропиленкарбоната. Это утверждение было сделано исключительно на основе микроскопических изображений осадка; результатов каких-либо электрохимических измерений не приведено, только упомянуто, что добавка не привела к улучшению циклируемости литиевых источников тока. В то же время изменение морфологии было заметным и весьма положительным.
Вторая, относительно недавняя статья Dai и др. 2018 г. [5] была посвящена исследованию эффекта добавки некоторых катионных ПАВ на электроосажденные литиевые осадки в литиевых источниках тока непосредственно с целью обеспечить безопасное и эффективное функционирование вторичных литиевых источников тока с металлическим литиевым анодом. Были проведены как визуальные (микроскопические), так и электрохимические исследования (такие, как гальваностатическое циклирование), которые показали существенный положительный эффект добавки хорошо известного катионного ПАВ гексадецил (триметил) хлорида аммония, также известного как цетилтриметиламмонийхлорид (CTAC). Было также показано, что эффект зависел от длины цепи углеводородной группы у четвертичной аммониевой соли. В то же время объяснение полученного эффекта (так называемый эффект литиофобного электростатического отталкивания), данное авторами цитируемой статьи, не выдерживает никакой критики, поскольку оно фактически игнорирует присутствие на литиевом электроде двойного электрического слоя. Также весьма удивительно, что в литературе не удалось найти статей, которые бы развивали полученные результаты. В частности, из более 150 статей, которые цитируют статью [5], ни одна не приводит результаты исследования эффектов других ПАВ.
Таким образом, можно заключить, что использование ПАВ для подавления роста дендритов в процессе электроосаждения металлического лития может быть весьма перспективным как с научной, так и с практической точек зрения. В то же время протекающие в присутствии ПАВ процессы практически не исследованы; так и не удалось, несмотря на некоторые обещающие результаты, добиться успешного использования этого подхода для практических устройств.
Для нашей работы мы выбрали два поверхностно-активных соединения, которые обладали достаточной растворимостью в используемом нами типичном электролите для литий-ионных аккумуляторов. Использование типичного электролита крайне желательно с точки зрения практического применения, ибо нестандартные электролиты делают переход на новую технологию весьма трудным и затратным процессом. Хорошая растворимость желательна, поскольку она может потенциально обеспечить высокую скорость адсорбции и тем самым эффективное подавление роста дендритов на больших плотностях тока. В то же время слишком высокая концентрация может влиять на процессы, протекающие, например, на катоде, и тем самым иметь отрицательный эффект. Одно из выбранных веществ являлось аналогом использованного в статье [5] цетилтриметиламмонийхлорида (CTAC), но имело в качестве аниона бромид-ион. Другое вещество имело в своем составе вместо катиона четвертичной аммониевой соли катион пиридиния, также замещенный углеводородной группой с длиной цепи в 16 атомов углерода.
В качестве основного метода исследования в данной работе мы выбрали измерения транзиентов тока при наложении ступеньки потенциала, а также, в качестве вспомогательного метода, – измерения электрохимического импеданса до и после измерения транзиентов. Исследование морфологии получаемых осадков планируется в ближайшем будущем. Измерения транзиентов тока является хорошо известным и широко применяемым методом исследования процессов электроосаждения и, в более широком смысле, зарождения (нуклеации) и роста новых фаз [6, 7]. Однако в подавляющем большинстве случаев эти измерения проводятся на достаточно малых временах и используются главным образом для исследования процессов нуклеации и роста образующихся зародышей. В большинстве систем нуклеация и рост/слияние зародышей (перекрывание полей диффузии вокруг растущих зародышей) происходят весьма быстро и на больших временах транзиенты малоинформативны и соответствуют котрелловскому спаду тока при планарной диффузии к поверхности растущего осадка. Однако в данном случае важную роль играет наличие на поверхности электрода так называемого слоя SEI (solid electrolyte interphase), связанного с термодинамической нестабильностью компонентов раствора в контакте с поверхностью активного металла, тем более при потенциалах, используемых для электроосаждения [8, 9].
Этому слою посвящено очень много работ, и подробный обзор его свойств не входит в рамки настоящей статьи. Здесь мы подчеркнем, что этот слой весьма не воспроизводим и характеризуется переменным составом, толщиной и другими свойствами, которые к тому же постоянно изменяются в процессе работы литиевого электрода. Он также механически непрочен и имеет большое количество дефектов. Что важно для нас тут – это тот факт, что первичная нуклеация и рост зародышей протекают под слоем SEI на поверхности электрода. Образование дендритов происходит позже, в то время когда растущий осадок проникает через непрочный слой SEI и приходит в контакт непосредственно с раствором электролита. Это происходит случайным образом и только в отдельных местах, где слой SEI был менее прочен, имел определенные дефекты и пр. Следует также учесть, что образование полностью сформированного слоя SEI занимает довольно значительное время [8] и в первое время на участках осадка, проникших через существующий слой, его не будет, либо он будет очень тонким. В результате после выхода осадка на поверхность распределение линий тока становится крайне неравномерным, поскольку проводимости слоя SEI и электроосажденного металла сильно различаются. Линии тока и, соответственно, протекание процесса электроосаждения будут сконцентрированы непосредственно на участках осадка, проникших через существующий слой SEI, которые таким образом будут далее быстро расти, образуя опасные дендриты. Этот рост можно подавить, используя быстро протекающую адсорбцию ПАВ на поверхности растущего осадка, при наличии в достаточном количестве соответствующих компонентов в составе электролита.
Целью настоящей работы является поиск условий именно для такого эффекта, подавления образования дендритов металлического лития в процессе работы вторичных литиевых источников тока за счет адсорбции ПАВ. Проблема может быть также решена за счет создания “искусственного” SEI, т. е. покрытия электрода различными пленками, имитирующими “реальный” SEI и, в частности, препятствующими реакциям электрода и компонентов электролита, приводящим к образованию такого “реального” SEI (см., например, недавние обзорные статьи [10, 11]). Это тоже потенциально интересная стратегия, которая, однако, находится за рамками данной статьи.
ЭКСПЕРИМЕНТАЛЬНАЯ ЧАСТЬ
Электроды
Для исследования влияния основного металла, а также нуклеации на чужеродной поверхности, исследования проводились на электродах из металлической меди и металлического лития. Кроме того, использование медных электродов позволяло оценить кулоновскую эффективность процессов анодного растворения лития после электроосаждения. Также следовало ожидать, что строение слоев SEI, а также адсорбция компонентов электролита будут отличаться для медного и литиевого электродов.
Электроды изготавливали из меди (лист марки M1, 99.9%Cu) и металлического лития (лента толщиной 1.5 мм, 99.9% Li, Sigma-Aldrich). В перчаточном боксе в инертной атмосфере с помощью вальцов литиевую ленту раскатывали в тонкую фольгу, затем вырубали диски диметром 16 мм. Поверхность лития очищали механически. Медные диски вырубали диаметром 16 мм, поверхность травили в 20%-ной натриевой щелочи в течение 20 мин. После диски были промыты три раза бидистиллированной водой, высушены в сушильном шкафу при t = 60°C в течение 30 мин и внесены в перчаточный бокс. Для того чтобы удалить следы оксидов меди, которые могли присутствовать на поверхности электрода после его обработки на воздухе, перед началом измерений медные электроды потенциостатировались при потенциале +0.2 В относительно литиевого электрода в течение 24 ч.
Ячейки
Использовались стандартные двухэлектродные ячейки типа “coin cell” с сепараторами из стекловолокна толщиной 0.5 мм. В качестве рабочего электрода использовались диски из меди или из лития, описанные выше. В качестве противоэлектрода использовались диски из металлического лития диаметром 16 мм. В качестве электролита использовался стандартный электролит производства компании Riol Chemie, состоящий из 1М раствора LiPF₆ в 1 : 1 смеси EC : DEC, как без добавления, так и с добавлением ПАВ. Объем электролита в ячейке составлял 0.125 мл. Ячейки собирались в перчаточном боксе MBraun Unilab в атмосфере аргона.
ПАВ
В качестве поверхностно-активных добавок использовались следующие вещества: бромид цетилтриметиламмония (C₁₆Me₃Br) ≥ 98% и бромид гексадецилпиридиния (C₁₆PyBr) ≥ 97.0%. Вещества были поставлены компанией Sigma-Aldrich и использовались без дополнительной очистки. Растворы электролита готовились добавлением к 1 мл стандартного электролита 5.4 мг C₁₆Me₃Br и 3.5 мг C₁₆PyBr. Структурные формулы использованных ПАВ приведены на рис. 1.
Рис. 1. Структурные формулы использованных ПАВ: (а) бромид цетилтриметиламмония; (б) бромид гексадецилпиридиния.
Электрохимические измерения
Электрохимические измерения проводились в двухэлектродной конфигурации с использованием потенциостата/гальваностата Biologic VMP-3 с пакетом программного обеспечения EC-Lab. Электродные потенциалы измерялись и везде приводятся относительно литиевого противоэлектрода. Транзиенты тока измерялись при наложении ступеньки потенциала от потенциала +0.2 В до потенциала электроосаждения лития, который в основном находился в диапазоне от –0.04 до –0.1 В. Спектры импеданса снимались в диапазоне частот от 200 кГц до 100 мГц с использованием модуляции потенциала амплитудой 5 мВ. Импеданс измерялся при потенциале разомкнутой цепи, который устанавливался на электроде после соответствующего эксперимента, и выдержке при разомкнутой цепи в течение 1 мин.
Была принята следующая процедура измерений для всех электродов. Сперва электрод потенциостатировался в течение 30 мин при начальном потенциале +0.2 В. Затем проводилось измерение спектра электрохимического импеданса электрода при этом потенциале. Затем проводилось электроосаждение в потенциостатическом режиме при наложении ступеньки потенциала от начального потенциала до потенциала электроосаждения лития. Электроосаждение проводилось до протекания количества электричества равного 1, 3, 5 и 10 Кл. После каждого цикла электроосаждения проводилось измерение спектра электрохимического импеданса электрода, а затем производилось анодное растворение электроосажденного лития путем наложения обратной ступеньки потенциала до +0.2 В. Анодное растворение проводилось до протекания того же количества электричества или пока ток анодного растворения не падал до нуля. После анодного растворения опять производилось измерение спектра электрохимического импеданса электрода при потенциале +0.2 В. Измерения повторялись несколько раз и при разных количествах электричества. Затем процедура повторялась для следующего потенциала. Потенциалы увеличивали в отрицательную сторону с шагом 0.005 В.
Плотности тока на графиках рассчитывались на геометрическую поверхность электродов. Соответственно, при увеличении истинной поверхности осадка кажущаяся плотность тока, приведенная на графиках, также увеличивалась.
РЕЗУЛЬТАТЫ И ОБСУЖДЕНИЕ
Из-за наличия слоя SEI транзиенты плотности тока при наложении ступеньки потенциала в область электроосаждения лития имеют сложный вид, отличающийся от вида транзиентов при “обычном” электроосаждении. Такие типичные транзиенты в растворах без добавления ПАВ приведены на рис. 2а для электроосаждения лития на медный электрод и рис. 2б для электроосаждения лития на электрод из лития.
Для медного электрода на транзиенте рис. 2а ясно видны характерные процессы на малых временах, соответствующие нуклеации и росту зародышей под слоем SEI и проявляющие себя как минимум на транзиентах плотности тока (связанный со спадом плотности тока заряжения) с последующим характерным увеличением тока (по абсолютной величине), соответствующим росту отдельных участков осадка внутри дефектного слоя SEI и приближению этих участков к поверхности этого слоя. Рост тока при этом связан как с увеличением поверхности осадка (рост индивидуальных зародышей), так и со снижением омических потерь внутри слоя SEI. В процессе дальнейшего роста зародышей ток сперва проходит через максимум, также присутствующий на транзиенте рис. 2а, а затем начинает уменьшаться в результате уменьшения истинной поверхности осадка при слиянии зародышей в более или менее компактный осадок, а также котрелловского поведения (перекрывания полей диффузии и перехода от сферической диффузии к нестационарной диффузии к плоской поверхности). Далее возможны три сценария:
Различить эти ситуации возможно с помощью микроскопии in situ растущих осадков; такие эксперименты запланированы в ближайшем будущем. Но можно заключить, что в обоих случаях падение плотности тока на больших временах после выхода на плато говорит о тормозящем эффекте ПАВ на рост дендритов.
Рис. 2. Характерный вид транзиентов плотности тока для электроосаждения лития на электроды из (а) меди и (б) лития. Потенциал –0.04 В (Cu) и –0.06 В (Li). Электролит без добавок ПАВ.
Конкретно для транзиента рис. 2а реализуется вариант (1в) или (2) – слабый рост тока по абсолютной величине, связанный, по всей видимости, с увеличением площади поверхности осадка за счет роста шероховатости и/или ростом компактного осадка с уменьшением толщины и сопротивления слоя SEI над ним.
В случае, если нуклеация и рост зародышей протекают очень быстро, возможно отсутствие начальных участков на транзиентах плотности тока, измеренных с недостаточным временным разрешением. Такая ситуация наблюдается на литиевом электроде (рис. 2б). При этом сразу наблюдается спад плотности тока, а далее могут происходить процессы, описанные выше: выход на плато, медленный или быстрый рост, медленный спад. Конкретно для транзиента рис. 2б реализуется вариант (1) – протяженное плато, говорящее о более или менее равномерном росте осадка без образования дендритов.
Таким образом, характер зависимостей плотности тока от времени на больших временах может служить индикатором как эффекта ПАВ на процессы электросаждения металлического лития и их способности подавлять образование дендритов, так и наличия в данной системе процессов дендритообразования вообще. Если плотность тока после выхода на плато падает со временем – ПАВ тормозит процесс электроосаждения и роста дендритов. Если плато стабильно или наблюдается медленный плавный рост плотности тока – в системе происходит образование равномерного осадка. Если же плотность тока быстро и нерегулярно растет, например скачками, – в системе происходит дендритообразование. Необходимо заметить, что начало формирования дендритов в принципе имеет случайную природу, возникновение неоднородности любого типа, которая затем амплифицируется за счет концентрации линий тока. Поэтому, если ПАВ не эффективно для подавления роста дендритов, такие процессы могут протекать не сразу, а после некоторого времени после выхода тока на плато, или не на всех циклах. Такие случаи тоже наблюдались в нашей работе (см. далее).
Описанное выше изменение поверхности растущего осадка и его проникновение сквозь слой SEI также можно наблюдать с помощью спектроскопии электрохимического импеданса как изменение параметра, соответствующего эффективному импедансу слоя SEI, в процессе или после роста осадка. Такие спектры приведены на рис. 3а, 3б для осаждения на меди и литии соответственно. Видно, что спектры электрохимического импеданса имеют типичный вид, демонстрирующий характерную дугу при средних частотах, связанную в основном с импедансом слоя SEI. Кроме этой дуги, спектры импеданса на электроде из меди, не имеющем осадка лития (кривые 1 и 3, соответствующие ситуации до осаждения и после анодного травления) имеют характерный участок при низких частотах, связанный с блокирующим характером электрода в этих условиях. Характерно, что спектры импеданса литиевого электрода (рис. 3б), а также осадка лития на меди (рис 3а, кривая 2), такого участка не содержат, что соответствует фарадеевскому характеру импеданса в этих случаях.
Рис. 3. Характерный вид годографов импеданса для электроосаждения лития на электродах из (а) меди и (б) лития. Кривая 1 измерена до электроосаждения, 2 – после электроосаждения, и 3 – после анодного стравливания осадка. Потенциал –0.055 В (Cu) и –0.075 В (Li). Электролит без добавок ПАВ.
Необходимо заметить, что в данной работе мы не проводили количественного анализа измеренных спектров электрохимического импеданса с использованием эквивалентных схем или подобных методов. Очевидно, что кроме ионного транспорта через слой SEI, импеданс в области дуги будет иметь и другие компоненты, например фарадеевское сопротивление стадии разряда-ионизации и пр. Но в этой работе мы ограничились только качественной оценкой импеданса слоя SEI, базируясь на размерах этой дуги и считая вклад именно этой компоненты определяющим. При этом очевидно, что прорастание осадка сквозь слой SEI будет приводить к уменьшению данного импеданса за счет уменьшения толщины слоя SEI, находящегося между поверхностью осадка и электролитом. Выход осадка на поверхность слоя SEI и образование дендритов также приведет к уменьшению этого импеданса из-за концентрации линий тока и его эффективного увеличения при том же потенциале. В силу этого импедансные измерения являются хорошим инструментом для подтверждения выводов, сделанных на основе транзиентов плотности тока.
Спектры импеданса на рис 3а, 3б как раз демонстрируют ожидаемое поведение. После электросаждения размер дуги в области средних частот заметно снижается как на медном, так и на литиевом электродах. После анодного стравливания осадка импедансы возвращаются к исходным кривым до осаждения, демонстрируя обратимость протекающих процессов.
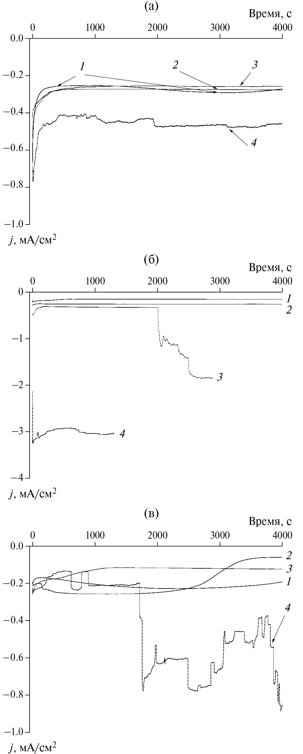
Рис. 4. Эволюция транзиентов плотности тока от потенциала для электроосаждения лития на электрод из меди. (а) Электролит без добавок ПАВ; (б) с добавкой C₁₆Me₃Br; (в) с добавкой C₁₆PyBr. Потенциалы: (а) 1 – –0.03 В, 2 – –0.04 В, 3 – –0.05 В, 4 – –0.055 В, 5 – –0.065 В; (б) 1 – –0.03 В, 2 – –0.04 В, 3 – –0.05 В, 4 – –0.055 В, 5 – –0.07 В, 6 – –0.09 В; (в) 1 – –0.03 В, 2 – –0.04 В, 3 – –0.05 В, 4 – –0.09 В.
На рис. 4 приведена эволюция транзиентов плотности тока на медном электроде в процессе электроосаждения лития в зависимости от потенциала ступеньки, на котором проводилось электросаждение. Рисунок 4а описывает поведение в электролите без добавок ПАВ, а рис. 4б и 4в – поведение в электролите с добавками C₁₆Me₃Br и C₁₆PyBr соответственно. Видно, что изменение потенциала в отрицательную сторону (увеличение перенапряжения по абсолютной величине) приводит к более быстрому протеканию процессов нуклеации, роста и слияния зародышей; при этом на больших временах наблюдается выход на плато. Однако в этой области ясно видно различие между поведением в присутствии и в отсутствие ПАВ. В электролите без ПАВ при относительно больших перенапряжениях мы наблюдаем характерный иррегулярный рост тока, который мы связали с образованием дендритов (рис. 4а, кривые 4 и 5). В то же время такое поведение на рис 4б, 4в не наблюдается, а скорее наблюдается дополнительное уменьшение тока, вероятно, связанное с ингибирующим действием ПАВ. Также привлекает внимание тот факт, что во всех случаях виден заметный рост плотности тока плато при увеличении перенапряжения, что говорит о том, что на медном электроде, как в отсутствие, так и в присутствии ПАВ имеет место кинетический контроль процесса электроосаждения.
Рис. 5. Эволюция годографов импеданса для электроосаждения лития на электрод из меди. Электролит без добавок ПАВ. Импедансы измерены после электроосаждения при потенциалах: 1 – 0.03 В, 2 – 0.04 В, 3 – 0.055 В.
Это также подтверждается импедансными данными. Рисунок 5 приводит соответствующую эволюцию спектров электрохимического импеданса, измеренных после образования осадка лития. Данные приведены для электролита без ПАВ; электролиты с ПАВ демонстрировали схожее поведение. Видно, что с увеличением перенапряжения размер характерной дуги снижается, что можно связать с более энергичным ростом осадка. Об этом же говорит увеличение (по абсолютной величине) плотности тока плато в тех же условиях (см. рис. 4а).
Рис. 6. Эволюция транзиентов плотности тока от потенциала для электроосаждения лития на электроде из лития. (а) Электролит без добавок ПАВ; (б) с добавкой C₁₆Me₃Br; (в) с добавкой C₁₆PyBr. Потенциалы: (а) 1 – –0.04 В, 2 – –0.06 В, 3 – –0.07 В, 4 – –0.085 В; (б) 1 – –0.04 В, 2 – –0.055 В, 3 – –0.06 В, 4 – –0.07 В; (в) 1 – –0.04 В, 2 – –0.05 В, 3 – –0.065 В, 4 – –0.07 В.
Данные для электроосаждения на литиевый электрод приведены на рис. 6, 7. Видно, что поведение существенным образом отличается.
(1) Рост плотности тока плато при увеличении перенапряжения без ПАВ, а также в присутствии C₁₆PyBr отсутствует (рис. 6а, 6в). Также отсутствует выраженная зависимость диаметра дуги на спектрах электрохимического импеданса (рис 7а, 7в).
(2) В присутствии C₁₆Me₃Br (рис. 6б и 7б) ситуация менее ясная, но в любом случае плотность тока плато/диаметр дуги зависят от потенциала существенно слабее, чем в таких же условиях на медном электроде.
(3) Во всех случаях как без ПАВ, так и в их присутствии при повышении перенапряжения выше определенного уровня наблюдается образование дендритов. Это видно как из появления иррегулярного роста плотности тока на транзиентах (кривые 4 рис. 6а, кривые 3 и 4 рис. 6б, кривые 4 рис. 6в), так и очень сильного снижения импеданса, измеренного после осаждения (годографы 4 рис. 7б и 3, 4 рис. 7в).
Рис. 7. Эволюция годографов импеданса для электроосаждения лития на электроде из лития. (а) Электролит без добавок ПАВ; (б) с добавкой C₁₆Me₃Br; (в) с добавкой C₁₆PyBr. Потенциалы: (а) 1 – –0.07 В, 2 – –0.075 В, 3 – –0.11 В; (б) 1 – –0.03 В, 2 – –0.035 В, 3 – –0.05 В, 4 – –0.06 В; (в) 1 – –0.06 В, 2 – –0.065 В, 3 – –0.07 В, 4 – –0.08 В. Импедансы измерены после электроосаждения лития. На врезке рис. 7 (б) показана увеличенная область начала годографов в области высоких частот.
В то же время при низких перенапряжениях образования дендритов не наблюдалось во всех случаях. Это проиллюстрировано на рис. 8а, где производится сравнение транзиентов плотности тока в этих условиях в присутствии и отсутствие ПАВ. В частности, видно, что добавление ПАВ приводит к определенному снижению плотности тока плато, особенно в случае C₁₆Me₃Br. В то же время при больших перенапряжениях во всех случаях наблюдается рост дендритов (рис. 8б). При этом явная зависимость плотности тока плато до начала дендритообразования от природы электролита при этих перенапряжениях не видна.
Рис. 8. Сравнение транзиентов плотности тока для электролитов без добавки и с добавками ПАВ при (а) небольших перенапряжениях и (б) значительных перенапряжениях. (1) Электролит без добавок ПАВ; (2) с добавкой C₁₆Me₃Br; (3) с добавкой C₁₆PyBr. Потенциалы: (1, а) –0.04 В, (1, б) –0.06 В, (2, а) –0.04 В, (2, б) –0.06 В, (3, а) –0.04 В, (3, б) –0.07 В.
Таким образом, наши результаты позволяют заключить следующее:
- Как механизмы электроосаждения, так и влияние ПАВ существенным образом отличаются на медном и литиевом электродах. При этом на меди наблюдается ожидаемая зависимость плотности тока плато/импеданса от приложенного перенапряжения. На литиевом электроде такое поведение отсутствует или не выражено.
- Добавлением ПАВ удалось исключить появление образования дендритов на медном электроде, по крайней мере в исследованных нами условиях. В то же время на литиевом электроде это удалось сделать только при сравнительно низких перенапряжениях.
Такие закономерности позволяют предположить, что механизмы электроосаждения на меди и на литии отличаются. На медном электроде скорость осаждения зависит от приложенного потенциала, что говорит о кинетическом контроле. В этих условиях добавка ПАВ, очевидно, способна влиять на скорость осаждения и тем самым предотвращать образование дендритов, по крайней мере в исследованных нами условиях. В то же время кинетический контроль на литиевом электроде отсутствует, что позволяет предполагать осаждение лития на предельном диффузионном токе (контроль скоростью диффузии ионов лития сквозь пленку SEI). При этом при увеличении перенапряжения происходит пробой слоя SEI с последующим неконтролируемым ростом тока, соответствующим образованию дендритов.
Наблюдаемые эффекты не могут быть связаны с адсорбцией ПАВ на растущем осадке металлического лития, поскольку в этом случае влияние материала электрода должно было бы отсутствовать. Поэтому представляется, что отмеченное отличие в эффекте ПАВ связано с их влиянием на строение слоя SEI на поверхности медного и литиевого электродов. Можно предполагать, что ПАВ будут сильнее адсорбироваться на поверхности меди и приведут к образованию более прочного слоя SEI, который будет сдерживать образование дендритов. Такой слой также будет способен снижать скорость электрохимической реакции на поверхности металла, переводя процесс под кинетический контроль. На литиевой подложке такие эффекты отсутствуют или менее выражены, в результате чего сохраняется способность пробоя слоя SEI растущим осадком с последующим образованием дендритов.
Эти выводы нуждаются в дальнейшем обосновании с применением оптических и спектроскопических методов, а также измерений емкости двойного электрического слоя, которые сейчас планируются. Также необходимо продолжить поиск других типов добавок, способных к эффективной адсорбции на поверхности литиевых осадков, в том числе и при высоких перенапряжениях. Также возможно, что данные эффекты будут зависеть от концентрации ПАВ в растворе. Поэтому следует продолжить исследования влияния концентрации ПАВ на протекающие при электроосаждении лития процессы.
ЗАКЛЮЧЕНИЕ
Таким образом, можно сделать следующие выводы:
- Строение слоя SEI и механизмы электроосаждения лития на медном и литиевом электродах существенным образом отличаются.
- Адсорбция использованных в данной работе ПАВ, бромида цетилтриметиламмония и бромида гексадецилпиридиния также может заметно отличаться на меди и на литии. Вероятно, что указанные ПАВ хорошо адсорбируются на меди, но хуже или только в ограниченном диапазоне потенциалов – на литии. Этот вывод нуждается в дополнительном подтверждении независимыми измерениями.
- Вероятно, что на литии процесс электроосаждения происходит на предельном диффузионном токе (слабая или отсутствующая зависимость от потенциала) даже в присутствии указанных ПАВ. В то же время на меди очевиден кинетический контроль.
- Наблюдаемый эффект добавки указанных ПАВ на дендритообразование следует связать не с адсорбцией ПАВ на литии и с блокированием роста дендритов, как первоначально предполагалось, а с влиянием ПАВ на свойства слоя SEI.
БЛАГОДАРНОСТИ
Авторы выражают благодарность профессору, заведующему кафедрой коллоидной химии Химического факультета МГУ В. Г. Сергееву за предоставленные образцы ПАВ.
ФИНАНСИРОВАНИЕ РАБОТЫ
Исследование выполнено за счет гранта Российского научного фонда № 22-23-00512, https://rscf.ru/project/22-23-00512/.
КОНФЛИКТ ИНТЕРЕСОВ
Авторы заявляют, что у них нет конфликта интересов.
About the authors
S. S. Alpatov
M. V. Lomonosov Moscow State University, Department of Chemistry
Email: osemenik@elch.chem.msu.ru
Russian Federation, Moscow
F. A. Vasiliev
M. V. Lomonosov Moscow State University, Department of Chemistry
Email: osemenik@elch.chem.msu.ru
Russian Federation, Moscow
V. Kh. Aleshina
D. I. Mendeleev Russian University of Chemical Technology
Email: osemenik@elch.chem.msu.ru
Russian Federation, Moscow
T. A. Vagramyan
D. I. Mendeleev Russian University of Chemical Technology
Email: osemenik@elch.chem.msu.ru
Russian Federation, Moscow
O. A. Semenikhin
M. V. Lomonosov Moscow State University, Department of Chemistry
Author for correspondence.
Email: osemenik@elch.chem.msu.ru
Russian Federation, Moscow
References
- Chen, S.R., Dai, F., and Cai, M., Opportunities and Challenges of High-Energy Lithium Metal Batteries for Electric Vehicle Applications, ACS Energy Lett., 2020, vol. 5, p. 3140.
- Liu, D.H., Bai, Z.Y., Li, M., Yu, A.P., Luo, D., Liu, W.W., Yang, L., Lu, J., Amine, K., and Chen, Z.W., Developing high safety Li-metal anodes for future high-energy Li-metal batteries: strategies and perspectives, Chem. Soc. Rev., 2020, vol. 49, p. 5407.
- Qin, K., Holguin, K., Mohammadiroudbari, M., Huang, J., Kim, E. Y. S., Hall, R., and Luo, C., Strategies in Structure and Electrolyte Design for High-Performance Lithium Metal Batteries, Adv. Funct. Mater., 2021, 31, p. 2009694.
- Besenhard, J.O., Gürtler, J., Komenda, P., and Paxinos, A., Corrosion protection of secondary lithium electrodes in organic electrolytes, J. Power Sources, 1987, vol. 20, p. 253.
- Dai, H.L., Xi, K., Liu, X., Lai, C., and Zhang, S.Q., Cationic Surfactant-Based Electrolyte Additives for Uniform Lithium Deposition via Lithiophobic Repulsion Mechanisms, J. Am. Chem. Soc., 2018, vol. 140, p. 17515.
- Scharifker, B. and Hills, G., Theoretical and experimental studies of multiple nucleation, Electrochim. Acta, vol. 28, p. 879.
- Scharifker, B.R., Mostany, J., Palomar‐Pardavé, M., and González, I., On the Theory of the Potentiostatic Current Transient for Diffusion‐Controlled Three‐Dimensional Electrocrystallization Processes, J. Electrochem. Soc., 1999, vol. 146, p. 1005.
- Heiskanen, S.K., Kim, J., and Lucht, B.L., Generation and Evolution of the Solid Electrolyte Interphase of Lithium-Ion Batteries, Joule, 2019, vol. 3, p. 2322.
- Wu, H., Jia, H., Wang, C., Zhang, J.-G., and Xu, W., Recent Progress in Understanding Solid Electrolyte Interphase on Lithium Metal Anodes, Adv. Energy Mater., 2021, vol. 11, p. 2003092.
- Fedorov, R. G., Maletti, S., Heubner, C., Michaelis, A., and Ein-Eli, Y., Molecular Engineering Approaches to Fabricate Artificial Solid-Electrolyte Interphases on Anodes for Li-Ion Batteries: A Critical Review, Adv. Energy Mater., 2021, vol. 11, p. 2101173.
- Kang, D.M., Xiao, M.Y., and Lemmon, J.P., Artificial Solid-Electrolyte Interphase for Lithium Metal Batteries, Batteries & Supercaps, 2021, vol. 4, p. 445.
Supplementary files










