Mathematical Model of the Process of Thermal Destruction of Polymer Binders under Arbitrary Heating Conditions
- Authors: Yudin V.M.1
-
Affiliations:
- Central Aerohydrodynamic Institute
- Issue: Vol 43, No 3 (2024)
- Pages: 68-75
- Section: Combustion, explosion and shock waves
- URL: https://journals.rcsi.science/0207-401X/article/view/263295
- DOI: https://doi.org/10.31857/S0207401X24030074
- EDN: https://elibrary.ru/VGEDNS
- ID: 263295
Cite item
Full Text
Abstract
A mathematical model of the process of thermal destruction of polymer binders has been developed, taking into account experimentally established dependences of the decomposition depth on temperature and the amount of coke residue on the heating rate. A method for determining the kinetic parameters of the process by the method of inverse problems has been developed. Kinetic parameters of the model for six binders are determined.
Full Text
ВВЕДЕНИЕ
При высокотемпературном нагреве элементов конструкций летательных аппаратов из армированных полимеров в поверхностных, прогретых до высоких температур, слоях материала происходит термическая деструкция связующего, оказывающая существенное влияние на работоспособность как самого элемента, так и всего аппарата. Поступление продуктов разложения в пограничный слой приводит к изменению теплообмена на наружной поверхности аппарата. Меняется процесс распространения тепла в материале – существенную роль начинают играть тепловые эффекты реакций разложения, перенос тепла газообразными продуктами разложения, изменение теплофизических свойств материала из-за образования пор и изменения химического состава связующего. Все это приводит к значительному изменению температур в элементах конструкции и, вследствие существенной зависимости прочностных характеристик армированных полимеров от температуры и степени разложения связующего – к изменению их несущей способности. Образующийся коксовый остаток оказывает влияние на радиофизические характеристики материала, что может нарушить работу бортового радиолокатора.
Чтобы обеспечить работоспособность и эффективность летательного аппарата, указанные факторы необходимо учитывать при проектировании аппарата. Для этого необходимо иметь математическое описание процесса термической деструкции при произвольных режимах нагрева, знать или уметь определять входящие в это уравнение кинетические параметры процесса разложения используемого материала.
МАТЕМАТИЧЕСКОЕ ОПИСАНИЕ ПРОЦЕССА ТЕРМИЧЕСКОЙ ДЕСТРУКЦИИ ПОЛИМЕРНЫХ СВЯЗУЮЩИХ
Термическая деструкция полимерных связующих представляет собой сложный многостадийный процесс превращения исходного высокомолекулярного вещества в газообразные, жидкие и твердые продукты разложения [1, 2]. Согласно теории сложных химических реакций [3, 4] кинетику таких процессов можно описать суммарным кинетическим уравнением с эффективными кинетическими параметрами:
(1)
где n, E, B – кинетические параметры: порядок реакции, энергия активации и коэффициент скорости, R – универсальная газовая постоянная, –r = r/r0 – относительная плотность, –rc – относительная плотность коксового остатка, r0 – начальная плотность, r – плотность в процессе нагрева.
Уравнение (1) использовалось практически во всех классических методах определения кинетических параметров процесса разложения веществ [5]. Существенным недостатком уравнения (1) является то, что в нем не учитывается следующий экспериментально установленный факт: глубина разложения полимера зависит от температуры (см. рис. 1), т.е. существует термогравиметрическая кривая разложения –rgr(T) – кривая изменения плотности полимера от температуры при его очень медленном нагреве и длительной выдержке при постоянной температуре.
Рис. 1. Кривые зависимости глубины разложения от температуры для различных полимерных связующих: 1 – К-9ФА, 2 – К-9Х, 3 – ТСК, 4 – ФН, 5 – ЭТФ, 6 – ВШ-27Ф.
В работе [6] уравнение (1) было модифицировано с учетом зависимости глубины разложения от температуры, определяемой термогравиметрической кривой зависимости –rgr(T):
(2)
Там же разработан метод нахождения кинетических параметров в уравнении (2), проведены экспериментальные исследования и определены величины параметров для фенолформальдегидного резольного связующего с использованием данных по потере веса при нагреве по линейному закону в диапазоне скоростей T. = 1 – 10 К/с. Было показано, что с учетом зависимости глубины разложения от температуры обеспечивается принципиальное улучшение описания процесса термической деструкции полимерных связующих (рис. 2).
Рис. 2. Сравнение экспериментальных данных и результатов расчета термической деструкции фенолформальдегидного резольного связующего по уравнениям (1) и (2): 1 – эксперимент, 2 – расчет по уравнению (1), 3 – расчет по уравнению (2), 4 – температура.
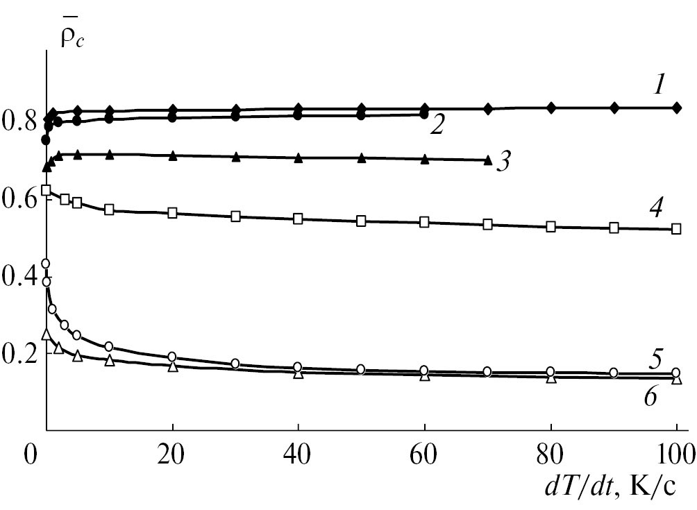
В работе [7] при исследовании термической деструкции основных классов связующих было обнаружено, что величина коксового остатка зависит от скорости нагрева, причем для некоторых связующих эта зависимость весьма существенна. На рис. 3 представлены сглаженные кривые зависимости величины коксового остатка от скорости нагрева для ряда связующих.
Рис. 3. Кривые зависимости величины коксового остатка от скорости нагрева для различных полимерных связующих: 1 – К-9ФА, 2 – К-9Х, 3 – ТСК, 4 – ФН, 5 – ЭТФ, 6 – ВШ-27Ф.
Такая зависимость может быть обусловлена тем, что при различных скоростях подвода энергии разрыв молекулярных цепей полимера происходит в различных местах. Исходя из этого, можно предположить, что для каждой скорости нагрева T. существует своя зависимость предельного разложения (термогравиметрическая кривая) – и что эту зависимость можно представить в виде
(3)
Для обеспечения возможности расчета процесса деструкции при произвольных режимах нагрева примем, что в каждый момент времени разложение оставшейся реакционноспособной части материала происходит в соответствии с текущей температурой и скоростью ее изменения. Тогда кинетическое уравнение деструкции примет вид
(4)
где – термогравиметрическая кривая для данного закона изменения температуры, определяемая в процессе расчета деструкции.
Определим степень разложения полимера в процессе нагрева по произвольному режиму соотношением
(5)
Величина образовавшегося на данный момент времени кокса будет равна
(6)
Если дальнейший нагрев будет происходить с постоянной скоростью, соответствующей скорости на данный момент времени, величину коксового остатка можно определить из выражения
(7)
С учетом принятых допущений и соотношений (3), (5)–(7) для термогравиметрической кривой при произвольном режиме нагрева получаем
(8)
Для удобства последующего изложения материала и решения преобразуем уравнение (4) к виду
(9)
где ,
Уравнение (9) и соотношения (5)–(8) хорошо описывают процесс деструкции при произвольных режимах нагрева.
ПОСТАНОВКА И РЕШЕНИЕ ОБРАТНОЙ ЗАДАЧИ ОПРЕДЕЛЕНИЯ КИНЕТИЧЕСКИХ ПАРАМЕТРОВ ТЕРМИЧЕСКОГО РАЗЛОЖЕНИЯ ПОЛИМЕРОВ
Для определения кинетических параметров n, b и DE, входящих в уравнение (9), воспользуемся методом, предложенным в работе [6] и основанном на использовании данных об изменении веса образцов (относительной плотности связующего) при их нестационарном нагреве в изучаемом диапазоне скоростей и решении соответствующей обратной задачи. Этот метод предполагает измерение в процессе нагрева температуры T E(t) и веса w E(t) образца, по которому вычисляется относительная плотность разлагающегося полимера rE(t).
Итак, пусть в результате проведения экспериментальных исследований получены: термогравиметрическая кривая при очень малой скорости нагрева или ступенчатом нагреве, зависимость величины коксового остатка от скорости нагрева и данные об изменении температуры испытуемого образца и относительной плотности связующего при линейном нагреве в изучаемом диапазоне скоростей нагрева. Полагая, что разложение связующего описывается уравнением (9) с учетом соотношений (5)– (8), можно вычислить изменение относительной плотности для всех испытанных образцов, а, следовательно, и поставить задачу определения кинетических параметров из условия наилучшего совпадения расчетных и экспериментальных кривых изменения относительной плотности для всей обрабатываемой серии из K испытаний. Принимая за меру близости расчетной и экспериментальной зависимостей величину среднеквадратичного отклонения, получаем уравнение
(10)
решение которого при вытекающих из термохимических соображений ограничениях:
и определит искомые кинетические параметры. Здесь k – номер эксперимента, tk – продолжительность эксперимента.
Для решения задачи (10) положим, что порядок реакции n является постоянным, коэффициент скорости b зависит от степени разложения, а энергия активации DE – от температуры. Представляя указанные зависимости в виде линейных сплайнов:
(11)
сводим задачу (10) к отысканию минимума функции F относительно 1 + М + L переменных – порядка реакции и параметров сплайнов.
Для определения расчетных зависимостей относительной плотности полимера уравнение (9) решается численно с использованием неявной формы метода Эйлера:
(12)
где Dt – шаг интегрирования.
Интегралы в выражениях (5) и (6) вычисляются по методу прямоугольников:
(13)
(14)
(15)
В связи с нелинейностью разностного уравнения (12) вся система (11)–(15) решается на каждом временном шаге итерационным методом.
Соответственно, разностный аналог уравнения (10) имеет вид
(16)
Для отыскания минимума функции F используется метод сопряженных градиентов. Необходимые для этого компоненты градиента функции F по искомым параметрам определяются прямым численным методом – вычислением функции на приращениях искомых параметров. Особо следует отметить, что минимизируемая функция F имеет так называемый овражный характер. Поэтому целесообразно отыскивать решение задачи определения кинетических параметров методом последовательного увеличения числа узлов сплайнового представления разыскиваемых функций, начиная с 1 и используя полученные результаты в качестве начальных для последующего приближения. Эта процедура продолжается до тех пор, пока величина среднеквадратичного отклонения расчетных значений относительной плотности от экспериментальных не станет меньше погрешности измерения или не перестанет уменьшаться. Решение системы уравнений (11)–(16) в совокупности с поиском минимума методом сопряженных градиентов обеспечивает определение кинетических параметров процесса терморазложения исследуемого материала.
РЕЗУЛЬТАТЫ ОПРЕДЕЛЕНИЯ КИНЕТИЧЕСКИХ ПАРАМЕТРОВ И ИХ ОБСУЖДЕНИЕ
В соответствии с изложенной математической моделью процесса термической деструкции и методом определения кинетических параметров были проведены расчеты по определению указанных параметров для следующих марок полимерных связующих:
1) ЭТФ на основе эпокситрифенольной и анилиноформальдегидной смол,
2) ФН на основе фенолформальдегиднофурфурольной смолы,
3) ВШ-27Ф на основе фенолфталеинфурфурилформальдегидной и эпоксидной смолы,
4) К-9ФА на основе полиметилфенилсилоксановой смолы,
5) К-9Х на основе полиметилфенилсилоксановой и полиметилсилазанфосфортитаноксановой смолы,
6) ТКС на основе полиорганосилоксановой смолы с фенильными, винильными и гидридными группами.
В качестве исходной информации для обратной задачи определения кинетических параметров использовались результаты испытаний, приведенные в работе [7]. Результаты получены в ходе испытаний в среде аргона при атмосферном давлении образцов в виде тонких (0.2–0.4 мм) пластинок размерами в плане 40 × 40 мм с заделанной в середине термопарой диаметром 0.05 мм. Полученные значения веса образцов лежат в пределах 500–1500 мг. Для двустороннего нагрева образцов в диапазоне скоростей от 0.1 до 100 К/с использовали графитовые пластинчатые нагреватели. Максимальный перепад температуры по толщине образца не превышал величины 10 К. В процессе нагрева фиксировались температура и вес образца. Для измерения веса образцов использовали весы на основе электронно-механического датчика (механотрона). Чувствительность термовесов составляла 0.16 мВ/мг в диапазоне измерений 0–50 мВ. Показания термовесов контролировали взвешиванием на аналитических весах образца после испытания. В табл. 1 приведены данные о диапазоне скоростей нагрева образцов и числе испытаний для каждого связующего.
Таблица 1. Данные о проведенных испытаниях образцов
Связующее | Диапазон скоростей нагрева, К/с | Число испытаний образцов |
ЭТФ | 0.1–83 | 13 |
ФН | 1–84 | 17 |
ВШ-27Ф | 0.9–83 | 14 |
К-9ФА | 0.1–68 | 15 |
К-9Х | 0.16–63 | 15 |
ТКС | 0.77–24.2 | 10 |
Расчеты по определению кинетических параметров процесса термической деструкции исследуемых связующих проводили, начиная с определения постоянных значений параметров, а затем – в предположении, что порядок реакции постоянный, а коэффициент скорости и энергия активации зависят, соответственно, от степени разложения и температуры. Поиск конечномерного сплайнового представления искомых зависимостей из-за “овражного” характера минимизируемой функции F осуществляли методом последовательного (после каждого цикла минимизации) увеличения числа узлов сплайнов до тех пор, пока величина среднеквадратичного отклонения расчетных значений относительной плотности от экспериментальных не станет меньше погрешности измерения или не перестанет уменьшаться. При постоянных значениях кинетических параметров величины среднеквадратичного и максимального по модулю отклонения расчетных значений относительной плотности от экспериментальных превышают допустимые. Поэтому были проведены расчеты с использованием сплайнового представления искомых зависимостей. Уже при числе узлов, равном 3, среднеквадратичное отклонение у всех связующих не превышает 5%, а максимальное по модулю (кроме ЭТФ) – 10% (табл. 2).
Таблица 2. Результаты аппроксимации экспериментальных данных при переменных кинетических параметрах
Связующее | n | Среднеквадратичное отклонение, % | Максимальное отклонение, % |
ЭТФ | 1.53 | 4.52 | 15.6 |
ФН | 1.12 | 2.96 | 8.11 |
ВШ-27Ф | 1.13 | 3.83 | 9.66 |
К-9ФА | 1.01 | 1.21 | 4.87 |
К-9Х | 1.17 | 1.42 | 6.24 |
ТКС | 1.28 | 1.64 | 6.39 |
Для ЭТФ эта величина равна 15.6%, что при среднеквадратичном отклонении в 4.52% можно считать приемлемым. При дальнейшем увеличении числа узлов заметного уменьшения отклонений не наблюдается. Полученные зависимости коэффициента скорости реакции от степени разложения и энергии активации от температуры приведены соответственно в табл. 3 и 4.
Таблица 3. Значения коэффициента скорости В ‧ 10–3 с–1 в зависимости от степени разложения
Связующее | h = 0 | h = 0.5 | h = 1.0 |
ЭТФ | 63970 | 91.91 | 282.1 |
ФН | 374.1 | 8.313 | 126.1 |
ВШ-27Ф | 131.6 | 14.38 | 20.49 |
К-9ФА | 507.6 | 136.8 | 283.3 |
К-9Х | 19110 | 87.62 | 42.1 |
ТКС | 3444 | 186.8 | 119.4 |
Таблица 4. Зависимость энергии активации от температуры
Связующее | Т, К | (E/R) ‧ 10–3 |
ЭТФ | 500 | 19.31 |
800 | 8.99 | |
1100 | 9.15 | |
ФН | 400 | 9.09 |
800 | 10.04 | |
1200 | 10.05 | |
ВШ-27Ф | 400 | 8.83 |
750 | 9.03 | |
1100 | 9.30 | |
К-9ФА | 700 | 13.50 |
900 | 14.96 | |
1100 | 12.88 | |
К-9Х | 400 | 11.63 |
800 | 14.30 | |
1200 | 10.59 | |
ТКС | 400 | 10.70 |
800 | 12.82 | |
1200 | 10.33 |
Характер совпадения расчетных и экспериментальных кривых разложения для связующего ЭТФ при различных скоростях нагрева показан на рис. 4. Там же приведена термогравиметрическая кривая для этого связующего. Из сопоставления кривых видно, что формулы (1) и (2) не могут быть использованы для описания деструкции ЭТФ и других связующих, коксовое число у которых уменьшается с ростом скорости нагрева.
Рис. 4. Сопоставление расчетных (светлые точки) и экспериментальных (темные) кривых изменения относительной плотности полимерного связующего ЭТФ при различных скоростях нагрева: dT/dt = 0.11 (◊, ♦); 2.39 (, ), 28.3 (○, ); ■ – термогравиметрическая кривая.
Для оценки поведения кривых разложения и работоспособности предложенной модели процесса термической деструкции полимерных связующих при сложных законах нагрева были проведены расчеты для двух режимов нагрева до одной и той же температуры связующего ЭТФ. Оба режима характеризуются двумя линейными участками изменения температуры (30 и 1 К/с, 1 и 30 К/с), стыкующимися при температуре 710 К.
На рис. 5 приведены расчетные кривые изменения относительной плотности образцов для обоих режимов. Из рисунка видно, что в конце нагрева при одной и той же температуре величина твердого остатка существенно различается. Темным кружком показан остаток, полученный в эксперименте при нагреве по первому режиму. Близость экспериментального результата к расчетной кривой по первому режиму подтверждает правомерность принятой модели термической деструкции.
Рис. 5. Расчетные кривые изменения относительной плотности при сложных режимах нагрева: – 30 и 1 К/с; ◊ – 1 и 30 К/с, и совпадение расчетной и экспериментально полученной () величин коксового остатка.
ЗАКЛЮЧЕНИЕ
Разработана математическая модель процесса термической деструкции полимерных связующих, учитывающая экспериментально установленные зависимости глубины разложения от температуры и величины коксового остатка от скорости нагрева. Разработана методика определения кинетических параметров процесса методом обратных задач. Определены кинетические параметры модели для шести связующих.
Хорошее совпадение расчетных и экспериментальных результатов – среднеквадратичные отклонения во всем диапазоне скоростей нагрева не превышают 5%, а максимальные – меньше 10%, за исключением ЭТФ, у которого эта величина равна 15.6%, а также тот факт, что величина коксового остатка полученная эксперементально, при сложном режиме нагрева (30 и 1 К/с) практически совпадает с расчетной кривой, подтверждают, что предложенная математическая модель дает адекватное описание процесса термической деструкции полимерных связующих и может быть использована для расчетов при произвольных режимах нагрева.
About the authors
V. M. Yudin
Central Aerohydrodynamic Institute
Author for correspondence.
Email: vmyudin@yandex.ru
Russian Federation, Zhukovsky
References
- Madorsky S.L. Thermal decomposition of organic polymers // M.: Publishing House “Mir”, (1967).
- Korshak V.V. Heat-resistant polymers // M.: “Science”, 1969.
- Semenov N.N. On some problems of chemical kinetics and reactivity // Publishing House of the USSR Academy of Sciences, 1964.
- Khitrin L.N. Physics of gorenje and explosion // Publishing house of Moscow State University. 1967.
- Wendlandt U. Thermal analysis methods // M.: Publishing house “Mir”, (1978).
- Vishnevsky G.E., Yudin V.M. // IFZH. 1969. V. 16, № 5, P. 879.
- Yudin V.M., Khodzhaev Yu.D., Kuzenkova V.I. et al. // Issue 2065. M.: Proceedings of TsAGI. 1980. 27 p.
Supplementary files







