Features of the Heat Treatment of Concrete
- Authors: Ulyanov A.V.1, Polunina I.A.1, Buryak A.K.1
-
Affiliations:
- Frumkin Institute of Physical Chemistry and Electrochemistry, Russian Academy of Sciences
- Issue: Vol 97, No 11 (2023)
- Pages: 1579-1583
- Section: CHEMICAL THERMODYNAMICS AND THERMOCHEMISTRY
- Submitted: 26.12.2023
- Published: 01.11.2023
- URL: https://journals.rcsi.science/0044-4537/article/view/233058
- DOI: https://doi.org/10.31857/S004445372311033X
- EDN: https://elibrary.ru/YWNTAX
- ID: 233058
Cite item
Full Text
Abstract
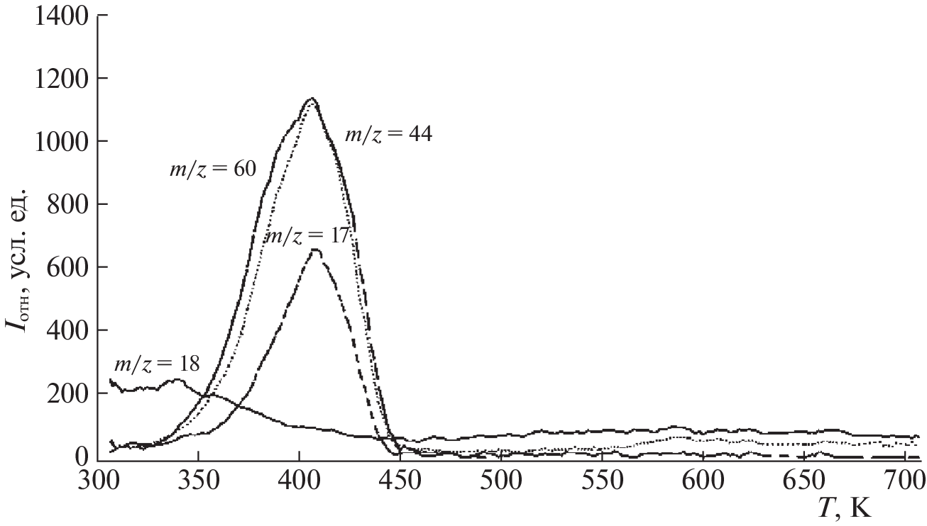
Thermal desorption mass spectrometry is used to study products of the heat treatment of concrete samples containing a plasticizer and an antifreeze additive (urea). It is established that the heat treatment of concrete above 100°C is accompanied by the hydrolysis of urea with the release of ammonia and carbon dioxide. Destruction of the plasticizer and the urea remaining in the pores of the concrete begins at temperatures above 200°C. The release of ammonia from concrete continues up to 300°C. The release of toxic products of the plasticizer’s decomposition is observed in the same area. The energy of the observed processes is estimated.
Keywords
About the authors
A. V. Ulyanov
Frumkin Institute of Physical Chemistry and Electrochemistry, Russian Academy of Sciences
Email: akburyak@mail.ru
119071, Moscow, Russia
I. A. Polunina
Frumkin Institute of Physical Chemistry and Electrochemistry, Russian Academy of Sciences
Email: akburyak@mail.ru
119071, Moscow, Russia
A. K. Buryak
Frumkin Institute of Physical Chemistry and Electrochemistry, Russian Academy of Sciences
Author for correspondence.
Email: akburyak@mail.ru
119071, Moscow, Russia
References
- Копылов В.Д. Устройство монолитных бетонных конструкций при отрицательных температурах среды. М.: АСВ, 2014.
- Ghosh R.S., Mustard J.N. // Canadian J. Civil Engineering. 2011. № 10 (3). P. 510.
- Рамачандран В.С. Добавки в бетон. М.: Стройиздат, 1988.
- Изотов В.С., Соколова Ю.А. Химические добавки для модификации бетона. М.: Палеотип, 2006.
- Лебедев А.Т. Масс-спектрометрия в органической химии. М.: БИНОМ, 2003.
- Хмельницкий Р.А., Лукашенко И.М., Бродский Е.С. Пиролитическая масс-спектрометрия высокомолекулярных соединений. М.: Химия, 1980.
- Polunin K.E., Goncharova I.S., Ulyanov A.V. et al. // Colloid J. 2017. V. 79. N. 2. P. 250. [Полунин К.Е., Гончарова И.С., Ульянов А.В. и др. // Коллоидн. журн. 2017. Т. 79. № 2 С. 198].https://doi.org/10.1134/S1061933X17020090
Supplementary files






