Ультразвуковой способ обработки поверхности анизотропной электротехнической стали для снижения ее полных магнитных потерь на перемагничивание
- Авторы: Тиунов В.Ф.1
-
Учреждения:
- Институт физики металлов УрО РАН
- Выпуск: Том 124, № 8 (2023)
- Страницы: 687-691
- Раздел: ЭЛЕКТРИЧЕСКИЕ И МАГНИТНЫЕ СВОЙСТВА
- URL: https://journals.rcsi.science/0015-3230/article/view/139478
- DOI: https://doi.org/10.31857/S0015323022601878
- EDN: https://elibrary.ru/PXCKYY
- ID: 139478
Цитировать
Полный текст
Аннотация
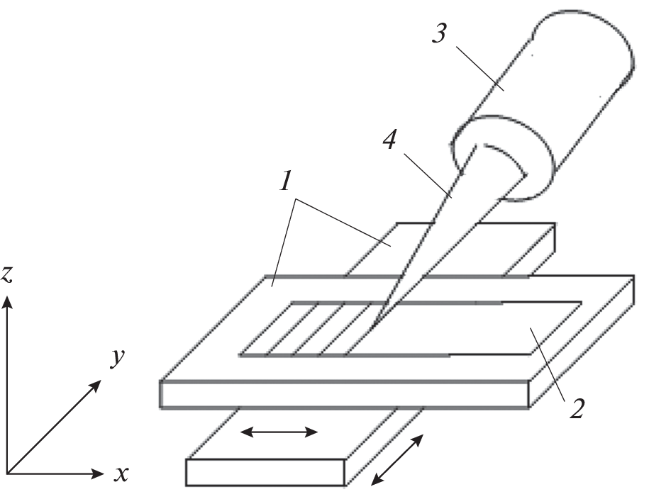
Описан ультразвуковой метод формирования локально-деформированных зон (ЛДЗ) в виде механических царапин, наносимых на поверхность анизотропной электротехнической стали (АЭС) для дробления ее доменной структуры с целью снижения полных магнитных потерь Рп. Показано, что вследствие подобной обработки на примере АЭС типа 3407 величина Рп снижается в среднем на 10–15%. При этом воздействие ультразвука на рабочий инструмент приводит к существенному увеличению скорости обработки (2.0–2.5 м/с). В отличие от этого, скорость нанесения ЛДЗ обычным механическим скрайбированием не превышала 10–15 см/с при значительном давлении на рабочий инструмент.
Об авторах
В. Ф. Тиунов
Институт физики металлов УрО РАН
Автор, ответственный за переписку.
Email: tiunov@imp.uran.ru
Россия, 620108, Екатеринбург, ул. С. Ковалевской, 18
Список литературы
- Дружинин В.В. Магнитные свойства электротехнической стали. М.: Энергия, 1974. 240 с.
- Pгy R.H., Bean C.P. Calculation of the energy loss in magnetic sheet materials using a domain model // J. Appl. Phys. 1958. V. 29. P. 532–533.
- Лобанов М.Л., Юровских А.С., Кардонина Н.И., Русаков Г.М. Методы исследования текстур в материалах: учеб.-метод. пособие. Екатеринбург: Изд‑во Урал. ун-та, 2014. 115 с.
- Puchý V., Falat L., Kovác F., Petryshynets I., Džunda R., Šebek M. The Influence of Fiber Laser Pulse Processing on Coercivity and Nanohardness of Fe–3.2Si Grain-Oriented Electrical Steel in relation with its Surface Changes and Magnetic Domains Modifications // Acta Phys. Polonica. 2017. V. 131. № 6. P. 1445–1449.
- Rauschera P., Hauptmann J., Beyer E. Laser scribing of grain oriented electrical steel under the aspect of industrial utilization using high power laser beam sources // Phys. Procedia. 2013. V. 41. P. 312–318.
- Пудов В.И., Драгошанский Ю.Н. Улучшение функциональных свойств магнитопроводов локальными деформационными воздействиями / Сб. Перспективные материалы и технологии. НАН Беларуси. Брест. 2019. С. 27–31.
- Тиунов В.Ф. О влиянии неоднородности перемагничивания анизотропной электротехнической стали Fe–3% Si на магнитные потери во вращающихся магнитных полях // ФММ. 2018. Т. 119. № 9. С. 876–881.
- Тиунов В.Ф., Корзунин Г.С. Контроль неоднородности магнитной проницаемости листовой анизотропной электротехнической стали // Дефектоскопия. 2019. № 3. С. 46–49.
- Попилов Л.Я. Справочник по электрическим и ультразвуковым методам обработки материалов. М., Л.: Машгиз, 1963. 400 с.
- Тиунов В.Ф. Влияние особенностей искусственного дробления доменной структуры анизотропной электротехнической стали Fe–3% Si на эффективность снижения величины ее магнитных потерь // ФММ. 2022. Т. 123. № 3. С. 326–332.
- Зайкова В.А., Старцева И.Е., Филиппов Б.Н. Доменная структура и магнитные свойства электротехнических сталей. М.: Наука, 1992. 270 с.
- Тиунов В.Ф., Стародубцев Ю.Н., Катаев В.А. Динамическое поведение доменной структуры и магнитные потери бикристаллов кремнистого железа // ФММ. 1990. № 6. С. 63–68.
- Тиунов В.Ф., Драгошанский Ю.Н. Влияние динамического поведения замыкающей доменной структуры на магнитные потери в кристаллах Fe–3% Si // ФММ. 1989. Т. 68. Вып. 6. С. 1117–1124.
- Тиунов В.Ф., Зайкова В.А. Динамика доменной структуры и электромагнитные потери в кристаллах Fe–3% Si, перемагничиваемых непараллельно оси легчайшего намагничивания // ФММ. 1985. Т. 59. Вып. 6. С. 1129–1136.
Дополнительные файлы







