Об одном сценарии смены устойчивости инвариантных многообразий сингулярно возмущенных систем
- Авторы: Кипкаева О.С.1
-
Учреждения:
- Самарский национальный исследовательский университет имени академика С.П. Королева
- Выпуск: Том 30, № 2 (2024)
- Страницы: 20-29
- Раздел: Математика
- URL: https://journals.rcsi.science/2541-7525/article/view/310444
- DOI: https://doi.org/10.18287/2541-7525-2024-30-2-20-29
- ID: 310444
Цитировать
Полный текст
Аннотация
Работа посвящена особенностям смены устойчивости медленных инвариантных многообразий сингулярно возмущенных систем обыкновенных дифференциальных уравнений. Необходимо отметить, что смена устойчивости инвариантных многообразий может протекать по различным сценариям. Кроме двух хорошо известных сценариев этого явления в данной работе рассматривается еще один сценарий. Для демонстрации особенностей смены устойчивости медленных инвариантных многообразий по этому сценарию предложен ряд примеров. Получена теорема существования точного инвариантного многообразия со сменой устойчивости для некоторого класса сингулярно возмущенных систем обыкновенных дифференциальных уравнений.
Полный текст
Введение
Основным объектом изучения является автономная сингулярно возмущенная система дифференциальных уравнений вида
(1)
где и — векторы в Евклидовых пространствах; — малый положительный параметр; — вектор параметров, вектор-функции и достаточно гладкие, и их значения сравнимы с единицей. Медленная и быстрая подсистемы описываются первым и вторым уравнениями системы (1) соответственно [1-3].
Напомним, что гладкая поверхность называется инвариантным многообразием системы (1), если любая траектория, которая имеет с ней хотя бы одну общую точку, целиком принадлежит этой поверхности [1-3].
Среди инвариантных многообразий выделяют так называемые медленные инвариантные многообразия — инвариантные поверхности медленных движений, размерность которых равна размерности медленной подсистемы. В предельном случае (при ) медленное инвариантное многообразие называется медленной поверхностью (или медленной кривой, в зависимости от ее размерности), которая описывается уравнением
Устойчивость или неустойчивость медленного инвариантного многообразия определяется устойчивостью или неустойчивостью медленной поверхности. Известно, что медленная поверхность является устойчивой, то есть притягивающей для траекторий системы (1), если все собственные числа матрицы линеаризации быстрой подсистемы имеют отрицательные вещественные части [1-3]. В противном случае она будет неустойчивой (отталкивающей).
При исследовании сингулярно возмущенных систем большой интерес вызывают критические случаи, когда меняется знак одного или нескольких собственных чисел матрицы линеаризации быстрой подсистемы. Это приводит к тому, что медленное инвариантное многообразие теряет устойчивость [2; 3]. Есть несколько сценариев данного явления [4; 5]. С помощью введения условий на дополнительные параметры системы в этих случаях можно построить медленное инвариантное многообразие со сменой устойчивости [6; 7].
Первый сценарий можно наблюдать, когда одно из собственных чисел матрицы линеаризации быстрой подсистемы переходит через ноль и становится положительным. Этот случай связан с существованием траекторий-уток [6; 8–16]. Такая траектория системы идет сначала по притягивающему инвариантному многообразию, а после — по отталкивающему. В этом сценарии требуется подобрать значение дополнительного параметра, которое обеспечит непрерывность функции, описывающей траекторию-утку [3]. Аналогичный сценарий смены устойчивости наблюдается в многомерных инвариантных многообразиях со сменой устойчивости, которые можно рассматривать как инвариантные поверхности, целиком состоящие из траекторий-уток [2; 6; 7; 12; 14; 17].
Во втором сценарии меняется знак вещественной части пары комплексно сопряженных собственных чисел матрицы линеаризации быстрой подсистемы. В этом случае наблюдается явление затягивания потери устойчивости: траектория системы (1) уходит от положения равновесия не сразу после того, как оно потеряло устойчивость, а через какое-то время [4; 18–22].
Данная работа посвящена еще одному сценарию смены устойчивости медленных инвариантных многообразий сингулярно возмущенных систем вида (1). Суть этого сценария заключается в том, что устойчивой части медленного инвариантного многообразия отвечает пара комплексно сопряженных собственных чисел с отрицательной вещественной частью матрицы линеаризации быстрой подсистемы, а неустойчивой части медленного инвариантного многообразия отвечает пара вещественных собственных чисел противоположных знаков. Другими словами, смена устойчивости связана с одновременным обнулением и вещественных частей, и коэффициентов при мнимой части собственных чисел матрицы линеаризации быстрой подсистемы.
1. Основные результаты
В качестве простейшей системы, в которой наблюдается описанный выше сценарий смены устойчивости медленного инвариантного многообразия, можно рассмотреть сингулярно возмущенную систему вида
(2)
где и — константы; — малый положительный параметр.
Система
описывает медленную кривую системы (2). Для исследования ее на устойчивость запишем матрицу линеаризации быстрой подсистемы:
(3)
с характеристическим многочленом
Учитывая необходимое условие устойчивости полиномов, можем сказать, что при и разных знаков медленная кривая будет неустойчивой.
В случае когда и , медленная кривая будет устойчивой, если будет отрицательным. Если и , то для устойчивости медленной кривой необходимо, чтобы был положительным.
Исследуем собственные значения матрицы линеаризации (3). Они имеют следующий вид:
Смена знака подкоренного выражения собственных чисел происходит в двух точках: и . Причем при происходит обнуление вещественных и мнимых частей собственных чисел.
Рассмотрим подробнее случай , .
- . При таких значениях подкоренное выражение принимает положительные значения, то есть собственные числа будут вещественными.
Выясним знак собственного числа , где
Так как , то и
Следовательно,
Выясним знак собственного числа , где
Так как и
то
Таким образом, при матрица имеет отрицательные вещественные собственные значения.
- . В этом случае подкоренное выражение принимает отрицательные значения, следовательно, собственные значения будут комплексными с отрицательной вещественной частью.
- . При таких значениях подкоренное выражение принимает положительные значения, то есть собственные числа будут вещественными.
Выясним знак собственного числа , где
Так как , то и
Следовательно,
Выясним знак собственного числа , где
Так как и
то
Таким образом, при матрица имеет вещественные собственные значения разных знаков. Бифуркация собственных значений матрицы представлена на рис. 1.
Рис. 1. Собственные числа матрицы для случая а — a > 0 и b > 0; б — a < 0 и b < 0
Fig. 1. Eigenvalues of the matrix for the case a > 0 and b > 0; б — a < 0 and b < 0
В случае и анализ собственных чисел проводится аналогично. Здесь при собственные значения будут вещественными разных знаков, при — комплексно сопряженными с отрицательной вещественной частью, а при собственные значения будут отрицательными вещественными, см. рис. 1. Отметим, что в случае и изменения в характере собственных чисел происходят аналогичным образом, но при уменьшении .
Таким образом, в системе (2) при наблюдается новый сценарий смены устойчивости точного медленного инвариантного многообразия , связанный с одновременным обнулением и вещественных частей, и коэффициентов при мнимой части собственных чисел матрицы линеаризации быстрой подсистемы.
Этот же сценарий смены устойчивости медленного инвариантного многообразия можно рассмотреть в более сложных системах. Рассмотрим следующие примеры.
Пример 1.
(4)
где , а — константы. Покажем, что система (4) имеет медленное инвариантное многообразие со сменой устойчивости, связанной с одновременным обнулением и вещественных частей, и коэффициентов при мнимой части собственных чисел матрицы линеаризации быстрой подсистемы.
Чтобы найти это инвариантное многообразие, нужно должным образом подобрать значение дополнительного параметра . Бифуркационное значение и соответствующую ему траекторию (одномерное инвариантное многообразие со сменой устойчивости) будем искать в виде асимптотического разложения по степеням :
(5)
Для нахождения подставим разложения (5) в уравнение инвариантности:
Приравнивая коэффициенты при одинаковых степенях , получим:
при :
при :
при , где :
Следовательно, для существует точное инвариантное многообразие со сменой устойчивости
(6)
где
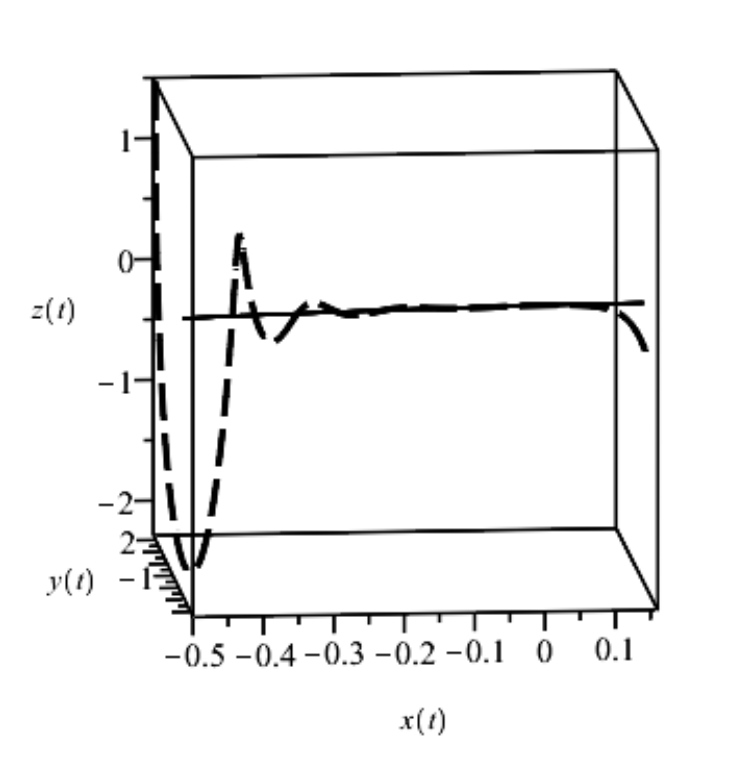
Траектория, соответствующая решению (6) системы (4), является глобальным медленным инвариантным многообразием со сменой устойчивости. Все остальные траектории, начиная с начальной точки в области влияния его устойчивой части, следуют вдоль него и затем продолжают свое движение вдоль его неустойчивой части на расстояние порядка при , см. рис. 2 и рис. 3.
Рис. 2. Глобальное медленное инвариантное многообразие со сменой устойчивости (6) (сплошная линия) и траектория системы (4) с начальным условием x(0) = -0; 5; y(0) = 2; z(0) = 1; 5 (пунктирная линия); a = 1; b = 1; α0 = 1; α1 = 1.2; α2 = 0.1; ε = 0.01
Fig. 2. Global stable/unstable slow invariant manifold (6) (solid line) and the trajectory of the system (4) with initial data x(0) = -0:5; y(0) = 2; z(0) = 1:5 (dash line); a = 1; b = 1; α0 = 1; α1 = 1.2; α2 = 0.1; ε = 0.01
Рис. 3. Глобальное медленное инвариантное многообразие со сменой устойчивости (6) (сплошная линия) и траектория системы (4) с начальным условием x(0) = -0,95; y(0) = 2; z(0) = 1; 5 (пунктирная линия); a = 1; b = 1; α0 = 1; α1 = 1.2; α2 = 0.1; ε = 0.01
Fig. 3. Global stable/unstable slow invariant manifold (6) (solid line) and the trajectory of the system (4) with initial data x(0) = -0,95; y(0) = 2; z(0) = 1; 5 (dash line); a = 1; b = 1; α0 = 1; α1 = 1.2; α2 = 0.1; ε = 0.01
Пример 2. Рассмотрим еще один пример с другим возмущением:
(7)
где , а — константы.
Бифуркационное значение и соответствующую ему траекторию ищем в виде разложений (5).
Приравнивая коэффициенты при одинаковых степенях , получим:
при :
при :
при :
при :
при :
при , где :
Следовательно, для
существует точное инвариантное многообразие со сменой устойчивости
(8)
где
Траектория, соответствующая точному решению (8) системы (7), является глобальным медленным инвариантным многообразием со сменой устойчивости. Все остальные траектории, начиная с начальной точки в области влияния его устойчивой части, следуют вдоль него и затем продолжают свое движение вдоль его неустойчивой части на расстояние порядка при , см. рис. 4 и рис. 5.
Рис. 4. Глобальное медленное инвариантное многообразие со сменой устойчивости (8) (сплошная линия) и траектория системы (7) с начальным условием x(0) = -0,5; y(0) = 2; z(0) = 1,5 (пунктирная линия); a = 1; b = 1; α0 = 1,5; α1 = 1,2; α2 = 1.1; α3 = -1; α4 = 2,1; α5 = 1,5; ε = 0.01
Fig. 4. Global stable/unstable slow invariant manifold (8) (solid line) and the trajectory of the system (7) with initial data x(0) = -0,5; y(0) = 2; z(0) = 1,5 (dash line); a = 1; b = 1; α0 = 1,5; α1 = 1,2; α2 = 1.1; α3 = -1; α4 = 2,1; α5 = 1,5; ε = 0.01
Рис. 5. Глобальное медленное инвариантное многообразие со сменой устойчивости (8) (сплошная линия) и траектория системы (7) с начальным условием x(0) = -0,95; y(0) = 2; z(0) = 1,5 (пунктирная линия); a = 1; b = 1; α0 = 1,5; α1 = 1,2; α2 = 1.1; α3 = -1; α4 = 2,1; α5 = 1,5; ε = 0.01
Fig. 5. Global stable/unstable slow invariant manifold (8) (solid line) and the trajectory of the system (7) with initial data x(0) = -0,95; y(0) = 2; z(0) = 1,5 (dash line); a = 1; b = 1; α0 = 1,5; α1 = 1,2; α2 = 1.1; α3 = -1; α4 = 2,1; α5 = 1,5; ε = 0.01
Таким образом, в рассмотренных примерах наблюдается новый сценарий смены устойчивости медленных инвариантных многообразий, связанный с одновременным обнулением и вещественных частей, и коэффициентов при мнимой части собственных чисел матрицы линеаризации быстрой подсистемы. Эти примеры можно обобщить.
Теорема 1. Для системы
(9)
где а , и — константы, существует точное медленное инвариантное многообразие со сменой устойчивости. Смена устойчивости этого многообразия обусловлена одновременным обнулением и вещественных частей, и коэффициентов при мнимой части собственных чисел матрицы линеаризации быстрой подсистемы.
Выводы
В работе исследовался сценарий смены устойчивости медленного инвариантного многообразия, связанный с одновременным обнулением и вещественной части, и коэффициентов при мнимой части собственных значений матрицы линеаризации быстрой подсистемы. В качестве иллюстрации было предложено несколько примеров сингулярно возмущенных систем, для которых существует точное инвариантное многообразие с такой сменой устойчивости. Получена теорема существования точного инвариантного многообразия со сменой устойчивости для некоторого класса сингулярно возмущенных систем обыкновенных дифференциальных уравнений.
Об авторах
Ольга Сергеевна Кипкаева
Самарский национальный исследовательский университет имени академика С.П. Королева
Автор, ответственный за переписку.
Email: kipkaeva.os@ssau.ru
ORCID iD: 0009-0001-5448-9417
ассистент кафедры дифференциальных уравнений и теории управления
Россия, г. СамараСписок литературы
- Стрыгин В.В., Соболев В.А. Разделение движений методом интегральных многообразий. Москва: Наука, 1988. 256 с. URL: https://elibrary.ru/item.asp?id=30130147. EDN: https://elibrary.ru/zjiugb.
- Shchepakina E., Sobolev V., Mortell M.P. Singular Perturbations. Introduction to system order reduction methods with applications. Cham-Berlin-Heidelber-London: Springer, 2014. 222 p. DOI: http://dx.doi.org/10.1007/978-3-319-09570-7.
- Соболев В.А., Щепакина Е.А. Редукция моделей и критические явления в макрокинетике. Москва: ФИЗМАЛИТ, 2010. 320 c.
- Теория бифуркаций / В.И. Арнольд [и др.]. Москва: ВИНИТИ, 1986. Т. 5. 218 с.
- Щепакина Е.А. Два вида смены устойчивости интегральных многообразий // Дифференциальные уравнения. 2004. Т. 40, № 5. С. 713–716. URL: https://www.mathnet.ru/rus/de11080.
- Shchepakina E., Sobolev V. Integral manifolds, canards and black swans // Nonlinear Analysis: Theory, Methods & Applications. 2001. Vol. 44. Issue 7. P. 897–908. DOI: https://doi.org/10.1016/S0362-546X(99)00312-0.
- Shchepakina E.A. Stable/unstable slow integral manifolds in critical cases // Journal of Physics: Conference Series. 2017. Vol. 811, issue 1. P. 012016. DOI: http://doi.org/10.1088/1742-6596/811/1/012016.
- Benoit E., Callot J. L., Diener F. Diener M. Chasse au canard // Collectanea Mathematica. 1981. Vol. 31–32. P. 37–119. URL: https://www.researchgate.net/publication/265548510_Chasse_au_canard.
- Gorelov G.N., Sobolev V.A. Mathematical modeling of critical phenomena in thermal explosion theory // Combustion and Flame. 1991. Vol. 87, issue 2. P. 203–210. DOI: https://doi.org/10.1016/0010-2180(91)90170-G.
- Gorelov G.N., Sobolev V.A. Duck-trajectories in a thermal explosion problem // Applied Mathematics Letters. 1992. Vol. 5, issue 6. P. 3–6. DOI: http://doi.org/10.1016/0893-9659(92)90002-q.
- Соболев В.А., Щепакина Е.А. Траектории-утки в одной задаче теории горения // Дифференциальные уравнения. 1996. Т. 32, № 9. С. 1175–1184. URL: https://www.elibrary.ru/item.asp?id=38243989. EDN: https://www.elibrary.ru/ztnjpf.
- Shchepakina E.A. Black swans and canards in self-ignition problem // Nonlinear Analysis: Real World Applications. 2003. Vol. 4, issue 1. P. 45–50. DOI: https://doi.org/10.1016/S1468-1218(02)00012-3.
- Shchepakina E., Sobolev V. Black swans and canards in laser and combustion models // Singular perturbations and hysteresis (Eds. M.P. Mortell, R.E. O’Malley, A. Pokrovskii, V.A. Sobolev). Philadelphia: SIAM, 2005. P. 207–255. DOI: https://doi.org/10.1137/1.9780898717860.ch8.
- Shchepakina E. Canards and black swans in model of a 3-D autocatalator // Journal of Physics: Conference Series. 2005. Vol. 22, № 1. P. 194–207. DOI: https://doi.org/10.1088/1742-6596/22/1/013. EDN: https://www.elibrary.ru/ljbkfd.
- Shchepakina E., Korotkova O. Condition for canard explosion in a semiconductor optical amplifier // Journal of the Optical Society of America B: Optical Physics. 2011. Vol. 28, issue 8. P. 1988–1993. DOI: https://doi.org/10.1364/JOSAB.28.001988.
- Shchepakina E., Korotkova O. Canard explosion in chemical and optical systems // Discrete and Continuous Dynamical Systems — Series B. 2013. Vol. 18, issue 2. P. 495–512. DOI: https://doi.org/10.3934/dcdsb.2013.18.495.
- Shchepakina E., Sobolev V. Invariant surfaces of variable stability // Journal of Physics: Conference Series. 2016. Vol. 727, № 1. P. 012016. DOI: https://doi.org/10.1088/1742-6596/727/1/012016. EDN: https://elibrary.ru/wvbect.
- Нейштадт А.И. Асимптотическое исследование потери устойчивости равновесия при медленном прохождении пары собственных чисел через мнимую ось // Успехи математических наук. 1985. Т. 40, Вып. 5. С. 300–301.
- Нейштадт А.И. О затягивании потери устойчивости при динамических бифуркациях // Дифференциальные уравнения. 1987-1988. Т. 23, № 12. С. 2060–2067. URL: https://www.mathnet.ru/rus/de6386; Т. 24, № 2. С. 226–233. URL: https://www.mathnet.ru/rus/de/v24/i2/p226.
- Шишкова М.А. Рассмотрение одной системы дифференциальных уравнений с малым параметром при высших производных // Доклады Академии наук СССР. 1973. Т. 209, № 3. С. 576–579. URL: https://www.mathnet.ru/rus/dan37550.
- Щетинина Е.В. Одна задача о смене устойчивости интегральных многообразий // Известия РАЕН. Математика. Математическое моделирование. Информатика и управление. 1999. Т. 3, № 3. С. 129–134.
- Schneider K.R., Shchetinina E.V., Sobolev V.A. Control of integral manifolds loosing their attractivity in time // Journal of Mathematical Analysis and Applications. 2006. Vol. 315, issue 2. P. 740–757. DOI: https://doi.org/10.1016/j.jmaa.2005.04.075.
Дополнительные файлы







