Увеличение наработки насосных установок водопонижающих скважин посредством использования самоочищающихся фильтров
- Авторы: Шишлянников Д.И.1, Картавцев В.К.1, Ситников Д.А.1, Коротков Ю.Г.1, Иванченко А.А.1
-
Учреждения:
- Пермский национальный исследовательский политехнический университет
- Выпуск: Том 335, № 11 (2024)
- Страницы: 19-31
- Раздел: Статьи
- URL: https://journals.rcsi.science/2500-1019/article/view/276136
- DOI: https://doi.org/10.18799/24131830/2024/11/4619
- ID: 276136
Цитировать
Полный текст
Аннотация
Актуальность. На предприятиях, ведущих открытые горные работы, в системах дренажа широко используются водопонижающие скважины, оборудованные погружными установками электроцентробежных насосов. Значительное содержание частиц механических примесей в откачиваемой скважинной жидкости обусловливает интенсивное гидроабразивное изнашивание рабочих ступеней установок электроцентробежных насосов. Среди существующих методов борьбы с гидроабразивным изнашиванием погружных насосов водопонижающих скважин наиболее простым, рентабельным и эффективным является использование фильтров различных конструкций. Актуальной задачей является увеличение наработки погружных установок электроцентробежных насосов при сокращении времени и затрат на очистку или замену фильтров.
Цель. Обоснование конструкций и параметров работы самоочищающегося фильтра и удлинителя колонны насосно-компрессорных труб, входящих в компоновку установок электроцентробежных насосов водопонижающей скважины.
Методы. Статические расчеты деформации колонны насосно-компрессорных труб и удлинителя колонны насосно-компрессорных труб под действием избыточного давления.
Результаты и выводы. Выполнен анализ процесса функционирования установок электроцентробежных насосов в водопонижающих скважинах карьеров при разработке месторождений полезных ископаемых открытым способом. Выявлено, что основной причиной отказа установок электроцентробежных насосов является гидроабразивный износ рабочих ступеней погружного насоса. Авторами предложен способ повышения наработки установок электроцентробежных насосов в водопонижающих скважинах, осложненных интенсивным выносом частиц механических примесей, посредством применения самоочищающегося фильтра оригинальной конструкции. Отмечено, что перспективным направлением развития привода для самоочищающихся фильтров является использование деформации колонны насосно-компрессорных труб. На основании проведенных расчетов сделан вывод, что небольшие глубины водопонижающих скважин обуславливают недостаточную величину деформации колонны насосно-компрессорных труб для очистки фильтроэлемента. Для увеличения длины возвратно-поступательного перемещения установок электроцентробежных насосов относительно эксплуатационной колонны водопонижающей скважины предложено использование удлинителя колонны насосно-компрессорных труб оригинальной конструкции. Выполнен расчет параметров работы удлинителя колонны насосно-компрессорных труб, который показал возможность обеспечения необходимой величины управляемого возвратно-поступательного перемещения установок электроцентробежных насосов в скважине для восстановления пропускной способности самоочищающегося фильтра.
Полный текст
Введение
Значительное количество месторождений полезных ископаемых на территории России и за рубежом разрабатываются открытым способом. Открытая разработка при текущем уровне комплексной механизации горных работ обеспечивает лучшие технико-экономические показатели для добывающего предприятия и высокую рентабельность производства.
Одним из основных факторов, осложняющих функционирование карьеров и разрезов, являются гидрогеологические условия, в частности обводненность пород месторождения. Интенсивность водопритока оказывает непосредственное влияние на производительность выемочно-погрузочной техники при ведении вскрышных и добычных работ, транспортных машин при доставке пустых пород и полезного ископаемого. Кроме того, подземные и поверхностные воды влияют на устойчивость бортов и дна карьера: при изменении напряженного состояния, фильтрационных деформациях, выщелачивании, растворении и изменении механических свойств горных пород возможно возникновение оползней и плывунов [1–3].
Снижение обводненности пород месторождений осуществляется проведением дренажных работ, включающих каптаж, откачку и отвод подземных вод. Функционирование системы дренажа в период строительства и эксплуатации карьеров характеризуется значительными материальными и временными затратами, что обусловливает необходимость выбора рационального способа водоотлива и оборудования для его реализации [2–6].
На предприятиях, ведущих открытые горные работы, в системах дренажа широко используются водопонижающие скважины, оборудованные погружными установками электроцентробежных насосов (УЭЦН) [7–10]. Водопонижающие скважины эксплуатируются, как правило, в периодическом режиме, что способствует повышенному выносу частиц механических примесей в откачиваемую скважинную жидкость и обусловливает интенсивное гидроабразивное изнашивание рабочих ступеней УЭЦН [11]. Среди существующих методов борьбы с гидроабразивным изнашиванием погружных насосов водопонижающих скважин наиболее простым, рентабельным и эффективным является использование фильтров различных конструкций [12–15].
Актуальной задачей является увеличение наработки погружных УЭЦН при сокращении времени и затрат на очистку или замену фильтров. Решение указанной задачи может быть обеспечено посредством создания самоочищающихся фильтров, что минимизирует количество спускоподъемных операций и увеличит время безаварийной работы УЭЦН в водопонижающих скважинах.
Методы
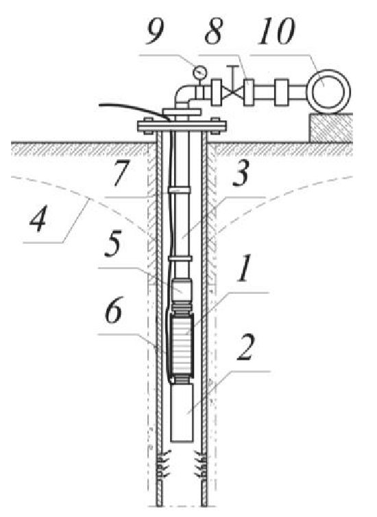
В общем виде водопонижающая скважина состоит из трех основных частей (рис. 1): кондуктора – 1, эксплуатационной – 2 и фильтровой – 3 колонн. В месте соединения колонн для уплотнения устанавливают пакер – 4. Забор жидкости производится из водоносного горизонта – 5. Для сбора механических примесей, находящихся в скважине, предусмотрен отстойник – 6.
Рис. 1. Конструкция водопонижающей скважины
Fig. 1. Design of a dewatering well
Откачка воды из водопонижающих скважин осуществляется, как правило, УЭЦН с погружными электродвигателями.
Схема УЭЦН представлена на рис. 2. Электроцентробежный насос (ЭЦН) – 1 с погружным электродвигателем (ПЭД) – 2 подвешивается к колонне насосно-компрессорных труб (НКТ) – 3 ниже динамического уровня воды – 4 в скважине. Непосредственно над насосом или выше устанавливается обратный клапан – 5, предназначенный для предотвращения обратного стока воды в скважину из НКТ. Питание ПЭД осуществляется по кабелю – 6, прикрепленному клямсами – 7 к НКТ. На устье скважины устанавливают задвижку – 8 и манометр – 9. Откачанная жидкость попадает в отводящий трубопровод – 10.
Рис. 2. Схема УЭЦН в скважине
Fig. 2. Electric submersible pump (ESP) layout in a well
При откачке воды из скважины породы в призабойной зоне постепенно разрушаются, а образовавшиеся частицы механических примесей перекачиваются насосом вместе с жидкостью, что значительно снижает наработку УЭЦН вследствие интенсивного гидроабразивного изнашивания.
Анализ статистики отказов центробежных насосов показывает, что при гидроабразивном изнашивании разрушается металл проточных каналов рабочих ступеней ЭЦН, межступенчатые уплотнения и т. д. [16, 17].
Наиболее опасно изнашивание направляющих аппаратов рабочих ступеней ЭЦН. При этом на стыке верхнего диска и корпуса образуется канавка (рис. 3, а), которая углубляется вплоть до фрагментарного разрушения направляющего аппарата. Дальнейшее развитие гидроабразивного износа ЭЦН нередко приводит к перерезанию корпуса (рис. 3, б) и падению части насоса с ПЭД в скважину, что обусловливает остановку скважины и сопровождается проведением дорогостоящих ремонтных работ [18, 19].
Рис. 3. Гидроабразивный износ направляющего аппарата (а) и перерезание насоса вследствие гидроабразивного износа (б)
Fig. 3. Waterjet wear of the guide unit (a) and pump cutting due to waterjet wear (b)
Специфические условия работы погружного оборудования, с учетом того, что затраты на остановку, подъем, ремонт и повторный спуск УЭЦН зачастую превышают себестоимость самой установки, обусловливают необходимость реализации мероприятий по предотвращению и минимизации последствий гидроабразивного изнашивания [19–21].
При работе УЭЦН в водопонижающих скважинах, как правило, самым простым и эффективным способом снижения интенсивности гидроабразивного изнашивания рабочих ступеней ЭЦН является применение фильтров различных конструкций.
Параметрами, определяющими эффективность использования фильтра, являются тонкость очистки, то есть минимальный размер частиц, задерживаемых данным фильтром, и грязеемкость – максимально возможное количество задержанных фильтром частиц механических примесей до момента его полного засорения. Следует отметить, что при увеличении тонкости очистки снижается грязеемкость фильтра, а значит, уменьшается время его функционирования в скважине. И наоборот, фильтры высокой скважности с большим условным диаметром водоприемных щелей (отверстий) характеризуются большим временем работы до кольматации, так как задерживают меньшее количество твердых частиц механических примесей [22].
Известно, что от гранулометрического состава частиц твердых примесей, проходящих через рабочие ступени ЭЦН с потоком откачиваемой из скважины воды, непосредственно зависит интенсивность гидроабразивного изнашивания деталей насоса. Частицы размером менее 100 мкм изнашивают главным образом межступенчатые уплотнения, причем с малой интенсивностью. Наличие крупных частиц в откачиваемой жидкости определяет как износ металла рабочих ступеней, так и интенсификацию разрушения межступенчатых уплотнений. При измельчении крупных частиц образовавшиеся мелкие частицы примесей характеризуются неправильной формой, высокой абразивностью и изнашивающей способностью.
Опытным путем установлено, что рациональная тонкость очистки фильтров для защиты ЭЦН от гидроабразивного изнашивания составляет 200–300 мкм.
При эксплуатации водопонижающих скважин карьеров и разрезов используются два типа фильтров: скважинные и входные.
Скважинные фильтры устанавливаются на основание ПЭД с узлом уплотнения, на кожух ПЭД либо на пакер. Входные фильтры как отдельный модуль входят в состав УЭЦН и монтируются между насосной секцией и ПЭД либо между ЭЦН и гидрозащитой ПЭД (при наличии гидрозащиты).
Как указывалось выше, основным недостатком традиционных конструкций фильтров является их низкая грязеемкость. В результате механической кольматации водоприемные отверстия фильтров заклиниваются или перекрываются песком, глиной, гравием, в связи с чем удельный дебит скважин постепенно снижается, а затем происходит отказ фильтра и всей УЭЦН в целом.
Перспективным решением данной проблемы является применение различных конструкций самоочищающихся фильтров, позволяющих производить восстановление пропускной способности фильтроэлемента на месте без сложных и дорогих операций подъема и повторного спуска его в скважину [23–25]. К тому же при поддержании пропускной способности фильтра на уровне, близком к исходному, увеличивается ресурс всей УЭЦН.
На сегодняшний день все известные конструкции самоочищающихся фильтров объединяет одно общее свойство – наличие привода. Конструктивно привод может быть реализован от погружного электродвигателя, набегающего на лопасти турбинного колеса или шнека потока жидкости или прямого воздействия на НКТ (подъем–спуск, поворот) [23–27].
Приведенные технические решения являются сложными как с точки зрения производства, так и с точки зрения эксплуатации. Наличие дополнительного привода значительно увеличивает стоимость самоочищающегося фильтра и снижает надежность всей УЭЦН.
Перспективным направлением развития привода для самоочищающихся фильтров является использование упругой деформации НКТ при работе в скважине. При изменении давления в колонне НКТ происходит ее деформация, а именно увеличение или уменьшение длины, что позволяет осуществлять очистку фильтра только за счет его возвратно-поступательного движения вместе с компоновкой погружного оборудования.
Характерные для водопонижающих скважин небольшие глубины установки оборудования обуславливают малые деформации колонны, следовательно, обеспечить необходимую величину возвратно-поступательного перемещения фильтра только за счет изменения давления в НКТ не представляется возможным.
Увеличить деформацию колонны НКТ при небольших глубинах водопонижающих скважин с целью сообщения самоочищающемуся фильтру возвратно-поступательного движения можно посредством использования удлинителя колонны НКТ оригинальной конструкции.
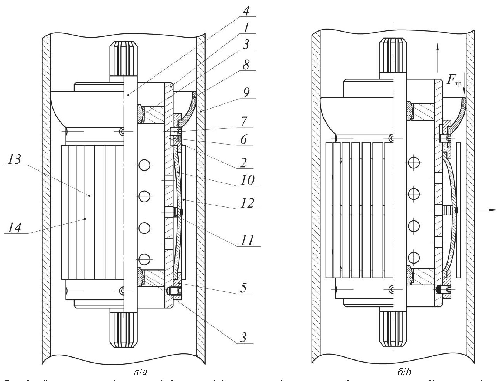
Авторами предложена конструкция самоочищающегося щелевого фильтра [28], представленная на рис. 4.
Для данного фильтра возможны как скважинный, так и входной варианты исполнения.
Щелевой входной самоочищающийся фильтр (рис. 4, а) состоит из перфорированной трубы – 1, на поверхности которой выполнены направляющие пазы – 2. В трубе установлены подшипниковые узлы – 3, через которые проходит вал – 4, соединяемый с валами выше- и нижерасположенного оборудования, например, посредством шлицевого соединения через муфты. На конце трубы – 1 посредством установочных винтов закреплен неподвижный упор – 5. На другом конце трубы расположен подвижный упор – 6, перемещающийся в пазах – 2. С помощью установочных винтов – 7 на подвижном упоре – 6 закреплен упругий элемент – 8, который контактирует с внутренней поверхностью обсадной трубы – 9 эксплуатационной колонны и может быть выполнен, например, в виде манжеты. Между неподвижным упором – 5 и подвижным упором – 6 коаксиально трубе – 1 расположен диаметрально расширяемый упругий элемент – 10, выполненный в виде центратора из пружинной стали 60С2ХФА, на котором, в свою очередь, выполнено поперечное крепление – 11, имеющее возможность изменять диаметр при деформации. Коаксиально трубе – 1 расположен фильтрующий элемент – 12, который состоит из продольных вертикальных стержней – 13. Вертикальные продольные стержни – 13 расположены таким образом, что между ними образованы щели – 14 заданного размера.
Принцип работы данного фильтра (рис. 4, б) состоит в том, что при упругой деформации (растяжении) НКТ в результате повышения давления внутри скважинного трубопровода происходит перемещение фильтра вниз. При упругом сжатии НКТ вследствие снижения давления в трубопроводе, например, при отключении УЭЦН, происходит перемещение фильтра вверх. При этом осуществляется сближение неподвижного упора – 5, закрепленного на конце трубы – 1 и подвижного упора – 6 перемещающегося в пазах – 2 трубы – 1. Сближение неподвижного упора – 5 и подвижного упора – 6 обеспечивается благодаря наличию упругого элемента – 8, контактирующего с поверхностью обсадной трубы – 9 эксплуатационной колонны и замедляющего движение вверх подвижного упора – 6 относительно остального фильтра. Вследствие сближения неподвижного упора – 5 и подвижного упора – 6 происходит сжатие расположенного между ними и коаксиально трубе – 1 диаметрально-расширяемого упругого элемента – 10. При деформации упругого элемента – 10 происходит расширение поперечного крепления – 11, которое в результате тоже деформируется и увеличивается в диаметре. Расположенный коаксиально трубе – 1 и диаметрально расширяемому упругому элементу – 10 фильтрующий элемент – 12 деформируется, так как продольные вертикальные стержни – 13, из которых он состоит, закреплены на поперечном креплении – 11. Очистка фильтрующего элемента – 12 происходит из-за перемещения вертикальных продольных стержней – 13 в радиальном направлении при увеличении диаметра (расширении) поперечного крепления – 11 и, как следствие, увеличении размера щелей – 14. После очистки фильтрующего элемента – 12 благодаря запасенной энергии упругой деформации упругим диаметрально расширяемым элементом – 10 и поперечным креплением – 11 происходит возвращение подвижного упора – 6 и стержней – 13 в исходное положение.
В дополнение к самоочищающемуся фильтру авторы предлагают использовать удлинитель колонны насосно-компрессорных труб, конструкция которого приведена на рис. 5.
Рис. 4. Самоочищающийся щелевой фильтр: а) фильтрующий элемент в рабочем положении; б) очистка фильтрующего элемента
Fig. 4. Self-cleaning slit filter: a) filter element in working position; b) cleaning the filter element
В нефтяной отрасли хорошо известны и отработаны в применении различные компенсаторы термобарических изменений длины колонны труб [29, 30]. Они предназначены для компенсации хода колонны труб вниз и/или вверх с одновременным гашением колебаний, а также для компенсации температурных деформаций, возникающих в колонне НКТ вследствие изменений температуры скважинной среды.
Удлинитель колонны НКТ, конструкция которого запатентована авторами [31], аналогичен по принципу действия компенсаторам термобарических изменений длины колонны труб, но предназначен для противоположных целей, а именно для увеличения деформации колонны НКТ с целью сообщения самоочищающемуся фильтру возвратно-поступательного движения.
Удлинитель содержит корпус – 1, внутри которого коаксиально расположены полый подвижный шток – 2, пружина – 3 и разделительные элементы – 4, установлен переходник – 5 для соединения с колонной НКТ. Снаружи вдоль корпуса – 1 уложена электрическая линия – 6 в виде спирали. К полому подвижному штоку – 2 присоединен поршень – 7. Внутри поршня – 7 выполнено коаксиально расположенное сквозное отверстие – 8 для подачи жидкости, перекачиваемой насосом. На внешней стороне поршня – 7 выполнены по меньшей мере два направляющих паза – 9 под ограничительные винты – 10, ввинчиваемые с внешней стороны корпуса. В кольцевом зазоре между подвижным штоком и корпусом для разобщения внутренней полости устройства и затрубного пространства размещены уплотнения – 11. Разделительные элементы – 4 установлены между пружиной и уплотнениями в указанном кольцевом зазоре. Удлинитель колонны НКТ выполнен с возможностью соединения с колонной НКТ в верхней части с помощью переходника, а в нижней части колонна НКТ присоединяется к полому подвижному штоку.
Компоновка УЭЦН в водопонижающей скважине с установленными самоочищающимся фильтром и удлинителем колонны НКТ приведена на рис. 6.
Рис. 5. Конструкция удлинителя НКТ
Fig. 5. Tubing extension design
Рис. 6. Компоновка УЭЦН с установленными самоочищающимся фильтром и удлинителем колонны НКТ: 1 – колонна НКТ; 2 – удлинитель колонны НКТ; 3 – ЭЦН; 4 – самоочищающийся фильтр; 5 – ПЭД; 6 – электрическая линия; 7 – клямсы
Fig. 6. Layout of the ESP with a self-cleaning filter and an extension of the tubing column installed: 1 – tubing column; 2 – tubing column extension; 3 – ESP; 4 – self-cleaning filter; 5 – submersible electric motor; 6 – electric line; 7 – cable fastening belt (for tubing)
По исходным данным, приведённым в таблице, выполнен расчет деформации колонны НКТ и удлинителя колонны НКТ вследствие изменения рабочих давлений в скважинном трубопроводе.
Концентрация механических примесей в откачиваемой из водопонижающих скважин жидкости составляет менее 10 г/м3. Выбросы механических примесей происходят залпово, то есть непостоянны во времени. Учитывая, что на входе в насос стоит фильтр, который задерживает неопределённую долю крупных частиц и пропускает через насос неопределённую долю мелких частиц, принимаем, что поток жидкости, протекающий в НКТ, является однофазным.
Известно, что колонна НКТ деформируется на величину Δк при ее заполнении жидкостью и создании избыточного устьевого давления Pуст. Значение Δк для колонны, состоящей из труб одного диаметра с одной толщиной стенки, рассчитывается по формуле:
(1)
где Δк – величина деформации колонны НКТ, м; L – длина колонны НКТ, м; E – модуль упругости материала труб НКТ, МПа; μ – коэффициент Пуассона материала труб НКТ; γ – удельный вес труб НКТ, Н/м3; γж – удельный вес жидкости в НКТ, Н/м3; Fпр – площадь проходного канала труб НКТ, м2; F – площадь кольцевого поперечного сечения труб НКТ, м2; Pуст – давление на устье скважины, МПа [32].
При заполненной колонне НКТ левая часть выражения (1) является постоянной величиной, то есть:
Таким образом, величина деформации Δк при заданном значении Pуст=1 МПа (таблица) определяется выражением:
Для расчета деформации удлинителя колоны НКТ необходимо рассчитать деформацию кольцевой пружины.
Деформация кольцевой пружины удлинителя НКТ происходит под действием осевого усилия, создаваемого давлением в колонне НКТ, которое рассчитывается по формуле:
где Pуст – давление на устье скважины, МПа; Pж – давление столба жидкости, МПа; DP – потери давления, вызванные трением, МПа; dк.в – диаметр внутренней стенки корпуса удлинителя, мм; Dнкт – наружный диаметр трубы НКТ, м; t – толщина стенки трубы НКТ, м; m – масса ЭЦН+ПЭД, кг.
Таблица. Исходные данные для расчета колонны НКТ и удлинителя колонны НКТ
Table. Initial data for calculating the tubing string and tubing string extension
Насос/Pump | - | ЭЦВ 8-25-400 |
Производительность, м3/ч/Capacity, m3/h | Qн | 25 |
Номинальный напор, м/Nominal pressure, m | Hн | 400 |
Масса ЭЦН+ПЭД, кг/Weight of ESP+submersible motor, kg | m | 198 |
Труба НКТ | - | 114×7,0 – Е ГОСТ 633-80 |
Наружный диаметр трубы НКТ, мм/Tubing pipe outer diameter, mm | Dнкт | 114,3 |
Внутренний диаметр трубы НКТ, мм/Tubing pipe inner diameter, mm | dнкт | 100,3 |
Толщина стенки трубы НКТ, мм/Tubing pipe wall thickness, mm | t | 7 |
Материал труб/Pipe material | - | 30ХМА |
Модуль упругости материала труб, МПа/Pipe material modulus of elasticity, MPa | Е | 2,08×105 |
Коэффициент Пуассона/Poisson's ratio | m | 0,3 |
Длина колоны, м/Column length, m | L | 50, 100…300, |
Плотность перекачиваемой жидкости ρ, кг/м3/Pumped liquid density, kg/m3 | r | 1000 |
Динамическая вязкость воды, МПа·с/Water dynamic viscosity, MPa·s | h | 1,002 |
Давление на устье скважины, МПа/ Pressure at the wellhead, MPa | Pуст | 1 |
Диаметр внутренней стенки корпуса удлинителя, мм/Diameter of the inner wall of the extension housing, mm | dк.в | 135 |
Тип упругого элемента удлинителя | - | Кольцевая Ring spring |
Высота кольца, мм/Ring height, mm | Hк | 20 |
Зазор между торцами колец, мм/Gap between the ends of the rings, mm | е | 10 |
Число колец пружины, включая опорные, шт/Number of spring rings, including support ones, pcs. | n | 101 |
Зазор между внутренним диаметром пружины и НКТ, мм | s | 3 |
Угол между контактной поверхностью и осью пружины, град | b | 17 |
Наружный диаметр пружины без нагрузки, мм/Outer diameter of the spring without load, mm | Dпр.н | 133 |
Внутренний диаметр пружины без нагрузки, мм/Inner diameter of the spring without load, mm | dпр.вн | 120 |
Диаметр, проходящий через центр масс наружного кольца, мм | Dн | 129 |
Диаметр, проходящий через центр масс внутреннего кольца, мм | dв | 124 |
Материал пружины/Spring material | - | 65С2ВА |
Модуль упругости материала пружины, МПа/Spring material modulus of elasticity, MPa | Е | 2,1×105 |
Предел текучести, МПа/Yield strength, MPa | σт | 1370 |
Коэфициент трения (сталь по стали)/Friction coefficient (steel on steel) | f | 0,16 |
Под действием осевого усилия наружные кольца испытывают деформацию растяжения, внутренние – сжатия [33].
Растягивающее напряжение в наружном кольце рассчитывается по формуле:
где Fн – площадь сечения наружного кольца, м; b – угол между контактной поверхностью и осью пружины, град; φ – угол трения, град.
Аналогично рассчитываются напряжения сжатия во внутреннем кольце:
Увеличение диаметра наружного кольца:
где Dн – диаметр, проходящий через центр масс наружного кольца, м; E – модуль упругости материала пружины, МПа.
Уменьшение диаметра внутреннего кольца:
где dв – диаметр, проходящий через центр масс внутреннего кольца, м.
Осевое перемещение наружного кольца относительно внутреннего рассчитывается по формуле:
(2)
При равенстве сечений наружного и внутреннего колец (Fн+Fв=F), иначе говоря, при равенстве абсолютных величин напряжений в наружном и внутреннем кольцах (σр = σсж = σ) формула (2) приобретает вид:
где Dср – средний диаметр пружины, м.
Полная осадка пружины под действием осевого усилия с учетом того, что опорные кольца участвуют в работе пружины, упруго сжимаясь под действием нагрузки:
(3)
где i – общее число колец пружины, включая опорные.
Если опорные кольца – внутренние и плотно центрированы в тарелках пружины, то есть лишены возможности сжиматься, то формула (3) принимает следующий вид:
В результате расчета деформации колонны НКТ и удлинителя колонны НКТ, согласно исходным данным таблицы, получен график (рис. 7).
Анализ полученных данных (рис. 7) показывает, что сообщение самоочищающемуся фильтру возвратно-поступательного движения с целью очистки его фильтроэлемента при небольших глубинах водопонижающих скважин возможно с применением удлинителя колоны НКТ, который обеспечивает необходимое удлинение колонны НКТ и управляемое возвратно-поступательного перемещение самоочищающегося фильтра внутри скважины относительно эксплуатационной колонны.
Изменение устьевого давления в НКТ за счет перекрытия задвижки на поверхности может привести к гидравлическому удару, т. е. к кратковременному, но резкому и сильному повышению давления в трубопроводе при внезапном торможении двигавшегося по нему потока жидкости.
Повышение давления при гидравлическом ударе рассчитывается по формуле Жуковского [34]:
(4)
где ΔPуд – повышение давления, Па; ρ – удельная плотность жидкости, кг/м3; Δv – произошедшее изменение скорости (скорость до закрытия задвижки), м/с; с – скорость распространения ударной волны, м/с.
Рис. 7. График зависимости величины деформации колонны НКТ и удлинителя НКТ от глубины водопонижающей скважины при Pуст=1 МПа: 1 – деформация колонны НКТ; 2 – деформация удлинителя колонны НКТ; 3 – общая деформация колонны и удлинителя колонны НКТ
Fig. 7. Graph of the dependence of the deformation value of the tubing string and the tubing extension on the depth of the dewatering well at a wellhead pressure of 1 MPa: 1 – deformation of the tubing column; 2 – deformation of the tubing column extension; 3 – general deformation of the column and the tubing column extension
Скорость распространения волны гидравлического удара, определяется по формуле Корвега–Жуковского [35]:
, (5)
где Еж – модуль объемной упругости жидкости, Па, для воды Еж=2060×106 Па.
В результате расчета по формулам (4), (5) получены значения скорости распространения ударной волны с=1343 м/с и повышения давления при гидравлическом ударе ΔPуд=1,18 МПа.
В предлагаемой компоновке УЭЦН (самоочищающийся фильтр+удлинитель колонны НКТ) в колонну насосно-компрессорных труб включен податливый элемент (демпфер), который деформируется при изменении давления в трубопроводе, тем самым гасит ударную волну. К тому же мгновенное закрытие задвижки в реальных условиях невозможно, что уменьшает максимальное повышение давления по сравнению с теоретическим значением, полученным расчетным путем. Поэтому вероятность разрушения трубопровода или элементов УЭЦН вследствие гидроудара в рассматриваемой ситуации близка к нулю, что и подтверждается практикой работы скважинных насосных установок в условиях горных предприятий.
Заключение
В статье рассмотрена задача снижения обводненности пород на предприятиях, ведущих открытую разработку месторождений полезных ископаемых, и повышения наработки насосного оборудования водопонижающих скважин, функционирующего в условиях интенсивного гидроабразивного изнашивания. Наиболее простым, часто используемым и рентабельным способом защиты погружных скважинных насосов от гидроабразивного износа является применение фильтров. Однако время их эффективной работы ограничено малой грязеёмкостью фильтроэлементов.
Авторами предложено и обосновано решение задачи по повышению наработки УЭЦН в водопонижающих скважинах, осложненных интенсивным выносом частиц механических примесей, посредством применения самоочищающихся фильтров оригинальной конструкции. Возможность самоочистки фильтра позволяет восстановить проницаемость фильтроэлемента и продолжить эксплуатацию УЭЦН без проведения спускоподъемных операций, требующих значительных временных и материальных затрат.
Перспективным направлением развития привода для самоочищающихся фильтров является использование деформации НКТ. Характерные для водопонижающих скважин небольшие глубины обуславливают недостаточные для очистки фильтроэлемента величины возвратно-поступательных перемещений. Авторами предложено использование удлинителя колонны НКТ оригинальной конструкции, который обеспечит необходимое управляемое возвратно-поступательное перемещение самоочищающегося фильтра относительно эксплуатационной колонны скважины.
Об авторах
Дмитрий Игоревич Шишлянников
Пермский национальный исследовательский политехнический университет
Email: dish844@gmail.com
ORCID iD: 0000-0002-7395-6869
доктор технических наук, профессор, доцент кафедры горной электромеханики
Россия, 614990, Пермь, Комсомольский пр., 29Вадим Кириллович Картавцев
Пермский национальный исследовательский политехнический университет
Email: vadk10@yandex.ru
ORCID iD: 0009-0008-5379-7726
инженер кафедры горной электромеханики
Россия, 614990, Пермь, Комсомольский пр., 29Дмитрий Александрович Ситников
Пермский национальный исследовательский политехнический университет
Автор, ответственный за переписку.
Email: stdm2023@mail.ru
ORCID iD: 0009-0003-4909-7886
лаборант кафедры горной электромеханики
Россия, 614990, Пермь, Комсомольский пр., 29Юрий Григорьевич Коротков
Пермский национальный исследовательский политехнический университет
Email: youuura@yandex.ru
ORCID iD: 0009-0002-9465-5819
аспирант кафедры горной электромеханики
Россия, 614990, Пермь, Комсомольский пр., 29Анна Анатольевна Иванченко
Пермский национальный исследовательский политехнический университет
Email: anna_ivanchenko94@mail.ru
ORCID iD: 0009-0005-9667-2606
старший преподаватель кафедры горной электромеханики
Россия, 614990, Пермь, Комсомольский пр., 29Список литературы
- Мироненко В.А., Фисенко Г.Л. Руководство по дренированию карьерных полей. – Л.: Изд-во ВНИМИ,1968–1970. – Т. 3. – 171 с.
- Мироненко В.А., Фисенко Г.Л. Дренаж карьерных полей. – М.: Недра, 1972. – 184 с.
- Эффективность функционирования карьерного экскаватора, как эргатической системы / Д.А. Шибанов, С.Л. Иванов, Е.И. Шешукова, Е.С. Недашковская // Горный информационно-аналитический бюллетень. – 2023. – № 11-1. – С. 144–158. doi: 10.25018/0236_1493_2023_111_0_144
- Абдельвахаб А., Михайлов А.В. Влияние железорудной пыли на изнашивание поверхности штоков гидроцилиндров карьерного экскаватора // Горный информационно-аналитический бюллетень. – 2023. – № 111. – С. 5–23. doi: 10.25018/0236_1493_2023_111_0_5.
- К проблеме совершенствования рабочего инструмента горных выемочных машин / В.В. Габов, Д.А. Задков, Нгуен Ван Суан, М.С. Хамитов, В.В. Молчанов // Горный информационно-аналитический бюллетень. – 2022. – № 6-2. – С. 205–222. doi: 10.25018/0236_1493_2022_62_0_205.
- Sudarikov A., Muratbakeev E., Zvonarev I. Modeling of mine workings intersections in KOMPAS 3D program // Journal of Physics: Conference Series. – 2019. – Vol. 1333 (8). – № 082012. doi: 10.1088/1742-6596/1333/8/082012.
- Effect of gas presence on erosive wear of split-vane electrical submersible pump / G. Morrison, Yi Chen, D. Steck, Yiming Chen, Changrui Bai, Abhay Patil // Texas A&M University, College Station, TX 46th Turbomachinery & 33rd pump symposia. – Houston, Texas, 2017. – P. 80–86.
- Липницкий Н.А., Огородников Р.Г., Устинова Я.В. Создание имитационной модели работы подземных усреднительных складов руды рудника сложноструктурных соляных месторождений // Горный информационно-аналитический бюллетень (научно-технический журнал). – 2023. – № 1. – С. 142–158. doi: 10.25018/0236_1493_2023_1_0_142.
- Mathematical simulation of transient operation modes of an electric drive of a centrifugal pump for a slurry pipeline / A. Korzhev, O. Bolshunova, I. Voytyuk, A. Vatlina // Scientific Conference on Energy, Environmental and Construction Engineering-2019. – 2019. – Vol. 140. doi: 10.1051/e3sconf/201914004012.
- The influence of technological changes in energy efficiency on the infrastructure deterioration in the energy sector / M. Shabalov, Yu. Zhukovskiy, A. Buldysko, B. Gil, V. Starshaia // Energy Reports. – 2019. – Vol. 7. – P. 2664–2680. doi: 10.1016/j.egyr.2021.05.001.
- Исследование гидроабразивного износа рабочих ступеней скважинных электроцентробежных насосов, перекачивающих жидкости с высоким содержанием механических примесей / Д.И. Шишлянников, С.А. Лавренко, В.Ю. Зверев, А.К.Муравский, А.Ю. Микрюков // Горный информационно-аналитический бюллетень. – 2023. – № 7. – С. 5–20. doi: 10.25018/0236_1493_2023_7_0_5.
- Изучение особенностей кинетики процесса получения окатышей из красного шлама в потоке водорода / А.А. Халифа, В.Ю. Бажин, Я.В. Устинова, М.Э.Х. Шалаби // Записки Горного института. – 2022. – Т. 254. – С. 261–270. doi: 10.31897/PMI.2022.18.
- Multiphase-flow modeling based on experimental testing: an overview of research facilities worldwide and the need for future developments / G. Falcone, C. Teodoriu, K. Reinicke, O. Bello // SPE Projects, Facilities & Construction. – 2008. – Vol. 3. – P. 1–10. doi: 10.2118/110116-PA.
- Vasilyeva M.A. Modeling of wave processes when the heterogeneous flow is moving in a low-frequency magnetic peristaltic pump of pulsating type // Vibroengineering Procedia. – 2019. – № 25. – P. 111–115. doi: 10.21595/vp.2019.20751.
- Experimental investigation on the performance of Electrical Submersible Pump (ESP) operating with unstable water/oil emulsions / N. Bulgarelli, J. Biazussi, W. Monte Verde, C. Perles, M. Castro, A. Bannwart // Journal of Petroleum Science and Engineering. – 2021. – Vol. 197. doi: 10.1016/j.petrol.2020.107900.
- Device for integrated diagnostics of mining machines triboelements / I. Gorlov, S. Ivanov, V. Knyazkina, D. Iakupov // International Conference on Innovations, Physical Studies and Digitalization in Mining Engineering, E3S Web of Conferences 326, 00001. – 2021. doi: 10.1051/e3sconf/202132600001.
- Iakovleva E., Sychev Yu. The complex system of power quality control and improvement for minimization of deleterious effect on environment in conditions of oil production enterprises // Journal of Ecological Engineering. – 2017. – Vol. 18. – № 3. – P. 43–47. DOI: 10. 12911/22998993/69356.
- Flow visualization in centrifugal pumps. A review of methods and experimental studies / R. Perissinotto, W. Monte Verde, J. Biazussi, N. Bulgarelli, W. Fonseca, M. Castro, E. Franklin, A. Bannwart // Journal of Petroleum Science and Engineering. – 2021. – Vol. 203. doi: 10.1016/j.petrol.2021.108582.
- Public-private partnership as a tool of sustainable development in the oil-refining sector: Russian case / I. Filatova, L. Nikolaichuk, D. Zakaev, I. Ilin // Sustainability (Switzerland). – 2021. – Vol. 13. – № 9. doi: 10.3390/su13095153.
- Fossil energy in the framework of sustainable development: analysis of prospects and development of forecast scenarios / Yu. Zhukovskiy, D. Batueva, A. Buldysko, B. Gil, V. Starshaia // Energies. – 2021. – Vol. 14. doi: 10.3390/en14175268.
- Vasilyev V., Kholmskiy A., Sankovsky A. Determination of main vertical ore-lift shaft location in two planes // IOP Conference Series: Earth and Environmental Science. – 2018. – Vol. 194. – № 8. doi: 10.1088/1755-1315/194/8/082043.
- Ivanov S., Knyazkina V., Myakotnykh A. Recording gear-type pump acoustic signals for assessing the hydraulic oil impurity level in a hydraulic excavator transmission // International Conference on Innovations, Physical Studies and Digitalization in Mining Engineering, E3S Web of Conferences 326. – 2021. – № 00014. doi: 10.1051/e3sconf/202132600014.
- Фильтрующее скважинное устройство: пат. № 2543247, Российская федерация, С1; заявл. 12.02.2014, опубл. 27.02.2015, Бюл. № 6. – 10 с.
- Самоочищающийся скважинный фильтр: пат. № 2618248, Российская федерация, С1; заявл. 28.04.2016; опубл. 03.05.2017, Бюл. № 13. – 8 с.
- Самоочищающийся скважинный фильтр: пат. № 2338871, Российская федерация, С1; заявл. 09.01.2007; опубл. 20.11.2008, Бюл. № 32. – 8 с.
- Самоочищающийся фильтр для защиты УЭЦН: пат. № 2792939, Российская федерация, С1; заявл. 24.05.2022; опубл. 28.03.2023, Бюл. № 10. – 7 с.
- Самоочищающийся скважинный фильтр и способ его промывки без извлечения: пат. № 2789218, Российская федерация, С1; заявл. 21.02.2022; опубл. 31.01.2023, Бюл. № 4. – 14 с.
- Щелевой фильтр: пат. № 2807658, Российская федерация, С1; заявл. 11.07.2023, опубл. 21.11.2023, Бюл. № 33. – 11 с.
- Компенсатор термобарических изменений длины колонны труб с гашением продольных колебаний: пат. № 2566352, Российская федерация, С1; заявл. 17.06.2014, опубл. 27.10.2015, Бюл. № 30. – 8 с.
- Пакерное оборудование для ремонта, эксплуатации и освоения скважин, каталог продукции, ООО «Югсон-Сервис». – 2021–2022. – 77 с. URL: https://www.yugson.ru/FILES/fl392_5.pdf (дата обращения 10.03.2024).
- Удлинитель колонны насосно-компрессорных труб: пат. № 2811050, Российская федерация, С1; заявл. 27.03.2023, опубл. 10.01.2024, Бюл. № 1. – 12 с.
- РД 39-1-306-79. Инструкция по расчету колонн насосно-компрессорных труб / сост. А.Е. Сароян, С.А. Уланова, В.И. Белоцерковский, В.Ф. Кузнецов, В.Н. Пчелкин. – Куйбышев: Всесоюзный научно-исследовательский институт разработки и эксплуатации нефтепромысловых труб, 1980. – 84 с.
- Орлов П.И. Основы конструирования / под ред. П.Н. Учаева. Кн. 2. – М.: Машиностроение, 1988. – 542 с.
- Альтшуль А.Д., Киселев П.Г. Гидравлика и аэродинамика (основы механики жидкости). 2-е изд., перераб. и доп. – М.: Стройиздат, 1975. – 326 с.
- Ловкис Э.В., Бердышев В.Е. и др. Гидравлика и гидравлические машины. – М.: Колос, 1995. – 303 с.
Дополнительные файлы









