Development of vibration protection system with quasi-zero stiffness and adjustable parameters
- Authors: Kuvshinov K.A.1, Gavrilin A.N.1, Moyzes B.B.1, Nizhegorodov A.I.2, Kuznetsov M.A.1
-
Affiliations:
- National Research Tomsk Polytechnic University
- Irkutsk National Research Technical University
- Issue: Vol 335, No 9 (2024)
- Pages: 115-127
- Section: Articles
- URL: https://journals.rcsi.science/2500-1019/article/view/268785
- DOI: https://doi.org/10.18799/24131830/2024/9/3584
- ID: 268785
Cite item
Full Text
Abstract
Relevance. While performing the operation processes, the technological equipment emits vibration. Vibration is a consequence of increased dynamic loads in structural elements and interfaces between systems and their elements. The development of fatigue damage can significantly accelerate. Therefore, the solution of the problems related to reducing vibration levels is always relevant. Each type of protective system has a linear law of changing the stiffness. This does not allow the effective damping of low-frequency vibrations. Thus, the information review demonstrates the future of the research according to the creation of the vibration protection systems, constantly improving their parameters in the following aspects: minimizing overall dimensions and number of parts; increasing reliability, especially in resonant mode; providing the ability to operate in modes with low stiffness. The last factor determines the good damping of vibration emitted by the source.
Aim. To study the possibility of the vibration protection system development with quasi-zero stiffness with the ability to effectively dampen low-frequency vibrations.
Methods. Information and analytical review in the field of the research, search for the constructive solutions, preliminary design calculations and 3D modeling, description of the device being developed and its operating principles.
Results. The research presents the results of development of the vibration protection system with quasi-zero stiffness and a fragment of an information review of existing vibration protection systems. The authors indicated the main shortcomings specific to all vibration protection systems: relatively large sizes, large number of elements, insufficient operating frequency range. The authors proposed a constructive solution for creating a vibration damping system with a nonlinear law of change in stiffness. This solution allows eliminating the above shortcomings and providing the possibility of effective damping of low-frequency vibrations. The authors created the method for calculating the constructive parameters of a vibration damping system. An example of calculation is given in the paper. This system differs from existing vibration protection devices in its low stiffness and small dimensions, and a wide operating frequency range of vibration damping. The efficiency of the system operating with nonlinear and quasi-zero stiffness is proved.
Full Text
Введение
Работа технических систем сопровождается вибрационными процессами. Данные процессы приводят к повышенным динамическим нагрузкам, действующим на конструктивные элементы систем, значительно снижающим несущую способность конструкций и приводящим к появлению усталостных разрушений. В связи с этим решение задачи снижения уровня вибрации всегда актуально. Одно из направлений решения данных проблем – разработка и применение систем вибрационной защиты.
По возможности управления параметрами вибрации различают активные вибрационные защитные системы и пассивные. Управление вибрационными параметрами возможно только в активных и пассивных системах в соответствии с ГОСТ 26568-85 «Вибрация. Методы и средства защиты. Классификация».
Активные виброзащитные системы предназначены для обеспечения максимальной неподвижности объекта виброзащиты в фазе, противоположной фазе вибрирующего основания. Применение систем данного типа ограничено их конструктивной сложностью, обуславливающей пониженную надежность при эксплуатации.
Пассивные системы виброзащиты основаны на применении пассивных элементов: упругих, диссипативных, инерционных [1–3].
Рассмотрим примеры пассивных виброзащитных систем: пружинный вибрационный изолятор с демпфером [1], динамический вибрационный гаситель [2], вибрационный изолятор для технологического оборудования [3–5].
Пружинный виброизолятор [1] относится к подвесным виброизолирующим системам, при создании которых требование к габаритным размерам является второстепенным. Поэтому он имеет относительно большие габариты, а для опорных систем защиты от вибрации требования по минимизации размеров является важным.
Данный динамический виброгаситель [2] имеет достоинства – повышение точности регулирования частоты собственных колебаний по сравнению с другими устройствами. При этом можно отметить перспективность расширения рабочих частот, а также добавление возможности настройки при непрерывном вращении вала устройства.
Недостатком виброизолятора для технологического оборудования [3, 4] является то, что на резонансных частотах гашения вибрации не происходит из-за отсутствия демпфирования колебаний.
Применение виброизолятора [3] существенно ограничено его неспособностью гасить колебания в технологических системах при их работе в резонансных режимах.
Общим недостатком для вышеперечисленных виброзащитных систем является линейный закон изменения жесткости, что не позволяет эффективно демпфировать низкочастотные колебания.
Фрагменты приведенного информационного обзора демонстрируют перспективность дальнейшей работы по созданию систем вибрационной защиты. При проектировании данных систем необходимо стремится к минимизации габаритных размеров и количества деталей, к постоянному повышению надежности, особенно в резонансном режиме. Желательно предусмотреть возможность работы на режимах с малой жесткостью. В данном случае хорошо гасятся излучаемые источником вибрации.
Системы защиты от вибрации с квазинулевой жесткостью
Системы защиты от вибрации с квазинулевой жесткостью [6–9] являются активными и пассивными [10].
Рис. 1. Жесткостная характеристика виброзащитных систем: 1 – нелинейная; 2 – линейная; 3 – квазинулевая; х1, х2 – значения деформации упругих элементов
Fig. 1. Stiffness characteristic of vibration protection systems: 1 – non-linear; 2 – linear; 3 – quasi-zero; х1, х2 – deformation values of elastic elements
На рис. 1 представлен график с различными участками силовой характеристики систем данного типа – линейной, нелинейной, квазинулевой. Все эти участки существуют в момент, когда упругие элементы виброзащитной системы являются деформированными на величины х1, х2.
Рассмотрим участок АВ, лежащий на квазинулевой силовой характеристике 3, который характеризуется постоянной величиной вертикальной силы, воздействующей на систему. При этом коэффициент жесткости на участке АВ будет стремиться к нулю. Участок AB – участок, имеющий квазинулевую жесткость, наличие которой обусловлено результатом сложения жесткостей на участках KL и CD, соответственно, линейной и нелинейной.
На графике рис. 1 видно, что участок силовой характеристики AB расположен под углом φ к горизонтальной оси ΔХ. Значение угла φ стремится к нулю, при этом жесткость системы на участке АВ также стремится к нулю, поэтому участок АВ является силовой характеристикой виброзащитной системы с квазинулевой жесткостью. Данный факт объясняется нахождением системы на данном участке в статическом равновесии, когда жесткость вертикального упругого элемента значительно больше жесткости системы, благодаря чему реализовывается возможность гашения вибрации в широком диапазоне частот.
Принцип работы системы с квазинулевой жесткостью представлен на рис. 2.
При силовом воздействии F на систему ее подвижные элементы меняют свое положение (рис. 2, а). В результате данного силового воздействия (рис. 2, б) подвижные элементы системы занимают симметричное относительно опор положение (рис. 2, в). Нагрузка примет максимальное значение в горизонтальном положении пружин (рис. 2, б).
Рис. 2. Схемы положения упругих элементов при силовом воздействий на них: а) начальное; б) промежуточное; в) конечное; с₁, с₂ – коэффициенты жесткости упругих элементов
Fig. 2. Schemes of the elastic elements position under force: а) initial; b) intermediate; c) final; с₁, с₂ – stiffness coefficients of elastic elements
Анализ источников информации, посвященных исследованию виброзащитных систем [5–18], в том числе и с квазинулевой жесткостью [5–9], продемонстрировал, что оценку эффективности гашения колебаний можно провести по значению коэффициента виброизоляции Kx.
Рис. 3. Значения коэффициента виброизоляции Kx
Fig. 3. Vibration isolation coefficient Kx
Для наглядности результатов анализа можно привести зависимости значений коэффициентов виброизоляции Kx [5] от частоты для двух типов систем – с линейной жесткостной характеристикой и квазинулевой жесткостью (рис. 3).
Защита от вибрации будет эффективна при значении коэффициента Kx<0 dB, таким образом частотный диапазон эффективной работы виброзащитной системы с квазинулевой жесткостью больше, чем у системы с линейной жесткостной характеристикой – сплошная характеристика раньше прерывистой переходит в отрицательную зону.
Виброзащитная система с квазинулевой жесткостью
Творческим коллективом Томского политехнического университета в ходе разработки предложена принципиальная схема виброзащитной системы на основе виброгасителя с квазинулевой жесткостью и гидравлической схемы питания (рис. 4).
Промежуточная масса виброгасителя – 1 установлена на полке – 2, связанной шарнирами – 3 со стаканами – 4. Стаканы – 4 соединены с направляющими – 5 шарнирами – 3. Полка – 2 располагается относительно основания – 5 на рукаве высокого давления – 19.
Рис. 4. Принципиальная схема работы виброзащитной системы с квазинулевой жесткостью
Fig. 4. Schematic diagram of the operation of a vibration protection system with quasi-zero stiffness
Рукав высокого давления (шланг) – 19 с жесткостью с2, расположенный между основанием – 20 и полкой – 2, связан трубопроводом – 21 с параллельно соединенными обратном клапаном – 22 и регулируемым дросселем – 23 и далее – с вентилем – 24 и с гидропневмоаккумулятором – 25.
Шланги – 6 с жесткостью с1 размещены внутри стаканов – 4. Они скоммутированы с гидропневмоаккумулятором – 9 через трубопровод – 7 и вентиль – 8.
Через вентиль – 8 идет соединение гидравлических элементов системы с системой формирования среднего давления рабочей жидкости, состоящей из предохранительного клапана – 10, манометра – 11, фильтра – 12, насоса – 13 и бака с рабочей жидкостью – 14.
Гидропневмоаккумуляторы – 9 и 25 подключены к системе создания среднего давления газа через вентили – 15 и 26, обратный – 16 и предохранительный – 17 клапан. Манометром – 18 контролируется давление в системе.
Система управления – 27 с датчиком – 28 предназначена для регулирования параметров виброзащитной системы в зависимости от исходных значений вибрации, с целью снижения уровня вибрации до оптимального уровня.
Система управления – 27 работает следующим образом, с датчика – 28 на систему управления – 27 поступает информация о параметрах вибрации, при этом происходит коррекция параметров (давления, расхода жидкости и др.) управляющих элементов под возникающие параметры вибрации.
Перед началом работы в зависимости от амплитуды и частоты вибрации поочередно настраивают давление в шлангах – 6 и 19, которое может быть различным, посредством открытия/закрытия вентилей – 8 и 24. При этом насос – 13 из бака – 14 через фильтр – 12 подает рабочую жидкость под давлением, величина которого настраивается предохранительным клапаном – 10. Контроль величины давления осуществляют манометром – 11.
В зависимости от значений средних давлений рабочей жидкости в шлангах – 6 и 19 поочередно настраивают давление газа в гидропневмоаккумуляторах – 9 и 25 путем открытия/закрытия вентилей – 15 и 26. Газ поступает в гидропневмоаккумуляторы через обратный клапан – 16. Предохранительный клапан – 17 служит для настройки давления газа на требуемое значение, контролируемое манометром – 18.
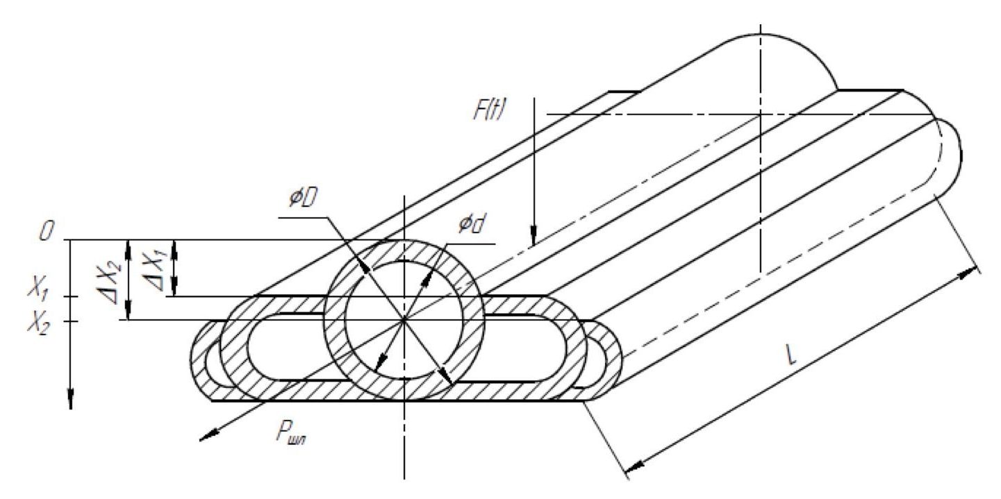
Принцип действия виброгасителя с квазинулевой жесткостью (рис. 5) заключается в следующем. Вертикальная нагрузка F(t) воздействует на основание – 20 через промежуточную массу – 1, шланги – 6 и 19.
При силовом воздействии F(t) шланги – 6 и 19 деформируются (рис. 5).
Рис. 5. Положения подвижных элементов вибрационного гасителя: а) исходное; б) промежуточное с координатами «0…ΔХ₁»; в) промежуточное с координатами «ΔХ₁…ΔХ₂»
Fig. 5. Positions of the moving elements of the vibration damper: а) initial; b) intermediate with coordinates «0…ΔХ₁»; c) intermediate with coordinates «ΔХ₁…ΔХ₂»а/a б/b
При деформации шланга – 19 рабочая жидкость поступает в гидропневмоаккумулятор – 25, площадь контакта шланга с полкой – 2 и основанием – 20 увеличивается (рис. 6) [16–18]. Шланг будет деформироваться до уравновешивания воздействия силы F(t) силой, сформированной давлением в шланге – 19 [19–28].
Рис. 6. Упругая деформация шланга
Fig. 6. Hose elastic deformation
Одновременно с этим деформируются и меняют положение шланги – 6 в стаканах – 4, гася колебания. Величина деформации шлангов – 6 увеличивается в координатах «0…ΔХ1» (рис. 5, б). Также изменяется их угловое положение на определенный угол φ (рис. 5, а). При этом возникает участок с квазинулевой жесткостью.
Рабочая жидкость из шланга – 6 поступает в гидропневмоаккумулятор – 9 до тех пор, пока давление в шлангах – 6 не станет равным давлению в гидропневмоаккумуляторе – 9.
После снятия нагрузки F(t) рабочая жидкость из гидропневмоаккумуляторов – 9 или – 25 поступает обратно в шланги – 6 и 19.
В процессе упругой деформации шлангов энергия силового воздействия гасится. Процесс демпфирования будет повторяться при повторных силовых воздействиях [29, 30].
Эффективный диапазон гашения частот вибрации определяется двумя факторами:
- величиной давления в гидропневмоаккумуляторах – 9 и 25, формирующей жесткость шлангов – 6 и 19;
- величиной регулирования площади проходного сечения дросселя – 23, задающей темп поглощения энергии устройством.
Система управления – 27 формирует требуемый алгоритм функционирования вентилей – 8, 15, 24, 26, насоса – 13, предохранительных клапанов – 10, 17, дросселя – 23 и акселерометра – 28.
Методика расчета конструктивных параметров виброгасителя
Рассмотрим созданную методику расчета на основе анализа приведенных схем (рис. 5, 6).
Усилие, действующее на полку – 2 виброзащитной системы, определится:
- в начальном положении (рис. 4, а):
в координатах «0…ΔХ1» (рис. 4, б):
в координатах «ΔХ1…ΔХ2» (рис. 4, в):
,
где с1, с2 – жесткость шлангов – 6 и 19; Δх1, Δх2 – величина упругой деформации шлангов – 6 и 19.
Сила тяжести промежуточной массы, которая действует на шланг:
.
Жесткость шланга:
,
где СшL – собственная жесткость шланга на длине L; CP0 – жесткость, обусловленная предварительным давлением в рукаве P0; CDF – жесткость, обусловленная увеличением площади контакта при силовом воздействии на шланг.
Собственная жесткость шланга на длине L
,
где Сш – жесткость шланга в сечении; L – длина шлангов.
Жесткость, обусловленная предварительным давлением в рукаве
.
Жесткость, обусловленная увеличением площади контакта
.
где W – действительный объем жидкости в шлангах; β – коэффициент сжимаемости жидкости; Δx2 – величина упругой деформации шланга.
Для определения жесткости CDF рассмотрим силовое воздействие на шланги (статическое или динамическое), в результате которого возникает сила упругости, противодействующая силе тяжести:
где Δx – изменение координаты деформации рукава высокого давления
.
На шланги со стороны груза действует давление [10]:
,
где S – площадь контакта полки – 2 со шлангами.
Коэффициент сжимаемости жидкости [10]:
,
где ΔW – изменение объема жидкости; ΔP – изменение давления.
Объем жидкости в одном шланге в начальном состоянии:
(1)
где d – внутренний диаметр шланга.
Отсюда следует:
Для расчета величины изменения объема рабочей жидкости в шланге перепишем предыдущую формулу:
, (2)
Для определения объема жидкости в шланге необходимо рассмотреть разность между (1) и (2):
Для данной системы собственная частота колебаний определяется по формуле:
.
Для проектирования эффективной виброзащитной системы необходимо учесть условие:
.
Отсюда выразим частоту внешнего воздействия
.
Сила трения определяется коэффициентом трения и скоростью деформации шланга:
,
где α – коэффициент трения; – скорость деформации шланга.
Расход рабочей жидкости в шланге
,
где – площадь поперечного сечения шланга; D – внешний диаметр шланга (рис. 6)
По результатам разработанной методики расчета составлена блок схема параметров виброзащиты для гашения вибрационного воздействия в источнике при силовом вибрационном возбуждении (рис. 7).
Рис. 7. Блок-схема расчета параметров виброзащиты для гашения вибрационного воздействия в источнике при силовом вибрационном возбуждении
Fig. 7. Block diagram for calculating vibration protection parameters for damping the vibration effect in the source under force vibration excitation
Данный алгоритм позволит в дальнейшем составить программу для автоматического расчета параметров системы. 3D-модель виброзащитной системы с квазинулевой жесткостью
После расчетов, позволивших определить основные функциональные параметры разрабатываемой системы, была создана 3D-модель системы (рис. 8, а–в) и виброгасителя (рис. 8, а–в), которая позволили получить предварительное представление об элементом составе устройств, геометрическом исполнении элементов и их размерах, включая габаритные, всей системы, пространственном расположении элементов, процессе сборки и т. д.
Рис. 8. 3D-модель устройства: а) общий вид виброзащитной системы с квазинулевой жесткостью; б) вид сверху на систему управления; в) вид изнутри системы управления; г) вид виброгасителя с квазинулевой жесткостью в разрезе; 1 – электрический двигатель; 2 – корпус гидравлической насосной станции; 3 – маслоуказатель; 4 – пробка масляной заливной горловины; 5 – пробка сливная; 6 – гидропневмоаккумулятор; 7 – обратный клапан; 8 – основание; 9 – корпус виброгасителя; 10 – рым болты; 11 – вентиль; 12 – манометр; 13 – предохранительный клапан; 14 – аксиально-поршневой насос; 15 – фильтр; 16 – дроссель; 17 – обратный клапан; 18 – промежуточная масса; 19 – полка; 20 – шарниры; 21 – стаканы; 22, 23 – шланги
Fig. 8. 3D model of the device: a) general view of the vibration protection system with quasi-zero stiffness; b) top view of the control system; c) view from inside the control system; d) sectional view of a vibration damper with quasi-zero stiffness; 1 – electric motor; 2 – housing of the hydraulic pumping station; 3 – oil indicator; 4 – stopper of an oil jellied mouth; 5 – drain plug; 6 – hydropneumatic accumulator; 7 – check valve; 8 – base; 9 – vibration damper body; 10 – eye bolts; 11 – valve; 12 – manometer; 13 – safety valve; 14 – axial piston pump; 15 – filter; 16 – throttle; 17 – check valve; 18 – intermediate mass; 19 – shelf; 20 – hinges; 21 – glasses; 22, 23 – hoses
Сам принцип действия системы подробно описан выше.
Возможно два варианта исполнения виброгасителя с квазинулевой жесткостью: с четырьмя шарнирами и с двумя шарнирами (рис. 9).
Рис. 9. Варианты исполнения виброгасителя с квазинулевой жесткостью: а) с четырьмя шарнирами; б) с двумя шарнирами
Fig. 9. Versions of the vibration damper with quasi-zero stiffness: а) with four hinges; b) with two hinges
На рис. 9 представлены соединения шарниров – 20 со стаканами – 21. В первом варианте (рис. 9, а) установлено четыре соединения шарниров – 20 со стаканами – 21, во втором – два соединения шарниров – 20 со стаканами – 21 (рис. 9, б). Выбор варианта конструктивного исполнения зависит от требуемых направлений демпфирования вибраций:
- в любом направлении (рис. 9, а);
- вдоль установленных соединений шарниров – 20 со стаканами – 21 (рис. 9, б).
Заключение
В данной исследовательской работе приведен фрагмент информационного обзора существующих виброзащитных систем. По обобщенной информации сделан вывод о недостатках, характерных для всех систем: относительно больших размерах и большом числе элементов, недостаточном рабочем частотном диапазоне и других.
Авторами предложено конструктивное решение, позволяющее создать систему гашения колебаний c нелинейным законом изменения жесткости, который позволяет устранить приведенные выше недостатки.
Определено, что при значениях собственной частоты колебаний до 4 ГЦ виброгаситель с квазинулевой жесткостью будет эффективно демпфировать вибрацию.
В статье приведены результаты разработки системы защиты от вибрации, имеющей квазинулевую жесткость. Данная система удовлетворяет предъявляемым требованиям, описанным выше, и отличается от существующих виброзащитных устройств малой жесткостью и небольшими габаритами, широким рабочим частотным диапазоном гашения колебаний. Эффективность работы системы обоснована выше (рис. 3) и определяется сравнением величин коэффициентов виброизоляции системы с нелинейной с квазинулевой жесткостью с величинами других систем.
About the authors
Kirill A. Kuvshinov
National Research Tomsk Polytechnic University
Author for correspondence.
Email: kuvshinov@tpu.ru
Chief Lecturer
Russian Federation, 30, Lenin avenue, Tomsk, 634050Alexey N. Gavrilin
National Research Tomsk Polytechnic University
Email: gawral@tpu.ru
ORCID iD: 0000-0002-9205-2283
Dr. Sc., Professor
Russian Federation, 30, Lenin avenue, Tomsk, 634050Boris B. Moyzes
National Research Tomsk Polytechnic University
Email: mbb@tpu.ru
ORCID iD: 0000-0002-1938-1136
Cand. Sc., Associate Professor
Russian Federation, 30, Lenin avenue, Tomsk, 634050Anatoliy I. Nizhegorodov
Irkutsk National Research Technical University
Email: nastromo_irkutsk@mail.ru
Dr. Sc., Professor, Irkutsk National Research Technical University
Russian Federation, 83, Lermontov street, Irkutsk, 664074Maksim A. Kuznetsov
National Research Tomsk Polytechnic University
Email: bb1998boss@mail.ru
Student
Russian Federation, 30, Lenin avenue, Tomsk, 634050References
- Kochetov О.S. Spring vibration isolator with pendulum suspension. Patent RF, no. 2624130, 2017. (In Russ.)
- Kuzmin E.N., Аnikeev А.V., Zhiganov P.G. Dynamic extinguisher. Patent RF, no. 2101581, 1998. (In Russ.)
- Kochetov О.S. Vibration isolator for process equipment. Patent RF, no. 2624120, 2006. (In Russ.)
- Ismagilov M.R., Zotov А.N. Vibration-proof jackhammer handle. Patent RF, no. 2578299, 2016. (In Russ.)
- Comparative analysis of vibration protection systems. (In Russ.) Available at: http://vibro-lab.ru/sravnit-vibroizolyatori: (accessed 27 May 2024).
- Xie B., Sheng M. Ultralow-frequency band gap in a quasi-zero-stiffness multi-resonator periodic hybrid structure. Wave Motion, 2021, vol. 107, art. no. 102825.
- Cai C., Zhou J., Wu L., Wang K., Xu D., Ouyang H. Design and numerical validation of quasi-zero-stiffness metamaterials for very low-frequency band gaps. Composite Structures, 2020, vol. 236, art. no. 111862.
- Zhou J., Xiao Q., Xu D., Ouyang H., Li Y. A novel quasi-zero-stiffness strut and its applications in six-degree-of-freedom vibration isolation platform. Journal of Sound and Vibration, 2017, vol. 394, pp. 59–74.
- Sun X., Wang F., Xu J. Analysis, design and experiment of continuous isolation structure with Local Quasi-Zero-Stiffness property by magnetic interaction. International Journal of Non-linear Mechanics, 2019, vol. 116, pp. 289–301.
- Sveshnikov V.K., Usov А.А. Machine hydraulic drives: reference. Moscow, Mashinostroenie Publ., 1982. 464 p. (In Russ.)
- Oshmarin D.A., Iurlova N.A., Sevodina N.V., Iurlov M.A. Control of damping of structural vibrations by using different mechanisms of energy dissipation. Procedia Structural Integrity, 2021, vol. 32, pp. 158–165.
- Hu J., Wan D., Hu Y., Wang H., Jiang Y., Xue Y., Li L. A hysteretic loop phenomenon at strain amplitude dependent damping curves of pre-strained pure Mg during cyclic vibration. Journal of Alloys and Compounds, 2021, vol. 886, art. no. 161303.
- Ivanov S.E., Meleshkova Z., Mikalauskasi A., Ivanova L.N. Modeling of nonlinear vibration protection systems of mining machines. Procedia computer science, 2019, vol. 156, pp. 292–299.
- Varzhitckii L.A., Lazutkin G.V., Davydov D.P., Surkov O.S., Boyarov K.V. Non-linear vibration protection systems phase-frequency characteristics measurement method and its research for polyharmonic model of vibration signal. Procedia Engineering, 2017, vol. 176, pp 319–325.
- Lazutkin G.V., Davydov D.P, Varzhitskiy L.A., Boyarov K.V., Volkova T.V. Non-linear oscillations of mechanical systems with structure damping vibration protection devices. Procedia Engineering, 2017, vol. 176, pp. 334–343.
- Gavrilin A.N., Chuprin E.A., Moyzes B.B., Halabuzar E.A. Land-based sources of seismic signals. Proceedings of 2014 International Conference on Mechanical Engineering, Automation and Control Systems, MEACS (2014). 2014, art. no. 6986947. doi: 10.1109/MEACS.2014.6986947.
- Nizhegorodov A.I., Gavrilin A.N., Moyzes B.B., Cherkasov A.I., Zharkevich O.M., Zhetessova G.S., Savelyeva N.A. Radial-piston pump for drive of test machines. IOP Conf. Series: Materials Science and Engineering, 2018, vol. 289, no 1, art. no. 012014. doi: 10.1088/1757-899X/289/1/012014.
- Alabuzhev P.M., Gritchin A.A., Kim L.I. Vibration protection systems with quasi-zero rigidity. Leningrad, Mashinostroenie Publ., 1986. 96 р. (In Russ.)
- Harris C., Piersol A. Harris' shock and vibration handbook. New York, McGraw-Hill Professional, 2002. 1568 p.
- Tandon N., Nakra B. Vibration and noise engineering. New Delhi, I.K. International Publ. House Pvt. Ltd., 2017. 214 p.
- Steel grade guide. Ed. by А.S. Zubchenko. Moscow, Mashinostroenie Publ., 2003. 784 p. (In Russ.)
- Industrial minerals & rocks: commodities, markets, and uses. Ed. by J.E. Kogal. Littleton, Society for Mining, Metallurgy, and Exploration Inc., 2006. 1529 p.
- Handbook of a machine-building technologist. Eds. А.G. Kosilova, R.K. Meshheryakov. Moscow, Mashinostroenie Publ., 1986. 496 p. (In Russ.)
- Mechanical engineer's handbook. Ed. by Dan B. Marghitu. London, Academic Press, 2001. 876 p.
- Edward H.S. Mechanical engineer's reference book. Oxford, Butterworth-Heinemann, 2000. 1194 p.
- Czichos H. Handbook of technical diagnostics. Fundamentals and application to structures and systems. Berlin, Springer Verlag Berlin Heidelberg, 2013. 566 p.
- Lockhart B. Mechanical engineering reference manual. New York, NY Research Press, 2015. 206 p.
- Moyzes B., Gavrilin A., Kuvshinov K., Smyshlyaev A., Koksharova I. Using the vibration recorder mobile diagnostic complex for studying vibration processes. Material and Mechanical Engineering Technology, 2022, vol. 3, pp. 50–57.
- Nizhegorodov A.I., Gavrilin A.N., Moyzes B.B., Kuvshinov K.A. Hydraulic drive of vibration stand for testing the robotic systems units by random vibration method. IOP Conference Series: Materials Science and Engineering, 2019, vol. 516 (1), 012031.
- Ahirrao N.S., Bhosle S.P., Nehete D.V. Dynamics and vibration measurements in engines. Procedia Manufacturing, 2018, vol. 20, pp. 434–439.
Supplementary files











