Optimization of energy saving mode pumping of the main oil pipeline
- Authors: Nosikov N.А.1,2, Makarichev Y.A.2
-
Affiliations:
- TPP «RITEK-Samara-Nafta» LLC «RITEK»
- Samara State Technical University
- Issue: Vol 33, No 1 (2025)
- Pages: 76-88
- Section: Energy and Electrical Engineering
- URL: https://journals.rcsi.science/1991-8542/article/view/310311
- DOI: https://doi.org/10.14498/tech.2025.1.6
- EDN: https://elibrary.ru/RFKCCH
- ID: 310311
Cite item
Full Text
Abstract
The current task of increasing the energy efficiency of oil pumping stations (OPS) of main oil pipelines (MOP) is to reduce the consumption of electricity for pumping a unit of commercial product. Usually, this value is measured in kW*hours per ton of pumped oil. The value of specific energy consumption depends on many factors: the length of the oil pipeline, the rheological properties of the pumped oil, planned volumes, the pressure at the inlet and outlet of the oil pumping stations, and many other parameters.
For a separate section of the main oil pipeline and a fixed time period, usually during a month, many of the listed parameters change insignificantly or remain constant. For example, the properties of oil do not change during one month, since they are determined by a commercial contract.
An essential parameter determining specific power consumption is the pumping mode – the operating mode of the pumping units, determining their productivity and average power. Depending on the technological tasks, the operating modes are constantly changing in accordance with the specified schedule. As a rule, regulatory documents specify several fixed pumping modes. There can be from 5 to 10 such modes.
The task of optimizing pumping modes is to find the minimum of the objective function - specific electricity consumption for one calendar month of pipeline operation, provided that the pumping plan is met by optimally selecting the operating modes of the pumping station. The article describes the algorithm and results of the optimization calculation using the example of the operation of the «Transneft-Privolga» JSC oil pumping station, which made it possible to save on electricity costs while ensuring a given volume of oil pumping.
Full Text
Актуальность вопроса
Анализ влияния наиболее важных технологических параметров, характеризующих процесс транспортировки нефти, на потребление электроэнергии основным и вспомогательным оборудованием НПС приведен в [1]. Предложенная в статье математическая модель определяет электропотребление насосных станций в зависимости от объемов перекачиваемой нефти, значения входного и выходного напора в трубопроводе, физических свойств перекачиваемого продукта, а также от режима работы основного и вспомогательных комплексов электрооборудования. Математическая модель позволяет рассчитывать как суммарное потребление электроэнергии НПС, так и ее удельные, на единицу продукции, значения.
Кроме параметров, определенных в [1], нужно в обязательном порядке учесть режимы переключений отдельных насосных агрегатов с целью обеспечения требуемого технологического графика транспортировки нефти. Неизбежные процессы включения-выключения электродвигателей магистральных насосов сопровождаются повышенным потреблением электроэнергии, дополнительной нагрузкой на трансформаторные подстанции и вызывают снижение остаточного ресурса всего задействованного электрооборудования. Исследования, проведенные авторами на основе статистических данных работы НПС «Б. Черниговка» Самарского РНУ АО «Транснефть-Приволга», позволяют заложить основы алгоритма оптимального управления режимами работы НПС и за счет этого снизить удельные показатели расхода электроэнергии на перекачку единицы товарной продукции, что подтверждает важность и актуальность решения поставленной задачи.
Выявление потенциальных возможностей экономии и затрат на электроэнергию невозможно без оптимизации режимов работы НПС и сопряженного с ней участка нефтепровода [2, 5, 9, 11, 12, 14].
Режимы работы эксплуатационного участка нефтепровода
Суммарная установленная мощность электроприводов только одной насосной станции может составлять десятки мегаватт, что определяет годовое потребление электроэнергии в сотни миллионов кВтчас. Однако только часть этой энергии является полезно используемой. Анализ работы магистральных нефтепроводов показывает, что основной причиной, приводящей к перерасходу электроэнергии, является нерациональный выбор режимов работы насосных агрегатов [13, 14]. Регулирование работы насосов на всех НПС направлено на решение технологических задач и, как правило, не учитывает энергетических аспектов транспорта нефти.
В настоящее время регулирование производится несколькими методами. Наиболее часто встречающийся метод - ступенчатое регулирование, осуществляющееся посредством использования нескольких насосов с разными диаметрами рабочих колес. Суть метода заключается в удалении материала рабочего колеса для уменьшения его диаметра выхода D2. В свою очередь, результатом уменьшения диаметра является снижение напора и производительности насоса [5, 15, 16]. Следовательно, при обточке рабочего колеса кривая характеристики насоса понижается и при некотором значении D2 будет проходить через заданную режимную точку. У данного способа два очень существенных недостатка: во-первых, он применим только для стационарных режимов перекачки и при изменении режима неприменим; во-вторых, процесс обточки рабочего колеса необратим, для восстановления максимальной подачи необходимо иметь несколько рабочих колес с разными диаметрами. Замена рабочего колеса насоса сопряжена с остановкой агрегата и существенными затратами на ремонт, которые могут превысить получаемую выгоду от снижения потребления электроэнергии.
Дросселирование как метод регулирования производительности насосных агрегатов, несмотря на свою простоту, - самый неэффективный по затратам электроэнергии метод. До 10-25 % электроэнергии расходуется на непроизводительную работу агрегатов [17].
Наиболее энергоэффективным способом регулирования производительности насосных агрегатов с приводом от асинхронных и синхронных электродвигателей общепризнанно считается метод частотного регулирования. У этого способа есть много достоинств, включая возможность широкого регулирования производительности насосов, плавного пуска, исключающего гидравлические удары, высокий КПД во всем диапазоне частот. Единственным и основным недостатком метода остается высокая стоимость частотного преобразователя большой мощности, в несколько раз превышающая стоимость приводного электродвигателя [18].
Поэтому основным способом регулирования производительности участка магистрального нефтепровода в настоящее время остается дискретное регулирование за счет включения-отключения насосных агрегатов [18].
Для упорядочения режимов работы разрабатывается карта технологических режимов магистрального трубопровода [19]. В этом документе определяются все допустимые режимы работы насосных агрегатов. Таких режимов может быть несколько, и характеризуются они в зависимости от количества включенных агрегатов различной производительностью и, следовательно, различной мощностью потребляемой электроэнергии. Что важно, при этом меняется и удельная мощность потребления электроэнергии на единицу перекачанной нефти. В табл. 1 приведены в качестве примера данные для пяти режимов МТ «Гурьев - Куйбышев».
Таблица 1. Карта технологических режимов
Показатель | Номер варианта (режима) | ||||
1 | 2 | 3 | 4 | 5 | |
Pi, кВт | 4585 | 4086 | 3380 | 2710 | 1042 |
Производительность, qi, т/сут | 45504 | 43728 | 39420 | 32760 | 21840 |
Удельный показатель электропотребления, Si, кВт·час/т | 2,418 | 2,243 | 2,058 | 1,985 | 1,145 |
Производительность режимов изменяется с 21840 до 45504 т/сутки, а удельное потребление электроэнергии в этих режимах различается в 2,11 раза.
Задача представляемого исследования - при анализе непроизводительных потерь электроэнергии выяснить требуемое время наработки эксплуатационного участка магистрального трубопровода на каждом режиме и на этой основе определить оптимальное время наработки между переключениями и их необходимое количество по критерию минимума потребляемой электроэнергии с учетом графика прокачки нефти.
Допущения и ограничения, принятые при решении задачи
Допущения, принятые при решении оптимизационной задачи, были приняты на основании данных, приведенных в [4, 19, 20].
1. Анализируемый период - один месяц (29 суток, так как одни или двое суток резервируются на остановку МН для планового ремонта и профилактики оборудования).
2. Период дискретизации - одни сутки.
3. Физические свойства перекачиваемой нефти - определены коммерческим контрактом и в течение исследуемого периода неизменны.
4. За расчетную мощность принята средняя мощность агрегатов за сутки.
5. Мощность вспомогательного оборудования НПС в расчетах не учитывается. Учитывается только мощность основного электрооборудования по перекачке товарного продукта [1].
Обоснованность последнего допущения доказана в [1] и основывается на обработке данных по типовой НПС за два периода работы: 2003-2006 гг. - полная загрузка, 2021-2023 гг. - частичная загрузка станций.
Любая задача оптимизации связана с ограничениями, накладываемыми на варьируемые переменные и их соотношение. В рассматриваемой задаче были приняты следующие ограничения.
Первое определяется равенством (1)
, (1)
где , ,…, - время работы для 1, 2, … -го режима соответственно, сутки; - отчетный период времени работы нефтепровода, сутки.
Второе ограничение определяется месячной программой объема перекачки нефти
, (2)
где , ,…, - расход 1, 2, … -го периодов соответственно, тыс. т/сутки; Q - требуемый объем перекачки за отчетный период времени, тыс. т.
Следующее ограничение связано с максимально допустимой мощностью установленного оборудования для данного участка МН. Средняя мощность для каждого режима не должна превышать значения максимальной установленной мощности
.(3)
Учитывалось ограничение, связанное с максимальным количеством «горячих» и «холодных» пусков двигателей насосов под нагрузкой в единицу времени, определенное инструкцией по эксплуатации электродвигателя.
Критерий оптимальности и варьируемые факторы
В соответствии с выбранной целью исследования, заключающейся в минимизации непроизводительных расходов электроэнергии, главным параметром, характеризующим эту цель количественно, является расход электроэнергии на единицу товарной продукции, а критерием оптимальности - минимум этого параметра:
, (4)
где , ,…, - расход 1, 2, … -го режима соответственно, кВт; - расчетный расход электроэнергии, кВт·час.
В качестве варьируемых переменных в исследовании предложено выбрать время работы агрегатов , ,…, для 1, 2, … -го режимов, сутки в месяц, и соответствующие им значения средней мощности , кВт·час/т.
Алгоритм поиска экстремума целевой функции
Варьируемые переменные , ,…, в поставленной задаче могут принимать целочисленные значения от 0 до 29. Значение означает, что i-тый режим в течение исследуемого периода не применяется ни одного раза.
Количество всех возможных сочетаний определяется известным выражением [3]
. (5)
Такое количество вариантов исследовать весьма проблематично. Но с учетом ограничения (2) это число значительно сокращается. Если равенство (2) задать абсолютно строгим, то множество (4) может оказаться вообще пустым. Поэтому вместо строгого равенства (2) было предложено условие, которое заключалось в том, что отклонение расчетного объема перекачиваемой нефти от заданного контрактом не должно превышать наперед заданной величины :
,
где
. (6)
При такой постановке задачи число возможных сочетаний режимов работы, обеспечивающих заданную точность, значительно сокращается. Так, если %, то число вариантов, отвечающих условиям (1) и (6), сокращается до 1276. Следует отметить, что 0.5% от планового показателя объема месячной перекачки составляет 2,5 тыс. т - примерно двадцатую часть средней суточной производительности МН. В этом случае неточность обеспечения заданной месячной производительности МН корректируется сокращением или добавлением 1-2 часов работы в резервный день.
Для такого количества «испытаний» (расчетов) по математической модели и последующего анализа полученных результатов рационально применить метод упорядоченного перебора с последующим ранжированием значений параметра оптимизации. Современные компьютерные программы легко позволяют это сделать.
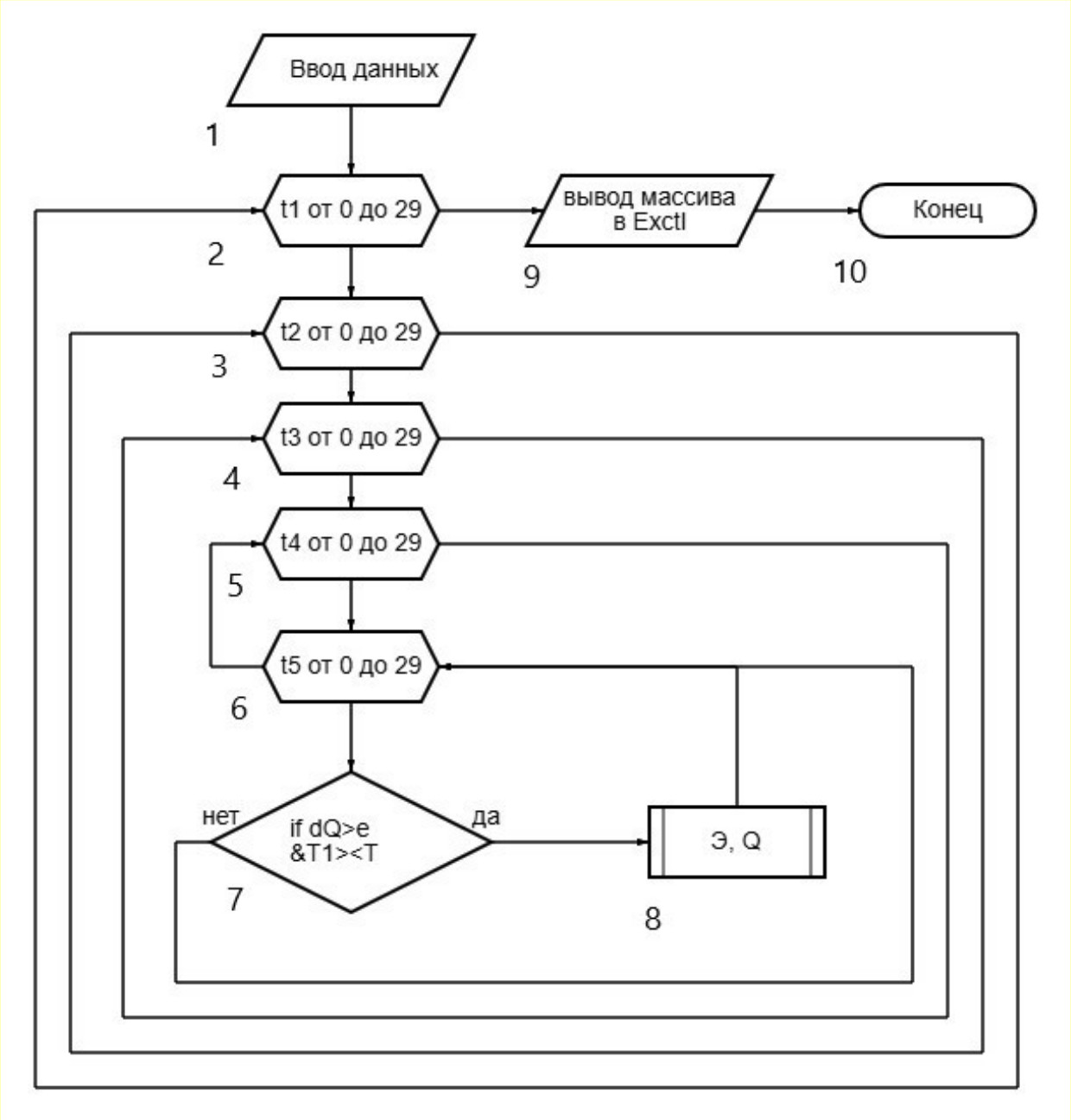
Алгоритм отбора всех удовлетворяющих условиям постановки задачи режимов представлен на рис. 1.
Задача оптимизации в общем виде ставилась как задача выбора из множества допустимых альтернативных вариантов подмножества оптимальных решений, среди которых в дальнейшем определялся окончательный оптимальный режим переключений агрегатов, обеспечивающий минимум потребления электроэнергии на единицу объема перекачанной нефти.
Подмножество всех вариантов сочетаний режимов экспортировалось из программы MatchCad в Excel в виде неупорядоченного массива данных о 1276 вариантах, в которые входили:
- количество суток работы для каждого режима , ,…, ;
- расчетная производительность за месяц Q, т;
- отклонение расчетной месячной производительности от заданной, ;
- затраты электроэнергии для каждого варианта режимов Э, кВт·час;
- значение экономии электроэнергии в сравнении с фактическим за исследуемый месяц ΔЭ, кВт·час и %.
Рис. 1. Алгоритм метода упорядоченного перебора: 1 - блок ввода исходных данных и констант; 2…6 - вложенные циклы перебора всех возможных сочетаний периодов работы каждого технологического цикла; 7 - проверка ограничения по отклонению суммарной производительности от заданного значения и проверка условия (6), в случае нарушения одного из этих ограничений вариант отклоняется и расчет переходит к следующему варианту; 8 - подпрограмма расчета потребного месячного энергопотребления Э, кВт·час; 9 - вывод массива расчетных данных в Excel для дальнейшей обработки
Результаты решения оптимизационной задачи
Как отмечалось выше, в качестве объекта оптимизации был выбран участок магистрального нефтепровода «Гурьев - Куйбышев» системы ПАО «Транснефть» проектной мощностью 17,5 млн т/год. Статистические данные выбраны за один из типичных месяцев исследуемого периода, когда трубопровод работал на 47 % от проектной мощности. Оптимизационный расчет проводился для этого коэффициента загрузки МН.
За месяц по исследуемому участку МН было перекачано согласно коммерческому плану т нефти.
Фактическое энергопотребление составило кВт·час.
Задачей оптимизации было найти такое соотношение режимов работы из пяти допустимых картой технических режимов, при котором расчетное потребление электроэнергии будет меньше , а в общем случае будет минимальным.
В электронных таблицах Excel данные массива всех возможных вариантов режимов перекачки были структурированы в порядке убывания величины расчетной экономии электроэнергии за месяц ΔЭ, кВт·час. Из 25 лучших вариантов 23 дают по сравнению с фактическим расходом электроэнергии за исследуемый месяц экономию от 2 158 до 44 782 кВт·час (0,11-2,23 %). Варианты, начиная с 24-го и далее, экономии энергии не дают.
Для более детального анализа в электронных таблицах были рассчитаны дополнительные параметры режимов перекачки.
В табл. 2 приведены структурированные данные по объемам перекачки для 12 лучших по энергоэффективности вариантов с учетом объема перекачки каждого из пяти режимов за расчетное количество суток .
В итоговых столбцах таблицы даны значения дефицита/профицита месячного плана перекачки в тоннах и процентах .
Отметим, что профицит месячной производительности в 976 т соответствует только одному варианту 10. Для остальных вариантов недовыполнение программы перекачки составляет от 1376 до 10040 т.
Для того чтобы компенсировать недовыполнение плана перекачки, например для варианта 3 в 10 040 т, потребуется работа агрегатов МН в режиме 1 в течение 5 часов в резервные сутки, что, как правило, нежелательно, хотя и допустимо, по технологическим причинам.
На диаграмме рис. 2 в виде столбцов с накоплением показана структура перекачки для первых 12 вариантов режимов. Каждая часть столбца соответствует номеру режима (с 1 по 5 снизу вверх) в сутках, умноженному на мощность соответствующего режима. Весь столбец соответствует месячному объему перекачки для заданного варианта.
Из диаграммы видно, что суммарный объем перекачки - полная высота столбцов - меняется в пределах наперед заданной погрешности 0,5 %.
Рис. 2. Диаграмма объемов перекачки для лучших вариантов режимов по экономии электроэнергии
Таблица 2. Производительность МН для отдельных режимов работы
, сут | , т | , сут | , т | , сут | , т | |
1 | 0 | 0 | 0 | 0 | 22 | 867 240 |
2 | 0 | 0 | 1 | 43 728 | 20 | 788 400 |
3 | 0 | 0 | 0 | 0 | 20 | 788 400 |
4 | 0 | 0 | 4 | 174 912 | 17 | 670 140 |
5 | 0 | 0 | 1 | 43 728 | 21 | 827 820 |
6 | 0 | 0 | 0 | 0 | 21 | 827 820 |
7 | 0 | 0 | 5 | 218 640 | 16 | 630 720 |
8 | 1 | 45 504 | 0 | 0 | 21 | 827 820 |
9 | 1 | 45 504 | 1 | 43 728 | 19 | 748 980 |
10 | 0 | 0 | 2 | 87 456 | 20 | 788 400 |
11 | 0 | 0 | 3 | 131 184 | 18 | 709 560 |
12 | 0 | 0 | 4 | 174 912 | 16 | 630 720 |
, сут | , т | , сут | , т | , т | , т | , % | |
1 | 0 | 0 | 7 | 152880 | 1 020 120 | ||
2 | 1 | 32 760 | 7 | 152880 | 1 017 768 | ||
3 | 3 | 98 280 | 6 | 131040 | 1 017 720 | ||
4 | 0 | 0 | 8 | 174720 | 1 019 772 | ||
5 | 0 | 0 | 7 | 152880 | 1 024 428 | ||
6 | 2 | 65 520 | 6 | 131040 | 1 024 380 | ||
7 | 0 | 0 | 8 | 174720 | 1 024 080 | ||
8 | 0 | 0 | 7 | 152880 | 1 026 204 | ||
9 | 1 | 32 760 | 7 | 152880 | 1 023 852 | ||
10 | 0 | 0 | 7 | 152880 | 1028736 | 976 | 0.09 |
11 | 1 | 32760 | 7 | 152880 | 1026384 | ||
12 | 2 | 65520 | 7 | 152880 | 1024032 |
На приведенной диаграмме можно проследить структуру потребления электроэнергии для каждого варианта перекачки.
Так, например, для первого варианта графика перекачки 22 суток участок работает по третьему режиму перекачки и 7 суток по пятому режиму (см. табл. 2). Для этого варианта потребуется всего два переключения режима, учитывая включение на режим 3 в начале периода. Для других вариантов из представленной выборки минимальное количество переключений колеблется от 3 до 5. Заметим, что это минимально необходимое количество переключений режимов. На практике это количество из-за непредвиденных факторов (технологических, экономических, аварийных) может быть значительно больше.
На диаграмме рис. 3 показано соотношение экономии электроэнергии для рассматриваемых режимов ΔЭ % и величины дефицита/профицита прокачанной нефти ΔQ %.
Рис. 3. Соотношение экономии электроэнергии и разницы расчетного и планового объема перекачки
За базовое значение объема перекачки принято плановое задание на исследуемый период т, а за базовое значение по расходу электроэнергии кВт·час.
В результате оптимизации режимов перекачки для заданных условий, соответствующих заданию по участку МН «Гурьев - Куйбышев» системы ПАО «Транснефть», был получен вариант управления режимами, позволяющий сэкономить 44 782 кВт·час электроэнергии, расходуемой на основной технологический процесс. По сравнению с фактическим расходом электроэнергии экономия составляет 2,24 %. Кроме этого, полученный расчетный вариант требует в идеале только двух переключений режимов перекачки, что значительно снижает динамические нагрузки на питающую сеть и сами электродвигатели магистральных насосов, повышая их ресурс и надежность.
По удельному показателю расхода электроэнергии на тонну перекачанного продукта оптимальный вариант позволяет снизить расход электроэнергии с кВт·час/т до кВт·час/т ( ).
Основные результаты и выводы
1. Основную часть расхода электроэнергии, 93-97 %, составляет электроэнергия, затраченная на основной технологический процесс МН - на работу электродвигателей магистральных насосов. От времени работы на определенном режиме и количества переключений зависит общий расход электроэнергии. Набор допустимых режимов определен картой технологических режимов.
2. В большинстве случаев можно обеспечить заданную программу перекачки без излишних дополнительных переключений между насосными агрегатами и за счет этого снизить расход электроэнергии и повысить ресурс работы оборудования.
3. В качестве основного критерия оптимальности режимов переключения насосных агрегатов был выбран минимум расхода электроэнергии на единицу перекачиваемой продукции q, кВт·час/т. Дополнительным критерием выступал минимум количества переключений насосных агрегатов, обеспечивающий программу перекачки.
4. Оптимизация режимов работы агрегатов и количества их переключений свелась к упорядоченному перебору 1 276 расчетных вариантов, обеспечивающих заданную программу перекачки с точностью 0,5 %. Из полученного массива вариантов были отобраны 25, в которых расход электроэнергии оказался минимальным.
5. За оптимальный принят вариант перекачки 1, в котором расчетный расход электроэнергии был снижен по сравнению с фактическим для выбранного периода эксплуатации на 44 782 кВт·час (2,24 %). Этот вариант режима обеспечивается всего тремя переключениями насосных агрегатов, что является лучшим показателем для исследуемой выборки и на порядок меньше фактического количества переключений за исследуемый период эксплуатации участка МНП. Для оптимального варианта удельный расход электроэнергии на единицу перекачиваемого продукта составил 1,906 кВт·час/т, что на 2,22 % меньше, чем удельный фактический расход за исследуемый период.
6. Предложенная методика оптимизации режима работы нефтепровода на заданный период позволяет выбрать требуемый режим работы с минимальными затратами электроэнергии. Методику рекомендуется использовать при составлении месячных планов работы магистрального нефтепровода и прогнозировании величины потребления электроэнергии для выполнения этих планов.
About the authors
N. А. Nosikov
TPP «RITEK-Samara-Nafta» LLC «RITEK»; Samara State Technical University
Author for correspondence.
Email: nosikovn@yandex.ru
Chief Power Engineer – Head of the Chief Power Engineers Group, Postgraduate Student, Dept. of Electromechanics and Automotive Electrical Equipment
Russian Federation, 120A, Leninskaya st., Samara, 443041; 244, Molodogvardeyskaya str., Samara, 443100Yu. A. Makarichev
Samara State Technical University
Email: makarichev2801@mail.ru
(Dr. Sci. (Techn.)), Professor, Acting Dean of the Electrical Engineering Faculty, Head Dept. of Electromechanics and Automotive Electrical Equipment
Russian Federation, 244, Molodogvardeyskaya str., Samara, 443100References
- Makarichev Yu.A., Nosikov N.A. Matematicheskaya model potrebleniya elektroenergii na NPS [Mathematical model of electricity consumption at the oil pumping station] // Vestnik Samarskogo gosudarstsvennogo tekhnicheskogo universiteta. Seriya: Tekhnicheskie nauki. 2024. V. 32, No. 4. Pр. 106–117. doi: 10.14498/TECH.2024.4.8. (In Russian)
- Geunsub Kim, Gunwoo Lee, Seunghyun An, Joowon Lee. Forecasting future electric power consumption in Busan New Port using a deep learning model // The Asian Journal of Shipping and Logistics. 2023. Vol. 39, Iss. 2. Pр. 78–93. doi: 10.1016/j.ajsl.2023.04.001.
- Adler Yu.P., Markova E.V., Granovskij Yu.V. Planirovanie eksperimenta pri poiske optimalnyh uslovij [Experimental planning in the search for optimal conditions]. M.: Nauka, 1976. 278 р. (In Russian)
- JSC Transneft-Privolga, annual report for 2023. (In Russian)
- Zajcev L.A., YAsinskij G.S. Regulirovanie rezhimov magistralnyh nefteprovodov [Regulation of trunk oil pipeline modes]. M.: Nedra, 1980. 187 p. (In Russian)
- Rahmonov I.U., Ushakov V.Ya., Nazhimova A.M., Obidov K.K., Sulejmanov S.R. Matematicheskoe modelirovanie minimizacii raskhodov elektroenergii promyshlennymi predpriyatiyami s nepreryvnym harakterom proizvodstva [Mathematical modeling of minimizing electricity costs by industrial enterprises with continuous production] // Izvestiya Tomskogo politekhnicheskogo universiteta. Inzhiniring georesursov. 2024. V. 335, No. 4. Рр. 43–51. DOI: 10.18799/ 24131830/2024/4/4423. (In Russian)
- JSC Privolzhsknefteprovod annual report for 2006. (In Russian)
- OR-91.140.50-KTN-0397-24. Magistralnyj truboprovodnyj transport nefti i nefteproduktov. Potreblenie elektroenergii (moshchnosti). Poryadok planirovaniya i ucheta [Main pipeline transportation of oil and oil products. Electricity (capacity) consumption. Planning and accounting procedure]. M.: PAO Transneft, 2024. 141 p. (In Russian)
- Ustyugov N.V., Protalinskij O.M. Matematicheskaya model potrebleniya elektroenergii v organizacionno-tekhnicheskoj sisteme [Mathematical model of electricity consumption in an organizational and technical system] // Vestnik Astrahanskogo gosudarstvennogo tekhnicheskogo universiteta. Seriya: Upravlenie, vychislitel'naya tekhnika i informatika. 2020. No. 3. Pр. 116–124. doi: 10.24143/2072-9502-2020-3-116-124. (In Russian)
- Chernoruckij I.G. Metody prinyatiya reshenij [Decision-making methods]. SPb.: BHV-Peterburg, 2005. 408 p. (In Russian)
- Shayuhov T.T. Raschet udelnyh norm i prognozirovanie elektropotrebleniya na promyshlennyh predpriyatiyah [Calculation of specific standards and forecasting of electricity consumption at industrial enterprises]. Ekaterinburg: UrGUPS, 2016. 74 p. (Innovacionnyj transport; No. 3 (21)). doi: 10.20291/2311-164X-2016-3-8-12. (In Russian)
- Shayuhov T.T. Matematicheskoe modelirovanie vliyaniya vneshnih faktorov na parametry elektropotrebleniya [Mathematical modeling of the influence of external factors on electricity consumption parameters] // Internet-zhurnal «Naukovedenie». 2017. V. 9, No. 5. (In Russian)
- Shalaj V.V., Myznikov M.O., Kononova M.I. Puti povysheniya effektivnosti ekspluatacii nefteprovodov [Ways to improve the efficiency of oil pipeline operation] // Neftegazovyj terminal. 2019. No. 16. Pр. 315–319. (In Russian)
- Shalay V.V., Myznikov M.O., Gildebrandt M.I. Energy and resource saving in hydrocarbons transportation // AIP Conference Proceedings. 2018. Vol. 2007. doi: 10.1063/1.5051957.
- Lomakin D.A., Korotkov V.V. Korrektirovka harakteristik centrobezhnyh nasosov za schyot podrezki rabochego kolesa [Adjustment of centrifugal pump characteristics by trimming the impeller. Actual problems of humanitarian and natural sciences] // Aktualnye problemy gumanitarnyh i estestvennyh nauk. 2017. (In Russian)
- Zajcev L.A., Yasinskij G.S. Regulirovanie rezhimov magistral'nyh nefteprovodov [Regulation of main oil pipeline modes]. M.: Nedra, 1980. 187 p. (In Russian)
- Razbojnikov A.A., Barsukov N.S. Razrabotka metodiki ocenki energeticheskoj effektivnosti magistralnogo nefteprovoda [Development of a methodology for assessing the energy efficiency of a trunk oil pipeline] // Ekspoziciya Neft Gaz. 2019. No. 2 (69). 5 p. doi: 10.24411/2076-6785-2019-10018. (In Russian)
- Vasilev G.G., Korobkov G.E., Korshak A.A. i dr. Truboprovodnyj transport nefti [Oil pipeline transportation]: V 2 t. / Pod red. S.M. Vajnshtoka. M.: Nedra-Biznescentr, 2002. V. 2. 621 p. (In Russian)
- JSC «Transneft-Volga Region» map of technological operating modes of the Guryev-Kuibyshev MT (TU B. Chernigovka – Samara).
- PJSC «Transneft-Volga Region». Report «Compliance with the Operating Regime of the Uzen-Atyrau-Samara Pipeline (Atyrau – Samara Section) for 2021–2023».
Supplementary files




