Структура закрученного течения в области разветвления каналов при умеренных числах Рейнольдса
- Авторы: Молочников В.М.1,2, Никифоров И.В.1, Пашкова Н.Д.1
-
Учреждения:
- Казанский научный центр РАН
- Казанский национальный исследовательский технический университет им А.Н. Туполева
- Выпуск: № 5 (2024)
- Страницы: 25-40
- Раздел: Статьи
- URL: https://journals.rcsi.science/1024-7084/article/view/283798
- DOI: https://doi.org/10.31857/S1024708424050034
- EDN: https://elibrary.ru/NRBDRB
- ID: 283798
Цитировать
Аннотация
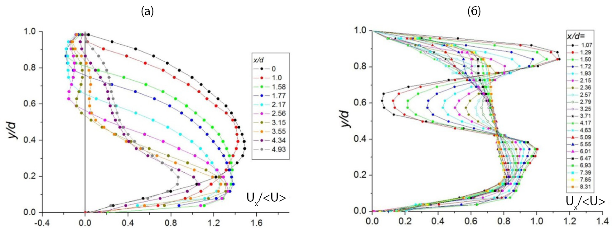
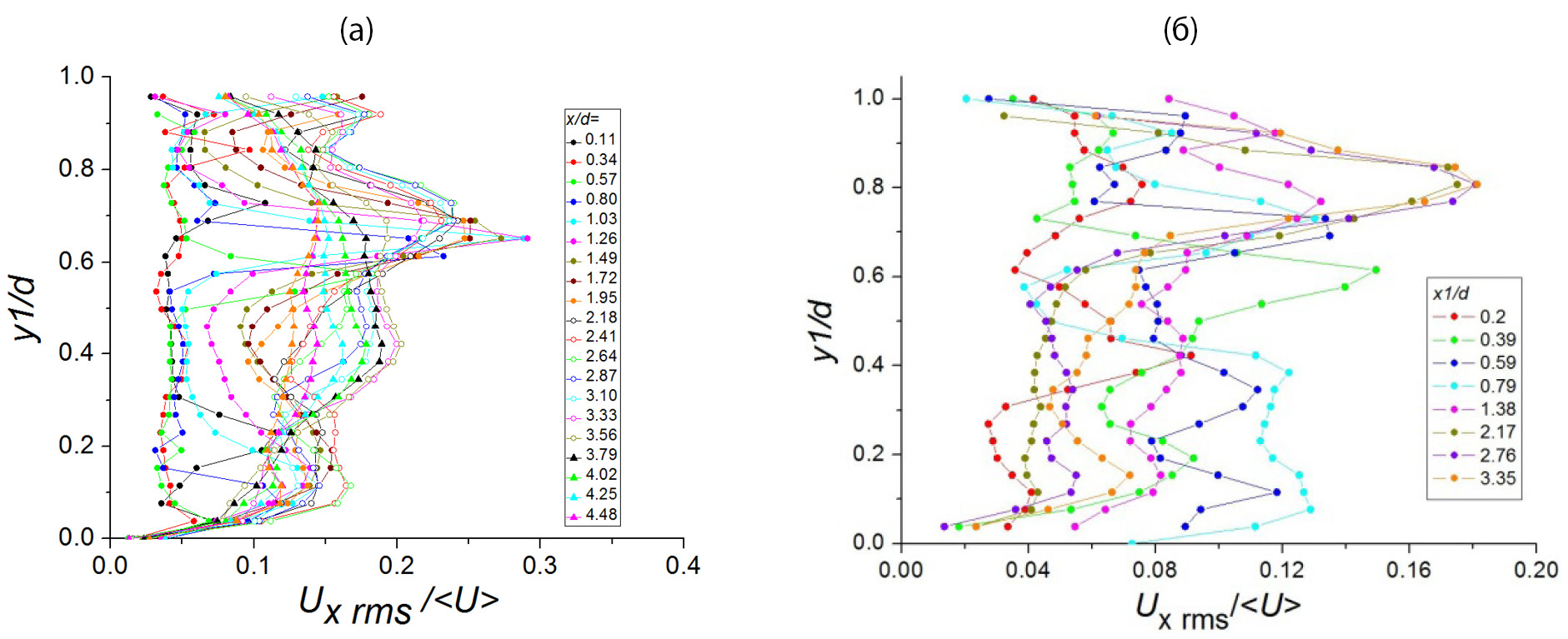
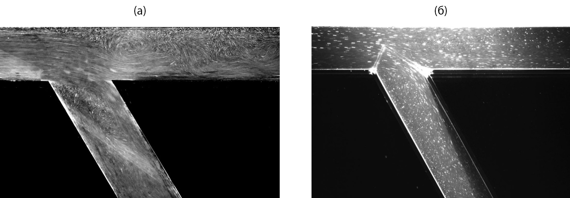
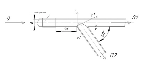
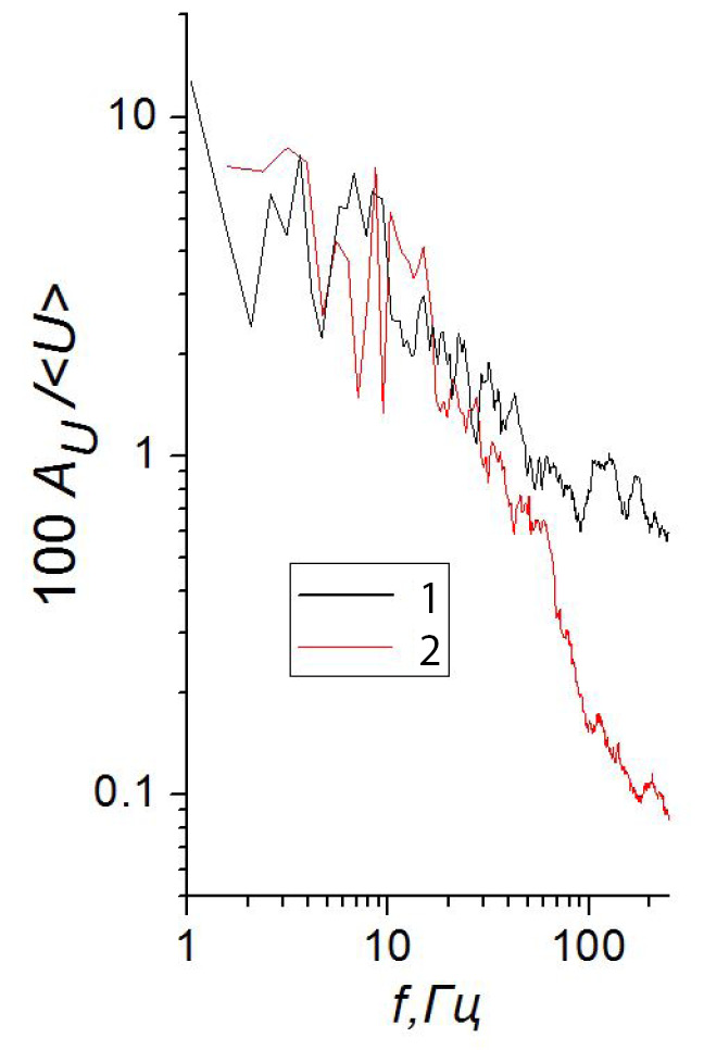
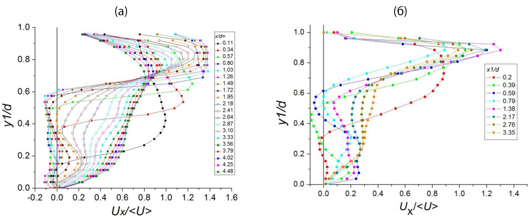
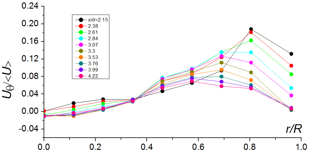
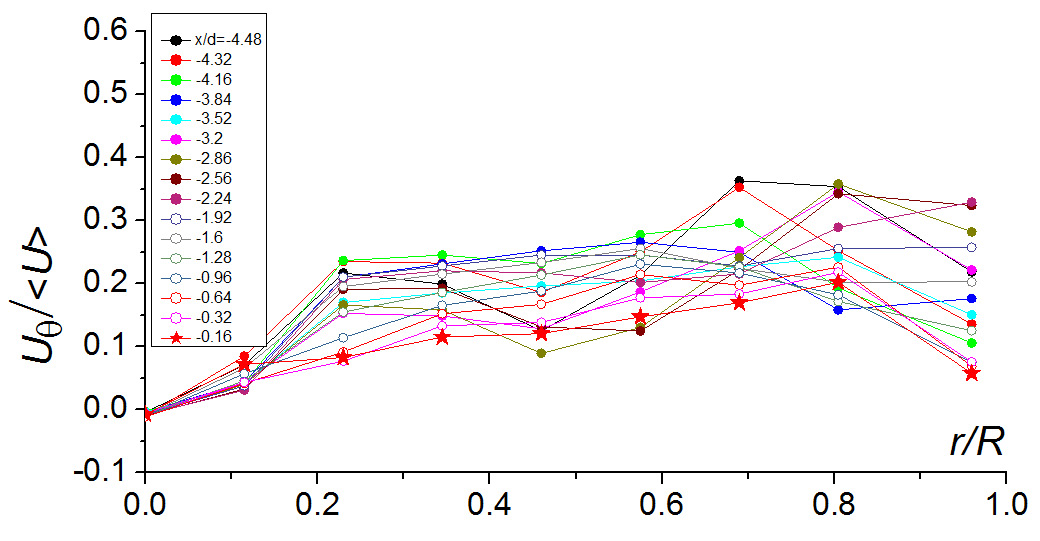
Представлены результаты экспериментальных исследований стационарного закрученного течения в области разветвления каналов, имитирующей проксимальный анастомоз конец-в-бок бедренной артерии человека. Эксперименты выполнялись при числе Рейнольдса, равном 1460, что соответствует интервалу физиологических значений при оценке по максимальному расходу крови в артерии за период сердечных сокращений. Поддерживалось равное соотношение расходов по обоим ответвлениям. Степень закрутки потока на входе в область разветвления составляла 0.125. Выполнялась визуализация течения и измерения мгновенных векторных полей скорости потока каждого ответвления с использованием техники SIV. Выявлены основные закономерности влияния закрутки на вихревую структуру течения в основной артерии ниже области разветвления и в шунте. Рассматривается возможность использования закрутки потока для создания более благоприятных гемодинамических условий в области анастомоза. Особое внимание уделяется появлению признаков локальной турбулизации потока при наличии и отсутствии закрутки.
Полный текст
Об авторах
В. М. Молочников
Казанский научный центр РАН; Казанский национальный исследовательский технический университет им А.Н. Туполева
Автор, ответственный за переписку.
Email: vmolochnikov@mail.ru
Россия, Казань; Казань
И. В. Никифоров
Казанский научный центр РАН
Email: ilya.nkfrv1@gmail.com
Россия, Казань
Н. Д. Пашкова
Казанский научный центр РАН
Email: pashkova-2000@mail.ru
Россия, Казань
Список литературы
- Бойко А.В., Грек Г.Р., Довгаль А.В., Козлов В.В. Возникновение турбулентности в пристенных течениях, Новосибирск: Наука. Сиб. Предприятие РАН. 1999. 328 с.
- Tiwari A., Cheng K.S., Salacinski H., Hamilton G., Seifalian A.M. Improving the patency of vascular bypass grafts: the role of suture materials and surgical techniques on reducing anastomotic compliance mismatch //European journal of vascular and endovascular surgery. — 2003. V. 25, № 4. P. 287–295. https://doi.org/10.1053/ejvs.2002.1810
- Henry F.S., Collins M.W., Hughes P.E., How T.V. Numerical investigation of steady flow in proximal and distal end-to-side anastomoses // J. Biomech. Eng. 1996. V.118. №3. P. 302– 310. https://doi.org/10.1115/1.2796011
- Liu X., Sun A., Fan Y., Deng X. Physiological significance of helical flow in the arterial system and its potential clinical applications // Annals of Biomed. Eng. 2015. V. 43. P. 3–15. https://10.1007/s10439-014-1097-2
- Molochnikov V.M., Dushin N.S., Pashkova N.D., Gataulin Ja. A., Smirnov E.M., Yukhnev A. D. Flow Structure and Transition to Local Turbulence Downstream of an Asymmetric Narrowing that Imitates Arterial Stenosis //Fluid Dynamics. 2023. V. 58. №2 P. 214–226. https://doi.org/10.1134/S0015462822602303
- Canver C.C. Conduit options in coronary artery bypass surgery //Chest. 1995. V. 108. № 4. P. 1150–1155. https://doi.org/10.1378/chest.108.4.1150
- Davies M.G., Hagen P.O. Pathobiology of intimal hyperplasia //British Journal of Surgery. 1994. V. 81. № 9. P. 1254–1269. https://doi.org/10.1002/bjs.1800810904
- Ghista D.N., Kabinejadian F. Coronary artery bypass grafting hemodynamics and anastomosis design: a biomedical engineering review // Biomedical engineering online. 2013. V. 12. P. 1–28. https://doi.org/10.1186/1475-925X-12-129
- Kuyanova J., Dubovoi A., Fomichev A., Khelimskii D., Parshin D. Hemodynamics of vascular shunts: trends, challenges, and prospects // Biophysical Reviews. 2023, V.15. №5. P. 1287–1301. https://doi.org/10.1007/s12551-023-01149-3
- Dellenback P.A., Metzger D.E., Neitzel G.P. Measurements in turbulent swirling flow through an abrupt axisymmetric expansion // AIAA journal. 1988. V. 26. № 6. P. 669–681. https://doi.org/10.2514/3.9952
- Mak H., Balabani S. Near field characteristics of swirling flow past a sudden expansion //Chemical engineering science. 2007. V. 62. № 23. P. 6726–6746. https://doi.org/10.1016/j.ces.2007.07.009
- Vanierschot M. Large scale flow instabilities in sudden expansion flows in the subcritical swirl regime //Proceedings of the 19th International Symposium on Applications of Laser and Imaging Techniques to Fluid Mechanics. LISBON Simposia, 2018. 10 pp.
- Hammad K.J., Ötügen M.V., Arik E.B. A PIV study of the laminar axisymmetric sudden expansion flow //Experiments in fluids. 1999. V. 26. № 3. P. 266–272. https://doi.org/10.1007/s003480050288
- Badekas D., Knight D.D. Eddy correlations for laminar axisymmetric sudden expansion flows // J. Fluids Eng. 1992. V. 114. № 1. P. 119–121. https://doi.org/10.1115/1.2909986
- Khe A.K. Vanina V.S., Cherevko A.A., Parshin D.V., Chebotnikov A.V., Boiko A.V., Tulupov A.A. Application of magnetic resonance imaging for studying the three-dimensional flow structure in blood vessel models // Journal of Applied Mechanics and Technical Physics. 2019. V. 60. P. 257–264. https://link.springer.com/article/10.1134/S002189441902007X
- Boiko A.V. Akulov A.E., Chupakhin A.P., Cherevko A.A., Denisenko N.S., Savelov A.A., Stankevich Yu. A., Khed A.K., Yanchenko A.A., Tulupov A.A. Measurement of viscous flow velocity and flow visualization using two magnetic resonance imagers //Journal of Applied Mechanics and Technical Physics. 2017. V. 58. P. 209–213. https://link.springer.com/article/10.1134/S0021894417020031
- Ha H., Choi W., Park H., Lee S.J. Advantageous swirling flow in 45° end-to-side anastomosis // Exp. Fluids. 2014. V. 55. P. 1–13. https://doi.org/10.1007/s00348-014-1861-y
- Ha H., Choi W., Lee S.J. Beneficial fluid-dynamic features of pulsatile swirling flow in 45° end-to-side anastomosis // Medical Engineering and Physics. 2015. V.37. P. 272–279. https://doi.org/10.1016/j.medengphy.2015.01.007
- Ha H., Hwang D., Choi W.-R., Baek J., Lee S.J. Fluid-Dynamic Optimal Design of Helical Vascular Graft for Stenotic Disturbed Flow // PLOS ONE. 2014. V. 9. № 10. e111047. https://doi.org/10.1371/journal.pone.0111047
- Bernad S.I. Bosioc A., Bernad E.S., Craina M.L. Comparison between experimentally measured flow patterns for straigth and helical type graft //Bio-Medical Materials and Engineering. 2014. V. 24. № 1. P. 853–860.
- Bernad S.I., Bosioc A.I., Bernad E.S., Craina M.L. Helical type coronary bypass graft performance: Experimental investigations //Bio-Medical Materials and Engineering. 2015. V. 26. № s1. P. S477-S486
- Агафонов А.В., Талыгин Е.А., Бокерия Л.А., Городков А.Ю. Гидродинамические особенности закрученного потока крови в левых отделах сердца и аорте //Acta Naturae (русскоязычная версия). 2021. Т. 3. №. 4. С. 4–16.
- Kilner P.J., Yang G.Z., Mohiaddin R.H., Firmin D.N., Longmore D.B. Helical and retrograde secondary flow patterns in the aortic arch studied by three-directional magnetic resonance velocity mapping //Circulation. 1993. V. 88. № 5. P. 2235–2247. https://doi.org/10.1161/01.CIR.88.5.2235
- Stonebridge P.A. Suttie S.A., Ross R., Dick J. Spiral laminar flow: a survey of a three-dimensional arterial flow pattern in a group of volunteers //European Journal of Vascular and Endovascular Surgery. 2016. V. 52. № 5. P. 674–680. https://doi.org/10.1016/j.ejvs.2016.07.018
- Багаев С.Н., Захаров В.Н., Орлов В.А. Основополагающие явления и законы в структурно-функциональной организации сердечно-сосудистой системы //Атеросклероз. — 2022. Т. 7. №. 2. С. 68–89.
- Молочников В.М., Хубулава Г.Г., Калинин Е.И., Пашкова Н.Д., Никифоров И.В. Экспериментальное и численное исследование структуры потока в модели дистального анастомоза бедренной артерии // Российский журнал биомеханики. 2023. №3. С. 36–52
- Kuyanova Y.O. Presnyakov S.S., Dubovoi A.V., Chupakhin A.P., Parshin, D.V. Numerical study of the tee hydrodynamics in the model problem of optimizing the low-flow vascular bypass angle //Journal of Applied Mechanics and Technical Physics. 2019. V. 60. P. 1038–1045. https://link.springer.com/article/10.1134/S0021894419060087
- Mikheev N.I., Dushin N.S. A Method for Measuring the Dynamics of Velocity Vector Fields in a Turbulent Flow Using Smoke Image-Visualization Videos // Instruments and Experimental Techniques. 2016. V. 59. № 6. Р. 882–889. https://doi.org/10.1134/S0020441216060063
- Mikheev N.I. Goltsman A.E., Saushin I.I., Dushina, O.A. Estimation of turbulent energy dissipation in the boundary layer using Smoke Image Velocimetry // Experiments in Fluids. 2017. V. 58. № 8. Р. 1–10. https://doi.org/10.1007/s00348-017-2379-x
- Helgadóttir Á., Lalot S., Beaubert F., Pálsson H. Mesh twisting technique for swirl induced laminar flow used to determine a desired blade shape //Applied Sciences. 2018. V. 8. № 10. 1865. 17 pp. https://doi.org/10.3390/app8101865
- Molochnikov V.M., Mazo A.B., Malyukov A.V., Kalinin E.I., Mikheev N.I., Dushina O.A., Paereliy A.A. Distinctive features of vortical structures generation in separated channel flow behind a rib under transition to turbulence // Thermophysics and Aeromechanics. 2014. V. 21. № 3. P. 309–317 https://doi.org/10.1134/S0869864314030056
- Davidson P.A. Turbulence: An Introduction For Scientists and Engineers, Oxford University Press: Oxford, MS, USA, 57. 2015. 629 с.
- Uruba V. Turbulence Handbook for Experimental Fluid Mechanics Professionals, Skovlunde: Dantec Dynamic. 23. 2012. 148 c.
Дополнительные файлы



























