Comparative study of the structure and electromagnetic characteristics of manganites doped with cation pairs (Fe, Zn), (Fe, Co), (Fe, Mg)
- Authors: Badelin А.G.1, Karpasyuk V.K.1, Estemirova S.K.1,2
-
Affiliations:
- Astrakhan State University
- Institute for Metallurgy of the Ural Branch of the Russian Academy of Sciences
- Issue: Vol 88, No 7 (2024)
- Pages: 1156-1160
- Section: Spin physics, spin chemistry and spin technologies
- URL: https://journals.rcsi.science/0367-6765/article/view/279580
- DOI: https://doi.org/10.31857/S0367676524070244
- EDN: https://elibrary.ru/OZANIN
- ID: 279580
Cite item
Full Text
Abstract
The influence of the configuration of ions [Zn2+(3d10), Co2+(3d7), Co3+(3d6), Mg2+(2p6)] replacing manganese in La-Sr manganites on crystal lattice parameters, magnetization, Curie point, semiconductor-metal transition and magnetoresistance has been established. The composition with cobalt in the state of Co3+(3d6) has the highest values of magnetic parameters, and Mg-containing manganite has the lowest values, but it exhibits the maximum magnitude of magnetoresistance.
Full Text
Введение
Манганиты с перовскитоподобной структурой могут характеризоваться сочетанием нескольких важных прикладных параметров, что позволяет рассматривать их в качестве перспективных многофункциональных материалы [1—4]. Продолжаются исследования влияния состава на структуру и свойства манганитов различных систем [5—15], в т. ч. роли ионов, замещающих марганец.
Были изучены составы с замещением марганца кобальтом [8—11] и железом [12—15]. Рассмотрены различные механизмы компенсации заряда при взаимодействии ионов марганца с ионами кобальта, при этом обнаружено, что кобальт может находиться в различных зарядовых состояниях в зависимости от катионного состава и содержания кислорода. Железо в манганитах обычно находится в состоянии Fe3+ и замещает ион Mn3+, но не участвует в двойном обменном взаимодействии.
Следует отметить, что конфигурация электронных оболочек заместителей марганца, а не только их размерное несоответствие, играет важную роль в формировании электромагнитных параметров многокомпонентных манганитов [16].
Проводятся также фундаментальные исследования применимости различных теоретических подходов к описанию свойств замещенных манганитов [17, 18], например соответствия моделей проводимости экспериментальным данным [18, 19].
Целью данной работы является установление влияния электронной конфигурации ионов, замещающих марганец, на параметры кристаллической решетки, намагниченность, точку Кюри, переход полупроводник-металл и магнитосопротивление в манганитах c парным замещением La0.7Sr0.3Mn0.9Fe0.05Me0.05O3 (Me = Zn, Со, Mg). В этой системе марганец замещается комбинациями иона железа Fe3+(3d5) с ионами различной конфигурации: Zn2+(3d10), Co2+(3d7) или Co3+(3d6), Mg2+(2p6). Радиусы ионов Fe3+ (0.645 Å) и Mn3+ (0.645 Å) совпадают. Ионы цинка и магния имеют очень близкие значения ионных радиусов: 0.74 Å и 0.72 Å соответственно [20]. Это дает возможность изучать роль электронной конфигурации ионов в наиболее чистом виде, поскольку в указанных условиях решеточные эффекты практически отсутствуют. Радиусы ионов Co2+ и Co3+ составляют 0.745 Å и 0.61 Å [20]. Соответственно, объемы элементарных ячеек образцов, содержащих кобальт в состояниях Co2+(3d7) или Co3+(3d6), должны существенно отличаться.
Содержание стронция выбрано в области заведомо ромбоэдрической ферромагнитной металлической фазы с высокой точкой Кюри, установленной для La-Sr системы манганитов [21].
Экпериментальная часть
Эксперименты были выполнены на поликристаллических образцах, синтезированных по обычной керамической технологии. Исходные компоненты (высушенные порошки La2O3, SrCO3, MnO2, Fe2O3, ZnO, Co2O3, MgO), взятые в соответствующих стехиометрических соотношениях, были подвергнуты совместному измельчению и перемешиванию (с добавлением этанола) в шаровой мельнице в течение 4 ч. Высушенную и брикетированную смесь предварительно обожгли при 1273 К в течение 4 ч. За этой операцией последовали повторный помол в течение 10 ч, сушка, введение связующего (поливинилового спирта), грануляция, прессование образцов и выжигание связующего. Окончательное спекание было выполнено на воздухе при 1520 К, продолжительность изотермической выдержки составляла 10 ч. Образцы охлаждались вместе с печью.
Фазовый состав и параметры элементарной ячейки определяли по порошковым рентгенограммам, снятым на дифрактометре Shimadzu XRD-7000 в CuKα-излучении при комнатной температуре.
Удельную намагниченность (σ) измеряли баллистическим методом в постоянном магнитном поле 5.6 кЭ. Температурную зависимость магнитной проницаемости µ(T) измеряли на частоте 99.9 кГц, а точку Кюри (TC) определяли как температуру, соответствующую максимуму │dµ/dT│.
Электрические характеристики измеряли с помощью контактов, изготовленных из самозатвердевающей металлоорганической смеси, содержащей 99 % серебра. Температуру перехода металл-полупроводник (Tms) определяли по пику температурной зависимости сопротивления. Измерения магнитосопротивления [MR = (R(H)–R(0))/R(H)] проводили в магнитном поле напряженностью H = 9.2 кЭ.
Результаты и их обсуждение
Все синтезированные манганиты однофазны и имеют ромбоэдрическую структуру; содержание примесей составляет менее одного процента. Параметры кристаллической решетки и электромагнитные характеристики приведены в табл. 1.
Величина c/a, связанная с соотношением ферромагнитного и антиферромагнитного взаимодействий, практически одинакова во всех составах.
Соотношение объемов элементарных ячеек образцов, содержащих ионы цинка и магния, соответствует различию их ионных радиусов. Объем элементарной ячейки кобальт-замещенного манганита значительно меньше, хотя радиус иона Co2+ больше радиусов ионов Zn2+ и Mg2+. В то же время, параметры σ, TC, Tms Со-замещенного манганита имеют самые высокие значения. Эти факты указывают на присутствие ионов трехвалентного кобальта Co3+(3d6).
Действительно, структурные формулы манганита с учетом процессов компенсации заряда в случаях, когда кобальт находится в состояниях Co2+ или Co3+, имеют следующий вид:
Разность между ионными радиусами Co3+ и Co2+ составляет –0.135 Å, а разность между радиусами ионов Mn3+ и Mn4+ составляет +0.115 Å [20]. Спиновые магнитные моменты ионов Co2+ и Mn4+ равны 3 µB, ионы Co3+ и Mn3+ имеют моменты, равные 4 µB. Таким образом, в результате перехода Co2+ + Mn4+ → Co3+ + Mn3+ объем элементарной ячейки должен уменьшиться, а магнитные параметры могут увеличиться, если, конечно, ионы Co3+ участвуют в ферромагнитном упорядочении рассматриваемой ионной системы, физический механизм которого не выяснен. Указанный переход энергетически выгоден, так как разность между третьим и вторым потенциалами ионизации кобальта составляет 16.4 эВ, а разность между четвертым и третьим потенциалами ионизации марганца равна 17.5 эВ [22].
На рис. 1 и 2 представлены зависимости магнитной проницаемости и сопротивления манганитов от температуры, по которым были определены значения TC и Tms, приведенные в табл. 1.
Рис. 1. Температурные зависимости магнитной проницаемости (а) и производной dμ/dT (б) манганитов, содержащих (Fe, Zn) — 1, (Fe, Co) — 2, (Fe, Mg) — 3.
Таблица 1. Параметры решетки (a, c), объем элементарной ячейки (V), удельная намагниченность при 80 К, точка Кюри и температура перехода полупроводник—металл
Составы | a, Å | с, Å | c/a | V, Å3 | σ, Гс · см3 · г–1 | TC, K | Tms, K |
La0.7Sr0.3Mn0.9Fe0.05Zn0.05O3 | 5,506 | 13,349 | 2,424 | 350,457 | 80 | 249 | 188 |
La0.7Sr0.3Mn0.9Fe0.05Co0.05O3 | 5,503 | 13,343 | 2,425 | 349,931 | 133 | 265 | 254 |
La0.7Sr0.3Mn0.9Fe0.05Mg0.05O3 | 5,503 | 13,349 | 2,426 | 350,141 | 46 | 247 | 144 |
Как можно заметить из рис. 1 и 2, а также табл. 1, (Fe, Mg)-замещенный манганит имеет самый широкий температурный интервал магнитных фазовых переходов, самые низкие значения намагниченности, точки Кюри и температуры перехода полупроводник-металл. Минимальное сопротивление в исследованном интервале температур имеет (Fe, Co)-замещенный образец (рис. 2).
Рис. 2. Температурные зависимости сопротивления манганитов, содержащих (Fe, Zn) — 1, (Fe, Co) — 2, (Fe, Mg) — 3.
Уширение магнитного фазового перехода и наличие дополнительных пиков на температурных зависимостях dµ/dT (рис. 1) обусловлено наличием микронеоднородностей (кластеров) с различными свойствами [16]. (Fe, Zn)-замещенные образцы можно считать наиболее однородными.
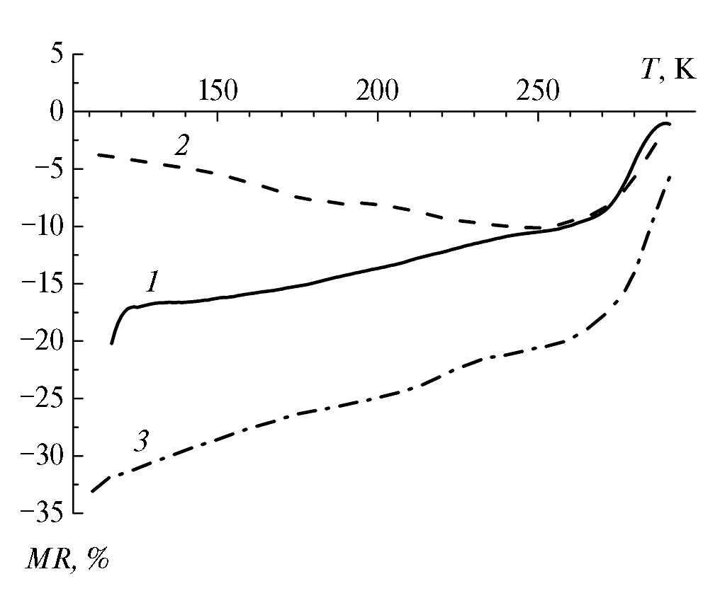
Магнитная проницаемость Co-содержащего манганита в зависимости от температуры имеет четко выраженный максимум вблизи 260 К (рис. 1), что может быть связано с существованием при низких температурах локального упорядочения ионов в различных спиновых состояниях и конкурирующими взаимодействиями [10, 23]. В этом же интервале температур наблюдается максимум модуля магнитосопротивления этого манганита (рис. 3), что объясняется теми же причинами.
Рис. 3. Температурные зависимости магнитосопротивления манганитов, содержащих (Fe, Zn) — 1, (Fe, Co) — 2, (Fe, Mg) — 3.
В остальных образцах |MR| увеличивается с понижением температуры, что обычно связано с туннелированием спин-поляризованных носителей заряда через границы зерен или между ферромагнитными кластерами. Максимальная абсолютная величина магнитосопротивления достигает 33 % при 110 К в Mg-содержащем манганите.
Заключение
Таким образом, исследованы и сопоставлены параметры кристаллической решетки и электромагнитные характеристики манганитов в системе La0.7Sr0.3Mn0.9(Fe0.5Me0.5)0.1O3 (Me = Zn, Со, Mg) в зависимости от конфигурации электронных оболочек замещающих марганец ионов: Zn2+(3d10), Co2+(3d7) или Co3+(3d6), Mg2+(2p6).
Обнаружено, что намагниченность (Fe, Co)-замещенного манганита почти в 1.7 раза выше намагниченности цинксодержащего, а объем элементарной ячейки меньше. Магнитная проницаемость и модуль магнитосопротивления этого манганита в зависимости от температуры имеют максимумы вблизи 260 К, что объясняется существованием при низких температурах локального упорядочения ионов в различных спиновых состояниях, связанных с переходом Co2+ + Mn4+ → Co3+ + Mn3+. Анализ полученных данных свидетельствует о том, что кобальт находится в состоянии Co3+(3d6) и участвует в ферромагнитном упорядочении рассматриваемой системы.
Соотношение объемов элементарных ячеек образцов, содержащих ионы Co3+, Zn2+ и Mg2+, соответствует различию их ионных радиусов.
В (Fe, Zn)- и (Fe, Mg)-замещенных образцах |MR| увеличивается с понижением температуры, что обусловлено туннелированием спин-поляризованных носителей заряда через границы зерен и между ферромагнитными кластерами.
Манганит, содержащий ионы Mg2+(2p6), имеет самые широкие температурные интервалы магнитного и электрического фазовых переходов, самые низкие значения намагниченности, точки Кюри и температуры перехода полупроводник-металл. Такие особенности свойств связаны с неоднородным распределением ионов Mg2+ и Fe3+ вследствие различия их зарядов, электронных конфигураций и радиусов, влиянием экранирования ионов Mn4+ ионами магния.
Исследование выполнено за счет средств Российского научного фонда (проект № 23-22-10005).
About the authors
А. G. Badelin
Astrakhan State University
Author for correspondence.
Email: alexey_badelin@mail.ru
Russian Federation, Astrakhan
V. K. Karpasyuk
Astrakhan State University
Email: alexey_badelin@mail.ru
Russian Federation, Astrakhan
S. Kh. Estemirova
Astrakhan State University; Institute for Metallurgy of the Ural Branch of the Russian Academy of Sciences
Email: alexey_badelin@mail.ru
Russian Federation, Astrakhan; Yekaterinburg
References
- Бебенин Н.Г., Зайнуллина Р.И., Устинов В.В. // УФН. 2018. Т. 188. № 8. С. 801; Bebenin N.G., Zainullina R.I., Ustinov V.V. // Phys. Usp. 2018. V. 61. No. 8. P. 719.
- Belich N., Udalova N., Semenova A. et al. // Front. Chem. 2020. V. 8. Art. No. 550625.
- Krichene A., Boujelben W. // J. Supercond. Nov. Magn. 2022. V. 35. P. 2609.
- Россоленко А.Н., Тулина Н.А., Шмытько И.М. и др. // Изв. РАН. Сер. физ. 2023. Т. 87. № 4. С. 541; Rossolenko A.N., Tulina N.A., Shmytko I.M. et al. // Bull. Russ. Acad. Sci. Phys. 2023. V. 87. No. 4. P. 468.
- Волков Д.В., Назаренко А.В., Шилкина Л.А., Вербенко И.А. // Изв. РАН. Сер. физ. 2023. Т. 87. № 9. С. 1248; Volkov D.V., Nazarenko A.V., Shilkina L.A., Verbenko I.A. // Bull. Russ. Acad. Sci. Phys. 2023. V. 87. No. 9. P. 1288.
- Баделин А.Г., Державин И.М., Карпасюк В.К., Эстемирова С.Х. // Изв. РАН. Сер. физ. 2023. T. 87. № 3. C. 396; Badelin A.G., Derzhavin I.M., Karpasyuk V.K., Estemirova S. Kh. // Bull. Russ. Acad. Sci. Phys. 2023. V. 87. No. 3. P. 343.
- Kumar D., Singh A.K. // J. Phys. Chem. Solids. 2023. V. 176. Art. No. 111253.
- Sudakshina B., Suneesh M.V., Arun B. et al. // J. Magn. Magn. Mater. 2021. V. 548. Art. No. 168980.
- Zdiri F., Alonso J.M., Mnasri T. et al. // Materials. 2023. V. 16. No. 4. Art. No. 1573.
- Jia R.R., Yu Q.Y., Zhang J.C. et al. // J. Phys. Conf. Ser. 2009. V. 150. Art. No. 042079.
- Reshmi C.P., Pillai S.S., Vasundhara M. et al. // J. Appl. Phys. 2013. V. 114. Art. No. 033904.
- V’yunov O.I., Belous A.G., Tovstolytkin A.I., Yanchevskii O.Z. // J. Eur. Ceram. Soc. 2007. V. 27. No. 13—15. P. 3919.
- Barandiaran J.M., Greneche J.M., Hernandez T. et al. // J. Phys. Cond. Matter. 2002. V. 14. No. 47. P. 12563.
- Sedykh V.D., Zver’kova I.I., Shekhtman V.S. et al. // Phys. Solid State. 2010. V. 52. No. 3. P. 591.
- Ahn K.H., Wu X.W., Liu K., Chien C.L. // Phys. Rev. B. 1996. V. 54. No. 21. P. 15299.
- Karpasyuk V.K., Badelin A.G., Derzhavin I.M. et al. // Int. J. Appl. Eng. Res. 2015. V. 10. No. 21. Art. No. 42746.
- Wang J., Fan J., Liu F. et al. // Chem. Phys. Lett. 2022. V. 807. No. 21. Art. No. 140119.
- Hizi W., Rahmouni H., Khirouni K., Dhahri E. // J. Alloys Compd. 2023. V. 957. Art. No. 170418.
- Гамзатов А.Г., Гудин С.А., Арсланов Т.Р. и др. // Письма в ЖЭТФ. 2022. Т. 115. № 3—4 (2). С. 218; Gamzatov A.G., Gudin S.A., Arslanov T.R. et al. // JETP Lett. 2022. V. 115. No. 4. P. 190.
- Shannon R.D. // Acta Crystallogr. A. 1976. V. 32. P. 751.
- Dagotto E., Hotta T., Moreo A. // Phys. Reports. 2001. V. 344. P. 1.
- Бабичев А.П., Бабушкина Н.А., Братковский А.М. и др. Физические величины: Справочник. Москва: Энергоатомиздат, 1991. 1232 с.
- Goodenough J.B. Magnetism and the chemical bond. New York: Wiley Intersciense, 1963. 394 p.
Supplementary files






