Влияние обменного взаимодействия между магнитными слоями спин-инжекционного излучателя терагерцевого диапазона на эффективность его работы
- Авторы: Чигарев С.Г.1, Бышевский-Конопко О.А.1
-
Учреждения:
- Федеральное государственное бюджетное учреждение науки Институт радиотехники и электроники имени В.А. Котельникова Российской академии наук, Фрязинский филиал
- Выпуск: Том 87, № 10 (2023)
- Страницы: 1499-1502
- Раздел: Статьи
- URL: https://journals.rcsi.science/0367-6765/article/view/141850
- DOI: https://doi.org/10.31857/S0367676523702617
- EDN: https://elibrary.ru/ZVRPVB
- ID: 141850
Цитировать
Полный текст
Аннотация
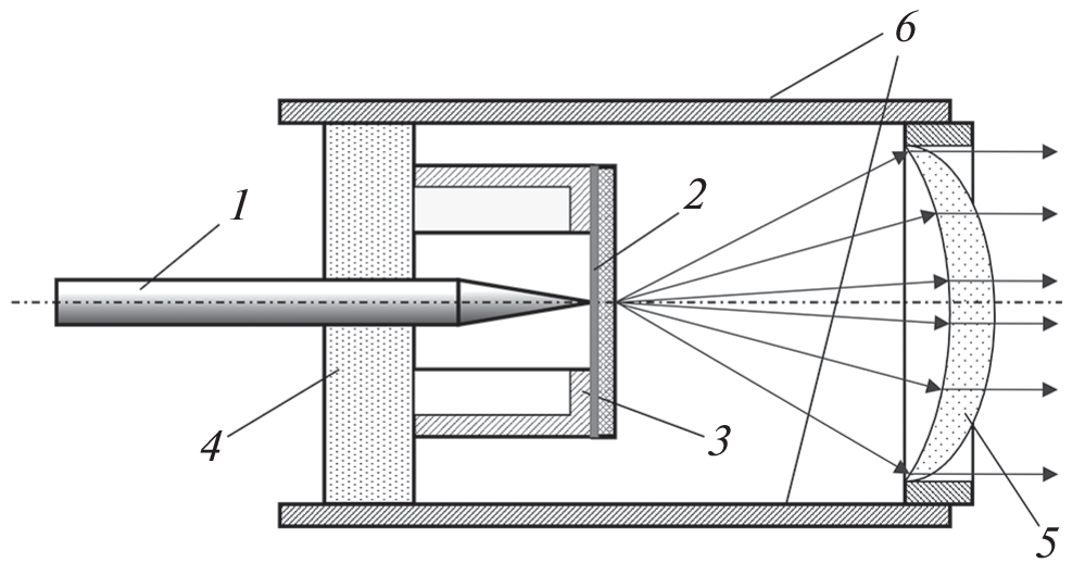
Экспериментально исследовано влияние немагнитной электропроводящей прослойки Мо толщиной 5 нм, размещенной между магнитными слоями Fe и Fe3O4 структуры спин-инжекционного излучателя типа “стержень–пленка”, на эффективность его работы. Установлена возможность увеличения мощности излучения более чем в два раза. Обнаружено, что прослойка Мо влияет также на сопротивление структур, увеличивая его. Качественно обосновано влияние прослойки Мо на сопротивление за счет возникновения между слоями структуры контактной разности потенциалов отличной от контактной разности потенциалов двух металлов.
Об авторах
С. Г. Чигарев
Федеральное государственное бюджетное учреждение наукиИнститут радиотехники и электроники имени В.А. Котельникова Российской академии наук, Фрязинский филиал
Автор, ответственный за переписку.
Email: chig50@mail.ru
Россия, Фрязино
О. А. Бышевский-Конопко
Федеральное государственное бюджетное учреждение наукиИнститут радиотехники и электроники имени В.А. Котельникова Российской академии наук, Фрязинский филиал
Email: chig50@mail.ru
Россия, Фрязино
Список литературы
- Fert A., George J.-M., Jaffrès H., Mattana R., Seneor P. // Europhys. News. 2003. V. 34. No. 6. P. 227.
- Zutic I., Fabian J., Das Sarma S. // Rev. Mod. Phys. 2004. V. 76. No. 2. P. 323.
- Maekawa S. Concepts in spin electronics. N.Y.: Oxford University Press, 2006, 416 p.
- Grunberg P.A. // Rev. Mod. Phys. 2008. V. 80. No. 4. P. 1531.
- Гуляев Ю.В., Зильберман П.Е., Панас А.И., Эпштейн Э.М. // УФН. 2009. Т. 179. № 4. С. 359; Gulyaev Yu.V., Zilberman P.E., Panas A.I., Epshtein E.M. // Phys. Usp. 2009. V. 52. No. 4. P. 335.
- Звездин А.К., Звездин К.А., Хвальковский А.В. // УФН. 2008. Т. 178. № 4. С. 436; Zvezdin A.K., Zvezdin K.A., Khvalkovskiy A.V. // Phys. Usp. 2008. V. 51. No. 4. P. 412.
- Zhou X., Ma L., Shi Z., Fan W.J. et al. // Phys. Rev. B. 2015. V. 92. No. 6. Art. No. 060402.
- Lau Y.C., Betto D., Rode K. et al. // Nature Nanotech. 2016. V. 11. P. 758.
- Walowski J., Münzenberg M. // J. Appl. Phys. 2016. V. 120. No. 14. Art. No. 140901.
- Fernandez-Pacheco A., Streubel R., Fruchart O. et al. // Nature Commun. 2017. V. 8. Art. No. 15756.
- Dhillon S.S., Vitiell M.S., Linfield E.H. et al. // J. Physics D. 2017. V. 50. Art. No. 363001.
- Гуляев Ю.В., Зильберман П.Е., Эпштейн Э.М., Элиот Р.Д. // Радиотехн. и электрон. 2003. Т. 48. № 9. С. 1030; Gulyaev Yu.V., Zil’berman P.E., Epshtein E.M., Elliott R.J. // J. Commun. Technol. Electron. 2003. V. 48. No. 9. P. 942.
- Kadigrobov A., Ivanov Z., Claeson T. et al. // Europhys. Lett. 2004. V. 67. No. 6. P. 948.
- Гуляев Ю.В., Зильберман П.Е., Панас А.И., Эпштейн Э.М. // Письма в ЖЭТФ. 2007. Т. 86. № 5. С. 381; Gulyaev Y.V., Zil’berman P.E., Panas A.I. Epshtein E.M. // JETP Lett. V. 86. No. 5. P. 328.
- Гуляев Ю.В., Зильберман П.Е., Панас А.И. и др. Патент РФ № 2464683. Твердотельный источник электромагнитного излучения, кл. H01S 3/16. 2012.
- Вилков Е.А., Чигарев С.Г., Маликов И.В. и др. Патент РФ № 2617732. Твердотельный источник электромагнитного излучения, кл. H01S 3/16. 2017.
- Вилков Е.А., Гуляев Ю.В., Зильберман П.Е. и др. Твердотельный источник электромагнитного излучения. Патент РФ № 2688096, кл. H01S 3/16, H01S 1/02, H01L 23/00. 2019.
- Шаталов А.С., Загорский Д.Л., Чигарев С.Г., Дюжиков И.Н. Твердотельный источник электромагнитного излучения и способ его изготовления. Патент РФ № 2715892, кл. H01S 3/16. 2020.
- Гуляев Ю.В., Зильберман П.Е., Маликов И.В. и др. // Радиотехн. и электрон. 2012. Т. 57. № 3. С. 359; Gulyaev Yu.V., Zil’berman P.E., Malikov I.V. et al. // J. Commun. Technol. Electron. 2012. V. 57. No. 3. P. 329.
- Зильберман П.Е., Маликов И.В., Михайлов Г.М. и др. // Изв. РАН. Сер. физ. 2014. Т. 78. № 2. С. 197; Zilberman P.E., Malikov I.V., Mikhailov G.M. et al. // Bull. Russ. Acad. Sci. Phys. 2014. V. 78. No. 2. P. 128.
- Вонсовский С.В. Магнетизм. М.: Наука, 1971. 1032 с.
- Гуляев Ю.В., Зильберман П.Е., Чигарев С.Г. // Радиотехн. и электрон. 2015. Т. 60. № 5. С. 441; Gulyaev Yu.V., Zil’berman P.E., Chigarev S.G. // J. Commun. Technol. Electron. 2015. V. 60. No. 5. P. 411.






