Generation of Superhard X-Ray Radiation at The Compressing of Aluminum Wire Arrays
- 作者: Korolev V.D.1, Bakshaev Y.L.1, Danko S.A.1
- 
							隶属关系: 
							- Kurchatov Institute
 
- 期: 卷 50, 编号 1 (2024)
- 页面: 41-50
- 栏目: PLASMA DYNAMICS
- URL: https://journals.rcsi.science/0367-2921/article/view/260995
- DOI: https://doi.org/10.31857/S0367292124010046
- EDN: https://elibrary.ru/SKPGVI
- ID: 260995
如何引用文章
全文:
详细
At the S-300 generator (2 MA, 400 kV, 100 ns), the appearance of superhard X-ray radiation was observed during magnetic compression of cylindrical nested aluminum arrays with a linear mass of ~350 μg/cm, consisting of aluminum wires with a diameter of 15 μm. At the final compression phase of the arrays, a compact pinch is formed, consisting of a large number of hot spots located along the axis. This phase is accompanied by the emission of soft X-rays with a duration of ~10 ns. Simultaneously with the pulses of soft X-ray radiation, superhard X-ray radiation with an energy exceeding 450 keV was discovered. Superhard X-ray radiation was measured with shielded scintillation detectors with lead filters 20–70 mm thick. The main cause of overvoltage on the plasma column appears to be constriction instability.
全文:
- ВВЕДЕНИЕ
Использование Z-пинчей на сильноточных ускорителях мегамперного диапазона представляет большой интерес как один из вариантов решения проблемы управляемого термоядерного синтеза (УТС) и как источник мощного рентгеновского и нейтронного излучения, наряду с такими системами, как взрывомагнитные генераторы, мощные лазеры, а также пучки высокоэнергетических частиц (ионов, электронов). Как правило, в большинстве таких систем происходит преобразование первоначально накопленной электромагнитной энергии в энергию теплового излучения, необходимого для облучения и сжатия вещества термоядерной мишени, располагающейся в специальной капсуле — хольрауме. Сжатие вещества сферической мишени происходит за счет реактивных сил, возникающих при испарении оболочки. Исключительные перспективы для инерционного термоядерного синтеза имеет использование мягкого рентгеновского излучения (МРИ). К настоящему времени проведены многочисленные эксперименты по магнитному сжатию плазменных нагрузок, называемых лайнерами, для получения мощных источников мягкого рентгеновского излучения на основе Z-пинча на сильноточных импульсных генераторах мегаамперных токов. Среди них установки: ZR (США), “Ангара-5” (Россия), С-300 (Россия), ГИТ-12 (Россия), ВМГ (Россия), PTS (КНР), MAGPIE (Великобритания), SPHINX (Франция) и др. В экспериментах на современных электрофизических установках в качестве лайнеров используются газовые и многопроволочные сборки, состоящие из нескольких десятков и даже сотен тонких проволочек [1–5]. Понимание механизмов преобразования энергии лайнеров в рентгеновское излучение имеет важное значение при конструировании импульсных драйверов и элементов нагрузки Z-пинча. Достижение высоких мощностей рентгеновского излучения с короткой длительностью требует высокой степени азимутальной симметрии плазмы, низкого уровня начальных возмущений и роста магнитных релей-тейлоровских неустойчивостей (МРТ).
В ходе многолетних исследований было показано сходство физики сжатия проволочных сборок на различных электрофизических установках, включая и самую мощную на сегодняшний день установку ZR, несмотря на существенное различие значений разрядных токов установок. Так, первые эксперименты на установке “Ангара-5” [6] продемонстрировали высокоэффективное преобразование электромагнитной энергии в излучение: при уровне тока до 4 МА возможно получение импульсов МРИ длительностью около 6 нс, мощностью 5–7 ТВт и энергией выше 30 кДж. Наибольшие мощности рентгеновского излучения (280–300) ТВт с полной энергией более 2,6 МДж были достигнуты на установке ZR с током 26 МА при сжатии цилиндрических лайнеров — концентрической двухкаскадной сборки из тонких вольфрамовых проволочек — с эффективностью преобразования электрической энергии в излучение 20% [7]. Внутренняя сборка способствует подавлению развития магнитной рэлей-тейлоровской неустойчивости во время имплозии, что приводит к повышению мощности и уменьшению длительности рентгеновского импульса по сравнению с одиночными цилиндрическими сборками. Экспериментальные исследования показали, что даже при большом количестве проволочек сборки не образуют сплошную плазменную оболочку на первой стадии (60–80)% имплозии лайнера. При этом проволочки остаются дискретными компактными объектами. Вложенные многопроволочные и другие комбинированные сборки в настоящее время рассматриваются в качестве перспективных источников излучения для инерциального синтеза.
Процесс имплозии сопровождается появлением многочисленных неустойчивостей, в результате развития которых на конечной стадии сжатия возникают сопутствующие явления: индуцированные электрические поля, частицы и излучения высоких энергий. В связи с процессами генерации быстрых электронов при сжатии многокаскадных лайнеров и сопутствующим им рентгеновским излучением, на установке “Ангара-5” были проведены измерения эмиссии жёсткого рентгеновского излучения [8, 9]. Было показано, что на оси вольфрамовой проволочной сборки возникает электронный пучок, являющийся источником рентгеновского излучения с энергией более 50 кэВ и длительностью 20 нс. В этих экспериментах при полном разрядном токе 4 МА ток электронного пучка составлял 20 кА.
На установке NTF (Невада, США) с током 1,2 МА в экспериментах с нагрузкой X-пинч зарегистрировано два типа сверхжёсткого рентгеновского (СЖР) излучения с полной длительностью 100–150 нс и с энергией квантов, превосходящей заряд электрона, умноженный на напряжение высоковольтного диода [10]. В работе [11] также в экспериментах с Х-пинчом при токах до 500 кА наблюдались ускоренные электроны с двумя характерными временами: “короткоживущие” 1–2 нс и “долгоживущие” 5–10 нс, — при энергии электронов 10–30 кэВ и 100–200 кэВ, соответственно. Та же группа экспериментаторов опубликовала данные по регистрации коротких импульсов жёсткого рентгеновского (ЖР) излучения на измененной конструкции Х-пинча (“гибридный пинч”) [12]. Длительность импульса ЖР-излучения составила 2–3 нс при энергии квантов выше 60 кэВ.
Более жёсткое излучение с энергией квантов >800 кэВ (hν жёстче, чем eU, где U — напряжение импульса генератора, e — заряд электрона) было зарегистрировано в экспериментах на С-300 с Х-пинчами [13], сформированными перекрещенными проволочками из различных материалов (вольфрам, молибден, нержавеющая сталь). Минимальный размер зарегистрированных локальных плазменных образований в Х-пинче составил 20 мкм, а температура и концентрация плазмы составляли Т = (1,2—1,4) кэВ и n = 1022 см-3, соответственно [14].
Результаты экспериментов по измерению сверхжёсткого излучения в конфигурации цилиндрических многопроволочных нагрузок на установке С-300 представлены в данной работе.
- ПОСТАНОВКА ЭКСПЕРИМЕНТА
Эксперименты по исследованию сверхжёсткого рентгеновского (СЖР) излучения проводились на мощном 8-мимодульном генераторе С-300 в импульсе со временем нарастания 100 нс при токах до 2 МА, напряжении до 400 кВ [15]. В качестве нагрузки использовались одиночные цилиндрические и двойные вложенные цилиндрические лайнеры, представляющие собой две коаксиальные многопроволочные сборки. Цилиндрические сборки имели высоту 15 мм и состояли из набора алюминиевых проволочек диаметром 15 мкм. Во вложенных сборках, изготовленных из двух, внешняя сборка диаметром 12 мм имела 48 алюминиевых проволочек, а внутренняя имела диаметр 6 мм и состояла из 24 проволочек. Было проведено несколько экспериментов и с одиночной сборкой диаметром 12 мм, которая состояла из 72 алюминиевых проволочек. Полная масса проволочек у всех лайнеров была ≈350 мкг.
Схема эксперимента представлена на рис. 1. Для изучения динамики сжатия и измерения пространственно-временных параметров плазмы использовалась следующая диагностическая аппаратура: оптическая щелевая развертка; электронно-оптические преобразователи (ЭОПы) для фотографирования в видимом и в рентгеновском спектральных диапазонах с экспозицией кадров 4–6 нс; рентгеновские камеры-обскуры; рентгеновский кристаллический спектрометр с регистрацией временного хода спектра излучения алюминия на щелевой развёртке [16]; полупроводниковые детекторы AXUV-5 с временным разрешением 3 нс, установленные на расстоянии 2.5 м от оси сборки для регистрация импульсного МР-излучения: 10 эВ < hν < 6 кэВ. Из-за чрезвычайно высокой интенсивности МР-излучения его пришлось ослаблять фильтрами Ti (44 мкм) и Al (8 мкм) для работы в диапазоне линейной характеристики детекторов: это автоматически привело к некоторой спектральной селективности. Абсолютная чувствительность используемых детекторов мягкого рентгеновского излучения принималась равной декларированной производителем: 0.27 А/Вт. Напряжение на катоде измерялось делителем с временным разрешением ~2 нс. Сверхжёсткое рентгеновское излучение с энергией ≥ 400 кэВ измерялось двумя сцинтилляционными детекторами, которые устанавливались на расстояниях 6 и 11.4 м в плоскости, перпендикулярной к оси сборки. Детекторы были выполнены на базе фотоумножителя фирмы Hamamatsu 1828-01 и быстрого пластмассового сцинтиллятора из полистирола с добавкой p-терфенила СПСБ18 диаметром 50 мм и длиной 50 мм. Спектральные зависимости катодной чувствительности детекторов были одинаковыми, а максимальная анодная чувствительность детекторов к γ-квантам с энергией 1.25 МэВ составляла 1.1 · 10-8 и 3.6 · 10-9 А · с/квант, соответственно указанному расположению; временное разрешение ~3 нс. Детекторы снабжались свинцовыми фильтрами толщиной 2–5 см. Для защиты от рассеянного жёсткого рентгеновского излучения они помещались в свинцовые контейнеры толщиной более 70 мм. Жёсткое рентгеновское (ЖР) излучение регистрировалось детекторами ССДИ-8, полупроводниковыми детекторами СППД2-02 и СKД1-02. Детекторы комплектовались медными фильтрами с максимальной толщиной 1 мм (hν > 80 кэВ). Для защиты детектора установленного вдоль оси (над анодом) СKД1-02 от рассеянного рентгеновского излучения использовался коллиматор.
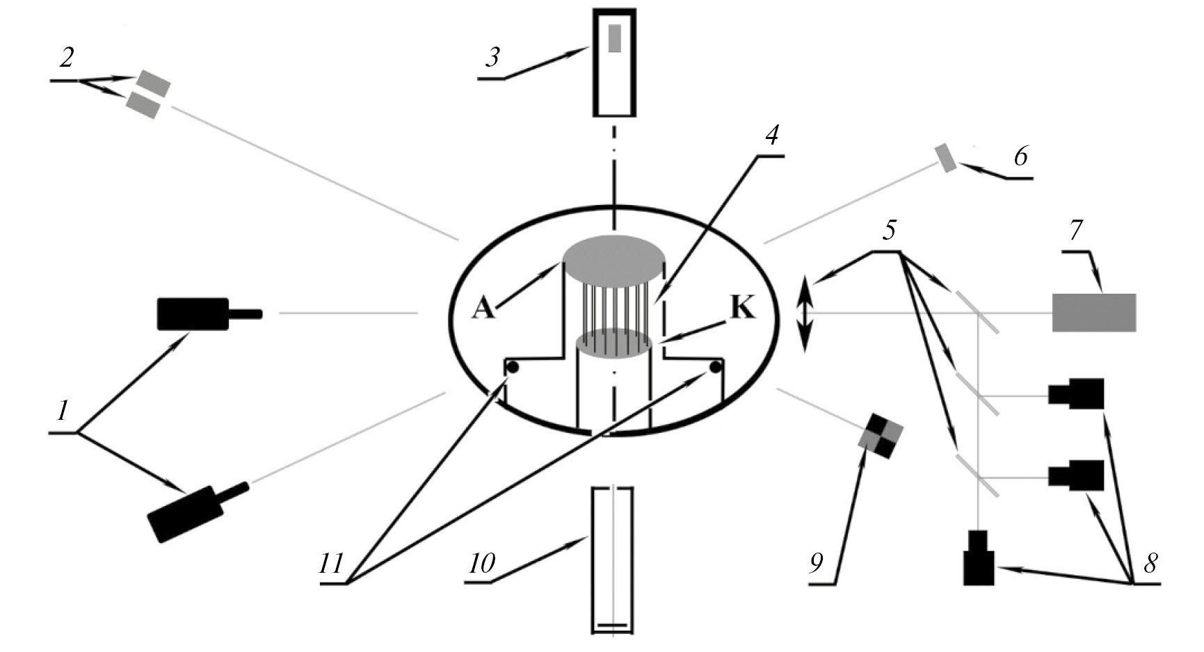
Рис. 1. Схема эксперимента: 1 – сцинтилляционные детекторы, снабжённые свинцовыми фильтрами; 2 — полупроводниковые детекторы МР-излучения AXUV-5; 3 — полупроводниковый детектор СKД1-02 с коллиматором; 4 — проволочная сборка; 5 — линза и зеркала оптической системы; 6 –детектор СППД2-02; 7 — электронно-оптическая щелевая развертка; 8 — три оптических кадровых ЭОПа; 9 — четырёхкадровый рентгеновский ЭОП; 10 — камера-обскура; 11 — магнитные петли для измерения тока; А — анод; К — катод
- ЭКСПЕРИМЕНТАЛЬНЫЕ РЕЗУЛЬТАТЫ
На рис. 2 (пуск 06.06 № 2) представлена типичная картина сжатия вложенных алюминиевых сборок на оптической щелевой развертке, а также синхронизованные по времени осциллограммы тока, напряжения, мягкого и жёсткого рентгеновского излучения. На фотографии щелевой развертки видна стадия “затянутого” плазмообразования, возникающего из проволочек под действием протекающего по ним электрического тока. Свечение плазмы появляется на 80 нс от начала тока, когда он был равен ≈1 МА. Внешний диаметр сборки не уменьшается в течение 80 нс, что связано с тем, что в течение этого времени проволочки полностью не испарились. Ускорение внешней границы сборки начиналось за >> 40 нс до фазы образования пинча, скорость сжатия составляла ≥ 107 см/с.
Рис. 2. Пуск 06.06 № 2. Осциллограммы тока I [МА]; напряжения U [МВ]; импульсов сверхжёсткого рентгеновского излучения в условных диапазонах hν > 600 кэВ и hν > 400 кэВ; жёсткого рентгеновского излучения в диапазоне hν > 80 кэВ; мягкого рентгеновского излучения с энергией 10 < hν < 6000 эВ, и хронограмма сжатия многопроволочной сборки в видимом свете. Мощность излучения представлена в относительных единицах
Как видно из щелевой развертки, за ≈20 нс до момента максимального сжатия, наблюдается уменьшение скорости внешней границы свечения, что соответствует столкновению внешнего и внутреннего лайнеров. Столкновение внешней сборки с внутренней на 560 нс соответствует излому внешней границы свечения сборки, и сопровождается короткой паузой в нарастании второго пика в напряжении (см. рис. 2). Наибольшее сжатие сборки в этом эксперименте происходило на 590 нс. В этот момент резко возрастает интенсивность свечения на фотографиях щелевой развертки, при этом радиус сборки достигает своего минимального значения. На стадии максимального сжатия существенно увеличивается индуктивность нагрузки и появляется второй пик в импульсе напряжения с амплитудой до 580 кВ (это самое большое значение напряжения во втором пике за представляемую серию пусков). В этот момент регистрировались импульсы мягкого теплового рентгеновского излучения с энергией 10 < hν < 6000 эВ и длительностью на полувысоте 20 нс и жёсткого рентгеновского излучения с энергией hν > 600 кэВ и длительностью от 3 до 20 нс. Следует отметить, что наблюдаемая пологая часть переднего фронта МР-импульса может быть связана с ранним приходом на ось пинча предвестника с небольшим количеством плазмы до момента сжатия основной массы сборки [17]. Как видно из рис. 2 мягкое рентгеновское излучение появляется за ≈ 30—40 нс до фазы максимального сжатия.
На рис. 3 приведена серия последовательных изображений плазмы, полученных с помощью рентгеновских ЭОПов, на которых время, указанное под снимками, отсчитывается от максимума тока. Из рентгеновских фотографий, полученных в области hν ≥ 10 эВ, видно, что на “–35” нс формируется светящийся столбик диаметром 4 мм с ярким шнуром диаметром менее 1 мм на оси, которые подсвечивают еще не испарившиеся остовы проволочек сборки. Такая оболочечная структура образуется в результате прихода относительно горячей плазмы предвестника на ось сборки. На следующих рентгеновских фотографиях видно, что к максимуму тока интенсивность свечения шнура увеличивается за счет радиального сноса плазмы к оси. При этом через 11 нс после максимума тока образуется светящийся цилиндр с диаметром 6 мм, равным диаметру внутренней сборки лайнера. Дальнейшее ускорение сборки к оси заканчивается образованием на ее оси пинча с минимальным диаметром менее 1 мм.
Рис. 3. Фотографии эволюции двухкаскадной алюминиевой сборки, полученные с помощью рентгеновских ЭОПов без фильтра (hν > 10 эВ) и с фильтром из лавсана толщиной 3 мкм (0,3 > hν > 0,2 и hν > 1 кэВ). Снимки располагаются в хронологическом порядке; указанное под ними время (нс) отсчитывается от максимума тока
В результате развития перетяжечной неустойчивости пинч на конечной стадии разбивался на горячие точки (ГТ), которые располагались вдоль оси. На рентгеновских ЭОПограммах, полученных за лавсановым фильтром толщиной 3 мкм, видна динамика формирования шнура, излучающего в области энергий hν ≥ 200 эВ и состоящего из большого количества расположенных вдоль оси сборки горячих точек поперечным размером 0.2–0.6 мм. В соседних с перетяжками областях возникают радиальные выбросы плазмы. Обычно такая форма пинча наблюдается на конечной стадии сжатия традиционных вольфрамовых сборок [18]. После момента достижения максимального сжатия интенсивность свечения ГТ и их количество уменьшается [19]. За ~20 нс до фазы максимального сжатия возникает рентгеновское излучение, а также регистрируются резонансные линии водородоподобных и гелиеподобных ионов алюминия, что свидетельствует о том, что в указанное время появляется горячая плазма с температурой ≈0,5 кэВ.
Как уже отмечалось, сверхжёсткое рентгеновское излучение регистрировалось сцинтилляционными детекторами. Свод результатов всех пусков с регистрацией СЖР-излучения представлен в табл. 1. Один из детекторов, установленный на расстоянии 11,4 м, экранировался свинцовыми фильтрами толщиной 20 мм или 30 мм с условной энергией отсечки hν ≥ 400 кэВ и hν ≥ 470 кэВ, соответственно, а второй детектор, установленный на расстоянии 6 м, фильтрами 50 мм с условной энергией отсечки hν ≥ 600 кэВ. Длительность импульсов сверхжёсткого рентгеновского излучения составляла 3–20 нс. Как в области энергий hν ≥ 600 кэВ, так и в области hν ≥ 400 кэВ в отдельных опытах наблюдались импульсы, состоящие из нескольких пиков с длительностью около 3 нс (см. рис. 2 и табл. 1, где j и τ — значение пикового тока датчика и длительность пика).
Таблица 1. Перечень пусков с регистрацией СЖР-излучения: j и τ — максимального значение тока датчика и длительность пика; U1 и U2 — максимальные значения в двух пиках, обычно наблюдаемых на осциллограмме напряжения; * — нелинейный режим фотоумножителя
| Дата (№) пуска | Кол-во ∅15 мкм Al проволочек в сборке на ∅12+ на ∅6 мм | I, МА | Пиковые напряжения U1/U2, кВ | Энергия электронов, кэВ | Сцинтилляционные детекторы | ||
| R = 6 м, Pb 5 см | R = 11,4 м | ||||||
| j/τ, А/нс | Толщина Pb фильтра, см | j/τ, А/нс | |||||
| 03.06 (1) | Одна оболочка 72 | 1,9 | 400/90 | — | 0,3/15 | — | — | 
| 03.06 (2) | 48+24 | 1,6 | 400/200 | 740 | 0,1/8 | 2 | 0,5/10 | 
| 04.06 (2) | 48+24 | 1,9 | 400/340 | 1400* | 1,6*/9,5 | 2 | 1,6*/9,5 | 
| 06.06 (1) | 48+24 Al 97%+Mg 3% | 1,8 | 360/400 | — | 0 | 2 | 0,25/4 | 
| 06.06 (2) | 48+24 Al 97%+Mg 3% | 1,85 | 380/580 | 1400* | 1,6*/3 | 2 | 1,6*/9 | 
| 09.06 (1) | 48+24 | 1,8 | 340/430 | 860 | 0,14/5 | 2 | 0,4/5 | 
| 09.06 (2) | 48+24 | 1,8 | 345/345 | — | 0,12/7,6 | 3 | 0 | 
| 10.06 (1) | Одна оболочка 72 | 1,9 | 350 | — | 0 | 3 | 0,02/6 | 
| 10.06 (2) | 48+24 | 1,6 | 220 | — | 0 | 3 | 0 | 
| 24.06 | Одна оболочка 72 | 1,9 | 320/100 | 520 | 0,03/7 | 3 | 0,16/15 | 
| 25.06 | 48+24 | 1,85 | 310/400 | 460 | 0,02/5 | 3 | 0,25/15 | 
Максимальная энергия сверхжёсткого рентгеновского излучения обычно превосходила заряд электрона, умноженный на напряжение, которое измерялось на центральном узле вакуумного концентратора установки в момент появления излучения. Высокие значения энергии сверхжёсткого рентгеновского излучения свидетельствуют об ускорении в разряде пинча электронной компоненты до энергии, существенно превышающей 400 кэВ. На появление быстрых электронов непосредственно в области горячей плазмы указывает и генерация жёсткого тормозного излучения с энергией hν ≥ 50 кэВ, измеренного на оси сборки детектором СКД1-02, расположенным за коллиматором со стороны анода (рис. 4 пуск 06.04 № 2). На рентгеновских снимках (рис. 5) представлены рентгеновские фотографии максимальной фазы сжатия двухкаскадного и одиночного лайнеров. Следует отметить, что в экспериментах с одиночными алюминиевыми лайнерами образование вдоль оси большого количества ГТ не наблюдалось (рис. 5б). При этом СЖР-излучение также регистрировалось (см. табл. 1).
Рис. 4. Типичные рентгеновские ЭОПограммы двухкаскадного (a) и одиночного лайнера (б) из алюминия, полученные в момент максимального сжатия за майларовым фильтром толщиной 3 мкм (0,3 > hν > 0,2 и hν >1 кэВ)
Рис. 5. Пуск 04.06 №2. Осциллограммы напряжения U [МВ]; тока I [МА]; сверхжёсткого рентгеновского излучения hν > 400 кэВ; ЖР-излучения hν > 50 кэВ, зарегистрированное коллимированным вдоль оси датчиком СКД1-02; ЖР-излучения в диапазоне hν > 80 кэВ (СППД2-02) и хронограмма сжатия многопроволочной сборки в видимом свете
Энергия электронов, равная максимальной энергии квантов тормозного излучения, определялась из предположения моноэнергетичности электронного пучка в каждый момент времени по отношению синхронизированных во времени сигналов двух детекторов в случае генерации излучения из железной мишени [20]. В представленных формулах (1) и (2), по которым рассчитывался ток детекторов, учтены следующие факторы: распределение квантов тормозного излучения по энергии, вычисленным в предположении моноэнергетичности излучающих электронов; пропускная способность свинцовых фильтров двух разных толщин и поглощающая способность сцинтиллятора, которым оснащены детекторы, регистрирующие тормозное излучение.
(1)
где Е — энергия электрона, k = hν — энергия кванта; N(Е, k) — распределение квантов тормозного излучения по энергии (формула Крамерса); Sγ(k) — спектральная чувствительность детектора; m(k) — линейные коэффициенты поглощения γ-квантов в свинце; msc(k) — линейные коэффициенты поглощения g-квантов в сцинтилляторе, d1, d2 – толщи́ны свинцовых фильтров; dsc — толщина сцинтиллятора; j — ток детектора. При фиксированной энергии электронов E абсолютные значения интенсивности тормозного излучения позволяют оценить ток пучка. В предположении изотропности тормозного излучения ток пучка сверхэнергичных электронов i(t) может быть получен из соотношения
(2)
где R — расстояние от лайнера до детектора; остальное как в (1).
На рис. 6 представлен расчётный ток сцинтилляционного детектора, закрытого свинцовым фильтром толщиной 2 см, на удалении 11,4 м. На рис. 7 приведена расчетная кривая отношений сигналов использованных детекторов, имеющих одинаковую катодную чувствительность и экранированных свинцовыми фильтрами разной толщины. Отношения сигналов, зарегистрированных в эксперименте, выбирались для момента времени, соответствующего максимальной интенсивности тормозного излучения. Максимальная зарегистрированная энергия электронов во всех пусках, где были зарегистрированы сигналы обоих детекторов, превосходила измеренное значение напряжения, умноженное на заряд электрона, и составляла от 460 кэВ до 1,4 МэВ. Отметим, что максимальные значения энергии в пусках 04.06 № 2 и 06.06 № 2 нельзя считать точными из-за высокого уровня тока ФЭУ, превосходящего его линейный предел 0.5 А.
Рис. 6. Расчётный ток сцинтилляционного детектора, закрытого свинцовым фильтром толщиной 2 см, на удалении 11.4 м в зависимости от энергии электронов
Рис. 7. Расчетные отношения сигналов ФЭУ, экранированных свинцовыми фильтрами толщиной 2 см и 5 см — 1 и фильтрами толщиной 3 см и 5 см — 2, в зависимости от энергии электронов
Максимальный ток сверхэнергичных электронов, оценённый из расчетного соотношения, был зарегистрирован в эксперименте 09.06(1) и составил ~ 1 А, а мощность электронного потока — 0,8 МВт. Это ток электронов с энергией, соответствующей значению энергии, приведенной в столбце 5 табл. 1. Она заметно превосходит измеренные высоковольтным делителем значения напряжения, умноженные на электронный заряд (столбец 4 табл. 1). Следует отметить, чтобы получить более точную величину тока сверхэнергичных электронов и заметить кратковременные скачки напряжения, необходимо провести специальные измерения, в частности, с лучшим временным разрешением.
- ЗАКЛЮЧЕНИЕ
В экспериментах с одно- и двухкаскадными цилиндрическими проволочными сборками по жёсткости тормозного рентгеновского излучения была зарегистрирована энергия сверхэнергичных электронов, которая превосходила измеренное значение напряжения, умноженное на заряд электрона, и составила от 460 кэВ до 1,4 МэВ. Мощность сверхэнергичных электронов составила 0,8 МВт. На конечной стадии сжатия во всех пусках в результате развития перетяжечной неустойчивости пинч разбивался на горячие точки, которые располагались вдоль оси.
Причиной возникновения сильных электрических полей в плазме пинча является аномальное сопротивление [21, 22], которое может возникнуть в результате развития кинетических неустойчивостей, турбулентного перемешивания плазмы и магнитного поля, и по другим причинам. К увеличению сопротивления в пинче, как показано работе [23], может привести замагниченность электронов и неоднородное распределение плотности вдоль плазменного канала. При этих условиях ток течет не вдоль электрического поля, а по более сложной траектории (зигзагообразно). Генерация пучков электронов происходит в перетяжках при максимальном сжатии и продолжается некоторое время на стадии расширения плазмы.
В соответствии с представленными в данной работе наблюдениями основной причиной аномального сопротивления на плазменном столбе Z-пинча является перетяжечная неустойчивость, которая приводит к возникновению перенапряжения на нагрузке и сверхжёсткого рентгеновского излучения с энергией, превосходящей напряжение генератора, умноженное на заряд электрона.
ФИНАНСИРОВАНИЕ
Обработка и анализ экспериментального материала выполнены в рамках тематического плана НИЦ “Курчатовский институт” на 2023–2025 годы.
作者简介
V. Korolev
Kurchatov Institute
							编辑信件的主要联系方式.
							Email: Korolev_VD@nrcki.ru
				                					                																			                												                	俄罗斯联邦, 							Moscow						
Yu. Bakshaev
Kurchatov Institute
														Email: Bakshaev_YL@nrcki.ru
				                					                																			                												                	俄罗斯联邦, 							Moscow						
S. Danko
Kurchatov Institute
														Email: Danko_SA@nrcki.ru
				                					                																			                												                	俄罗斯联邦, 							Moscow						
参考
- Айвазов И.К., Бехтев М.Б., Булан В.В., Булатов А.Н., Вихарев В.Д., Волков Г.С., Грабовский Е.В., Гигиберия В.П., Заживихин В.В., Зайцев В.И., Захаров С.В., Золотов В.П., Знатнов Е.В., Комаров С.А., Конкашбаева Р.С., Карташов А.В., Костромин А.П., Красильников А.И., Лузин Ю.Н., Макаров В.В., Мишенский В.О., Никандров Л.Б., Недосеев С.Л., Олейник Г.М., Певчев В.П., Савочкин В.Н., Смоленкова О.А., Смирнов В.П., Сопкин Ю.В., Тулупов М.В., Фролов И.Н., Царфин В.Я., Ямпольский И.Р. // Физика плазмы. 1990. Т.16. № 6. С. 645.
- Spielman R. B., Deeney C., Chandler G.A., Douglas M.R., Fehl D.L., Matzen M.K., McDaniel D.H., Nash T.J., Porter J.L., Sanford T.W.L., Seamen J.F., Stygar W.A., Struve K.W., Breeze S.P., McGurn J.S., Torres J.A., Zagar D.M., Gilliland T.L., Jobe D.O., McKenney J.L., Mock R.C., Vargas M., Wagoner T., Peterson D. L. // Phys. Plasmas. 1998. V. 5. № 5. P. 2105. DOI: https://doi.org/10.1063/1.872881
- Калинин Ю.Г., Кингсеп А.С., Смирнов В.П., Бакшаев Ю.Л., Бартов А.В., Блинов П.И., Данько С.А., Дубас Л.Г., Корельский А.В., Королёв В.Д., Мижирицкий В.И., Устроев Г.И., Черненко А.С., Чикин Р.В., Шашков А.Ю., Ли Дзэнхон, Хуа Синьшен, Пэн Сяньцзю, Фен Шупин, Гуо Цун, Цзян Шилун, Нинь Чен, Сон Фенджун, Сюй Жонкун, Сюй Цзэпин, Ян Ченли, Ян Цзюньлун, Ян Либин // Физика плазмы. 2006. Т. 32. № 8. С. 714.
- Селемир В.Д., Демидов В.А., Ермолович В.Ф., Ермолович В.Ф., Спиров Г.М., Репин П.Б., Пикулин И.В., Волков А.А., Орлов А.П., Борискин А.С., Таценко О.М., Моисеенко А.Н., Баринов М.А., Маркевцев И.М., Казаков С.А., Селявский В.Т., Шаповалов Е.В., Гитерман Б.П., Власов Ю.В., Дыдыкин П.С., Ряслов Е.А., Котельников Д.В., Гайдаш С.В. // Физика плазмы. 2007. Т. 33. № 5. С. 424.
- Xian-Bin Huang, Shao-Tong Zhou, Jia-Kun Dan, Xiao-Dong Ren, Kun-Lun Wang, Si-Qun Zhang, Jing Li, Qiang Xu, Hong-Chun Cai, Shu-Chao Duan, Kai Ouyang, Guang-Hua Chen, Ce Ji, Bing Wei, Shu-Ping Feng, Meng Wang, Wei-Ping Xie, Jian-Jun Deng, Xiu-Wen Zhou, and Yi Yang // Phys. Plasmas.2015. V. 22. 072707. DOI: https://doi.org/10.1063/1.4926532
- Альбиков З.А., Велихов Е.П., Веретенников А.И. , Глухих В.А., Грабовский Е.В., Грязнов Г.М., Гусев О.А., Жемчужников Г.Н., Зайцев В.И., Золотовский О.А., Истомин Ю.А., Козлов О.В., Крашенинников И.С., Курочкин С.С., Латманизова Г.М., Матвеев В.В., Минеев Г.В., Михайлов В.Н., Недосеев С.Л., Олейник Г.М., Певчев В.П., Перлин А.С., Печерский О.П., Письменный В.Д., Рудаков Л.И., Смирнов В.П., Царфин В.Я., Ямпольский И.Р. //Атомная энергия. 1990. Т. 68. Вып. 1. С. 26.
- Deeney C., Douglas M.R., Spielman R.B., Nash T.J., Peterson D.L., L’Eplattenier P., Chandler G.A., Seamen J.F., and Struve K.W. // Phys. Rev. Lett. 1998. V. 81. 4883.
- Александров В.А., Грабовский Е.В., Грибов А.Н., Грицук А.Н., Медовщиков С.Ф., Олейник Г.Н., Сасоров П.В. //Физика плазмы. 2008. Т. 34. № 4. C. 311.
- Александров В.А., Грабовский Е.В., Грибов А.Н., Грицук А.Н., Медовщиков С.Ф., Митрофанов К.Н., Олейник Г.Н. //Физика плазмы. 2009. Т.35. № 2. С.6.
- Kantsyrev V.L., Fedin D.A., Shlyaptseva A.S., Hansen S., Chamberlain D., and Ouart N. // Phys. Plasmas. 2003. V. 10. P. 2519.
- Шелковенко Т.А., Пикуз С.А., Мингалеев А.Р., Агафонов А.В., Романова В.М., Тер-Оганесьян А.Е., Ткаченко С.И., Блеснер И.С., Митчелл М.Д., Чандлер К.М., Касси Б.Р., Хаммер Д.А. // Физика плазмы. 2008. Т. 34. №. 9. С. 816.
- Кахилл А.Д., Мингалеев А.Р., Пикуз С.А., Тиликин И.Н., Шелковенко Т.А., Хаммер Д.А., Хойт К.Л. // Тезисы доклада на XLI Международной Звенигородской конф. по физике плазмы и УТС. 2014. С. 125.
- Ананьев С.С., Бакшаев Ю.Л., Блинов П.И., Брызгунов А.А., Данько С.А., Зеленин А.А., Казаков Е., Кальнин Ю.Г., Кингсеп А.С., Королев В.Д., Мижирицкий В.И., Пикуз С.А., Смирнов В.П., Соколов М.И., Ткаченко С.И., Черненко А.С., Шелковенко Т.А. // Физика плазмы. 2009. Т. 35. № 6. С. 507.
- Ананьев С.С., Бакшаев Ю.Л., Бартов А.В., Блинов П.И., Брызгунов В.А., Данько С.А., Жужунашвили А.И., Зеленин А.А., Казаков Е.Д., Калинин Ю.Г., Кингсеп А.С., Королев В.Д., Мижирицкий В.И., Пикуз С.А., Романова В.М., Смирнов В.П., Ткаченко С.И., Устроев Г.И., Черненко А.С., Шелковенко Т.А., Щагин В.А. // Письма ЖЭТФ. 2008. Т. 87. Вып. 7. С. 426.
- Chernenko A.S., Gorbulin Yu.M., Kalinin Yu.G., Kingsep A.S., Koba Yu.V., Korolev V.D., Mizhiritskii B.I., Rudakov L.I. //Proc. 11th Int. Conf. on High-Power Particle Beams, Prague, Czech Republic. 1996. V. 1. P. 154.
- Данько С.А., АнаньевС.С., Калинин Ю.Г. // ВАНТ. Серия: Термоядерный синтез. 2009. Вып. 2. С. 43. http://vant.iterru.ru/vant_2009_2/2.pdf
- Калинин Ю.Г., Кингсеп А.С., Смирнов В.П, Бакшаев Ю.Л., Бартов А.В., Блинов П.И., Данько С.А., Дубас Л. Г., Корельский А.В., Королев В.Д., Мижирицкий В.И., Устроев Г.И., Чикин А.С., Шашков А.Ю., Ли Дзенхон, Хуа Синьшен, Пен Сяньцзю, Фэн Щунин, Гуо Цун, Цзян Щилун, Нинь Чен, Фенджун, Сюй Жонкун, СюйЦзепин, Ян Ченли, Ян Цзюлун, Ян Либин //Физика плазмы. 2006. Т. 32. № 8. С. 714.
- Черненко А.С., Королев В.Д., Устроев Г.И., Иванов М.И., Александров С.Ю., Хунчунь Ц. // ВАНТ Сер. Термоядерный синтез. 2004. Вып. 2. С. 25.
- Hall G.N., Pikuz S.A., Shelkovenko T.A., S.N. Bland, Lebedev S.V., Ampleford D.J., Palmer J.B.A., Bott S.C., Rapley J., Chittenden J. P. // Physics of Plasmas. 2006. V.13. P. 082701.
- Блохин М.А. Физика рентгеновских лучей. М.: Гостехтеориздат, 1957.
- Вихрев В.В., Коржавин В.М. // Физика плазмы. 1978. Т. 4. С. 735.
- Сасоров П.В. //Физика плазмы. 1992. Т. 18. С. 275.
- Вихрев В.В. // Прикладная физика. 1999. № 5. С. 71.
补充文件
 
				
			 
						 
						 
						 
						 
					 
				
 
  
  
  电邮这篇文章
			电邮这篇文章 







