Зондовые измерения в источнике трубчатой плазмы для плазменного релятивистского СВЧ-усилителя
- Авторы: Пономарев А.В.1, Ульянов Д.К.1
-
Учреждения:
- Институт общей физики им. А.М. Прохорова РАН
- Выпуск: Том 49, № 6 (2023)
- Страницы: 576-581
- Раздел: ДИАГНОСТИКА ПЛАЗМЫ
- URL: https://journals.rcsi.science/0367-2921/article/view/139565
- DOI: https://doi.org/10.31857/S0367292122601485
- EDN: https://elibrary.ru/WXNAGB
- ID: 139565
Цитировать
Полный текст
Аннотация
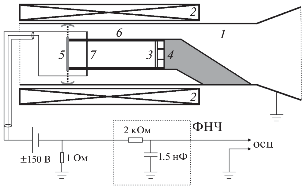
Представлены результаты зондовых измерений параметров плазмы в источнике трубчатой плазмы, который применяется в исследованиях по плазменной релятивистской СВЧ-электронике. Трубчатая плазма создается в результате ионизации фонового газа пучком электронов, эмитируемых кольцевым накаленным вольфрамовым катодом в аксиальном магнитном поле. Получены вольтамперные характеристики зонда для трех токов разряда 5, 9 и 20 А при трех длинах плазменного столба 10, 20 и 30 см. Показано, что для всех токов разряда и при всех длинах температура электронов в момент проведения измерений времени равна 20 эВ. Показано также, что концентрация плазмы в данном источнике не зависит от длины плазменного столба в диапазоне длин от 10 до 30 см. Продемонстрирована линейная зависимость между током разряда и зондовым током, что позволяет контролировать относительное изменение концентрации плазмы в течение эксперимента. Оценка абсолютного значения концентрации плазмы для разных токов разряда дала значения 1012–1013 см–3.
Ключевые слова
Об авторах
А. В. Пономарев
Институт общей физики им. А.М. Прохорова РАН
Email: aponomarev68@gmail.com
Россия, Москва
Д. К. Ульянов
Институт общей физики им. А.М. Прохорова РАН
Автор, ответственный за переписку.
Email: ulyanov@fpl.gpi.ru
Россия, Москва
Список литературы
- Кузелев М.В., Мухаметзянов Ф.Х., Рабинович М.С., Рухадзе А.А., Стрелков П.С., Шкварунец А.Г. // ЖЭТФ. 1982. Т. 83. С. 1358.
- Стрелков П.С., Ульянов Д.К. // Физика плазмы. 2000. Т. 26. С. 329.
- Лоза О.Т., Ульянов Д.К., Баранов Р.В. // ЖТФ. 2011. Т. 81. С. 98.
- Ульянов Д.К., Баранов Р.В., Лоза О.Т., Ернылева С.Е., Богданкевич И.Л. // ЖТФ. 2013. Т. 83. C. 113.
- Богданкевич И.Л., Иванов И.Е., Лоза О.Т., Ру-хадзе А.А., Стрелков П.С., Тараканов В.П., Улья-нов Д.К. // Физика плазмы. 2002. Т. 28. С. 748.
- Лоза О.Т., Ульянов Д.К., Стрелков П.С., Иванов И.Е., Баранов Р.В. // Кр. сообщения по физике. ФИАН. 2011. Т. 38. С. 47.
- Пономарев А.В., Стрелков П.С., Шкварунец А.Г. // Физика плазмы. 2000. Т. 26. С. 633.
- Пономарев А.В., Стрелков П.С. // Физика плазмы. 2004. Т. 30. С. 66.
- Стрелков П.С., Иванов И.Е., Диас Михайлова Е.Д., Шумейко Д.В. // Физика плазмы. 2021. Т. 47. С. 257.
- Стрелков П.С., Иванов И.Е., Шумейко Д.В. // Физика плазмы. 2016. Т. 42 (7). С. 644.https://doi.org/10.7868/S0367292116070106
- Стрелков П.С., Тараканов В.П., Диас Михайлова Д.Е., Иванов И.Е., Шумейко Д.В. // Физика плазмы. 2019. Т. 45. С. 335.
- Лоза О.Т., Пономарев А.В., Стрелков П.С., Улья-нов Д.К., Шкварунец А.Г. // Физика плазмы. 1997. Т. 23. С. 222.
- Buleyko A.B., Ponomarev A.V., Loza O.T., Ulyanov D.K., Sharypov K.A.,Shunailov S.A., Yalandin M.I. // Phys. Plasmas. 2021. V. 28. P. 023304. https://doi.org/10.1063/5.0031432
- Чен Ф. // Диагностика плазмы / Ред. Р. Хаддлстоун, С. Леонард. М.: Мир, 1967.
- Козлов О.В. Электрический зонд в плазме. М.: Атомиздат, 1969.
- Богданкевич И.Л., Гришин Д.М., Гунин А.В., Ива-нов И.Е., Коровин С.Д., Лоза О.Т., Месяц Г.А., Павлов Д.А., Ростов В.В., Стрелков П.С., Ульянов Д.К. // Физика плазмы. 2008. Т. 34. С. 926. https://doi.org/10.1134/S1063780X08100061
Дополнительные файлы













