О влиянии магнитного поля на характеристики пылевых структур в тлеющем разряде
- Авторы: Карасев В.Ю.1, Дзлиева Е.С.1, Дьячков Л.Г.2, Новиков Л.А.1, Павлов С.И.1
-
Учреждения:
- Санкт-Петербургский государственный университет
- Объединенный институт высоких температур РАН
- Выпуск: Том 49, № 2 (2023)
- Страницы: 186-192
- Раздел: ПЫЛЕВАЯ ПЛАЗМА
- URL: https://journals.rcsi.science/0367-2921/article/view/139530
- DOI: https://doi.org/10.31857/S0367292122601138
- EDN: https://elibrary.ru/NQRMUR
- ID: 139530
Цитировать
Полный текст
Аннотация
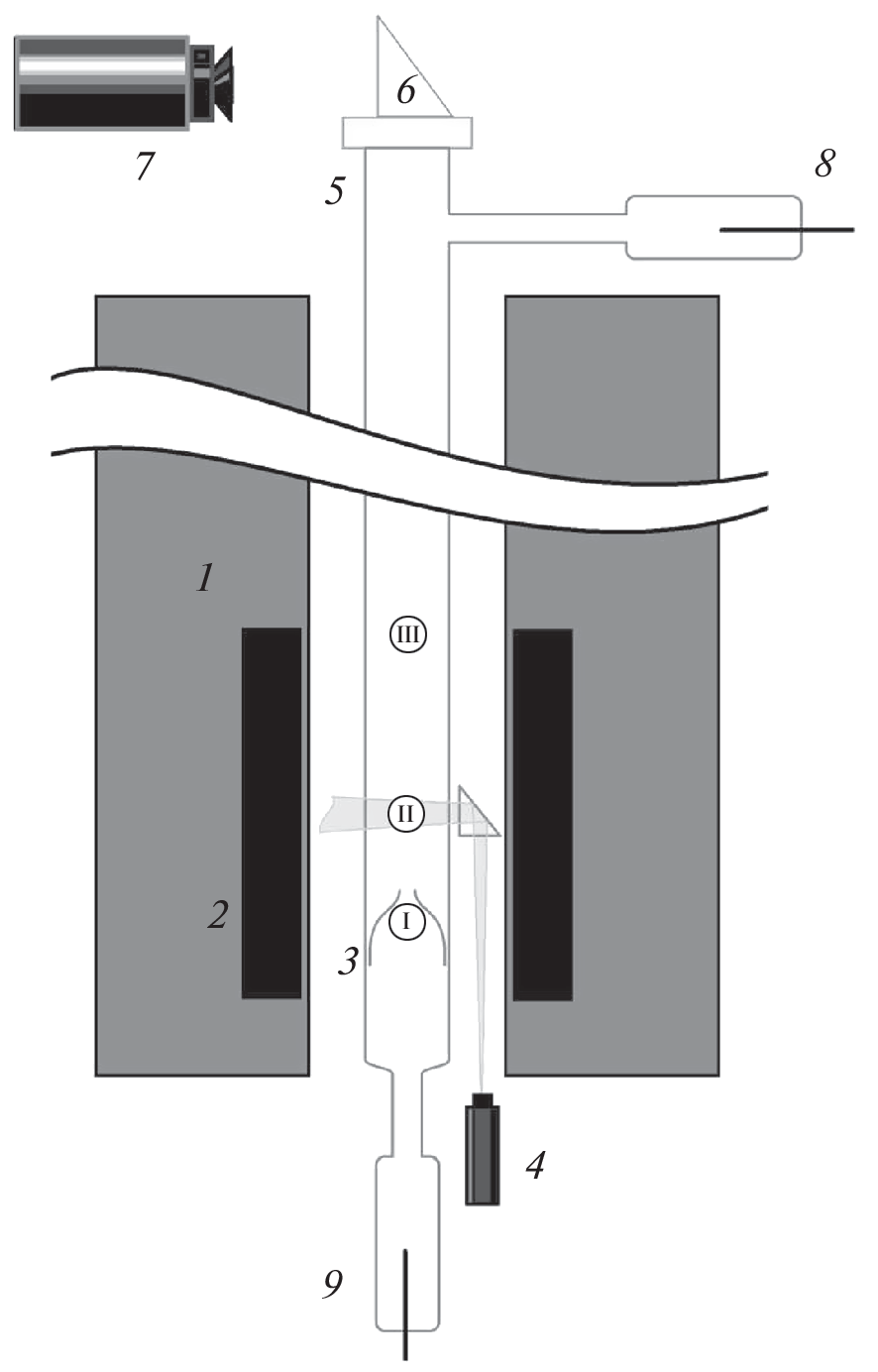
Определены и сопоставлены между собой характеристики объемных пылевых структур, создаваемых в трех пылевых ловушках в тлеющем разряде. Устойчивыми в наложенном магнитном поле с индукцией до 2 Тл являются следующие пылевые ловушки: стоячая страта, область сжатия канала тока (внутри специальной диэлектрической вставки), область разряда, находящаяся в сильно неоднородном магнитном поле. Представлены геометрические характеристики объемных пылевых структур и особенности динамики их вращения: продольного и поперечного относительно вектора магнитной индукции размера, угловой скорости, ее продольного градиента в каждой из пылевых ловушек. Проанализированы отличия экспериментально полученных характеристик объемных пылевых структур в сильном магнитном поле в тлеющем и ВЧ-разрядах.
Ключевые слова
Об авторах
В. Ю. Карасев
Санкт-Петербургский государственный университет
Email: plasmadust@yandex.ru
Россия, 199034, Санкт-Петербург
Е. С. Дзлиева
Санкт-Петербургский государственный университет
Email: plasmadust@yandex.ru
Россия, 199034, Санкт-Петербург
Л. Г. Дьячков
Объединенный институт высоких температур РАН
Email: plasmadust@yandex.ru
Россия, Москва
Л. А. Новиков
Санкт-Петербургский государственный университет
Email: plasmadust@yandex.ru
Россия, Санкт-Петербург
С. И. Павлов
Санкт-Петербургский государственный университет
Автор, ответственный за переписку.
Email: s.i.pavlov@spbu.ru
Россия, Санкт-Петербург
Список литературы
- Фортов В.Е., Храпак А.Г., Храпак С.А., Молотков В.И., Петров О.Ф. // УФН. 2004. Т. 174. С. 495.
- Цытович В.Н., Морфилл Г.Е., Томас В.Х. // Физика плазмы. 2002. Т. 28. С. 675.
- Игнатов А.М. // Физика плазмы. 2005. Т. 31. С. 52.
- Карасев В.Ю., Дзлиева Е.С., Павлов С.И. Лабораторная пылевая плазма в магнитном поле. СПб.: Свое Издательство, 2016.
- Karasev V.Y., Dzlieva E.S., D'yachkov L.G., Novikov L.A., Pavlov S.I., Tarasov S.A. // Contr. Plasma Phys. 2019. V. 59. P. e201800136.
- Голант В.E., Жилинский A.П., Сахаров И.Е. // Основы физики плазмы. М.: Атомиздат, 1977. 384 c.
- Грановский В.Л. Электрический ток в газе. Установившийся ток. М.: Наука, 1971.
- Kaw P., Nishikawa K., Sato N. // Phys. Plasmas. 2002. V. 9. P. 387.
- Schwabe M., Konopka U., Bandyopadhyay P., Mor-fill G.E. // Phys. Rev. Lett. 2011. V. 106. P. 215004.
- Thomas E.Jr., Lynch B., Konopka U., Merlino R.L., Rosenberg M. // Phys. Plasmas. 2015. V. 22. P. 030701.
- Konopka U., Samsonov D., Ivlev A.V., Goree J., Stein-berg V., Morfill G.E. // Phys. Rev. E. 2000. V. 61. P. 1890.
- Carstensen J., Greiner F., Hou L.J., Maurer H., Piel A. // Phys. Plasmas. 2009. V. 16. P. 013702.
- Melzer A., Kruger H., Schutt S., Mulsow M. // Phys. Plasmas. 2019. V. 26. P. 093702.
- Sato N. // AIP Conf. Proc. 2002. V. 649. P. 66.
- Choudhary M., Bergert R., Mitich S., Thoma M.H. // Phys. Plasm. 2020. V. 27. P. 063701.
- Dzlieva E.S., D’yachkov L.G., Novikov L.A., Pavlov S.I., Karasev V.Yu. // European Phys. Lett. 2018. V. 123. P. 15001.
- Dzlieva E.S., Dyachkov L.G., Novikov L.A., Pavlov S.I., Karasev V.Yu. // Plasma Sources Sci. Technol. 2019. V. 28. P. 085020.
- Dzlieva E.S., Dyachkov L.G., Novikov L.A., Pavlov S.I., Karasev V.Yu. // Plasma Sources Sci. Technol. 2020. V. 29. P. 085020.
- Dzlieva E.S., Dyachkov L.G., Novikov L.A., Pavlov S.I., Karasev V.Yu. // Molecules. 2021. V. 26. P. 3788.
- Nedospasov A.V. // Phys. Rev. E. 2009. V. 79. P. 036401.
- Vasiliev M.M., D’yachkov L.G., Antipov S.N., Huijink R., Petrov O.F., Fortov V.E. // European Phys. Lett. 2011. V. 93. P. 15001.
- Абдирахманов А.Р., Карасев В.Ю., Дзлиева Е.С., Павлов С.И., Новиков Л.А., Досболаев М.К., Коданова С.К., Рамазанов Т.С. // ТВТ. 2021. Т. 59. С. 657.
- Дзлиева Е.С., Карасев В.Ю., Павлов С.И. // Физ. Плазм. 2016. Т. 42. С. 147.
- Дзлиева Е.С., Ермоленко М.А., Карасев В.Ю. // Физ. Плазм. 2012. Т. 38. С. 591.
- Недоспасов А.В. // УФН. 1968. Т. 94. С. 439.
- Чен Ф. Введение в физику плазмы. М.: Мир, 1987.
- Цитович В.Н., Винтер Дж. // УФН. 1998. Т. 168. С. 899.
Дополнительные файлы







