Разработка концепции интеллектуальных мобильных платформ для международной научной лунной станции
- Authors: Маленков М.И.1, Волов В.А.1, Базилевский А.Т.2, Богачёв А.Н.1, Иванов М.А.2, Гусева Н.К.1, Лазарев Е.А.1
-
Affiliations:
- АО Научно-Технический Центр “РОКАД”
- Институт геохимии и аналитической химии им. В.И. Вернадского РАН
- Issue: Vol 59, No 1 (2025)
- Pages: 3-26
- Section: Articles
- URL: https://journals.rcsi.science/0320-930X/article/view/289364
- DOI: https://doi.org/10.31857/S0320930X25010014
- EDN: https://elibrary.ru/LQJYKS
- ID: 289364
Cite item
Abstract
В статье анализируются и развиваются отечественные инженерные разработки концепций создания лунных баз и транспортных средств для их строительства и функционирования. Предложена концепция интеллектуальных мобильных платформ (ИМП), представляющих собой унифицированные самоходные шасси с автоматическими стыковочно-сцепными устройствами (АССУ) и подсистемами локальной навигации. На самоходное шасси ИМП устанавливается различное навесное оборудование, определяющее назначение и технологические характеристики транспортного средства (ТС). Такие ТС могут использоваться как самостоятельные луноходы с гибридным управлением, так и в качестве звеньев многофункционального лунного поезда, предназначенного для специальных операций, включая дальние экспедиции на сотни километров. На основе опубликованных NASA изображений Lunar Reconnaissance Orbiter Camera проложен возможный маршрут экспедиции от места размещения Международной научной лунной станции (МНЛС) в районе массива Малаперт на обратную сторону Луны, учитывающий уровень освещенности и углы подъема местности на всей трассе движения. Цель экспедиции – проведение научных исследований по трассе движения, доставка аппаратуры и развертывание автоматического филиала МНЛС – лунной обсерватории на обратной стороне Луны в тени от радиошумов Земли. На основе расчетно-теоретических исследований и проектно-компоновочных разработок выполнен аванпроект, включающий технический облик ИМП и ее основные тактико-технические характеристики.
Full Text
ВВЕДЕНИЕ
16 июня 2021 г. в Санкт-Петербурге во время проведения Global Space Exploration Conference (GLEX-2021) руководители Роскосмоса и Национальной космической администрации Китая презентовали дорожную карту совместного проекта Международной научной лунной станции (МНЛС). 12 июня 2024 г. Президент РФ подписал Федеральный закон №128-ФЗ “О ратификации Соглашения между Правительством Российской Федерации и Правительством Китайской Народной Республики о сотрудничестве в области создания МНЛС”.
Цель статьи – разработка и анализ проектных концепций интеллектуальных мобильных платформ (ИМП) – унифицированных мобильных компонентов лунных роботов нового поколения с гибридным управлением, ориентированных на поддержку работ по созданию и эксплуатации МНЛС. Прототипами ИМП в части самоходного шасси являются советские Луноход-1 и -2, а также американские Lunar Roving Vehicle (LRV). Но ИМП, оснащенные различным навесным и встроенным оборудованием, в представлении авторов, должны иметь расширенные состав и выполняемые функции. Ведь на их основе предполагается создавать не только автономные роботы и пилотируемые машины для транспортировки космонавтов, полезных грузов (ПГ), выполнения научных исследований и (или) технологических операций, но и многозвенные мобильные робототехнические комплексы (МРТК) – лунные поезда XXI века.
Автономные и пилотируемые луноходы, доставляемые на Луну в полном сборе, готовыми к самостоятельному движению уже на посадочной платформе космического аппарата (КА), необходимы на самых ранних стадиях проектирования и строительства МНЛС. Без них, в частности, невозможно квалифицированное обследование перспективных районов Луны для выбора места строительства МНЛС и уточнения строительной документации. На следующих этапах создания МНЛС они будут использованы для подготовки строительных площадок, строительства дорог, транспортировки грузов между лунным космодромом и местами строительства различных сооружений станции, а также для непосредственного участия в монтаже этих сооружений. По мере строительства МНЛС луноходы будут все шире использоваться для поддержки научных исследований, поиска воды и полезных ископаемых в окрестностях станции.
Однако целый ряд задач строительства и эффективной эксплуатации МНЛС с помощью одиночных луноходов невозможны. В частности, предварительные проектные разработки позволяют утверждать, что для транспортировки и монтажа габаритных модулей МНЛС массой примерно около 20 т потребуются, как минимум, двухзвенные луноходы. Последующие освоение обширных территорий Луны, поддержка технологий освоения лунных ресурсов, проведение исследований во время длительных и далеких (сотни километров) экспедиций практически невозможны без многозвенных МРТК. Ведь эти комплексы, по существу, должны будут создать экипажам все условия для жизни, труда и отдыха, какие будут созданы на МНЛС, но с меньшим уровнем комфорта.
АКТУАЛЬНЫЕ ОТЕЧЕСТВЕННЫЕ КОНЦЕПЦИИ ЛУННОЙ БАЗЫ И ЕЕ МОБИЛЬНЫХ КОМПОНЕНТОВ
В общих чертах концепция и проектный облик долговременной лунной базы (ДЛБ), по поручению начальника и главного конструктора Опытно-конструкторского бюро-1 (ОКБ-1) С.П. Королева, впервые в СССР были проработаны на инженерном уровне под руководством В.П. Бармина еще в 1960-х годах (Мержанов, 2018) в Государственном союзном конструкторском бюро Специального машиностроения (ГСКБ Спецмаш), которое затем было переименовано в Конструкторское бюро общего машиностроения (КБ ОМ), а ныне называется Центр эксплуатации объектов наземной космической инфраструктуры (ЦЭНКИ).
На наш взгляд, до настоящего времени сохраняют актуальность идеи строительства лунной базы как совокупности цилиндрических герметичных модулей, соединенных между собой герметичными переходами и устанавливаемых на предварительно выровненный лунный реголит. Ведь и в то время, и сейчас габариты космических грузов определяются геометрией головного обтекателя ракеты. Авторы проекта предполагали использовать реголит только для невысокой обваловки цилиндров с целью фиксации модулей на строительной площадке. Проект предусматривал как минимум две шлюзовые камеры для входа на станцию и выхода на поверхность Луны.
В части мобильной робототехники, на наш взгляд, до настоящего времени актуальна, предложенная в проекте ДЛБ, концепция лунных поездов, аналогичных санно-тракторным поездам, которые успешно использовались для строительства советских научных станций в суровых условиях Антарктиды. Лунные поезда, по представлениям разработчиков, должны были, как минимум, включать четыре звена: тягач, жилой вагончик, энергоустановку и буровую станцию.
Однако современные технологии и опыт эксплуатации на Луне советских многоколесных полноприводных Лунохода-1 и -2 позволяют создать лунный поезд, все звенья которого, выполняющие различные функции, будут реально равноценны по своим тягово-динамическим характеристикам. Это будет не просто шаг вперед в части таких оперативно-тактических характеристик лунного поезда, как проходимость, надежность, ресурс, функциональные возможности. Создание после трех полетов на Луну даже простейшего трехзвенного лунного поезда, включающего пилотируемый луноход с герметичной кабиной и шлюзовой камерой, робототехнический луноход с бортовой электростанцией, включающей солнечные и изотопные источники энергии, а также еще один робот с запасами компонентов жизнеобеспечения, позволяет решить стратегическую задачу организации аварийного мобильного дублера стационарной МНЛС.
Авторы считают, что в последующих проектно-компоновочных разработках можно ориентироваться и на предложенные в прошлом веке габаритные размеры цилиндрических оболочек модулей МНЛС: длина ≈8 м, диаметр ≈4 м, масса примерно 18 т. А вот идея доставки на Луну сжатых в гармошку оболочек модулей с последующим их развертыванием на полную длину в лунном вакууме за счет внутреннего давления газов в современной космонавтике не получила развития. Такой способ развертывания обязывает производить монтаж всего служебного и научного оборудования непосредственно на Луне. Но практика создания первой советской орбитальной станции МИР, Международной космической станции (МКС) и китайской станции Тянгун как технологических аналогов лунных станций показала, что сборка и проверки модулей МКС на Земле, даже в специально оборудованных для этого цехах, занимает годы. Планирование полного цикла подобных работ непосредственно на месте эксплуатации модулей – бесперспективно. Здесь неизбежны только различного рода стыковочные операции, автономные и комплексные проверки нового оборудования в составе орбитальной или лунной станции.
В 1974 г. в Центральном конструкторском бюро экспериментального машиностроения (ЦКБЭМ) – (так, с марта 1966 г. стало называться ОКБ-1, ныне – Ракетно-космическая корпорация (РКК) “Энергия”), были разработаны Технические предложения по лунному экспедиционному комплексу, который получил название “Звезда” (Семенов и др., 1996).
К этому времени в СССР и в США подводили итоги завершавшихся пионерских лунных исследований. Огромный объем новой информации о поверхности Луны, об особенностях взаимодействия с ней самоходных шасси дистанционно управляемых луноходов (Анисимов и др., 1971; Кемурджиан и др., 1976; Иванов и др., 1978; Авотин и др., 1979; Кемурджиан и др., 1982; Громов и др., 1986) и пилотируемого лунохода – Lunar Roving Vehicle (LRV) (Costes и др., 1972; Young, 2007), полученный контактными методами, так или иначе отражался и отражается до сих пор на всех последующих отечественных и зарубежных проектных разработках лунной базы.
В частности, в упомянутом советском проектном исследовании 1974 г. была сохранена идея тягача, который в документах ЦКБЭМ называется “Тяжелый луноход”. Проектный облик этого лунохода: жесткие колеса, колесная формула 8 × 8, рычажная подвеска колес c упругими элементами в виде торсионов, бортовой способ поворота – все это было в русле конструкторских решений самоходного шасси Лунохода-1. Основные параметры: экипаж два космонавта, полная масса 8.2 т, в том числе масса энергоустановки номинальной мощностью 8 кВт – 2.25 т, средняя скорость движения 5 км/ч, продолжительность одной экспедиции до 12 земных суток, объем гермоотсека 25 м³: габариты герметичной кабины: длина 8 м, ширина 4.5 м. Концепция лунных поездов не развивалась, но и не опровергалась.
ВНИИ-100 (ныне ОАО “Всероссийский научно-исследовательский институт транспортного машиностроения” (ВНИИТрансмаш)), где, под руководством А.Л. Кемурджиана, было создано самоходное шасси (СШ) Лунохода-1, в 1970-е годы был соисполнителем проектных исследований КБ ОМ по лунной базе в части мобильной техники. Руководителем работ со стороны ВНИИ-100 был ближайший сподвижник А.Л. Кемурджиана – П.С. Сологуб, а куратором договора между предприятиями был сотрудник его отдела Е.В. Авотин.
Но полноразмерный действующий макет СШ двухсекционного пилотируемого лунохода (рис. 1), который фактически стал первой реализацией в металле замыслов авторов ДЛБ по лунному поезду, был создан во ВНИИ-100 при участии авторов настоящей статьи в конце 1970-х годов в рамках формально еще не закрытой советской лунной программы “Е-8” (Маров, Хантресс, 2013). Передняя секция макета была предназначена для установки кресел двух космонавтов, компонентов систем навигации, энергопитания и управления движением. На второй секции можно было размещать навесное оборудование для выполнения научных исследований и транспортировать полезные грузы – лунный грунт, буровые механизмы и т.п. Секции макета самоходного шасси были полностью унифицированы.
Рис. 1. Ходовой макет двухсекционного самоходного шасси пилотируемого лунохода (из архива автора).
В отличие от СШ советских луноходов, в этом макете были реализованы три новых технических решения: сцепное устройство, сохраняющее три угловые степени свободы секций при движении на сложном рельефе (Горбунов и др., 1985); двухступенчатая автоматическая коробка перемены передач (КПП) с электромагнитным управлением в составе тягового привода мотор-колес (Корепанов и др., 1972); и металлические колеса диаметром 0.8 м с профилированной упругой шиной, изготовленной из стальной проволочной сетки (Митин и др., 1981). Максимальная скорость движения макета на неподготовленной местности с углами подъема не более 5°–7° составила 4.8 км/ч (Громов и др., 1986).
Применение КПП, конструкция которой приведена на рис. 2, позволило регулировать не только скорость движения, но и крутящий момент на колесах, а следовательно, и тяговое усилие в контакте колес с грунтом. Схема колеса этого макета приведена на рис. 3. Сочетание жесткого обода с достаточно высокими грунтозацепами и профилированной металлической сетчатой шины, закрепленной на этом жестком ободе, позволили расширить диапазон регулирования скорости движений. На крутых подъемах, например, при выезде из кратеров, КПП работает на первой передаче, обеспечивая номинальную скорость движения около 1 км/ч с максимальным крутящим моментом. При этом сетчатые шины кормовых, наиболее нагруженных колес в процессе их упругой деформации под большой нагрузкой позволяют вступить в работу грунтозацепам, которые способны реализовать максимальные тяговые усилия.
Рис. 2. Двухступенчатая автоматическая коробка перемены передач. 1 – пружина КПП, 2 – электромагнит 1-й передачи, 3 – водило, 4 – тормозной диск 1-й передачи, 5 – пружина 2-й передачи, 6 – барабан, 7 – эпицикл, 8 – корпус, 9 – солнечная шестерня, 10 – диск на валу двигателя, 11 – диск тормоза колеса, 12 – электромагнит тормоза колеса, 13 – двигатель, 14 – пружина тормоза колеса.
Рис. 3. Схема колеса с упругой профилированной металлической сетчатой шиной двухсекционного макета: 1 – ступица, 2 – спицы, 3 – правый обруч обода колеса, 4 – упругая металлическая сетчатая шина, 5 – упругие металлические пластины, 6 – бандаж, 7 – грунтозацепы.
На сравнительно ровной поверхности с углами подъема до 5°–7°, например, между кратерами, где лунный реголит имеет более высокую несущую способность, эффективно работают сетчатые шины, обеспечивая при движении достаточные пятна контактов с поверхностью и повышая плавность движения на максимальной скорости.
Технические решения, использованные в этом макете, частично сохранили актуальность и являются научно-техническим заделом школы А.Л. Кемурджиана, прототипом для проектирования СШ нового поколения. Кардинально нужно переделывать только сцепное устройство, конструкция которого не обеспечивает возможность автоматической стыковки секций. В то время такая задача еще не ставилась. Так что проектирование надежных автоматических стыковочно-сцепных устройств (АССУ) с минимальной массой является совершенно новой, наиболее сложной конструкторской задачей создания ИМП. Большой советский опыт создания стыковочных устройств космических аппаратов (Сыромятников, 1984) здесь может быть применим только частично, в силу больших различий законов движения в космическом пространстве и на поверхности небесных тел.
Отдельные аспекты концепции ИМП были доложены авторами на международных профильных конференциях (Маленков, 2017; 2023; Malenkov, 2019; 2022).
ОБСУЖДЕНИЕ ЗАДАЧ МОБИЛЬНОЙ РОБОТОТЕХНИКИ В ПЕРСПЕКТИВНЫХ РАЙОНАХ СТРОИТЕЛЬСТВА МНЛС
Общие подходы к теме
Независимо от конкретных обстоятельств и времени реализации, все сценарии создания и эксплуатации МНЛС неизбежно будут включать этап предварительного обследования места посадки космических аппаратов (лунный космодром), места строительства других сооружений МНЛС, этап подготовки указанных площадок и трассы, связывающей этот космодром с местом строительства, этапы доставки на Луну габаритных модулей станции, ее строительства и развертывания научного оборудования, а также этапы подготовки и реализации длительных лунных экспедиций для практического освоения ее поверхности и недр. Оптимальные варианты проектирования новой мобильной лунной техники должны, по возможности, учитывать потребности и особенности всех перечисленных этапов.
В случае хорошо организованного предварительного изучения выбранного района с помощью аппаратуры лунного орбитального корабля для выполнения этапа обследования может быть достаточно одного-двух луноходов на базе унифицированных ИМП. Оптимальным представляется тандем пилотируемого и автономно-автоматического луноходов. Бортовые пенетрометры робота и его навигационные приборы уточняют несущую способность грунта и параметры рельефа местности по всей трассе космодром–станция. С помощью пилотируемого лунохода космонавты в пределах лунного дня могут сделать выборочную проверку результатов исследований робота и уделить основное внимание выбору мест размещения сооружений МНЛС.
В части общих подходов к проектированию, прототипом лунного робота вполне может быть Луноход-1, а прототипом пилотируемого лунохода – Lunar Roving Vehicle (LRV). Наличие двух луноходов с приборами и оборудованием для инженерного обследования, на базе единой ИМП позволит параллельно проверить и отработать в натурных условиях конструкцию самоходного шасси, а также конструкцию и программное обеспечение АССУ.
Предварительные расчеты показывают, что посадку КА с модулями лунной базы массой не более 18 т необходимо производить на предварительно выровненную в горизонт площадку с упрочненным лунным реголитом. Это повышает уровень надежности и безопасности от опрокидывания, а также облегчает условия работы устройств кантования и разгрузки этих модулей.
Габариты площадки зависят от точности посадки лунного КА. Для примера, 19 января 2024 г. японский КА Smart Lander for Investigating Moon (SLIM) совершил очень точную, но не совсем удачную посадку на склоне небольшого кратера. Согласно сообщениям в средствах массовой информации, посадочный аппарат лег на бок на удалении всего 55 м от заданной точки.
Достижение высокой точности и безопасности посадки является одной из главных задач полетов российских и китайских КА, которые впоследствии будут доставлять на Луну изготовленные на Земле и готовые к монтажу модули МНЛС.
После успешной посадки КА на площадке космодрома открывается возможность разгрузки габаритных модулей станции с посадочной платформы КА на специальное лунное транспортное средство, представляющее собой, по предварительной оценке, сцепку из двух ИМП с общей грузовой платформой. Затем происходит транспортировка этих модулей по подготовленной трассе к месту строительства и монтаж – соединение модулей в соответствии с заданной конфигурацией станции.
Прокладка специальных трасс необходима для надежной и безопасной перевозки тяжелых модулей МНЛС от места разгрузки на космодроме до места монтажа с минимально возможными энергозатратами. Дорожные работы ИМП со специальным навесным оборудованием на такой трассе могут включать следующие работы:
- выравнивание поверхности путем засыпки ям, трещин и небольших кратеров и срезания бугров и локальных холмов;
- упрочнение грунта на трассе до несущей способности, обеспечивающей снижение коэффициента сопротивления движению колесного ИМП;
- прокладка поворотов трассы с учетом ограничений, обусловленных конструкцией транспортных средств (ТС), которые будут использованы для перевозки модулей МНЛС.
Современный уровень знаний о лунном грунте как об опорной поверхности для движения ТС позволяет обеспечить возможность решения перечисленных задач. Авторами также разработаны оригинальные способы и устройства для разгрузки крупногабаритных модулей МНЛС большой массы. Однако эти вопросы выходят за рамки настоящей статьи.
Обоснование выбора возможного района строительства МНЛС
В настоящее время наибольший интерес для создания лунных станций вызывают южные полярные области Луны. В этих областях обеспечивается более продолжительная солнечная освещенность, но, так как Cолнце достаточно низкое, то температуры поверхности не столь зависят от времени лунных суток, как, например, в экваториальной области. В полярной области видимой части Луны возможна прямая радиосвязь с Землей, что важно для создания постоянного информационного канала Земля–МНЛС. Но наиболее важный фактор полярных областей Луны – это наличие запасов водяного льда в реголите, в глубоких кратерах, в зонах постоянной тени. Вода необходима для жизнеобеспечения экипажа МНЛС, а также может служить источником получения компонентов ракетного топлива.
Сценарием применения ИМП в данном исследовании выбран горный массив Малаперт (Basilevsky, 2019), расположенный недалеко от южного полюса Луны. Его координаты примерно 86° южной широты и 0° восточной долготы. Вершина горы возвышается на 5 км от основания и имеет постоянную видимость с Земли, а значит, имеется возможность прямой радиосвязи. Солнечная освещенность на вершине составляет от 87 до 91% в течение лунных суток, что дает возможность максимально удлинить время производства солнечной энергии. Можно отметить, что эта область входит и в число 13 предпочтительных мест размещения лунной базы, выбранных NASA по рекомендациям ученых и специалистов.
На рис. 4 (слева) приведена фотография южного полюса Луны. Направление на Землю находится перпендикулярно к верхней части фотографии. К югу от горы Малаперт расположены 51-километровый кратер Хауорт и 52-километровый кратер Шумейкер, дно которых находится в постоянной тени, а нейтронно-спектрометрические орбитальные измерения свидетельствуют о значительном содержании в реголите водяного льда.
Рис. 4. Фото Южного полюса Луны с борта Lunar Reconnaissance Orbiter Camera и карта Malapert Mons с предположительными районами расположения лунного космодрома МНЛС у подножья (участок посадки/взлета) и элементов лунной базы на вершине (солнечная электростанция). Цифры по вертикальной и горизонтальной осям на карте – расстояния в метрах. Цифры между горизонталями на карте – средние углы наклона поверхности в градусах. (Карта на рисунке справа и значения расстояний и углов наклона поверхности на ней основаны на цифровой модели поверхности LDEM80S20M, составленной по данным, полученным Lunar Orbiter laser Altimeter (LOLA.))
Топография массива Малаперт и ее производные были изучены с использованием изображений, полученных с Lunar Reconnaissance Orbiter Camera (LROC). Согласно исследованиям, массив Малаперт представляет собой гору, в основном, с достаточно крутыми склонами (до 20°–30°), протяженностью примерно 30–50 км, вытянутую в северо-западном направлении и имеющую северное расширение. Однако по наиболее пологому северо-западному склону генеральный угол подъема, измеренный на базе несколько километров, практически на всей длине склона не превышают 12° (рис. 4 справа). Углы наклона поверхности на базе шасси используемых транспортных средств могут быть и больше, и меньше значений, показанных на рис. 4, и их измерение это предмет специального исследования. Цифровые модели поверхности по данным LROC обеспечивают возможность такого исследования. Превышение угла подъема более 12° носит локальный характер и, следовательно, может быть устранено с помощью дорожно-строительного навесного оборудования ИМП при прокладке трассы.
Поэтому при создании МНЛС можно рассматривать возможность размещения космодрома (участок взлета и посадки) на сравнительно ровных площадках у подножия горы, а солнечной электростанции – на вершине горы. Комплекс ее жилых, научных и иных, связанных между собой модулей (база) может быть размещен между этими двумя точками, на выровненной в горизонт площадке полого склона. В этом случае оптимальным вариантом для организации транспортного сообщения между космодромом и другими сооружениями лунной станции является трасса по пологому склону горы. Протяженность трассы может составить до 40 км, но длина участка космодром–база, по которому будут перевозиться наиболее проблемные модули массой 18000 кг, может быть существенно короче.
Концепция использования ИМП в составе лунных поездов для длительных экспедиций
По мере строительства МНЛС, расширения научных и технологических функций, включая создание линии высокоскоростной связи с Землей, сети мобильной связи, объектов для производства электрической и тепловой энергии, компонентов жизнеобеспечения и т.п., возникнет необходимость в создании пунктов автоматического мониторинга этих объектов и окружающей среды на некотором расстоянии от станции. Со временем станут возможными и необходимыми удаленные пункты проведения отдельных исследований, которые можно назвать автоматическими филиалами МНЛС, работающими в режиме посещения.
Длительные, в несколько лунных суток, и дальние, в несколько сотен километров, экспедиции для создания подобных филиалов с выполнением серьезных научных и производственных задач, например, изложенных в статье (Marov, Slyuta, 2021), возможны только в составе лунного поезда. С помощью одного лунохода невозможно обеспечить жизнеобеспечение и безопасность экипажа, совмещая это с транспортировкой научного оборудования и геологических образцов, бурением скважин, прокладкой современных коммуникаций, выполнением научных исследований, поиском полезных ископаемых в прилегающих к трассе районах и т.п. Одной из важных задач подобной экспедиции, на наш взгляд, может стать доставка оборудования и создание на обратной стороне Луны лунной обсерватории, в тени от радиошумов Земли.
Практическое обсуждение проблем подобной экспедиции стало возможным после того, как впервые в истории, 3 января 2019 г., на обратной стороне Луны была совершена посадка китайского КА Chang’e-4, а затем к исследованиям днища кратера фон Карман также впервые в мире приступила мобильная лаборатория Yutu-2. Получены обширные научные данные об особенностях рельефа и поверхностном покрове в районе посадки (Ding и др., 2022). Уверенная связь лунной станции Chang’e-4 и мобильной лаборатории Yutu-2 с Землей до настоящего времени осуществляется с помощью ретранслятора Queqiao relay satellite, который находится на гало-орбите с центром в точке Лагранжа 2. Скорость передачи данных на Землю составляет 2 Мбит/с. Каналы связи станции Chang’e-4 и лунохода Yutu-2 с ретранслятором осуществляются со скоростью соответственно 256–280 кбит/с и 125 бит/с. (Zhang, 2019).
22 марта 2024 г. Китай вывел в космос второй ретранслятор Queqiao-2, который способен обеспечить более высокие характеристики связи объектов на обратной стороне Луны с Землей. Подобные линии могут обеспечить поддержку обсуждаемой экспедиции на обратной стороне Луны. Но для обсерватории нужны постоянно действующие высокоскоростные линии связи. Такие стационарные линии проводной или релейной связи могут быть проложены в ходе обсуждаемой экспедиции. Они свяжут научную аппаратуру удаленной обсерватории с МНЛС для последующей трансляции на Землю огромного объема информации.
Имеющаяся в мире информация уже сейчас позволяет оценить в первом приближении возможность реализации подобной экспедиции с точки зрения, во-первых, проходимости транспортного средства, во-вторых, – уровня естественного освещения возможных трасс передвижения в этом полярном районе в течение лунных суток (рис. 5). Главным препятствием и для автономного лунохода, и, тем более, для лунного поезда являются крутые подъемы. Исходя из опыта эксплуатации советских и китайских луноходов, а также LRV, критичным для потери подвижности на лунном реголите могут быть углы подъема более 25°. Но для варианта движения лунного поезда максимальный угол следует ограничить до 20° или даже до 15°. Сегодня такие споры еще не актуальны, но важно, что в принципе такие ограничения вполне допустимы на реальном рельефе этого района.
Рис. 5. Распределение уклонов в районе горы Малаперт и южного полюса Луны (вверху); зеленым отмечены области, где уклон поверхности меньше заданного предела проходимости лунохода 10, 15 и 20 град. Солнечная освещенность этой же местности (внизу). Черные и желтые линии – рекомендуемые трассы движения с учетом ограничений по углам подъема и освещенности местности. Карты уклонов и освещенности построены по топографическим данным высотомера LOLA (пространственное разрешение 60 м/пкс).
На верхней части рис. 5 показана топография территорий на возможных трассах упомянутой выше экспедиции из МНЛС на обратную сторону Луны, где зеленым цветом изображен рельеф с подъемами и спусками до 10°, 15° и 20°. Черной ломаной линией показан возможный маршрут движения с соблюдением ограничений по углу подъема. Как видно, для транспортных средств с проходимостью не менее 20° может быть доступна значительная часть местности. Непроходимые участки при ограничении 15° увеличивают длину пути, но не исключают возможности движения экспедиций к Южному полюсу, через который проходит светлая пунктирная линия.
На нижней части рис. 5, где показана солнечная освещенность того же района движения в течение лунных суток с учетом реального рельефа местности, трассы движения обозначены желтым цветом. Как видно из рисунка, часть трассы неизбежно придется преодолевать в темноте, поезд обязательно должен иметь собственное освещение и иметь ресурсы противостоять низким температурам не только на стоянках, но и в движении.
Но в основном трасса все же не является ночной. Сейчас еще сложно сравнивать рассветы и закаты на Земле, в которых огромную роль играет атмосфера, и лунные сумерки в отсутствие атмосферы. Все это является предметом будущих исследований и расчетов. Пока можно только предположить, что в пограничных районах с недостаточным естественным освещением применение осветительных приборов позволит реализовать не только управляемое движение лунного поезда в полярном районе, но и научные исследования, а также простые операции на лунной поверхности по всей выбранной трассе движения в течение лунных суток.
Пока место размещения обсерватории на обратной стороне Луны не выбрано даже на уровне сценария. Понятно только, что ее желательно развернуть также недалеко от Южного полюса. Неясными являются характеристики связи лунного поезда с МНЛС и Землей, например, с использованием ретрансляционной станции по типу Queqiao relay satellite. Эти обстоятельства пока исключают возможность расчетной оценки времени движения до места размещения лунной обсерватории – автоматического филиала МНЛС.
Что касается создания обсерватории, то наибольшее время займет поиск подходящего района и подготовка площадок для размещения двух–трех звеньев лунного поезда. Навесное оборудование одного из этих звеньев будет представлять собственно телескоп со всеми бортовыми системами управления и связи. Навесное оборудование двух других звеньев, скорее всего, могут представлять собой электростанции различного типа с буферными аккумуляторами. Это могут быть, например, солнечная электростанция и радиоизотопный тепловой и электрический генератор. Так что разгрузка электростанций будет представлять собой расстыковку этих звеньев на подготовленных площадках и последующую реконфигурацию лунного поезда в новом составе. Благодаря мобильности обсерватории возможен выбор оптимального места ее размещения в течение всего времени эксплуатации.
А каков технический задел по работе на Луне и в космосе на сегодня? Луноход-1 сохранял работоспособность в течение 302 земных суток, 11 лунных дней. В лунные ночи система терморегулирования советских и китайских робототехнических луноходов работала и работает на Yutu-2 в режиме сохранения работоспособности аппаратуры внутри герметичного отсека. Средняя скорость движения Лунохода-1 составила 0.14 км/ч, он прошел путь около 10.5 км. Луноход-2 двигался со средней скоростью 0.34 км/ч и за 125 земных суток прошел путь, по уточненным данным, более 37 км (Кемурджиан, 1993). Yutu-2 функционирует на обратной стороне уже пятый год.
Пилотируемые LRV, на которых ездили астронавты трех экспедиций программы Apollo (-15, -16 и -17), в сумме проехали всего за 9 земных суток 90.34 км. При этом суммарное время движения всех трех машин составило 11 ч 34 мин. (Young, 2007).
Что касается времени пребывания человека в космосе, то в начале 2024 г., пребывание советского космонавта Олега Кононенко на орбите превысило 878 земных суток.
Несмотря на все очевидные различия условий работы людей на орбитальных станциях и на Луне, качественное усложнение задач, которые должны выполнить вновь создаваемые мобильные комплексы на Луне, в сравнении с задачами прошлого века, все же можно констатировать, что проведенные оценки наиболее сложной лунной экспедиции из МНЛС на обратную сторону Луны, уже не являются беспочвенными фантазиями.
Обоснование структуры интеллектуальных мобильных платформ и их систем передвижения
В современной терминологии предложенные первопроходцами этой темы лунные поезда, – это мобильные робототехнические комплексы (МРТК) с переменной структурой. Все структурные звенья такого комплекса должны быть самоходными, способными как к автономному движению, так и к движению в составе поезда по сложному рельефу, в режимах пилотируемого и автономного управления. Используя терминологию авторов первых разработок, можно сказать, что роль тягача в концепции авторов, выполняет каждая ИМП, входящая в состав лунного поезда.
В состав ИМП не должны входить все системы, свойственные современным луноходам. Специализацию звеньям поезда на основе унифицированных ИМП придает навесное оборудование. Например, навесное оборудование первого, командного, звена, наряду со шлюзовой камерой, герметичной кабиной с креслами и другим оборудованием, необходимым для вождения и связи, будет включать и систему терморегулирования, обеспечивающую стабильность температуры в этой кабине и в отдельных отсеках. Нет смысла оснащать ИМП лунной системой навигации, а система коммуникации, видимо, нужна в ограниченном составе, например, без связи с Землей, которую обеспечит навесное оборудование. Система энергопитания ИМП, которая нужна уже на этапах отработки, затем станет частью систем навесного оборудования.
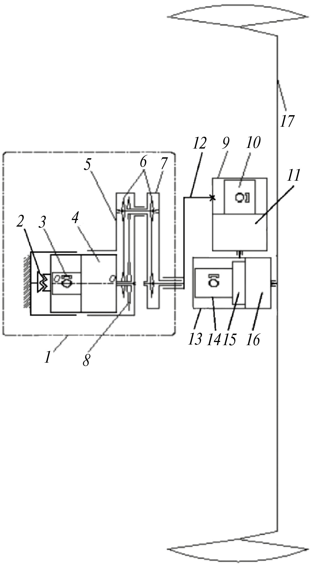
А вот состав СШ ИМП неизбежно выходит за структурные рамки СШ Лунохода-1 (Анисов и др., 1971) в связи с тем, что отработку и приемо-сдаточные испытания АССУ необходимо проводить только в составе бортового оборудования СШ и при наличии еще одной дополнительной подсистемы локальной навигации. Если не расширять классический состав СШ, новую совокупность можно назвать системой передвижения и стыковки. Тогда, с учетом изложенного, структурная схема ИМП может быть представлена в виде рис. 6.
Рис. 6. Структурная схема интеллектуальной мобильной платформы.
В отличие от СШ робототехнических луноходов и марсоходов, система передвижения ИМП должна обеспечивать возможность гибридного управления движением и автономных луноходов, и всего лунного поезда: дистанционного (из лунного, а в аварийных случаях, наземного, пунктов управления), пилотируемого (с пилотом на борту) и автономно – автоматического, с заданием оператором только финишных координат движения. При этом управление операциями стыковки ИМП в составе лунного поезда с заданным порядком расположения звеньев и их расстыковки, например, для выезда из состава поезда любого звена, указанного оператором, а также последующее восстановление поезда в новом составе, на наш взгляд, должны обеспечиваться исключительно искусственным интеллектом бортовых систем управления каждой пары взаимодействующих платформ. Экипаж может вмешаться в эти процессы только в аварийных ситуациях, которые будут связаны с внекорабельной деятельностью.
В качестве базового компонента системы передвижения и стыковки целесообразно использовать наиболее универсальные четырехколесные полноприводные СШ. При условии симметричного расположения центра масс лунохода относительно колесной базы и колеи, четырехколесные СШ обеспечивают равноценность тягово-динамических характеристик при прямом ходе и реверсе, что является существенным преимуществом рекомендуемой схемы. Например, полноприводные шестиколесные китайские и американские лунные и марсианские роверы, с подвеской типа Rocker-Bogie имеют различные тягово-динамические характеристики при изменении направления движения, что существенно влияет на параметры опорной и профильной проходимости, например, на величину угла преодолеваемого подъема, а также на устойчивость к продольному опрокидыванию (Malenkov, Volov, 2019).
Как показано в монографии (Авотин и др., 1979), шестиколесные СШ имеют серьезное преимущество перед четырехколесными только в режимах бортового поворота, путем различной скорости вращения колес противоположных бортов. Особо значимым это преимущество оказывается при повороте на месте, т.е. с радиусом поворота, равным нулю при реверсе вращения колес противоположных бортов. Но в данном случае СШ с неповоротными колесами не рассматриваются. Для достаточно тонкого маневрирования при подготовке к стыковке АССУ двух звеньев лунного поезда все колеса СШ должны быть снабжены рулевыми приводами.
Для обеспечения соосности механизмов стыковки АССУ двух ИМП каждое мотор-колесо должно быть снабжено также приводным механизмом активной подвески, позволяющим регулировать относительное положение каждого колеса и корпуса по вертикали. Одновременная работа этих приводов всех четырех колес позволяет изменять положение продольной оси активного АССУ в пространстве соответственно положению продольной оси пассивного АССУ впереди стоящего звена лунного поезда.
На основе четырехколесных шасси (рис. 7) можно получить и восьмиколесные машины с жесткой рамой, и двухсекционное СШ с гибкой связью звеньев, и многоколесный лунный поезд с числом колес, кратным цифре 4.
Рис. 7. Структурная схема самоходного шасси системы передвижения ИМП.
В части регулирования положения колес и корпуса по вертикали, в коллективе, которым руководил А.Л. Кемурджиан, имеется солидный научно-технический задел. Еще в 1983 г. здесь был создан ходовой макет экспериментального самоходного автоматического шасси, который обеспечивал как движение в колесно-шагающем режиме с прерывной походкой с помощью механизмов шагания (МШ), так и колесный режим с регулированием при помощи тех же механизмов МШ относительного положения колес и корпуса по вертикали (рис. 8.) (Громов и др., 1986). Однако данное регулирование могло производиться только во время остановки.
Рис. 8. Фрагмент испытаний экспериментального образца самоходного автоматического шасси при регулировании относительного положения колес и корпуса по вертикали в районе недавних извержений вулкана Толбачик на Камчатке.
В нашем веке авторами были разработаны технические решения по конструкции ходовой части современных СШ, в которых реализован переход от мотор-колес к опорно-движительным модулям (ОДМ). ОДМ, схема которого приведена на рис. 9, объединяет в единой мехатронной конструкции все упомянутые приводы колеса: тяговый, рулевой и привод активной подвески, с возможностью переключения в режим колесного шагания (Маленков и др., 2017; Malenkov, Bogachev and others, 2019). При этом новые технические решения позволяют регулировать клиренс и управлять активной подвеской в процессе движения (Волов и др., 2017).
Рис. 9. Кинематическая схема ОДМ самоходного шасси ИМП: 1 – привод активной подвески на основе двухрычажного МШ циркульного типа (привод условно показан повернутым на 90° относительно оси 0-0); 2 – механическая муфта для переключения режимов работы активной подвески и колесного шагания; 3 – электродвигатель; 4 – редуктор; 5 – первый рычаг; 6 – реактивная цепная передача (i = 1); 7 – второй рычаг; 8 – цепная суммирующая передача (i = 2); 9 – рулевой механизм; 10, 11 – электродвигатель и редуктор рулевого механизма; 12 – жесткая механическая связь выходного вала привода активной подвески с рулевым механизмом; 13 – тяговый привод мотор-колеса; 14, 15, 16 – электродвигатель, двухскоростная коробка передач и редуктор тягового привода; 17 – колесо.
Колесная формула СШ и, следовательно, ИМП и всего звена лунного поезда в целом может быть записана в виде 4 × 4 × 4 × 4, где первая цифра указывает на количество колес, вторая – на количество приводных колес, третья – на количество колес с рулевыми механизмами, четвертая – на количество колес с приводами активной подвески, конструкция которой, при необходимости, обеспечивает возможность переключения на режим колесного шагания.
Модульный подход отвечает идее унификации, благодаря возможности тщательной экспериментальной отработки ресурса всей ходовой части и приводов СШ с имитацией всех условий эксплуатации во время испытаний одного модуля. Это резко снижает требования к габаритам и другим характеристикам испытательного оборудования – термовакуумным камерам, различного рода нагружателям, ударным, вибрационным стендам и т.п. При этом достигается максимальная плотность компоновки конструкции ОДМ и простота сопряжения ОДМ с несущей рамой.
Упрощенная компоновочная схема системы передвижения ИМП приведена на рис. 10. Поскольку АССУ должны обеспечивать свободу поворота каждого ИМП относительно трех осей, условно они могут быть показаны в виде шаровых шарниров.
Рис. 10. Упрощенная компоновочная схема интеллектуальной мобильной платформы: 1 – самоходное шасси; 2 – активное (слева) и пассивное (справа) автоматические стыковочно-сцепные устройства (АССУ); 3 – камеры для локальной навигации при выполнении операций стыковки и расстыковки звеньев лунного поезда в заданной оператором последовательности.
Состав поезда будет определяться транспортно-технологическими задачами при строительстве станции, а в дальних, длительных экспедициях еще и научными задачами, а также задачами поиска и добычи полезных ископаемых и т.п. Как минимум, кроме первого, командного, и следующего за ним, жилого, звеньев, в состав МРТК в длительных экспедициях, очевидно, должны входить звенья, обеспечивающие резервное электропитание всех звеньев (мобильная электростанция); резервное хранение, (а возможно, и синтез), продуктов жизнеобеспечения космонавтов; грузовое звено для перевозки строительных материалов, оборудования и образцов грунта, звено для транспортировки труб, развертывания и бурения грунта и т.п. Упрощенная компоновочная схема поезда из трех ИМП показана на рис. 11.
Рис. 11. Упрощенная компоновочная схема трехзвенного МРТК (навесное оборудование условно не показано) на базе трех ИМП: 1, 2, 3 – самоходные шасси; 4 – АССУ с тремя степенями свободы; 5 – камеры системы локальной навигации.
В составе поезда может быть также мобильное звено в виде быстроходного негерметичного вездехода типа Lunar Roving Vehicle, предназначенного для разведки местности, сопровождения и обслуживания буровой установки, а также для оперативного использования в аварийных ситуациях. Вездеход может перевозиться на приспособленной для этого грузовой ИМП, которая должна быть оборудована аппарелями для въезда/съезда вездехода и элементами крепления его на грузовой площадке.
Расчетная оценка основных параметров самоходного шасси ИМП
Как показано выше, самоходное шасси является основной подсистемой системы передвижения ИМП, предназначенной для крепления и транспортировки всей установленной на этом шасси служебной аппаратуры, а также специального навесного оборудования.
Расчетная оценка геометрических параметров ведущих колес самоходного шасси. Для расчетной оценки параметров ведущих колес самоходного шасси принимаем массу машины, которая может служить командным звеном с герметичной кабиной, 3 т. Определим размеры колес, исходя из несущей способности грунта и обеспечения необходимого коэффициента сопротивления качению колеса. Расчетная схема показана на рис. 12.
Рис. 12. Расчетная схема сил при равномерном качении колеса по лунному реголиту: PZ – прижимная сила; Fn – нормальная реакция грунта; Ft – горизонтальная реакция грунта; F – горизонтальная тяговая сила, приложенная к оси колеса; k – плечо действия вертикальной реакции грунта (k = f ‧ r, где r – радиус колеса); l – продольный размер площадки деформации грунта.
Исходя из опыта эксплуатации советских луноходов, принимаем коэффициент сопротивления качению по лунному реголиту f = 0.2 и рассматриваем в первом приближении движение на ровной горизонтальной поверхности. Для оценки величины давления колеса на грунт исходим из среднего значения прочности грунта 14.3 кПа, полученного по анализу колеи советских луноходов (-1 и -2) (Базилевский и др., 2021).
Согласно расчетной схеме рис. 12, вертикальная реакция грунта равна Fn = PZ. Удельное давление на грунт равно
q = PZ/s,
где s – площадь проекции поверхности обода колеса, взаимодействующего с грунтом, на горизонтальную плоскость.
(1)
где b – ширина колеса, l – продольный размер площадки s.
(2)
где δ = arcsin (k/r) или δ = arcsin (f).
Тогда
(3)
Таким образом,
(4)
Следовательно, радиус колеса равен:
(5)
С учетом массы машины 3 т находим вертикальную силу колеса, действующую на грунт для четырехколесного шасси при лунной силе тяжести (ускорение свободного падения gM=1.62 м/с2).
Принимаем ширину колеса по отношению к его радиусу пропорционально геометрии колес советских луноходов: b = 0.8r.
Подставляя это условие в формулу (5), получим выражение для радиуса колеса:
. (6)
Отсюда находим радиус колеса:
Таким образом, для обеспечения опорной проходимости самоходного шасси в соответствии с исходными данными радиус колеса должен быть не менее 0.52 м.
Компоновка самоходного шасси. Доставка всех ИМП на Луну должна осуществляться в полном сборе со своим навесным оборудованием, готовым к автоматическому развертыванию и последующему движению. Принимаем внутренний диаметр обтекателя ракеты равным 5 м. Таким образом, ИМП, с учетом возможностей конвертирования самоходного шасси, должна размещаться внутри окружности диаметром 5.0 м, соответствующей внутреннему диаметру обтекателя ракеты (рис. 13). На рис. 14 показано рабочее положение шасси.
Рис. 13. Компоновочная схема шасси в конвертированном положении.
Рис. 14. Компоновочная схема самоходного шасси ИМП в рабочем положении.
ИМП для экспедиций и лунных поездов. Как отмечалось, сценарий данного исследования предусматривает движение по местности в окрестностях лунной базы и всего массива Малаперт, а также дальние маршруты в район южного полюса Луны.
Рассмотрим движение на подъем четырехколесной ИМП, имеющей массу вместе с полезной нагрузкой 3 т. Полезной нагрузкой в данном случае может быть оборудованная кабина и космонавты до двух человек, инструменты и оборудование: буровое, энергетическое, груз для обеспечения жизнедеятельности экспедиции и т.п. Для увеличения пятна контакта и соответствующего снижения удельных нагрузок, действующих на лунный реголит, а также для повышения проходимости, целесообразно использовать колеса с максимально возможным диаметром.
Из рис. 13 видно, что диаметр колеса не должен превышать 1.1 м, ширина принимается 0.4 м по пропорциям колес советских луноходов. Для частичной компенсации динамики от взаимодействия колеса с грунтом колесо должно быть металлоупругим. В качестве аналога такого колеса может служить, например, колесо (рис. 3) макета двухсекционного планетохода, приведенного на рис. 1.
Для обеспечения плавности хода и повышения комфорта пилотируемого лунохода шасси оснащено независимой торсионной подвеской с качанием рычагов направляющего механизма в продольной плоскости, аналогично подвескам Лунохода-1 и Лунохода-2, которые показали высокую проходимость по сложно-пересеченной местности, при преодолении эскарпов и контрэскарпов.
Пассивная упругая подвеска дополняется активной подвеской колес, выполненной на основе двухрычажных механизмов циркульного типа с плечом рычага 100 мм, что позволяет дополнительно увеличивать хода подвески до 400 мм, например, менять клиренс, преодолевать колесами препятствия высотой больше ходов упругой подвески, поддерживать горизонтальное положение корпуса при движении по неровному профилю и на косогоре, обеспечивать соосность АССУ по высоте при стыковке двух ИМП. Кинематическая схема такой подвески показана на рис. 9.
Учитывая большое разнообразие условий движения по поверхности Луны, для расширения скоростного и силового диапазонов регулирования тягового привода мотор-колеса используется встроенная в привод двухступенчатая КПП, которая обеспечивает скорость движения на первой передаче 1 км/ч, на второй передаче 5 км/ч. В качестве аналога может рассматриваться двухступенчатая КПП (рис. 2).
Отношение массы СШ к общей массе машины является для лунохода одним из важных параметров для моделирования ходовых испытаний, характеризующих взаимодействие движителя с грунтом. Отношение ускорения силы тяжести на Луне к земному ускорению силы тяжести равно 1/6, поэтому целесообразно, чтобы отношение массы СШ к общей массе машины не превышало это значение, так как при разнообразных ходовых испытаниях самоходного шасси, в том числе на открытых полигонах возможно проводить испытания ходовых макетов без использования сложных устройств и систем для имитации пониженной гравитации. При ходовых испытаниях в этом случае масса ходового макета моделирует вес всей машины на Луне. Имитация положения центра тяжести машины производится дополнительным грузом относительно небольшой массы, который устанавливается на определенной высоте на ходовом макете.
Данный принцип проектирования самоходного шасси применялся при создании советских луноходов. В состав СШ луноходов входили блоки мотор-колес, блок автоматики шасси и кабельная сеть. СШ не имело рамы, а блоки мотор-колес крепились непосредственно кронштейнами к приборному контейнеру луноходов. Соотношение массы СШ к полной массе составляет 1/7 для Лунохода-1 и 1/8 для Лунохода-2. Для ходовых макетов дополнительно использовалась специальная рама, к которой крепились блоки мотор-колес, а также устанавливались источники питания. При этом масса ходовых макетов составляла примерно 1/6 от массы Лунохода-1 и Лунохода-2, таким образом вес ходовых макетов в земных условиях имитировал вес Лунохода-1 и Лунохода-2 на Луне.
В состав ИМП входит самоходное шасси с рамой и источниками питания, таким образом вполне рационально ИМП в полной конфигурации рассматривать и для применения в качестве ходового макета. Для этого масса ИМП должна быть равна 1/6 от полной перемещаемой массы ИМП с грузом и составлять в данном случае 3000/6 = 500 кг. Это позволит проводить испытания ходовых макетов ИМП в полной конфигурации, что особенно важно для ходовых испытаний, для проверки работы и алгоритмов системы управления, технического зрения и АССУ. Тяговые приводы мотор-колес и приводы активной подвески по режимам нагружения, учитывая невысокие скорости движения, будут работать при этом условно в лунном поле силы тяжести.
В расчетном анализе тяговых приводов мотор-колес рассматривается длительное преодоление машиной подъема по связному грунту на первой передаче, например, при выезде из кратеров. При этом считается, что опорная поверхность под колесами обеих бортов имеет одинаковые характеристики, движение происходит в направлении угла наибольшего подъема. Ввиду низкой скорости движения планетохода характер движения в колесном режиме можно считать квазистатическим.
Расчетная схема для тягового расчета равномерного прямолинейного движения на подъем приведена на рис. 15.
Рис. 15. Расчетная схема четырехколесного ИМП с грузом при движении на подъем: V – скорость машины; PXi – тяговая сила колеса; PZi – нормальная реакция колеса; Pfi – сила сопротивления качению колеса; Mi – реактивный момент тягового привода; O – центр масс машины; L – колесная база; h – высота центра масс машины; r – радиус колеса; α – угол подъема; с1 – жесткость подвески; с – радиальная жесткость колес; m – полная масса ИМП с грузом; gM – ускорение силы тяжести на Луне; 1 – переднее колесо, 2 – заднее колесо; φt – угол поворота корпуса за счет упругости подвески и колес под действием момента сил.
Силы, действующие в контакте колес с грунтом, приведены к оси колеса. Реактивный момент, равный по величине крутящему моменту на выходном валу колесного привода, приложен к корпусу привода и через него действует на подвеску. Под действием реактивного момента тяговых приводов и момента от продольной составляющей силы тяжести машины упругие подвески колес будут иметь различную деформацию. У задних колес деформация будет больше, у передних меньше.
Шасси абсолютно симметрично относительно вертикальной продольной плоскости, проходящей через его середину. Поэтому при расчете можем рассматривать только половину машины.
В этом случае схема является статически определимой и задача решается путем составления уравнений статического равновесия.
Для определения крутящих моментов на колесах при равномерном движении, рассмотрим условия равновесия всех действующих сил в проекциях на оси координат XOZ и всех моментов. Запишем соответствующие уравнения статики в виде суммы сил на ось Z и суммы моментов относительно точки О1:
. (7)
На основании условий (7) получим следующие выражения:
(8)
(9)
Учитывая, что реактивный момент на колесе равен
(10)
а тяговая сила колеса равна
(11)
совместным решением (8) и (9) получим соответствующие выражения для определения нормальных реакций на колесах:
, (12)
. (13)
Исходные данные для расчета представлены в табл. 1.
Таблица 1. Исходные данные для тягового расчета
Наименование параметра, размерность | Величина |
Полная масса, m, кг | 3000 |
Ускорение свободного падения на Луне, gM,м/с2 | 1.62 |
Высота центра масс, h, м | 1.2 |
Колесная база, L, м | 3.14 |
Радиус колеса, r, м | 0.55 |
Коэффициент сопротивления движению, f | 0.2 |
Скорость движения, V, м/с | 0.28 |
Графики распределения нормальных реакций на колесах показаны на рис. 16.
Рис. 16. Распределение нормальных реакций на колесах четырехколесного шасси в зависимости от угла подъема.
Находим потребную мощность для тягового привода наиболее загруженного кормового колеса по формуле
. (14)
При V = 0.28 м/с, η = 0.6 получим
Таким образом, потребная мощность тяговых приводов мотор-колес принимается 400 Вт. Расчеты также показывают, что на второй передаче, со скоростью до 5 км/ч, при полной полезной нагрузке данная мощность двигателя обеспечивает движение по горизонтальной поверхности и небольших уклонах, до 5°. Для преодоления затяжных подъемов должна использоваться первая передача.
Оценка энергозатрат ИМП и параметров аккумуляторных батарей. Приведенные на рис. 4 карты позволяют сделать первую оценку времени экспедиции, например, для безопасной трассы с углами подъема не более 15°. Длина трассы, ограниченной от МНЛС в районе массива Малаперт до пунктирной линии пересечения, проходящей через Южный полюс, составляет более 300 км. Проектная скорость движения лунного поезда может составлять 1 км/ч на низшей передаче для движения на сложном рельефе с углами подъема до 20° и скорость до 5 км/ч при движении с углами подъема менее 5°.
Допустим, что средняя скорость движения составит 2.5 км/ч. Распишем время движения экипажа из четырех космонавтов, используя временную сетку земных суток. Предположим, собственно движение составляет не более 8 ч в земные сутки. Остальное время занимают остановки для уточнения трассы, анализа состояния техники, связи и т.п., обработка научных материалов, личное время и сон. Тогда, за сутки поезд будет проходить 20 км, а общее время движения экспедиции в одну сторону составит 15 земных суток. Еще 15 земных суток могут потребоваться для работы космонавтов в скафандрах на поверхности Луны по трассе движения. По сложившейся в советской космонавтике терминологии это внекорабельная деятельность (ВКД). Во время ВКД с использованием автономного ИМП могут быть выполнены: научные исследования и изыскания полезных ископаемых в районах, прилегающих к трассе; работы по прокладке линий высокоскоростной связи обсерватории с МНЛС; работы по обеспечению мобильной связи с МНЛС, а также между участниками экспедиции по всей трассе движения.
Таким образом, общее время экспедиции в один конец, включая стоянки на местах проведения исследований, составит примерно одни лунные сутки или около земного месяца.
При номинальной мощности тягового привода мотор-колеса 400 Вт номинальная мощность на движение для четырехколесного шасси равна 1600 Вт. Исходя из этого значения, произведем оценку емкости аккумуляторной батареи, обеспечивающей движение ИМП в составе поезда в сценарии продолжительной экспедиции.
Для движения в номинальном режиме в течение 8 ч ИМП необходимо 1.6 × 8 = 12.8 кВт × ч энергии. Эту величину можно принять как емкость аккумуляторной батареи. Еще одну батарею такой же емкости можно принять для жизнеобеспечения экипажа и для работы системы управления. Если ориентироваться на энергоемкость современных литий-ионных батарей, которая составляет до 250 Вт × ч/кг (Кулова, 2019), масса одной батареи будет равна 51 кг. Две батареи составят примерно одну пятую от массы ИМП. Для зарядки батарей во время стоянки потребуется мощность энергоустановки не менее 1.6 кВт. Если принять в качестве энергоустановки солнечные панели, то при интенсивности солнечного излучения 1000 Вт/м2 и КПД солнечной панели 20% для выработки электроэнергии мощностью 1.6 кВт потребуется площадь солнечной панели 8 м2. Солнечная панель таких размеров вписывается в габариты ИМП и, например, может разместиться в сложенном положении на крыше кабины командного звена.
Состав и режимы работы опорно-движительного модуля самоходного шасси ИМП. Для шасси ИМП предлагается применение активной подвески, выполненной на основе двухрычажного механизма циркульного типа (рис. 9).
Согласно рис. 9, в ОДМ входят рулевой механизм 9, тяговый привод колеса 13 и привод 1 двухрычажного механизма, выполняющий функцию активной подвески. На рис. 9 привод 1 показан условно повернутым относительно оси О–О на 90°. В режиме работы активной подвески рычаги 5 и 7 привода 1 в номинальном положении, когда свободные оси этих рычагов совпадают, располагаются параллельно опорной поверхности и перпендикулярно оси вращения механизма поворота.
Учитывая достаточно большие размеры колеса, тяговый привод колеса, рулевой механизм и механизм активной подвески размещаются во внутреннем объеме колеса. При этом сам привод активной подвески является достаточно компактным, обеспечивая в активном режиме значительные хода, поскольку суммарный ход подвески равен четырехкратной длине рычага двухрычажного механизма.
При работе привода активной подвески выполняется линейное перемещение свободных осей рычагов 5 и 7 привода 1 перпендикулярно опорной поверхности при одновременной работе тяговых приводов 13 мотор-колес, обеспечивающих движение ИМП в колесном режиме.
Свободная ось первого рычага 5 всегда совпадает с приводом 1, свободная ось второго рычага 7 всегда совпадает с осью жесткой механической связи с неповоротным корпусом 9 рулевого механизма (механизма поворота колес). В номинальном положении привода 1 свободные оси рычагов совпадают.
Важной конструктивной особенностью привода активной подвески является обеспечение неизменной ориентации положения привода 9 рулевого механизма таким образом, чтобы ось шкворня всегда проходила через пятно контакта колеса с поверхностью движения. Такая ориентация обеспечивается встроенной в рычажный механизм реактивной цепной передачей 6. Входная звездочка цепной передачи соединена с корпусом привода 1, который муфтой 2 соединен с рамой шасси, а выходная звездочка – через жесткую механическую связь 12 – с неповоротным корпусом 9 рулевого механизма.
Передаточное отношение цепной передачи равно единице, поэтому при вращении рычагов колесный модуль с приводом поворота совершает относительно корпуса машины только плоско-параллельное движение, нормальное к поверхности движения.
Такая кинематическая связь обеспечивает также передачу реактивного момента тягового привода 13 непосредственно на раму шасси, в результате привод подвески не нагружается дополнительно реактивным крутящим моментом от привода колеса, что упрощает алгоритмы его управления и снижает энергозатраты. Торсионный элемент пассивной упругой подвески так же разгружен от действия реактивного крутящего момента тягового привода за счет четырехзвенной параллелограммной схемы балансира.
Кроме того, привод двухрычажного механизма при работе активной подвески полностью уравновешен от действия продольной составляющей веса машины при движении на подъем или под уклон. Указанные силы замыкаются в рычажном механизме привода, и нагрузкой двигателя являются только потери в передающем механизме от действия этих замкнутых сил. Учитывая высокий КПД цепных передач, эти потери будут незначительными.
Схема работы двухрычажного механизма циркульного типа в составе привода активной подвески ОДМ показана на рис. 17. При работе привода подвески (рис. 17а) подается питание на электромагнит тормоза 3, который при этом выключается и освобождает вал электродвигателя 2. Вращение от электродвигателя 2 передается через редуктор 4 на первый рычаг 5. Поскольку звездочка 8 цепной передачи закреплена в корпусе 1, рычаг 7 за счет передаточного отношения цепной передачи суммирующего редуктора 8 с передаточным отношением u = 2 будет вращаться в обратную сторону относительно рычага 5 с удвоенной относительной скоростью, что обеспечивает линейное перемещение оси выходного вала двух рычажного механизма.
Рис. 17. Кинематическая схема привода активной подвески (а) ОДМ и его двухрычажного механизма циркульного типа (б): 1 – корпус привода; 2 – электродвигатель; 3 – электромагнитный тормоз; 4 – редуктор; 5 – первый рычаг; 6 – реактивная цепная передача (u = 1); 7 – второй рычаг; 8 – цепная передача суммирующего редуктора (u = 2); β1 – угол поворота первого рычага; 9 – подвеска или рама шасси; 10 – рулевой привод; 11 – тяговый привод; 12 – колесо; – угловая скорость рычагов; МР1i – момент вращения на первом рычаге; PZi – вертикальная сила при работе двухрычажного механизма.
Так как первый и второй рычаги кинематически связаны между собой, то перемещение оси выходного вала второго рычага, согласно рис. 17б, определяется по формуле
, (15)
где линейная координата свободной оси второго рычага относительно оси первого рычага; l – длина рычага; β1 – угол поворота первого рычага.
Таким образом, имеется возможность измерения вертикального хода подвески и вертикальной координаты оси колеса относительно рамы шасси с целью автоматического управления подвеской при движении шасси по сложному рельефу.
Результаты проектно-компоновочных разработок и расчетно-теоретического обоснования концепции интеллектуальных мобильных платформ. Проведенные исследования подтвердили возможность проектирования унифицированных самоходных шасси и ИМП, на базе этих шасси, для использования как в составе автономных луноходов различного назначения, так и в составе звеньев лунного поезда. Расчетные параметры унифицированных самоходных шасси, включая их грузоподъемность, приведены в табл. 2.
Таблица 2. Расчетные параметры самоходного шасси ИМП на этапе выбора концепции
Наименование параметра, обозначение, ед. измерения | ИМП для автономного лунохода и для звена лунного поезда |
Назначение ИМП | Обеспечение мобильности специализированного навесного оборудования, транспортировка космонавтов и грузов, поддержка научных исследований и технологических операций |
Колесная формула | 4 × 4 × 4 × 4 |
Колесная база, м | 3.14 |
Колея, м | 3.14 |
Диаметр колес (по грунтозацепам), d, м | 1.1 |
Ширина колес, b, м | 0.44 |
Тип колеса | С металлоупругой профильной шиной, организованной на жестком ободе с грунтозацепами |
Тип комбинированной активно-пассивной подвески | Активная (приводная) рычажная подвеска циркульного типа, способная к реконфигурации для реализации режима колесного шагания. Пассивная подвеска – рычажный параллелограмм с продольным качанием рычагов и упругими элементами в виде торсионов |
Плечо рычагов механизма регулирования хода подвески по вертикали, м | 0.1 |
Ход активной подвески: | |
Клиренс номинальный, м | 0.45 |
Клиренс максимальный, м | 0.65 |
Клиренс минимальный, м | 0.25 |
Ход пассивной подвески, м | 0.4 |
Скорость, км/ч: 1-я передача 2-я передача | 1.0 5.0 |
Масса самоходного шасси ИМП, кг | 500 |
Грузоподъемность, кг | 2500 |
Макс. угол подъема с полной нагрузкой на первой передаче, град | 20 |
Потребная мощность тягового электродвигателя мотор-колеса, Вт | 400 |
Угол поворота рулевого привода СШ ИМП, град | 45 |
Общий вид самоходного шасси ИМП, раскрывающий с некоторыми упрощениями концепцию его проектирования, приведен на рис. 18.
Рис. 18. Концепция ИМП. Общий вид и состав системы передвижения и стыковки (навесные компоненты систем управления, коммуникации, локальной навигации, а также кабельные сети условно не показаны): 1, 9 – мотор-колесо со встроенным тяговым приводом; 2 – рулевой механизм с приводом; 3 – кронштейн жесткой механической связи привода активной подвески с рулевым механизмом; 4 – рама самоходного шасси со встроенными системой энергопитания и электронными блоками систем управления, локальной навигации и коммуникации; 5, 8 – пассивный и активный механизмы АССУ; 6, 7 – реактивный рычаг и балансир пассивной подвески с упругим элементом в виде торсиона; 10 – привод активной подвески; 11, 12 – рычаги механизма активной подвески.
Безусловно, что расчетные параметры и проектный облик ИМП будут уточняться в процессе разработки. Но разработанная концепция уже сейчас позволяет оценить возможность выполнения важнейших технологических операций на этапе создания МНЛС (операции разгрузки, транспортировки и монтажа модулей станции) и на этапе эксплуатации МНЛС (длительные экспедиции, в том числе на обратную сторону Луны). Продолжается также разработка АССУ и конструктивного облика ИМП в целом, создание 3D-моделей и компьютерное моделирование различных сценариев применения ИМП при создании и эксплуатации МНЛС.
ЗАКЛЮЧЕНИЕ
В настоящее время имеется опыт доставки и эксплуатации луноходов на видимой и обратной сторонах Луны, а также опыт эксплуатации орбитальных космических станций. Это позволяет перейти от описательных к инженерным методам разработки концепции проектного облика унифицированной интеллектуальной мобильной платформы (ИМП), на базе которой, используя специальное навесное оборудование, можно создавать как автономные луноходы, так и лунные поезда различного назначения: прокладка дорог и других коммуникаций; разгрузка, транспортировка и монтаж модулей МНЛС; дальние экспедиции, например, с целью организации автоматических филиалов МНЛС для расширения фронта научных исследований, поиска и добычи полезных ископаемых.
Предложенные методические подходы и выполненные на их основе проектно-компоновочные и расчетно-теоретические исследования позволили обосновать инженерную концепцию ИМП с собственной массой 500 кг, на которой может быть размещено различное навесное оборудование общей массой не более 2500 кг. Такие ИМП, полной массой 3000 кг, предназначены как для автономного использования, так и для выполнения различных транспортно-технологических операций и научных исследований в составе лунных поездов.
Преимуществами концепции унифицированных многофункциональных ИМП являются следующие возможности:
- снижения стоимости изготовления и конвейерной сборки ИМП при высоком уровне отработки конструкций не только в процессе испытаний, но и в процессе эксплуатации на Луне при постепенно увеличивающемся ресурсе и усложняющихся условиях;
- реализации, после установки специализированного навесного оборудования, не только транспортных, но и дорожных, строительных, монтажных, геолого-разведочных и горнодобывающих технологий, а также комплексных научных исследований практически на всей территории Луны, включая вечно темные кратеры и обратную сторону Луны;
- создания благоприятных условий для своевременной разработки различного навесного оборудования автономных луноходов и звеньев лунных поездов, ориентированного на использование в качестве полезного груза ИМП;
- повышения проходимости автономных луноходов на рыхлых грунтах и сложном рельефе при автономной эксплуатации благодаря применению активных подвесок и колесно-шагающего режима движения;
- обеспечения патентной чистоты и технологической независимости лунной мобильной робототехники, базирующейся на отечественных прототипах и новых отечественных патентноспособных решениях;
- максимального использования научно-технического задела и опыта проектирования самоходных шасси планетоходов, накопленного в прошлом и новом веках инженерами и учеными школы главного конструктора самоходного шасси Лунохода-1 А.Л. Кемурджиана.
Подводя итог, можно говорить о концепции постоянной мобильности всех самостоятельных компонентов МНЛС, включая дублеры ее пилотируемых модулей, для повышения безопасности экипажей станции и обеспечения возможности ее реконфигурации и утилизации ненужного оборудования по мере неизбежного совершенствования технологий освоения Луны.
Авторы благодарны инженерам А.Г. Конколовичу и Д.Н. Кузьменко за творческий вклад в разработку отдельных технических решений проекта.
Авторы благодарны ГЕОХИ РАН им. В.И. Вернадского за финансовую поддержку проекта в рамках государственного задания.
About the authors
М. И. Маленков
АО Научно-Технический Центр “РОКАД”
Author for correspondence.
Email: m.i.malenkov@gmail.com
Russian Federation, Санкт-Петербург
В. А. Волов
АО Научно-Технический Центр “РОКАД”
Email: m.i.malenkov@gmail.com
Russian Federation, Санкт-Петербург
А. Т. Базилевский
Институт геохимии и аналитической химии им. В.И. Вернадского РАН
Email: atbas@geokhi.ru
Russian Federation, Москва
А. Н. Богачёв
АО Научно-Технический Центр “РОКАД”
Email: atbas@geokhi.ru
Russian Federation, Санкт-Петербург
М. А. Иванов
Институт геохимии и аналитической химии им. В.И. Вернадского РАН
Email: atbas@geokhi.ru
Russian Federation, Москва
Н. К. Гусева
АО Научно-Технический Центр “РОКАД”
Email: atbas@geokhi.ru
Russian Federation, Санкт-Петербург
Е. А. Лазарев
АО Научно-Технический Центр “РОКАД”
Email: atbas@geokhi.ru
Russian Federation, Санкт-Петербург
References
- Авотин Е.В., Болховитинов И.С., Кемурджиан А.Л., Маленков М.И., Шпак Ф.П. Динамика планетохода / Ред.: Петров Б.Н., Кемурджиан А.Л. М.: Наука, 1979. 440 с.
- Анисов К.С., Мастаков В.И., Иванов О.Г., Леонидов Л.Н., Николаев Г.Н., Днепров А.Д., Александров А.К., Семенов П.С., Грачев А.Ф., Комаров В.И. и 71 соавтор. Передвижная лаборатория на Луне Луноход-1. Т. 1 / Ред.: Виноградов А.П. М.: Наука, 1971. 128 с.
- Базилевский А.Т., Маленков М.И., Волов В.А., Абдрахимова А.М., Козлова Н.А., Зубарев А.Э., Надеждина И.Е. Оценка прочности лунного грунта по глубине колеи колес луноходов // Астрон. вестн. 2021. Т. 55. № 4. С. 291–315. (Basilevsky A.T., Malenkov M.I., Volov V.A., Abdrakhimov A.M., Kozlova N.A., Zubarev A.E, Nadezhdina I.E. Estimation of the strength of the lunar soil by the depth of the lunar rover wheel tracks // Sol. Syst. Res. 2021. V. 55. № 4. P. 283–306.)
- Волов В.А., Гусева Н.К., Конколович А.Г., Маленков М.И. Колесно-шагающий движитель с функцией активной подвески // Патент РФ № 2671661. 2017.
- Горбунов В.Л., Воробьев А.В., Егоров А.И., Кучеренко В.И., Маленков М.И., Мишкинюк В.К. Сцепное устройство сочлененного транспортного средства // А.С. SU 1138338 A. Бюл. изобретений. 1985. № 5.
- Громов В.В., Забавников Н.А., Кемурджиан А.Л., Кажукало И.Ф., Маленков М.И., Наумов В.Н., Назаренко Б.П. Рождественский Ю.Л. Передвижение по грунтам Луны и планет / Ред. Кемурджиан А.Л. М.: Машиностроение, 1986. 280 с.
- Иванов О.Г., Рывкина Г.А., Непоклонов Б.В., Леонович А.К., Павлов П.С., Громов В.В., Наумов П.Н., Петров В.Н., Яковлев Ф.П., Гарин И.С. и 80 соавторов. Передвижная лаборатория на Луне Луноход-1. Т. 2 / Ред. Барсуков В.Л. М.: Наука, 1978. 180 с.
- Кемурджиан А.Л., Громов В.В., Кажукало И.Ф., Маленков М.И., Матвеев П.Н., Мишкинюк В.К., Петрига В.Н., Розенцвейг И.И. Планетоходы / Ред. Кемурджиан А.Л. М.: Машиностроение, 1982. 319 с.
- Кемурджиан А.Л., Громов В.В., Кажукало И.Ф., Маленков М.И., Мишкинюк В.К., Петрига В.Н., Розенцвейг И.И. Планетоходы / Ред. Кемурджиан А.Л. Изд. 2-е, переработанное и дополненное. М.: Машиностроение, 1993. 340 с.
- Кемурджиан А.Л., Громов В.В., Черкасов И.И., Шварев В.В. Космические станции для изучения поверхностного покрова Луны. М.: Машиностроение, 1976. 200 с.
- Корепанов Г.Н., Маленков М.И., Койнаш В.И., Друян Е.Н., Рыков Г.И., Комиссаров В.И., Сологуб П.С. Двухступенчатая коробка передач привода колеса транспортной машины // А.С. СССР 329044. Бюл. изобретений. 1972. № 7.
- Кулова Т. Аккумуляторы, изменившие жизнь // Наука и жизнь. 2019. № 12. С. 2–7.
- Маленков М.И., Богачев А.Н., Волов В.А., Гусева Н.К., Конколович А.Г., Кузьменко Д.Н., Курдзюк В.М., Лазарев Е.А., Федорушков А.Б., Федорушков Д.Б. Новые проектно-компоновочные решения для повышения подвижности и функциональных возможностей планетоходов // Изв. ЮФ У. Технич. науки. 2017. № 3. C. 42–54.
- Маленков М.И., Волов В.А, Богачев А.Н., Гусева Н.К., Лазарев Е.А., Базилевский А.Т. Поисковые разработки проектного облика мобильных платформ для лунной базы // Тр. конф. ЭР-2023. СПб: ЦНИИ РТК, 2023. С. 210-211.
- Маров М.Я., Хантресс У.Т. Советские роботы в Солнечной системе. Технологии и открытия. М.: Физматлит, 2013. 600 с.
- Мержанов А.И. Лунная база “Барминград” // Воздушно-космическая сфера. 2018. № 2. С. 107–117.
- Митин Б.В., Громов В.В. Егоров А.И., Кемурджиан А.Л., Лелюшкин Ю.Г., Маленков М.И. Колесо транспортного средства // А. С. СССР 839740. Бюл. изобретений. 1981. № 23.
- Семенов Ю.П., Александров А.П., Алиев В.Г., Ашмарин Ю.А., Багров В.П., Баканов Ю.А., Благов В.Д., Бобков В.Н., Воробьев П.М., Гальперин В.Е. и 30 соавторов. Лунный экспедиционный комплекс. Ракетно-космическая корпорация “Энергия” им. С. П. Королева. 1946–1996 / Ред. Семенов Ю.П. 1996. С. 281–286.
- Сыромятников В.С. Стыковочные устройства космических аппаратов. М.: Машиностроение, 1984. 215 с.
- Basilevsky A.T., Krasilnikov S.S., Ivanov M.A., Malenkov M.I., Michael G.G., Liu T., Head J.W., Scott D.R., Lark L. Potential lunar base on Mons Malapert: Topographic, geologic and trafficability considerations // Sol. Syst. Res. 2019. V. 53. № 5. P. 383–398.
- Costes N.C., Farmer J.E., George E.B. Mobility Performance of The Lunar Roving Vehicle: Terrestrial Studies – Apollo 15 Results // NASA Techn. Report. TR R401. Washington, 1972. 78 p.
- Ding L., Zhou R., Yuan Y., Yang H., Li J., Yu T., Liu C., Wang J., Li S., Gao H, and 21 co-authors. 2-year locomotive exploration and scientific investigation of the lunar far side by the Yutu-2 rover // Sci. Robotics. 2022. V. 7. № 62. P. 1–13.
- Malenkov M.I., Volov V.A., Basilevsky A.T., Ivanov M.A., Bogachev A.N., Guseva N.K., Lazarev E.A., Gao Haibo, Deng Zongquan. Discussion of the concept of mobile robotic complexes for the International Lunar Research Station. M.: IKI RAS, 2022. P. 116–118. Электронный ресурс: https://ms2022.cosmos.ru/docs/2022/13-MS3_BOOK_18-10-22l.pdf
- Malenkov M.I., Bogachev A.N., Volov V.A., Guseva N.K., Kuzmenko D.N., Lazarev E.A., Nazarov V.N., Rodionov D.S. New technical solutions for increase of quantity and quality of scientific researches with the help of planetary rovers // Proc. 15th Symp. on Adv. Space Technologies in Robotics and Automation (ASTRA–2019). Электронный ресурс: https://www.esa.int/Enabling_Support/Space_Engineering_Technology/Automation_and_Robotics/Proceedings_of_ASTRA
- Malenkov M.I., Volov V.A. Comparative analysis and synthesis of schemes of balanced suspension of planetary rovers with autonomous control // Russ. Eng. Res. 2019. V. 39. № 3. P. 211–219.
- Marov M.Ya., Slyuta E.N. Early steps toward the lunar base deployment: Some prospects // Acta Astronaut. 2021. V. 181. P. 28–39.
- Zhang L., Xiong L, Sun J., Gao S., Wang X., Zhang A. Technical characteristics of the relay communication satellite Quegiao for Chang'e – 4 Lunar farside exploration mission // Scientia Sinica Technology. 2019. V. 49. Iss. 2. P. 138–146.
- Young Anthony H. Lunar and Planetary Rovers. Springer – Praxis Publ., Chichester, UK. 2007. 305 p.
Supplementary files




















