Исследование прочности в условиях равномерной нагруженности комбинированных резьбовых соединений в конструкциях деталей из термопласта с металлической арматурой
- Authors: Гулиев А.А.1, Гасанова Н.А.1, Ханкишиева Т.У.1
-
Affiliations:
- Азербайджанский государственный университет Нефти и Промышленности
- Issue: No 6 (2024)
- Pages: 63-73
- Section: НАДЕЖНОСТЬ, ПРОЧНОСТЬ, ИЗНОСОСТОЙКОСТЬ МАШИН И КОНСТРУКЦИЙ
- URL: https://journals.rcsi.science/0235-7119/article/view/282746
- DOI: https://doi.org/10.31857/S0235711924060074
- EDN: https://elibrary.ru/NOVXUM
- ID: 282746
Cite item
Full Text
Abstract
Настоящая статья представлена как исследование комбинированных резьбовых соединений, применяемых в машиностроении и нефтепромысловых объемных гидроприводных устройствах и других областях. На первый план выдвигается вопрос создания комбинированной арматуры методом прессования-литья детали из пластической массы на металлическую арматуру. Установлено, что профиль и шаг резьбы следует выбирать из одного и того же расчета прочности резьбы из металла и термопласта, определяющую роль в расчете играет длина резьбы, являющаяся одним из основных параметров. Величина минимальной толщины стенок выбирается с помощью профилей резьбы. Исследование показало, что предел прочности при срезе термопластичных материалов значительно отличается от предела прочности металлических материалов. Исследована зависимость предела прочности при срезе по длине различных резьбовых соединений от длины металлической арматуры и соответствующей ей толщины. В статье предпринята попытка изучить зависимость прочности на срез комбинированных резьбовых соединений от параметров резьбы детали металлической арматуры, режима соединения термопластического литья с прессованием, диаметра арматуры, толщины стенки термопласта и длины резьбы.
Full Text
Актуальность. Широкое использование пластических масс является одним из эффективных путей повышения экономичности при изготовлении деталей, позволяет экономить цветные металлы, снижать вес машин. Применение пластмасс способствует повышению коррозионной стойкости деталей машин, а также позволяет уменьшить трудоемкость их изготовления.
Применяя пластмассовые детали в конструкциях металлической арматуры можно получить [1]: 1) высокую контактную прочность; 2) упрощение конструкции соединений; 3) высокую технологичность; 4) повышение ползучести при высоких температурах; 5) увеличение теплостойкости детали; 6) электропроводности; 7) магнитности; 8) снижения трудоемкости и стоимости производства.
Элементы арматуры, запрессовываемые или заформовываемые в материал и определяющие геометрическое положение относительно изделия, называются фиксирующими, т. к. кроме базирования они выполняют еще и функцию крепления арматуры. Различие в физико-механических свойствах пластмасс и металлов заставляет искать оптимальные конструктивные решения комбинированных соединений, применяя специфические расчеты.
Однако с увеличением толщины клеевой прослойки резко падает общая прочность соединения на срез. Поэтому наибольшее распространение при соединении металлических деталей и арматуры с пластмассами получали резьбовые конструкции. Известно, что соединение пластмассы в металлической арматуре с резьбой является защитным средством для арматуры, а также делает ее более долговечной при работе в различных условиях. С этой точки зрения требуется учитывать различия в механических свойства различных материалов при расчете резьбы [2]. Было определено, что резьбы должны быть нагружены равномерно по всей длине резьбовой части. Выбор материала, разработка режимов литья, применение пресс-формы для литья с прессованием, разработка температур для среза влияют на точность проведения исследования. В зависимости от оптимальной длины резьбы получены более высокие значения предела прочности соединения на срез.
Цель и задачи исследований — повысить предел прочности на срез комбинированных резьбовых соединений в условиях равномерной нагруженности резьб в термопластических детальных конструкциях с металлической арматурой, применяемых на машиностроительных и нефтепромысловых устройствах.
Для достижения поставленной цели необходимо решить следующие задачи: 1) выбор объекта исследования, металлической арматуры и термопластических материалов; 2) выбор технологических режимов для получения термопластического материала; 3) исследование физико-механических свойств и структуры металлов и термопластических материалов; 4) эксплуатация вертикально-разборной пресс-формы и приспособления для испытания на срез; 5) определение толщины допустимого слоя в термопластических материалах и толщины минимальной стенки детали; 6) нахождение формулы для определения предела прочности на сдвиг по основным параметрам; 7) определение зависимости предела прочности на срез резьбы термопластической детали от диаметра металлической арматуры и толщины стенки.
Методика эксперимента. В гидравлическом цилиндре рабочее движение штока и действующие на него силы могут быть в двух направлениях. Гидроцилиндры имеют узлы, выполняющие различные функции и, кроме того, детали с резьбовыми соединениями на поверхности.
Считается целесообразным заменить их арматурой из неподвижной пластической массы вместо металлических деталей. Чтобы сделать их более устойчивыми, был проведен расчет резьбы на прочность.
Применение металлической арматуры для повышения условий эксплуатации и долговечности двух деталей А гидроцилиндров (рис. 1а) имеет большие преимущества [2]. В гидроцилиндре используются два варианта. В первом варианте деталь заменяется арматурой (рис. 1в). Во втором варианте при использовании латунной детали (рис. 1б) создается дополнительное арматурное соединение. Такие соединения пластиковой массы и металлической арматуры более устойчивы к коррозии. На рис. 1 показан общий вид упрощенного гидроцилиндра двустороннего действия.
Рис. 1. Общий вид гидравлического цилиндра (а): 1 — корпус; 2 — поршень; 3 — крышка; 4 — кольца резиновые; металлической детали (б) и арматуры (в).
Технологический режим деталей арматуры из полимерных материалов приведен в табл. 1.
Таблица 1. Технологический режим термопластических материалов
Материал | Заданная температура пресс-формы, °C | Заданное давление при сжатии, МПа | Температура пресс-формы, °C |
Полиамид | 255–265 | 15–100 | 30–80 |
Фторопласт | 250–300 | 50–100 | 30–100 |
Поскольку физико-механические свойства (табл. 2), структуры (рис. 2) выбранных материалов пластической массы и металлической детали относятся к числу свойств, играющих ключевую роль, из их сравнения предпочтение отдается защитному характеру [3].
Таблица 2. Физико-механические свойства термопластических материалов и латуни
Материал | ρ, г/см3 | Предел прочности при растяжении, МПа | Предел прочности при сжатии, МПа | Твердость, НВ | Относительная удлинения δ,% | Рабочая температура, °C |
Полиамид | 1.4 | 100 | – | 230 | 4–14 | –200 ÷ +220 |
Фторопласт | 2.1–3 | 20 | – | 35 | 4–20 | –170 ÷ +220 |
Латунь | 8.5–8.7 | 260 | – | 500 | 45 | –40 ÷ –500 |
Рис. 2. Микроструктура металлической арматуры (а) и термопластичной массы (б) ×500.
Для облегчения извлечения из пресс-формы изделий, изготовленных методами прессования и литья, их внутренней и наружной поверхностям следует придавать наклоны [4]. При получении прессованных изделий более широко применяют два способа горячего прессования: 1) прямое прессование (или прессование); 2) литье с прессованием. В пресс-форме рис. 3, литье с прессованием.
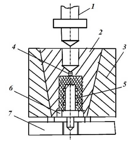
Рис. 3. Пресс-форма с вертикальным разъемом: 1– пуансон; 2 — матрица; 3 — обойма; 4 — центральное литниковое отверстие; 5 — металлическая арматура; 6 — наплечники; 7 — основание.
В обойму 3 с наклонными стенками вставляется матрица, состоящая из двух клинообразных частей. Пресс-материал из загрузочной камеры под давлением пуансона 1 камеры перетекает через центральный литник 4 в оформляющее гнездо пресс-формы. Литник располагается в плоскости соединения двух половинок матрицы и поэтому легко очищается от пресс-материала. Так как путь прессуемого материала от загрузочной камеры к формующей полости очень короток, полностью устраняется возможность преждевременного отверждения его.
Описанные литьевые пресс-формы обычно применяются для получения изделий с подвнутренними поверхностями, содержащими тонкую и удлиненную арматуру.
Испытание на срез проводят как по стандартной методике ГОСТ 17302–71 круговым сдвигом (рис. 4), так и на прямоугольных резьбовых соединениях в металлической арматуре (рис. 5).
Рис. 4. Приспособление для испытания на срез гладкого образца по круговому контуру: 1 — пуансон; 2 — направляющая втулка; 3 — прижимная гайка; 4 — образец; 5 — фиксирующее кольцо; 6 — матрица; 7 — основание.
Рис. 5. Испытание пластмассовой детали для прямоугольного резьбового образца: 1 — деталь из термопласта; 2 — металлический арматур; 3 — опора; 4 – приспособления.
Для обоих типов применяются специальные конструкции и устанавливаются пределы прочности на срез. В то же время это методически показано на теоретических примерах для общего случая резания.
Математическая зависимость между углом сдвига и касательным напряжением называется законом Гука при сдвиге:
Зависимость между модулем сдвига и модулем Юнга:
Значение коэффициента Пуассона µ находится в пределах 0 ≤ μ ≤ 0.5.
Условие прочности при сдвиге имеет вид
Временная прочность при срезе определяется по следующей формуле:
где — площадь поперечного сечения образца.
В результате исследования установлено, что толщина стенок оказывает существенное влияние на возникновение внутренних напряжений в теле детали, на точность изготовления и время выдержки детали под давлением при формообразовании. При выборе оптимальной толщины стенки руководствуются всеми факторами, и только путем анализа степени влияния каждого из них находят необходимую величину толщины стенки [5, 6]. В некотором случае величину минимальных толщин стенок выбирается с помощью профилей резьбы. Для определения наименьшей допускаемой толщины стенки деталей из термопластичных пластмасс можно рекомендовать также эмпирическую формулу
На рис. 6 для деталей из термопластов толщина детали определяется в зависимости от длины пути потока массы в форме.
Рис. 6. Определение минимальных толщин стенок детали на термопластичных пластмассах: В — толщина детали; S — длина пути массы.
При недостаточной толщине такой прослойки (рис. 7) при компрессионном прессовании происходит сильное уплотнение пластмассы под арматурой, препятствующее равномерной опрессовке материала по всему объему [7].
Рис. 7. Арматуры прямоугольных без резьбовых (а) и резьбовых (б) соединений термопластичных деталей.
В табл. 3 показана допустимая толщина стенного слоя. Получено, что чем пластичнее пластмассы, тем толще линейные (диаметральные) размеры арматуры и, наконец, чем меньше разница в температурных расширениях металла и термопласты, тем меньше требуется толщина слоя.
Таблица 3. Допустимая толщина термопластмассовой слой
Диаметр (длина или ширина) металлической арматуры, мм | Коэффициент температурного расширения арматуры, α | Допустимая толщина слоя термопласта (δ) | |
арматуры резьбовых соединений | арматуры без резьбовых соединений | ||
Коэффициент температурного расширения пластмассы, α | |||
(0.4–2.3) ⋅ 10–5 | (2.3–4.0) ⋅ 10–5 | ||
26 | (1.1–1.8) ⋅ 10–5 | 1.6–2.5 | 2.3–5.0 |
25 | 2.5–4.0 | 4.0–8.0 | |
40 | 4.0–6.0 | 6.0–10.0 | |
60 | 6.0–10.0 | 10.0–20.0 | |
Известно, что существует большое различие характера разрушения металлических пластмассовых резьбовых соединений [8, 9]. В связи с этим в настоящее время не существует единого мнения в оценке прочности пластмассовых резьбовых соединений. Определено, что за счет более равномерного распределения нагрузки пластмассовые резьбовые соединения обладают значительной нагрузочной способностью [10].
При расчете резьбовых соединений разнородных материалов необходимо учитывать различие их механических свойств. Допустимое значение предела прочности пластмасс на срез во много раз уступает металлу. Поэтому симметричный профиль резьбового соединения, применяемый обычно при однородных материалах, в этом случае будет нерациональным [11].
Чтобы получить наименьшие габариты резьбового соединения разнородных материалов, необходимо профиль и шаг резьбы выбирать из расчета равнопрочности витков пластмассовой и металлической резьбы.
Исходными данными для расчета являются: F — сила, действующая на резьбовое соединение; d — наружный диаметр резьбы; τп — предел прочности пластмассы на срез; τм — предел прочности металла на срез; kп, kм — коэффициенты запаса прочности при срезе для пластмассы и металла соответственно.
Целью расчета является определение следующих параметров: L — длины резьбы; t — шага резьбового соединения; S — ширины витка на металлической детали; h — высоты профиля резьбы.
При этом допускается, что все витки резьбы нагружены равномерно. Тогда для прямоугольной резьбы
Если из приведенных выше формул найдем допустимые величины прочности на срез, то мы получим следующие формулы:
где — допускаемое напряжение на срез для металлической детали; — допускаемое напряжение на срез для пластмассовой резьбы; — относительная прочность металла.
Шаг резьбового соединения можно найти по формуле
Ширина витка S на металлической детали выбирается по конструктивно-технологическим соображениям и составляет у изделий с диаметром до 250 мм — (1.0–1.5) мм.
Число витков резьбы
Высота профиля h по конструктивным соображениям из расчета сопротивления витка смятию. Ориентировочно h > S. Резьбы других профилей рассчитываются аналогично.
Исследования показывают, что предел прочности при срезе термопластичных материалов значительно отличается от предела прочности металлических материалов. Испытание предела прочности при срезе различных материалов в резьбовых соединениях проводили в специальной конструкции (рис. 8). На основании значений (см. табл. 3) исследовали зависимость предела прочности при срезе по длине различных резьбовых соединений от диаметра металлической арматуры и соответствующей ей толщины. Как видно из рисунка, по мере увеличения диаметра, толщины и длины резьбы наблюдается последовательное увеличение предела прочности на срез. При наибольшей длине резьбы предел прочности «метал–термопласт» увеличивается в 2 раза, при наименьшей длине в 2.2 раза, а при «металл–металл» в 2.6 и 2.4 раза соответственно.
Рис. 8. Зависимость предела прочности на срез резьбы детали из термопласта от диаметра металлической арматуры и защитной толщины: 1 — L = 10 мм; 2 — L = 20 мм; 3 — L = 30 мм; 4 — L = 40 мм; 1, 2, 3, 4 — «металл–термопласт»; 1', 2', 3', 4' — «металл–металл».
Резкое различие в пределах прочности на срез рассматриваемых комбинированных резьбовых соединений систем «металл–термопласт» и «металл–металл» заключается в том, что они стабильно и прочно «удерживают» арматуру в состоянии осаждения, контролируемого действием процесса термопластического отверждения. Предел прочности такого цельного резьбового соединения превосходит предел прочности подвижных резьбовых соединений «металл–металл». Для сравнения можно сказать, что предел прочности на срез комбинированных резьбовых соединений в системах «металл–термопласт» и «металл–металл» приблизительрно в 4 раза выше при наибольшей длине резьбы.
Выводы. 1. Были проведены исследования по получению термопластичного материала, определены технологические режимы, физико-механические свойства и микроструктура. 2. При конструировании было достигнуто в процессе отверждения устойчивое и прочное удержание металлической арматуры в состоянии контролируемого осаждения. 3. Минимальную круглую толщину детали из термопластического материала выбирают с помощью профиля резьбы. 4. Установлено, что в результате равномерного распределения нагрузки увеличивается нагрузочная способность и предел прочности на срез термопластических резьбовых соединений. 5. Определена формула с расчетными параметрами для определения предела прочности на срез комбинированных резьбовых соединений в сочетании с металлической арматурой и деталью из термопластического материала. 6. Выявлена зависимость предела прочности от диаметра и толщины металлической арматуры при нарезании резьбы термопластической детали.
Финансирование. Данная работа финансировалась за счет средств бюджета Азербайджанского государственного университета нефти и промышленности. Никаких дополнительных грантов на проведение или руководство данным конкретным исследованием получено не было.
Конфликт интересов. Авторы заявляют об отсутствии конфликта интересов.
About the authors
А. А. Гулиев
Азербайджанский государственный университет Нефти и Промышленности
Author for correspondence.
Email: haciyevanaila64@gmail.com
Azerbaijan, Баку
Н. А. Гасанова
Азербайджанский государственный университет Нефти и Промышленности
Email: haciyevanaila64@gmail.com
Azerbaijan, Баку
Т. У. Ханкишиева
Азербайджанский государственный университет Нефти и Промышленности
Email: haciyevanaila64@gmail.com
Azerbaijan, Баку
References
- Керимов Д. А., Курбанова С. К. Основы конструирования пластмассовых деталей и пресс-форм. Баку: Елм, 1997. 504 с.
- Рагимов А. М., Гулиев А. А., Бабаев С. Г. Исследование методов переработки и режимов изготовления изделий электроводных композиционных пластических масс. Баку: АГНА, 2000. 170 с.
- Конструкционные материалы. Справочник / Под ред. Б. Н. Арзамасова. М.: Машиностроение, 1990. 688 с.
- Крыжановский В. К., Бурлов В. В., Паниматченко А. Д., Крыжановская Ю. В. Технические свойства полимерных материалов. СПб.: Профессия, 2005.
- Шульга А. В. Основы материаловедения композиционных материалов. Ч. 1. М.: НИЯУ МИФИ, 2013. 96 с.
- Кербер М. Л. Полимерные композиционные материалы. Структура. Свойства. Технологии СПб.: Профессия, 2008. 560 с.
- Волков С. С., Розанов Д. С., Станкевич И. В. Разработка и исследование основных особенностей соединения пластмасс с металлами // Известия высших учебных заведений. Машиностроение. 2020. № 3. С. 15. https://doi.org/10.18698/0536-1044-2020-3-15-22
- Волков С. С. Сварка и склеивание полимерных материалов. М.: Химия, 2001. 376 с.
- Kerimov D. A., Gasanova N. A. Determination of quality of plastic details without disruptions // 13th Int. Conf. on Theory and Application of Fuzzy Systems and Soft Computing — ICAFS-2018, Advances in Intelligent Systems and Computing (AISC), Warsaw, 2019. V. 896. Р. 848. https://doi.org/10.1007/978-3-030-04164-9_111
- Баранчиков В. И., Тарапанов А. С., Харламов Г. А. Обработка специальных материалов в машиностроении: Справочник. Библиотека технолога. М.: Машиностроение, 2002. 264 с.
- Бабин А. Н. Связующие для полимерных композиционных материалов нового поколения // Труды ВИАМ: электрон. науч.-технич. журн. 2013. № 4. С. 1.
Supplementary files










