Нетипичное упрочнение, вызванное током и пластической деформацией
- Авторлар: Столяров В.В.1
-
Мекемелер:
- Институт машиноведения РАН им. А. А. Благонравова
- Шығарылым: № 3 (2024)
- Беттер: 14-20
- Бөлім: НАДЕЖНОСТЬ, ПРОЧНОСТЬ, ИЗНОСОСТОЙКОСТЬ МАШИН И КОНСТРУКЦИЙ
- URL: https://journals.rcsi.science/0235-7119/article/view/273501
- DOI: https://doi.org/10.31857/S0235711924030033
- EDN: https://elibrary.ru/PHIDGG
- ID: 273501
Дәйексөз келтіру
Толық мәтін
Аннотация
На основе литературных и экспериментальных данных кратко рассмотрены эффекты, сопровождающие прохождение импульсного тока и связанные с ними структурные изменения в металлах и сплавах. Показана особая роль вида и режимов тока, а также природы материала. Представлены результаты проведенных исследований взаимодействия электрического тока и пластической деформации квазистатическим растяжением в чистых металлах, титановых сплавах с мартенситным превращением, сталях. Предполагается, что причинами обнаруженных деформационных эффектов являются соотношение периода и длительности импульса, циклирование напряжений и температуры, изменение механизма деформации, обратимые превращения, изменение размера зерен, появление частиц вторых фаз. Вариация скважности позволяет регулировать соотношение теплового и электропластического эффекта и тем самым влиять на механизмы упрочнения/разупрочнения.
Негізгі сөздер
Толық мәтін
Известно, что электрический ток в металлическом проводнике вызывает ряд физических явлений – тепловой нагрев, скин- и пинч-эффекты, магнитное поле, вибрацию. Если при этом материал одновременно подвергается пластической деформации, то дополнительно могут возникать электропластический (ЭПЭ) [1] и магнитопластический [2] эффекты. Считается, что основным механизмом ЭПЭ является взаимодействие электронов проводимости (электронный ветер) с дефектами кристаллической решетки, к которым можно отнести не только дислокации или вакансии, но и границы зерен, тройные стыки, двойники, дефекты упаковки и т. д. [3]. Большинство сопутствующих явлений приводят к снижению действующих напряжений и повышению пластичности, относительный вклад которых может сильно различаться. В литературе имеется два подхода к определению и пониманию ЭПЭ. Первый предполагает, что ЭПЭ объединяет совокупность перечисленных выше всех явлений. При таком понимании ЭПЭ невозможно выделить основной действующий механизм. В настоящей статье используется другой подход, при котором ЭПЭ рассматривается как один из многих возможных вкладов, обладающих своим собственным уникальным механизмом. В экспериментальном плане такой подход к определению ЭПЭ требует условий, при которых действие сопутствующих эффектов было бы минимальным. Исследование ЭПЭ важно с практической и научной точки зрения. Практическое применение ЭПЭ связано с повышением пластичности и уменьшением усилий деформирования, что всегда требуется при обработке металлов давлением. Кроме того, практическая значимость ЭПЭ обусловлена возможностью исключить промежуточные этапы отжига и деформации в процессах металлообработки [3]. Научное значение ЭПЭ обусловлено необходимостью понимания физических механизмов пластической деформации, взаимодействующей с электрическим током. В этой связи исследования ЭПЭ традиционно выполняются при растяжении, хотя сам эффект проявляется в разных схемах деформации, сопровождаемой током [3–6]. Ранее было показано влияние вида тока [7], режимов тока [8], сопровождающего теплового эффекта [9] и самого материала [10] на механические свойства металла. В большинстве этих исследований материалы проявляли разупрочнение и увеличение пластичности до разрушения. Одной из первых работ, в которой обнаружено упрочнение под влиянием импульсного тока, было исследование в сплавах с памятью формы TiNi [11]. В работе [12] авторы также наблюдали упрочнение в крупнозернистом (размер зерен dз = 80 мкм) сплаве Ti–7Al ат. %, связанное с изменением механизма деформации скольжением на двойникование и соответствующим переползанием дислокаций. Упрочнение, вызванное электроимпульсной обработкой без деформации, наблюдалось в малоуглеродистых и феррито-перлитных сталях [13, 14].
ЭПЭ был исследован во многих чистых металлах Zn, Cd, Pb, Sn, Ti, Cu и термически стабильных сплавах на основе титана Ti64, магния AZ31, алюминия AA6000 и AA7000, меди (латунь), железа (аустенитные стали). Во всех случаях деформация растяжением в присутствии тока сопровождалась либо скачками напряжения вниз, либо снижением напряжений течения при плотности тока выше пороговой (критической). Это практически важное свойство тока было широко использовано в практике металлообработки, а также показана его эффективность для подавления прерывистой деформации (эффект Портевена–Ле Шателье) в алюминиевых сплавах AМг6. Тем не менее, оказалось, что в ряде случаев могут наблюдаться аномальные эффекты упрочнения, вызванные либо специальными режимами тока, либо природой исследуемых материалов. Особый интерес представляют термически не стабильные сплавы, в которых возможны структурно-фазовые превращения в процессе нагрева или деформации. В этой связи целью статьи является демонстрация нетипичного (аномального) деформационного поведения при растяжении в сопровождении импульсного тока высокой скважности в материалах различной природы.
Материал и методы исследования Исследуемыми материалами были чистые металлы (титан и алюминий), сплавы с памятью формы на основе TiNi и стали. Титан разной чистоты (ВТ1-0 и ВТ1-00) применяли в виде проволоки ∅1 мм, с размером зерен dз = 20 мкм. Алюминий представлял собой монокристаллическую пластину, полученную в условиях невесомости. Закаленные крупнозернистые (dз = 20 мкм) сплавы Ti49.3Ni50.7 и Ti50Ni50 имели форму листа. Низкоуглеродистую феррито-перлитную сталь Ст3 использовали в виде волоченной проволоки ∅1.5 мм, а нержавеющую сталь 0Х18Н10Т в форме полос. Все материалы, кроме стальной проволоки, имели отожженное крупнозернистое состояние. Поскольку все образцы для механических испытаний на растяжение имели разные размеры рабочих длин lраб, то для адекватного сравнения пластичности значения относительного удлинения до разрушения были приведены к единой расчетной длине lo = 25 мм. Для образцов из сплавов TiNi ввиду использования микрообразцов расчетная длина составляла lo = 10 мм. Форма образца для испытаний листовых материалов показана на рис. 1а.
Рис. 1. Вид плоского образца (а) и схема подвода тока к зажимам (б): 1 – генератор импульсного тока; 2 – осциллограф; 3 – образец; 4 – термопара; 5 – изоляция; 6 – зажимы испытательной машины.
Испытания на растяжение проводились при комнатной температуре и скорости 1 мм/мин на горизонтальной машине ИР 5081–20 с использованием одиночных импульсов тока большой скважности Q (Q = T/τ, где Т – период импульсного тока, τ – длительность импульса), которые вводили одновременно с началом растяжения. Плотность тока j = 100–2600 А/мм², длительность импульса τ = 100–1000 мкс и скважность Q более 103 варьировали в соответствии с удельным электросопротивлением и теплопроводностью исследуемых материалов так, чтобы нагрев образца за время растяжения был бы минимальным, а скачки напряжения наблюдались бы визуально. Температуру образца контролировали термопарой и инфракрасной камерой. Расхождение измеренных температур не превышало ±5°C. Соответствующие режимы тока и фактические температуры образцов показаны в подписях к рисункам ниже.
Экспериментальные результаты и обсуждение. На рис. 2 представлены кривые растяжения “напряжение–деформация” образцов технически чистого титана ВТ1-0 и ВТ1-00, отличающихся содержанием примесных элементов (рис. 2а, б) и монокристаллического алюминия (рис. 2в) без тока кривые 1 и с током в форме одиночных импульсов кривые 2.
Рис. 2. Кривые напряжение-деформация при растяжении: ВТ1-0 (а), ВТ1-00 проволока ∅1 мм (б) и монокристалла Al (в): 1 – без тока; 2 – одиночные импульсы тока j = 250 А/мм² (ВТ1-0, ВТ1-00, Q = 10000); j = 450 А/мм² (Al, Q = 30000).
На кривых 2 с импульсным током наблюдаются скачки напряжения вниз с разной амплитудой для титана (до 40 МПа) и алюминия (не более 5 МПа), соответствующие каждому импульсу тока. Видно, что введение импульсов тока во всех материалах привело к упрочнению – повышению предела прочности на 20 и 4 МПа, соответственно, для титана и алюминия, по сравнению с образцами, испытанными без тока. Поскольку пределы текучести при этом практически не изменились, то можно заключить, что повышение прочности при введении тока связано с увеличением деформационного упрочнения. Относительное удлинение до разрушения в ВТ1-0 и монокристаллическом алюминии также повысилось на 15 и 30% соответственно, а в ВТ1-00 не изменилось. Характерной особенностью кривых с током является высокое равномерное удлинение без формирования шейки. Отметим, что температуры образцов при растяжении с током и без тока практически не отличались от комнатной.
Интерпретация наблюдаемого упрочнения в чистых металлах без структурных исследований является наиболее трудной, поскольку никаких фазовых превращений в них не происходит. Можно предположить, что упрочнение связано с малоцикловой усталостью, вызванной импульсным током. В результате термомеханического циклирования накапливаются внутренние напряжения. Заслуживает внимания объяснение, связанное с изменением механизма деформации скольжением на переползание дислокаций, способствующего двойникованию и упрочнению. Такой механизм был предложен для сплава Ti–7Al ат. % в [12]. Авторы показали наличие существенного упрочнения при растяжении в сопровождении импульсного тока большой скважности и подтвердили структурными исследованиями.
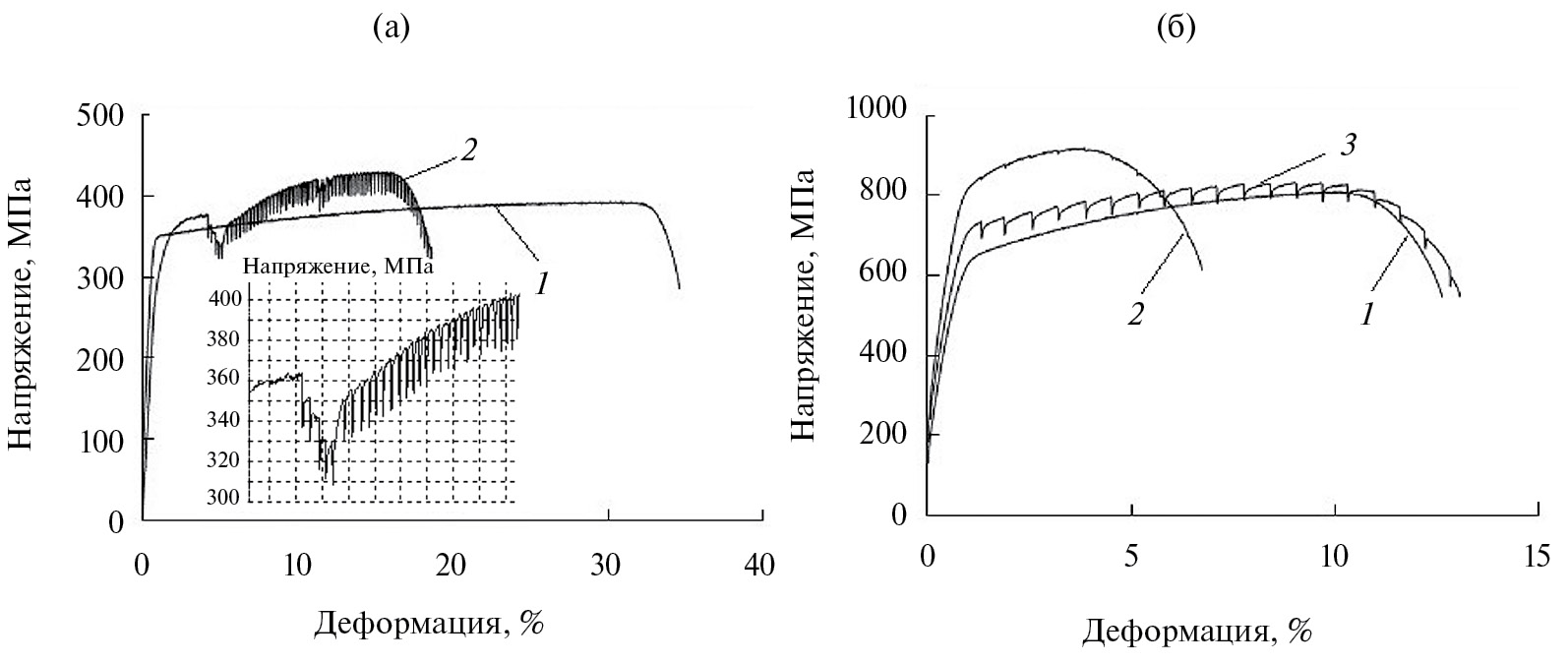
Рассмотрим деформационное поведение сплавов системы TiNi. Наиболее ярко эффект упрочнения наблюдался в аустенитном сплаве системы Ti49.3Ni50.7 (рис. 3а).
Рис. 3. Кривые напряжение-деформация при растяжении без тока 1 и с током 2: (а) – Ti49.3Ni50.7, j = 500A/мм², τ = 100 мкс (Q = 140000); (б) – Ti50Ni50, j = 500–1500A/мм², τ = 1000 мкс.
В отличие от чистых металлов введение импульсов тока вызывает большие скачки напряжения вверх. Амплитуда скачков уменьшается от 200 МПа в области плато до 1–2 МПа в зоне разрушения. Отметим, что нижняя огибающая кривой 2 практически совпадает с кривой 1 без тока, что косвенно может свидетельствовать об отсутствии необратимых структурных изменений под действием тока. Видно, что кривая 2 (с одиночными импульсами тока) в начале деформации располагается на 200 МПа выше, по сравнению с кривой 1 (без тока). С увеличением деформации эффект упрочнения уменьшается и исчезает. Температура образца в момент прохождения импульса незначительно повышалась до 50°C, что достаточно для обратного фазового превращения аустенита в мартенсит. Таким образом в аустенитном сплаве появление скачков и соответствующее упрочнение связано с эффектом памяти формы. Однако в эквиатомном сплаве близкого состава Ti50Ni50, имеющем мартенситную структуру, эффект упрочнения отсутствовал (рис. 3б). Вследствие пластинчатой структуры мартенсита скачки напряжения вниз имеют малую амплитуду. Столь разное поведение сплавов при растяжении с током связано с их фазовым составом при комнатной температуре и температурами начала обратного мартенситного превращения As, которые в крупнозернистых сплавах Ti49.3Ni50.7 и Ti50Ni50 сильно отличаются. В аустенитном сплаве деформационный мартенсит при незначительном нагреве током превращается в аустенит и, как следствие, упрочняет сплав [12]. В мартенситном сплаве незначительный нагрев не приводит к обратному превращению и упрочнение отсутствует.
Ниже показаны деформационные кривые двух типов сталей: феррито-перлитной стали Ст3 (рис. 4а) и нержавеющей стали 0Х18Н10Т (рис. 4б). Здесь, введение импульсного тока так же привело в процессе растяжения как к разной интенсивности упрочнения, так и к существенному снижению пластичности. В отличие от предыдущих примеров в волоченной неотоженной проволоке из стали Ст3 при растяжении импульсный ток вводили на стадии пластической деформации (рис. 4а). В момент введения ток сначала вызвал резкое снижение напряжений течения на коротком участке деформации, а затем продолжительную стадию упрочнения до 30–40 МПа (рис. 4а).
Рис. 4. Кривые напряжение-деформация при растяжении сталей Ст3 (а) и Х18Н10Т (б): 1 – без тока; 2, 3 – с током; (а) – Ст3 кривая 2: j = 115 А/мм², τ = 1с, температура ≤50°C, Q = 300000; (б) – Х18Н10Т, кривая 2: j = 820 А/мм², τ = 250 мкс; кривая 3: j = 2600 А/мм² τ = 1000мкс, 54°C, Q = 100000. Во вкладке к рис. 4а – участок растяжения при увеличенном масштабе.
Похожий эффект упрочнения при электропульсировании (без деформации) наблюдался в малоуглеродистой стали [13] и феррито-перлитной стали [14]. Авторы объяснили упрочнение в феррито-перлитной стали структурным измельчением под влиянием тока и предложили соответствующие механизмы – повышенная скорость зародышеобразования в малоуглеродистой стали и сфероидизация цементита в перлитной составляющей. В стали Ст3 не исключается конкуренция действующих механизмов: динамической рекристаллизации (начальное разупрочнение из-за повышенной плотности дислокаций в феррите) и малоцикловой усталости.
Более сильное упрочнение 100–150 МПа наблюдалось в аустенитной нержавеющей стали (рис. 4б, кривая 2), когда применили высокую скважность (низкая частота) и низкую плотность тока, при которой амплитуда скачков была слабо видима. Меньший эффект упрочнения 60–70 МПа наблюдался при большей плотности тока и меньшей скважности (рис. 4б, кривая 3). Упрочнение в этом случае при электропульсировании может быть связано с растворением в аустените частиц вторых фаз, обогащенных хромом или никелем [15]. Неясной остается роль энергии дефектов упаковки в дуплексных (Ф+А) сталях [16]. В наших исследованиях аустенитно-мартенситной ТРИП стали, дуплексной (Ф+М) стали и стали Ст45 подобный эффект не наблюдался. Напротив, в упрочняемых термической обработкой алюминиевом АМг6 и медном БрАЖ9-4 сплавах эффекты упрочнения наблюдались при большой скважности импульсного тока.
Заключение. Литературный обзор и полученные в результате исследования электропластического эффекта экспериментальные данные позволили продемонстрировать нетипичное деформационное поведение при растяжении. Все приведенные примеры в сильно отличающихся по физической природе сплавах свидетельствуют о возможности проявления не только традиционного эффекта разупрочнения, но заметного деформационного упрочнения под действием импульсного тока большой скважности. Критически важным и необходимым условием для реализации упрочнения является высокое соотношение периода и длительности импульса тока, при котором роль теплового эффекта практически отсутствует, а электропластический эффект усиливается. Такой режим тока обеспечивает проявление структурных причин, к которым можно отнести динамическое деформационное старение, фазовые превращения, вызванные температурой или деформацией, смена дислокационного механизма скольжения на переползание, динамическая рекристаллизация, двойникование, структурное измельчение, дефекты упаковки. Возможность подобных структурных изменений требует экспериментальных доказательств путем тщательного наблюдения тонкой структуры методом просвечивающей электронной микроскопии.
Финансирование. Данная работа финансировалась за счет средств бюджета Института машиноведения РАН им. А. А. Благонравова. Никаких дополнительных грантов на проведение или руководство данным конкретным исследованием получено не было.
Конфликт интересов. Автор заявляет об отсутствии конфликта интересов.
Авторлар туралы
В. Столяров
Институт машиноведения РАН им. А. А. Благонравова
Хат алмасуға жауапты Автор.
Email: vlstol@mail.ru
Ресей, Москва
Әдебиет тізімі
- Troitskii O. A. Electromechanical effect in metals // JETP Letters. 1969. № 1. P. 18.
- Golovin Yu. I. Magnetoplastic effect in solids // Physics of the Solid State. 2004. V. 46 (5). P. 789.
- Liu J., Jia D., Fu Y., Kong X., Lv Z., Zeng E., Gao Q. Electroplasticity effects: from mechanism to application // Int. J. of Advanced Manufacturing Technology. 2023. https://doi.org/10.1007/s00170-023-12072-y
- Perkins T. A., Kronenberger T. J., Roth J. T. Metallic forging using electrical flow as an alternative to warm/hot working // J. of Manufact. Sci. Eng. 2007. V. 129. P. 84.
- Chun X. U., Ya-Nan L.I., Rao X. H. Effect of electropulsing rolling on mechanical properties and microstructure of AZ31 magnesium alloy // Transactions of Nonferrous Metals Society of China. 2014. V. 24. P. 3777.
- Zhou Y., Chen G. Q., Fu X. S., Zhou W. L. Effect of electropulsing on deformation behavior of Ti-6Al-4V alloy during cold drawing // Transactions of Nonferrous Metals Society of China. 2014. V. 24. P. 1012.
- Lee T., Magargee J., Ng M. K., Cao J. Constitutive analysis of electrically assisted tensile deformation of CP-Ti based on non-uniform thermal expansion, plastic softening and dynamic strain aging // Inter. J. of Plasticity. 2017. V. 94. P. 44.
- Okazaki K., Kagawa M., Conrad H. Additional results on the electroplastic effect in metals // Scr. Metall. 1979. V. 13. P. 277.
- Okazaki K., Kagawa M., Conrad H. An evaluation of the contributions of skin, pinch and heating effects to the electroplastic effect in titanium // Mater. Sci. Eng. 1980. V. 45. P. 109.
- Rudolf C., Goswami R., Kang W., Thomas J. Effects of electric current on the plastic deformation behavior of pure copper, iron, and titanium // Act. Mater. 2021. V. 209. 116776.
- Stolyarov V. Deformation behavior at rolling and tension under current in TiNi alloy // Conf. ESOMAT. 2009. 06033.
- Zhao S., Zhang R., Chong Y. et al. Defect reconfiguration in a Ti–Al alloy via Electroplasticity // Nat. Mater. 2021. V. 20. P. 468. https://doi.org/10.1038/s41563-020-00817-z
- Zhou Y., Zhang W., Wang B., He G., Guo J. Grain refinement and formation of ultrafine-grained microstructure in a low-carbon steel under electropulsing // J. Mater. Res. 2002. V. 17. P. 2105.
- Rahnama A., Qin R. S. Electropulse-induced microstructural evolution in a ferritic-pearlitic 0.14% C steel // Scr. Mater. 2015. V. 96. P. 17.
- Qin R. S., Rahnama A., Lu W. J., Zhang X. F. Elliott-Bowman B. Electropulsed steels // Materials Science and Technology. 2014.V. 3. P. 1040.
- Gennari C., Pezzato L., Simonetto E., Gobbo R., Forzan M., Calliari I. Investigation of electroplastic effect on four grades of duplex stainless steels // Materials. 2019. V. 1. P. 1911.
Қосымша файлдар






