Управление четырехкоординатным манипулятором с удаленным центром движения
- Авторы: Шалюхин К.А.1
-
Учреждения:
- Институт машиноведения им. А.А. Благонравова РАН
- Выпуск: № 1 (2024)
- Страницы: 88-96
- Раздел: АВТОМАТИЗАЦИЯ И УПРАВЛЕНИЕ В МАШИНОСТРОЕНИИ
- URL: https://journals.rcsi.science/0235-7119/article/view/262555
- DOI: https://doi.org/10.31857/S0235711924010109
- EDN: https://elibrary.ru/SMVSPG
- ID: 262555
Цитировать
Полный текст
Аннотация
В статье рассмотрены вопросы разработки системы управления манипулятора с шаговыми приводами. На примере управления механизмами с удаленным центром движения показаны способы формирования управляющих сигналов при использовании униполярных и биполярных шаговых двигателей. Приведены примеры управления приводами с использованием различных задатчиков движения. Обозначены проблемы разработки задатчиков движения и способы управления манипулятором при необходимости одновременной работы двух и более приводов.
Полный текст
Среди множества механизмов, используемых для манипуляции разнообразными объектами материальной среды в производстве, транспорте, энергетике, научных исследованиях, здравоохранении, ликвидации чрезвычайных ситуаций, заметное место занимают механизмы с удаленным центром движения. Их особым качеством является возможность манипулирования объектами, находящимися в закрытых объемах, через небольшое отверстие. Задачи такого рода есть, например, в современной хирургии при использовании технологии малоинвазивных лапароскопических операций, производимых специальными инструментами через несколько проколов в коже пациента. Как пример технической задачи, решаемой подобными механизмами, можно привести зондовую диагностику плазменных потоков в рабочем теле турбин авиационных двигателей [1].
В широко известной робот-ассистированной хирургической системе da Vinci [2], используемой для таких операций, наличие удаленного центра движения обеспечено введением избыточных степеней подвижности манипуляторов и использованием специальных алгоритмов управления. В системе SoloAssist [3], представляющей собой автономный робототехнический комплекс для управления медицинским эндоскопом с видеокамерой, удаленный центр вращения обеспечивается наличием трех пассивных степеней подвижности манипулятора в дополнение к трем приводным, которые сообщают эндоскопу угловые и линейные перемещения.
В Институте машиноведения им. А.А. Благонравова РАН (ИМАШ) ведутся работы по синтезу и исследованию манипуляторов с удаленным центром движения [4, 5].
В статье описана разработка способов управления подобными пространственными механизмами, обладающими четырьмя степенями свободы. Требуемый характер движения каждого из приводов – обеспечение максимально возможной постоянной скорости в прямом или обратном направлении при поступлении логического управляющего сигнала, подаваемого оператором при помощи задатчиков движения различного принципа действия.
В качестве платформы для тестирования способов управления манипулятором автором выбран четырехкоординатный сбалансированный механизм с удаленным центром движения. В основе механизма – два плоских параллелограмма с общим звеном, что позволяет выходному звену повторять движение приводного звена механизма, обеспечивающего поворот в плоскости параллелограмма. Параллелограммы, приводимые в движение шаговым двигателем через зубчатую ременную передачу (назовем это приводом продольного наклона), расположены на поворотной платформе с осью вращения, проходящей через неподвижную точку на рабочем органе. Платформа приводится в движение расположенным на основании приводом поперечного наклона, по передаточному числу и крутящему моменту идентичным приводу, установленному на поворотной платформе. На выходном звене установлены приводы вращения рабочего инструмента вокруг собственной продольной оси и линейного перемещения вдоль нее же. Общий вид механизма приведен на рис. 1.
Рис. 1. Механизм с удаленным центром движения.
Механизм приводится в действие четырьмя шаговыми двигателями. Приводы продольного и поперечного наклона базируются на униполярном шаговом двигателе FL57STH76, привод вращения рабочего инструмента состоит из биполярного FL20STH30-0604 и зубчатой ременной передачи. Все вышеперечисленные двигатели являются гибридными с повышенным крутящим моментом. Привод линейного перемещения состоит из шагового униполярного мотор-редуктора 28BYJ-48, зубчатой ременной передачи и винтовой передачи. Двигатели FL57STH76 управляются драйверами SMD-2,8mini, FL20STH30 – драйвером Mini L298N, а мотор-редуктор 28BYJ-48 – драйвером ULN2003A.
Система управления приводами, которая анализирует информацию, поступающую с задатчиков движения, и формирует необходимые сигналы для драйверов, построена на базе процессора Arduino uno, потенциал которого позволяет использовать широкий спектр программ управления с возможностью использования как цифровых, так и аналоговых задатчиков движения [6].
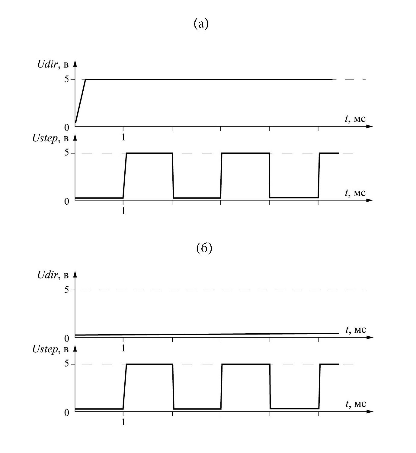
Управление униполярными двигателями проводится подачей импульсов на входы DIR+ и STEP+ драйвера SMD-2,8mini в последовательности, показанной на рис. 2. Два верхних графика отражают импульсы для наклона выходного звена в прямом направлении, а два нижних – в обратном направлении.
Рис. 2. Импульсы управления приводов наклона: (а) – в прямом направлении; (б) – в обратном направлении.
Дробление шага 1 : 16 для достижения большей плавности движения манипулятора задается переключателями драйвера. При этом частота шаговых импульсов устанавливается максимально возможной для получения скорости перемещений. В программе, формирующей импульсы для входов драйвера, задержка между переключениями состояний входов установлена на уровне 1 мс. Учитывая то, что в цикле одного шага есть четыре переключения, общая его продолжительность составляет приблизительно 4 мс (пренебрегая задержкой процессора при исполнении данного участка программы). Эта величина установлена эмпирически, исходя из способности привода двигаться без потери шагов при дроблении 1 : 16. Такое управление осуществляется обоими приводами наклона эндоскопа, построенными на двигателях FL57STH76. Реализация данного алгоритма показала устойчивую работу приводов под нагрузкой и приемлемую плавность движений.
Двигатель привода вращения рабочего инструмента FL20STH30-0604, будучи биполярным, требует иных алгоритмов управления. Необходимо не только подавать напряжение на обмотки двигателя, но и менять его полярность в последовательности, определяющей направление вращения. Последовательность импульсов в режиме симметричной коммутации (когда на каждом из четырех тактов цикла управления возбуждается только одна из обмоток двигателя) приведена на рис. 3. Четыре верхних графика отражают вращение рабочего инструмента по часовой стрелке, а четыре нижних – против часовой стрелки.
Рис. 3. Импульсы управления привода вращения: (а) – по часовой стрелке, (б) – против часовой стрелки.
Необходимо отметить, что режим симметричной коммутации не обеспечивает дробления шага. Такой режим можно достичь применением режима несимметричной коммутации, в котором четным и нечетным тактам цикла соответствует различное число возбужденных обмоток. Однако практика показала достаточную плавность вращения приводом рабочего инструмента, поэтому от более сложного режима коммутации было решено отказаться. К тому же дробление шага привело бы к уменьшению скорости вращения. Максимально возможная частота переключений, формируемая управляющей программой, задана задержкой между переключениями, составляющей 16 мс. Учитывая наличие в цикле четырех таких задержек, получаем продолжительность цикла, приблизительно равную 64 мс.
В приводе управления продольным перемещением эндоскопа используется мотор-редуктор 28BYJ-48. Этот тип двигателя является униполярным и управляется драйвером ULN2003A. Двигатель мотор-редуктора имеет четыре фазных обмотки, соединенные звездой. Управляющие импульсы подаются на четыре входа драйвера, каждый из которых соответствует одной обмотке. Последовательность подачи импульсов и определяет направление движения; верхние четыре графика – движение выходного звена вниз, а нижние четыре – движение вверх (рис. 4).
Рис. 4. Импульсы управления привода перемещения: (а) – вниз, (б) – вверх.
Такой алгоритм управления соответствует режиму симметричной коммутации и также не обеспечивает дробления шага. Применение режима несимметричной коммутации, например, последовательности управляющих импульсов IN1 – IN1+IN2 – IN2 – IN2+IN3 – IN3 – IN3+IN4 – IN4 – IN4+IN1 – IN1 и т. д. (IN1–IN4 – входы для сигналов U1–U4), здесь также не нужно, поскольку большое передаточное число редуктора, а именно 64 : 1, обеспечивает плавность хода эндоскопа.
Кроме того, благодаря редуктору шаговый двигатель значительно менее нагружен, что позволяет установить задержку переключения входов драйвера в программе, формирующей импульсы, на уровне 2 мc. Поскольку в цикле каждого шага происходит четыре переключения, его суммарная продолжительность 8 мc, пренебрегаем запаздыванием исполнения процессором операторов, содержащихся в цикле управления драйвером мотор-редуктора.
Число выходов процессора, необходимых для управления драйвером SMD-2,8mini, – два, драйвером Mini L298N – четыре, а драйвером ULN2003A, который хоть и управляет униполярным шаговым двигателем, как и SMD-2,8mini, но имеет более примитивную схему, – также равно четырем. Суммируя общее количество выходов, получаем число 12. Ровно столько выводов содержит логический интерфейс процессора Arduino uno (каждый вывод может служить как логическим входом, так и логическим выходом в зависимости от функции, назначенной программой). Поскольку использование расширителей, позволяющих через один вывод интерфейса обрабатывать сигналы от восьми или шестнадцати дополнительных выводов, делает схему более громоздкой, было решено использовать в качестве логических выводы аналогового интерфейса, которых в Arduino uno имеется шесть, а его программное обеспечение позволяет им работать в таком качестве.
Для управления четырьмя приводами, каждый из которых может иметь два состояния движения: в прямом и обратном направлении, плюс состояние покоя, – получаем минимально необходимое количество состояний входов системы управления, равное восьми, плюс одно состояние покоя для всех приводов. Необходимо отметить, что при таком небольшом числе состояний входов возможно обеспечить движение только одного из приводов в данный момент времени, а все остальные состояния будут являться запрещенными. В качестве примера можно привести управление манипулятором от педального задатчика движения, разработанного в ИМАШ РАН (рис. 5).
Рис. 5. Педальный задатчик движения для манипулятора.
Его конструкция основана на педальных выключателях, закрепленных на платформе. Оператор работает сидя, поставив ноги на платформу, или стоя, опираясь на нее.
Платформа дает возможность стоять, не включая ни одной из педалей, что соответствует состоянию неподвижности всех приводов. Преимущества такого задатчика движения – свобода рук оператора, необходимая для выполнения других задач, высокая стабильность работы выключателей, а также регулируемая чувствительность педалей для настройки под анатомические особенности конкретного оператора и параметры его обуви для эргономичного управления. Собственно управление производится восемью комбинациями нажатий педалей под пятками оператора и педалей под его носками. Такое количество комбинаций обеспечивает однозначное управление четырьмя реверсивными приводами манипулятора. Сигнал управления определяется количеством и сочетанием педалей, нажатых одновременно. Один из вариантов интуитивно понятной интерпретации движений оператора [7] приведен на рис. 6.
Рис. 6. Диаграмма управления при помощи педального задатчика.
Запрещенные состояния при таком управлении исключаются за счет физической невозможности одновременного нажатия двух педалей носком и пяткой одной и той же ноги, т. е. 1 + 2 и 4 + 3) и, как следствие, невозможности нажатия трех или четырех педалей одновременно. Поэтому используется всего четыре логических входа процессора, причем без программных блокировок запрещенных состояний. Все возможные комбинации нажатий дают восемь состояний движения и одно состояние покоя всех приводов.
В ходе экспериментов возникла потребность в управлении от небольших джойстиков, закрепляемых на двух лапароскопических инструментах, используемых хирургом в ходе операции. В этом случае управление камерой эндоскопа хирург может осуществлять самостоятельно, не прибегая к помощи ассистента. Такой подход, в частности, используется в роботизированной системе управления эндоскопом Soloassist [2]. За основу были взяты Arduino-совместимые модули с пятипозиционной кнопкой навигации, используемые как логические двухкоординатные джойстики.
При переходе от педального задатчика к двум раздельным джойстикам возникли две основных проблемы.
Первая проблема – недостаточное количество (не более пяти) свободных входов на управляющем процессоре, т. к. каждый из двух двухкоординатных джойстиков имеет четыре выхода, так что нужно минимум восемь входов. Конечно, можно было установить расширитель входов и поменять программу управляющего процессора. Но для упрощения задачи и получения более быстрого результата было решено не менять программу, использовав готовые алгоритмы, применяемые с педальным задатчиком. При этом функцию коммутации сигналов с двух джойстиков и приведения их к четырем выходным сигналам выполняет дополнительный процессор Arduino uno. Такой подход может показаться избыточным, но он был выбран с учетом перспективы развития системы, например, планируемого управления манипулятором при помощи шлема, фиксирующего угловые отклонения небольших движений головы оператора. В таком случае вспомогательный процессор возьмет на себя не только функцию коммутации сигналов, но и значительно более сложные задачи пересчета координат, а за основным процессором остается только функция управления приводами манипулятора.
Вторая проблема состоит в том, что каждый из двух джойстиков выдает по четыре сигнала: вверх, вниз, влево, вправо: плюс четыре их сочетания: вверх и вправо, вверх и влево, вниз и вправо, вниз и влево; всего получается восемь состояний плюс одно ненажатое состояние. Учитывая возможность одновременного нажатия обоих джойстиков, мы получаем множество запрещенных состояний, которые необходимо блокировать программными методами. Однако при использовании вспомогательного процессора эта проблема легко устранима без внесения изменений в программу основного процессора.
По результатам анализа ситуации в ИМАШ РАН были созданы джойстики, закрепляемые на рабочих инструментах, и коммутатор сигналов на базе процессора Arduino uno (рис. 7).
Рис. 7. Мини-джойстики с коммутатором сигналов.
Алгоритм работы коммутатора следующий. При поступлении сигнала от одного (и только одного) из джойстиков на вход основного процессора подается сочетание сигналов, имитирующее сигналы педального задатчика (рис. 6). При этом от левого джойстика управляются приводы продольного и поперечного наклона, а от правого – приводы вращения и продольного перемещения рабочего инструмента.
В случае одновременного нажатия двух джойстиков движение манипулятора блокируется, так же как и в случае одновременной подачи двух сигналов (например, вверх и вправо) с любого из джойстиков. Все эти состояния являются запрещенными при управлении приводами через четыре логических входа по алгоритму педального задатчика.
Алгоритм коммутатора показал устойчивую работу. При этом для перехода от управления при помощи педального задатчика к управлению при помощи джойстиков нет необходимости в перепрограммировании системы, достаточно только подключить соответствующие разъемы. Кроме того, при управлении с помощью двух раздельных джойстиков исчезли ложные срабатывания приводов в переходных режимах при смене одной комбинации нажатий на другую, которые были характерны для управления с помощью педального задатчика.
Дальнейшее развитие такой системы может, в частности, добавить возможность одновременной работы двух и более приводов. Для этого необходимо большее число разрешенных состояний входов основного процессора: для одного джойстика восемь состояний, на втором еще восемь и по восемь вариантов для каждого из восьми состояний одного из джойстиков при одновременном нажатии второго. Всего получается 64 + 8 + 8 = 80 состояний, плюс одно ненажатое для обоих джойстиков состояние. В этом случае (максимально сложном) разрешена одновременная работа всех четырех приводов или меньшего их количества в любом сочетании. В случае необходимости можно реализовать подобный режим или менее сложные режимы (например, разрешающие совместную работу только приводов наклона или только приводов вращения и перемещения рабочего инструмента) через имеющиеся аналоговые входы, при этом необходимо задействовать несколько состояний каждого входа в зависимости от их количества и числа требуемых состояний входного сигнала.
Выводы. 1. Приводы с использованием как униполярных, так и биполярных шаговых двигателей, управляемых через совместимые драйверы и логический интерфейс процессора Arduino uno, позволяют эффективно управлять манипулятором на базе механизма с удаленным центром вращения для решения широкого круга задач в области промышленности и медицины. 2. В простейшем случае при раздельном управлении приводами четырехкоординатного пространственного механизма достаточно восьми комбинаций управляющего сигнала и четырех входов логического интерфейса процессора управления. 3. Для такого режима управления может использоваться педальный задатчик движения с четырьмя педалями или два логических двухкоординатных джойстика с использованием логической блокировки запрещенных состояний. 4. В случае необходимости одновременной работы двух или нескольких приводов требуется большее количество входов логического интерфейса процессора управления приводами или использование аналогового интерфейса с большим количеством состояний каждого входа.
Об авторах
К. А. Шалюхин
Институт машиноведения им. А.А. Благонравова РАН
Автор, ответственный за переписку.
Email: constmeister@gmail.com
Россия, Москва
Список литературы
- Freschi C., Ferrari V., Melfi F. et al. Technical review of the daVinci surgical telemanipulator // The Int. J. of Medical Robotics and Computer Assisted Surgery. 2013. V. 9. P. 394.
- Ohmura Y., Nakagawa M., Suzuki H. et al. Feasibility and Usefulness of a Joystick-Guided Robotic Scope Holder (Soloassist) in Laparoscopic Surgery // Visceral Medicine. 2018. V. 34. P. 37.
- Филиппов Г. С., Глазунов В. А., Алешин А. К. и др. Перспективы применения механизмов параллельной структуры в зондовой диагностике плазменных потоков // Лесной вестник. 2019. Т. 23. № 6. C. 88.
- Алешин А. К., Бузорина Д. С., Гаврюшин С. С. и др. Новые механизмы робототехнических и измерительных систем / Под ред. В.А. Глазунова, С.В. Хейло. М.: ТЕХНОСФЕРА, 2022. 244 с.
- Алешин А. К., Антонов А. В., Глазунов В. А. и др. Патент РФ 182946 U1, 2018.
- Warren J.-D., Adams J., Molle H. Arduino for Robotics. CA: Apress Berkeley, 2011. P. 51. https://doi.org/10.1007/978-1-4302-3184-4
- Алешин А. К., Антонов А. В., Борисов В. А. и др. Механизмы перспективных робототехнических систем / Под ред. В.А. Глазунова, С.В. Хейло. М.: ТЕХНОСФЕРА, 2020. 296 с.
Дополнительные файлы









