Термодинамическое моделирование процессов очистки первичного алюминия от примесей ванадия
- Авторы: Куандыков А.Б.1, Быков П.О.1, Чайкин В.А.2, Суюндиков М.М.1, Жунусов А.К.1, Салина В.А.3,4, Кулумбаев Н.К.1
- 
							Учреждения: 
							- Торайгыров Университет
- Смоленское областное отделение Российской ассоциации литейщиков
- Институт металлургии УрО РАН
- Уральский государственный горный университет
 
- Выпуск: № 5 (2024)
- Страницы: 529-544
- Раздел: Статьи
- URL: https://journals.rcsi.science/0235-0106/article/view/271477
- DOI: https://doi.org/10.31857/S0235010624050071
- ID: 271477
Цитировать
Полный текст
Аннотация
В данной статье рассмотрено взаимодействие химических элементов в трехкомпонентной системе Al-V-B. Ванадий снижает электропроводность в первичном алюминии, что требует его снижения при электролизе алюминия до значений менее 0.02%. С целью снижения концентрации примесей ванадия были проведены термодинамические расчеты реакций разделения металлической фазы алюминия и примесей интерметаллидов ванадия за счет использования борсодержащего флюса. Расчет термодинамических параметров проводился в HSC Chemistry 9.0. для соединений AlB2 и VB2, химической реакции AlB2 + V = VB2 + Al в пределах рабочих температур электролиза и литья первичного алюминия 650–950°С и условий погружения борсодержащего флюса в расплав на глубину ковша 0.5, 1.0, 1.5 и 2 м, т.е. в пределах давлений 102.39–148.99 кПа. Термодинамический анализ показал, что значения энергии Гиббса (ΔGT) во всем диапазоне рабочих температур процесса электролиза и литья первичного алюминия для VB2 значительно ниже, чем AlB2, следовательно, они будут образовываться преимущественно в данном температурном диапазоне. Порядок стабильности также предполагает, что ванадий может быть легко удален из расплавов алюминия путем добавления бора. Полученные результаты позволяют сделать вывод о возможном протекании химических реакций очистки первичного алюминия от примесей ванадия за счет добавок бора.
Ключевые слова
Полный текст
ВВЕДЕНИЕ
При производстве анодов для электролизных ванн в условиях АО «Казахстанский электролизный завод» (АО «КЭЗ») частично вовлекается в производство металлургический кокс ТОО «УПНК-ПВ» (г. Павлодар, Республика Казахстан). Кокс местного производства содержит повышенное содержание ванадия и других примесей, что в свою очередь ограничивает его использование при производстве первичного алюминия.
Как известно [1–15], ванадий снижает электропроводность в первичном алюминии, что требует его снижения до значений менее 0.02%.
Литературный обзор показал, что существуют способы рафинирования первичного алюминия от примесей ванадия соединениями бора, которые не получили широкого промышленного применения [1–15].
Из работ [13–15] известно, что протекание химических реакций в системе Al-V-B имеет сложный характер. Термодинамически устойчивым при рабочих температурах процесса электролиза и разливки алюминия 950–650℃ является соединение VB2. Кинетика химических реакций с образованием соединений подобных VB2 при рафинировании лигатурами на основе Al-B характеризуется низкой скоростью по причине образования нерастворимого кольца продуктов реакции, состоящего из диборида ванадия (VB2).
ТРЕХКОМПОНЕНТНАЯ СИСТЕМА Al-V-B
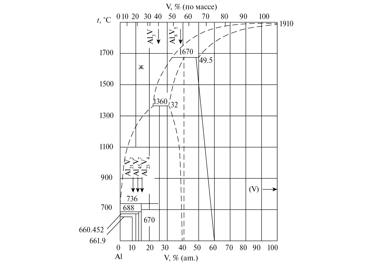
Диаграмма состояния Al – V [10] представлена на рис. 1. Интерметаллические фазы Al-V в целом структурно хорошо охарактеризованы. Как видно из рис. 1 на стороне, богатой Al, имеется каскад перитектических реакций.
Рис. 1. Диаграмма состояния Al – V [10].
Фазами равновесия согласно [10] являются:
1) твердые растворы с ГЦК (Al) и ОЦК (V), первые с очень узким диапазоном гомогенности (от 0 до 0.3 ат.% V), последние с широким диапазоном (от 50 до 100 ат.% V);
2) богатые Al соединения, включая сложный кубический интерметаллид Al21V2 (в литературе также иногда обозначаемый как Al11V или A10V), моноклинный Al45V7 (также обозначаемый Al7V) и гексагональный Al23V4 (также обозначаемый Al6V) и Al3V со структурой D022; 1;
3) Al8V5 с кубической структурой, которая, как считается, имеет некоторый диапазон гомогенности при высокой температуре. На основании данных параметров решетки растворимость V в (Al) при 620℃ составляет около 0.2 ат.%. Взяли за основу максимум парамагнитной восприимчивости, чтобы оценить, что максимальная растворимость V в (Al) составляет 0.3 ат.%.
Практическое значение для исследования имеет участок диаграммы Al-V в пределах содержания ванадия от 0 до 0.3% (рис. 2) [10]. Данный диапазон был выбран в виду предельных содержаний ванадия при выпуске жидкого алюминия из электролизеров в АО «КЭЗ».
Рис. 2. Перитектические превращения ванадия (диапазон температур 400 – 1080 °С) [10].
В системе, изображенной на рис. 2 [10], образуются следующие соединения при перитектических реакциях и при соответствующих температурах: Al21V2 при 670°C, Al45V7 при 688°C, Al23V4 при 736°C, Al3V при 1360°C, и Al9V5 при 1670°C. Также отмечается, что при температуре 661,9°C происходит перитектическая реакция:
Ж + Al21V2 ↔ (Al) (1)
Растворимость V в Al при различных температурах составляет [10]:
– 0.91% при 735°C;
– 0.2% при 660°C;
– 0.11% при 500°C.
Растворимость Al в V при различных температурах составляет [10]:
– 50.5% при 1670°C;
– 53,5% при 980°C;
– 44% при 900°C.
Кроме того, растворимость Al в V при температуре 1000°C равна 45%.
Согласно представленным данным, в промышленных условиях АО «КЭЗ» основным соединением Al и V является Al3V с растворимостью ванадия до 0.2%.
Согласно исследованию [8], диффузия способствует процессу растворения V в расплаве Al. Кинетика данного процесса значительно ниже, чем у металлов из группы железа. Работы [18, 10], содержат данные о константе кинетики растворения интерметаллидов V при температуре 750°C в зависимости от ɷ, именно 6.61–36.8 (рад/с.а), применялся метод вращающегося диска:
Кр = (5.2 + 0.1) · 10–5 ·ω0.54 (2)
В соответствии с [8] скорость растворения при значении температуры 900°C составит Кр∙10–4 = 0.65 г/(см2∙с), учитывая концентрацию ванадия в расплаве алюминия после растворения 0.4V.
Также исходя из работ [8–10], можно сделать вывод о зависимости следующих уравнений при температурном диапазоне эквивалентном 700–950°C:
D = (2.184) ∙10–7∙exp(–45.64/RT) (3)
D = 0.44 ∙10-3∙exp(–7.7/RT) (4)
В работе [16] представлена диаграмма состояния двухкомпонентной системы Al-B (рис. 3), из представленных данных можно заключить о наличии образования наиболее стабильных соединений: AlB2 и AlB12.
Рис. 3. Диаграмма состояния Al – B [16].
В температурном диапазоне 927–1400°C происходит фазовый переход в результате перитектической реакции из AlB2 в AlB12. Соединение AlB2 образуется при крайне низком содержании бора в системе.
Исходя из представленных данных, можно сделать вывод, что в промышленных условиях АО «КЭЗ» основным соединением является AlB2.
В работе [17] описано взаимодействие V с B. Согласно рис. 4 в системе V – B образуется шесть различных боридов ванадия: V3B2, VB, V5B6, V3B4, V2B4, VB2.
Рис. 4. Диаграмма состояния V – B [17].
Важно отметить, что бориды ванадия имеют очень высокую температуру плавления, которая значительно превышает температуры, используемые в процессе электролиза алюминия и последующей обработке расплавов.
Из работ [1–17] известно, что протекание химических реакций в системе Al-V-B имеет сложный характер. Термодинамически устойчивыми при рабочих температурах процесса электролиза и разливки алюминия 950–650℃ является соединение VB2.
Авторами работ [13–15] установлено, что кинетика химических реакций с образованием соединений VB2 при рафинировании лигатурами на основе Al-B характеризуется низкой скоростью по причине образования нерастворимого кольца продуктов реакции, состоящего из диборида ванадия (VB2). Толщина данного кольца увеличивается с 1 до 20 мкм по мере увеличения выдержки расплава до 720 минут.
Дополнительные EDX-исследования авторов работ [13–15] позволили установить, что в частицах боридного кольца присутствуют V, B и Al что указывает на образование твердого раствора или смешанных боридов (AlB2, VB2). Из анализа EDX не удалось окончательно установить, образовывали ли боридные оболочки какой-либо твердый раствор или представляли собой физические кластеры с Al, AlB2 и AlB12 в алюминиевой матрице [1–16].
Существуют различные мнения относительно твердого раствора и стабильности смешанных боридов. В отдельных работах [1–16] указывается, что V-бориды (VB, VB2) являются чистыми боридами, которые обладают ограниченной растворимостью в других элементах, таких как Al и Al-бориды.
Также ранее в литературном обзоре уже отмечалось, что авторами работ [1–17] был проведен точечный анализ черной фазы внутри V-боридов также с использованием EDX для определения ее химического состава. Анализ EDX выявил, что черная фаза представляет собой частицы Al-B (AlB12), как показано на рисунках выше. Черная фаза показала частично растворенные частицы AlB12 внутри оболочки из V-борида в алюминиевой матрице. Частицы AlB12 были добавлены в расплавленный алюминий в качестве источника бора для образования боридов ванадия.
На основании теоретических исследований можно заключить, что основной стабильной фазой в расплаве алюминия с ванадием при добавлении бора будет являться VB2.
Таким образом, при рафинировании расплава алюминия-сырца борной кислотой, для производственных условий АО «КЭЗ» с температурой в пределах 650–950℃ и давлении в пределах 102.39 кПа борная кислота (H3BO3) претерпевает превращение в оксид бора (B2O3), который в свою очередь взаимодействует с расплавом алюминия и далее с соединениями ванадия по следующим формулам:
B2O3 + 3Al → AlB2 + Al2O3 (5)
AlB2 + Al3V = VB2 + 4Al (6)
AlB2 + V = VB2 + Al (7)
В работе был проведен термодинамический анализ процесса обработки первичного алюминия борной кислотой по методике, изложенной в работе [18]. Для расчетов использовалось программное обеспечение HSC Chemistry 9.0 компании Outokumpu Technology [19].
РЕЗУЛЬТАТЫ МОДЕЛИРОВАНИЯ И ОБСУЖДЕНИЕ
Расчет термодинамических параметров проводился для соединений AlB2 и VB2. В табл. 1 и рис. 5 приведены расчетные значения Cp,T , ΔGT, ΔHT, ΔST.
Таблица 1. Расчетные значения Cp,T, ΔGT, ΔHT, ΔST для соединений AlB2 и VB2
| Соединение | Параметр | Диапазон расчетных температур, °C (при давлении 102.39 кПа) | ||||||
| 650°C | 700°C | 750°C | 800°C | 850°C | 900°C | 950°C | ||
| AlB2 | Ср,T | 75.764 | 77.363 | 78.938 | 80.494 | 82.033 | 83.560 | 85.075 | 
| ΔHT | 23.587 | 27.416 | 31.323 | 35.309 | 39.372 | 43.512 | 47.728 | |
| ST | 103.132 | 107.171 | 111.086 | 114.889 | 118.590 | 122.196 | 125.715 | |
| ΔGT | –71.619 | –76.877 | –82.334 | –87.984 | –93.821 | –99.841 | –106.039 | |
| VB2 | Ср.T | 79.019 | 80.232 | 81.361 | 82.409 | 83.381 | 84.277 | 85.524 | 
| ΔHT | –161.700 | –157.719 | –153.678 | –149.584 | –145.439 | –141.247 | –137.004 | |
| ST | 102.968 | 107.168 | 111.216 | 115.123 | 118.898 | 122.549 | 126.090 | |
| ΔGT | –256.755 | –262.009 | –267.469 | –273.128 | –278.979 | –285.016 | –291.232 | |
Рис. 5. Зависимость изменения энергии Гиббса и энтальпии от температуры для VВ2 и AlB2.
При температурах 650–950°С и атмосферном давлении изменение энергии Гиббса для соединений VВ2 составляет –256.755 и –291.232 кДж/моль, и AlB2 составляет –71.619 и –106.039 кДж/моль соответственно. Изменение энтальпии является величиной отрицательной для реакций диборида ванадия соответственно образование данного соединения носит экзотермический характер, образование диборида алюминия напротив носит эндотермический характер по причине положительной энтальпии.
Также в работе был проведен расчет термодинамических параметров химической реакции AlB2 + V = VB2 + Al. В табл. 2 и рис. 6 приведены расчетные значения ΔGT, ΔHT, ΔST, logKp.
Таблица 2. Расчетные значения ΔGT, ΔHT, ΔST, logKp для реакции AlB2 + V = VB2 + Al
| Реакция | Параметр | Диапазон расчетных температур, °C (при давлении 102.39 кПа) | ||||||
| 650°C | 700°C | 750°C | 800°C | 850°C | 900°C | 950°C | ||
| AlB2 + V = = VB2 + Al | ΔHT | –163.214 | –173.692 | –173.476 | –173.302 | –173.176 | –173.102 | –173.076 | 
| ST | 22.900 | 11.668 | 11.885 | 12.051 | 12.166 | 12.232 | 12.253 | |
| ΔGT | –184.354 | –185.047 | –185.637 | –186.235 | –186.841 | –187.451 | –188.063 | |
| logKp | 10.432 | 9.933 | 9.478 | 9.066 | 8.690 | 8.347 | 8.032 | |
Рис. 6. Зависимость изменения энергии Гиббса и энтальпии от температуры для реакции AlB2 + V = VB2 + Al.
Анализ термодинамических параметров подтверждает, что при атмосферном давлении и температурах от 650 до 950°C реакция AlB2 + V = VB2 + Al протекает с образованием диборида ванадия (VB2) изменение энергии Гиббса составляет –184.354 и –188.676 кДж/моль соответственно. Увеличение энергии Гиббса с ростом температуры свидетельствует о повышении устойчивого характера протекания химических реакций. Изменение энтальпии в целом является величиной отрицательной соответственно образование данных соединений носит экзотермический характер. Можно сделать вывод о термодинамически выгодном характере протекания химической реакции.
Далее в работе был проведен термодинамический анализ для условий погружения флюса в расплав на глубину 0.5; 1; 1.5; 2 м.
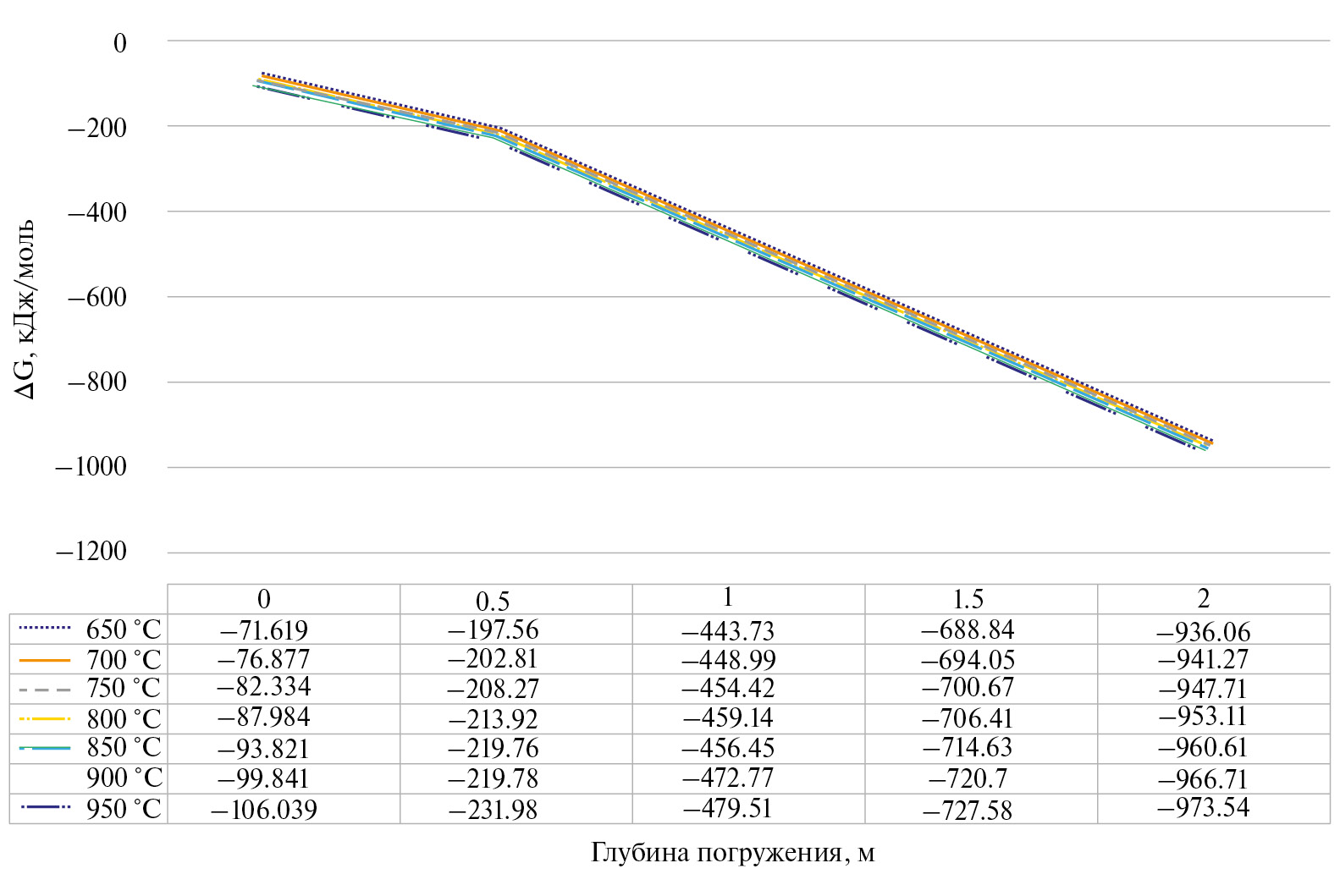
В табл. 3 и рис. 7 приведены расчетные значения энергии Гиббса для соединений VВ2 и AlB2.
Таблица 3. Значения энергии Гиббса для соединений AlB2 и VB2 на глубине 0.5; 1; 1,5; 2 м
| Соединение | Глубина погружения флюса в расплав, м | Диапазон расчетных температур, °C | ||||||
| 650°C | 700°C | 750°C | 800°C | 850°C | 900°C | 950°C | ||
| AlB2 | 0.5 | –197.56 | –202.81 | –208.27 | –213.92 | –219.76 | –225.78 | –231.98 | 
| 1.0 | –443.73 | –448.99 | –454.42 | –459.14 | –465.45 | –472.77 | –479.51 | |
| 1.5 | –688.84 | –694.05 | –700.67 | –706.41 | –714.63 | –720.70 | –727.58 | |
| 2.0 | –936.06 | –941.27 | –947.71 | –953.11 | –960.61 | –966.71 | –973.54 | |
| VB2 | 0.5 | –307.17 | –312.42 | –317.88 | –323.54 | –329.39 | –335.43 | –341.64 | 
| 1.0 | –689.91 | –694.82 | –700.28 | –706.13 | –713.28 | –719.41 | –726.74 | |
| 1.5 | –1070.94 | –1076.01 | –1083.34 | –1091.45 | –1100.63 | –1107.26 | –1118.38 | |
| 2.0 | –1455.38 | –1461.57 | –1468.48 | –1475.58 | –1485.12 | –1491.89 | –1511.17 | |
Рис. 7. Зависимость изменения энергии Гиббса от температуры и глубины погружения флюса на основе бора в расплав алюминия для соединений VВ2 и AlB2.
При температуре 650°C и давлениях 102.39 кПа (на поверхности расплава) и 148.99 кПа (при вводе флюса на глубину 2 м) изменение энергии Гиббса для образования соединения VB2 составляет –256.755 и –1455.3 кДж/моль соответственно. Для соединения AlB2 при таких условиях изменение энергии Гиббса равно –71.619 и –936.06 кДж/моль. для начальной температуры, и –291.232 и –1511.17 кДж/моль для температуры 950°C, соответственно для VB2. Для соединения AlB2 изменение энергии Гиббса составляет –106.039 и –973.54 кДж/моль.
Далее в работе были проведены аналогичные термодинамические расчеты по изменению изобарно-изотермического потенциала системы для химической реакции AlB2 + V = VB2 + Al.
В табл. 4 и рис. 8 приведены расчетные значения энергии Гиббса для реакции AlB2 + V = VB2 + Al.
Таблица 4. Значения энергии Гиббса для реакции AlB2+V=VB2+Al на глубине 0.5; 1; 1,5; 2 м
| Реакция | Глубина погружения флюса в расплав, м | Диапазон расчетных температур, °C | ||||||
| 650°C | 700°C | 750°C | 800°C | 850°C | 900°C | 950°C | ||
| AlB2 + V = = VB2 + Al | 0 | –184.35 | –185.05 | –185.64 | –186.24 | –186.84 | –187.45 | –188.06 | 
| 0.5 | –276.08 | –278.13 | –279.25 | –279.90 | –280.55 | –281.12 | –282.55 | |
| 1.0 | –511.98 | –515.85 | –520.12 | –526.85 | –533.35 | –540.22 | –545.23 | |
| 1.5 | –794.79 | –799.56 | –810.45 | –830.61 | –850.46 | –856.12 | –860.46 | |
| 2.0 | –1080.03 | –1100.24 | –1122.12 | –1135.16 | –1145.25 | –1148.22 | –1173.54 | |
При температуре 650°C (рис. 9 и 10) для давлений 102.39 кПа (на поверхности расплава) и 148.99 кПа (на глубине погружения флюса 2 м) изменение энергии Гиббса для химической реакции AlB2 + V = VB2 + Al составляет –184.35 и –1080.03 кДж/моль соответственно. Для температуры 950°C эти значения составляют –188.06 и –1173.54 кДж/моль.
Рис. 9. Зависимость изменения энергии Гиббса от температуры и глубины погружения флюса на основе бора в расплав алюминия для реакции AlB2 + V = VB2 + Al.
Рис. 10. Зависимость изменения энергии Гиббса от глубины погружения навески флюса на основе бора в расплав алюминия при температуре 650 0С и 950 0С (крайние точки диапазона рабочей температуры) для реакции AlB2 + V = VB2 + Al.
Это важное наблюдение показывает, что при увеличении давления при постоянной температуре значение разницы изменений изобарно-изотермического потенциала уменьшается, особенно заметно при повышенных температурах. С другой стороны, при уменьшении температуры при постоянном давлении значение разности изменений энергии Гиббса также снижается, и эта тенденция более заметна при увеличении давления в системе.
При температуре 650°C (рис. 9 и 10) для реакции AlB2 + V = VB2 + Al разность изменений энергии Гиббса при повышении давления в системе с 102.39 кПа до 114.04 кПа составляет –91.726 кДж/моль, с 114.04 кПа до 125.69 кПа –235.9 кДж/моль, с 125.69 кПа до 137.29 кПа –282.808 кДж/моль, а с 137.29 кПа до 148.99 кПа –285.246 кДж/моль. При температуре 950°C эти значения изменений энергии Гиббса составляют –94.487 кДж/моль, –262.68 кДж/моль, –315.232 кДж/моль и –313.078 кДж/моль соответственно.
Это наблюдение подчеркивает, что химические реакции взаимодействия первичного алюминия и примесей, в том числе ванадия с бором с образованием интерметаллидов, могут протекать в определенном направлении в рассмотренном диапазоне температур и давлений (рис. 11).
Рис. 11. Зависимость изменения энергии Гиббса реакции от глубины погружения навески.
ЗАКЛЮЧЕНИЕ
Термодинамический анализ в HSC Chemistry 9.0. систем Al-V, Al-B, V-B в диапазоне температур 650–950°С и давлений с 102.39 кПа до 148.99 кПа показал, что значения энергии Гиббса (ΔGТ) во всем диапазоне рабочих температур процесса электролиза и литья первичного алюминия для VB2 значительно ниже, чем AlB2, следовательно, они будут образовываться преимущественно в данном температурном диапазоне. Порядок стабильности также предполагает, что ванадий может быть легко удален из расплавов алюминия путем добавления бора.
Работа выполнена в рамках грантового финансирования Комитета науки Министерства науки и высшего образования РК в рамках конкурса «Жас Галым» по проекту ИРН АР19175493 «Разработка технологии рафинирования первичного алюминия фильтрами с активной поверхностью».
Об авторах
А. Б. Куандыков
Торайгыров Университет
							Автор, ответственный за переписку.
							Email: azeka200892@mail.ru
				                					                																			                												                	Казахстан, 							Павлодар						
П. О. Быков
Торайгыров Университет
														Email: azeka200892@mail.ru
				                					                																			                												                	Казахстан, 							Павлодар						
В. А. Чайкин
Смоленское областное отделение Российской ассоциации литейщиков
														Email: azeka200892@mail.ru
				                					                																			                												                	Россия, 							Сафоново						
М. М. Суюндиков
Торайгыров Университет
														Email: azeka200892@mail.ru
				                					                																			                												                	Казахстан, 							Павлодар						
А. К. Жунусов
Торайгыров Университет
														Email: azeka200892@mail.ru
				                					                																			                												                	Казахстан, 							Павлодар						
В. А. Салина
Институт металлургии УрО РАН; Уральский государственный горный университет
														Email: azeka200892@mail.ru
				                					                																			                												                	Россия, 							Екатеринбург; Екатеринбург						
Н. К. Кулумбаев
Торайгыров Университет
														Email: azeka200892@mail.ru
				                					                																			                												                	Казахстан, 							Павлодар						
Список литературы
- В.И. Шпаков, В.С. Разумкин, В.Г. Кокоулин, Е.В. Низовцев, В.Г. Иванов, Л.П. Трифоненков, В.М. Никитин. Способ очистки алюминия и его сплавов от примесей тяжелых металлов. Пат. RU 2084548 C1 РФ. № 94 94038553; заявл. 12.10.1994; опубл. 20.07.1997.
- Горланов Е.С., Батраченко А.А., Смаилов Б.С.-А., Морозов А.Ю. Роль ванадия в расплавах алюминиевых электролизеров // Металлург. 2019. 62. С. 1048–1052.
- Горланов Е.С., Батраченко А.А., Смаилов Б.С.-А., Скворцов А.П. Испытания обожженных анодов с повышенным содержанием ванадия // Металлург. 2018. 62. С. 62–69.
- Горланов Е.С. Легирование катодов алюминиевых электролизеров методом низкотемпературного синтеза диборида титана. Дисс. на соис. уч. ст. д-р техн. наук. Санкт-Петербург: СПбГУ, 2020.
- Ибрагимов А.Т., Пак Р.В. Электрометаллургия алюминия. Казахстанский электролизный завод. Павлодар: Дом печати, 2009.
- Троицкий И.А., Железнов В.А. Металлургия алюминия. М.: Металлургия, 1984.
- Банчила С.Н., Филиппов Л.П. Изучение электропроводности металлов // Теплофизика высоких температур. 1973. 11. С. 668–671.
- Фомин Н.Е., Ивлев В.И., Юдин В.А. Влияние примесей на электросопротивление меди и алюминия // Вестник Мордовского университета. 2014. 24. С. 50–57.
- Мирзоев Ф.М. Теплофизические свойства алюминия различной степени чистоты и сплавов системы A–Si. Дисс. на соис. уч. ст. канд. физ.-мат. наук. Душанбе: Тадж. техн. ун-т им. академика М.С. Осими, 2019.
- Лякишев Н.П. Диаграммы состояния двойных металлических систем: справочник. Т. 1 / М.: Машиностроение, 1996.
- ТУ на кокс ТОО «УПНК-ПВ» СТ-ТОО 131240008552-009-2015.
- ТИ – КЭЗ–017–2009 «Производство мелкой чушки». Павлодар: АО «КЭЗ», 2009.
- Khaliq A., Rhamdhani M.A., Brooks G.A., John F., Grandfield J.F. Removal of vanadium from molten aluminum. P. I. Analysis of VB2 formation // Metallurgical and Materials Transactions B. 2014. 45. P. 752–768.
- Khaliq A., Brooks G., John F., Rhamdhani M.A. Removal of vanadium from molten aluminum. P. II. Kinetic analysis and mechanism of VB2 formation // Metallurgical and Materials Transactions B. 2013. 45. Р. 769–783.
- Khaliq A., Rhamdhani M. A., Brooks G. A., Grandfield J. F. Removal of vanadium from molten aluminum. P. III. Analysis of industrial boron treatment practice // Metallurgical and Materials Transactions B. 2014. 45. P. 784–794.
- Червякова К. Ю. Исследование и разработка технологии получения слитков и листов боралюминия повышенной прочности : автореф. дисс. на соис. уч. ст. канд. техн. наук. М.: МИСиС, 2019.
- Лякишев Н.П., Плинер Ю.Л., Лаппо С.И. Борсодержащие стали и сплавы. М.: Металлургия, 1986.
- Слетова Н.В., Чайкин В.А. Технология рафинирования и модифицирования алюминиевых сплавов с применением экологически чистых препаратов, обеспечивающих стабильные показатели качества отливок: монография. М.: МГОУ, 2013.
- Roine A. Outokumpu HSC Chemistry for Windows. Chemical reactions and Equilibrium software with extensive thermochemical database. Pori: Outokumpu research OY, 2002.
Дополнительные файлы
 
				
			 
						 
						 
					 
				
 
  
  
  
  Отправить статью по E-mail
			Отправить статью по E-mail  Опубликовать комментарии
			Опубликовать комментарии 
 
		











