Effect of organic corrosion inhibitors on the kinetics of the cathodic hydrogen evolution reaction on steel in a sulfuric acid solution
- Authors: Avdeev Y.G.1, Nenasheva T.A.1, Luchkin A.Y.1, Marshakov A.I.1, Kuznetsov Y.I.1
-
Affiliations:
- A.N. Frumkin Institute of Physical Chemistry and Electrochemistry, Russian Academy of Sciences
- Issue: Vol 43, No 1 (2024)
- Pages: 24-38
- Section: Kinetics and mechanism of chemical reactions, catalysis
- URL: https://journals.rcsi.science/0207-401X/article/view/258541
- DOI: https://doi.org/10.31857/S0207401X24010033
- EDN: https://elibrary.ru/mkbsiw
- ID: 258541
Cite item
Full Text
Abstract
The kinetics of hydrogen cathodic reduction on low-carbon steel in a sulfuric acid solution containing a mixture of quaternary ammonium salts (catamine AB) and 3-substituted 1,2,4-triazole (IFKhAN-92 inhibitor) has been studied. The main rate constants of the stages of evolution of gaseous hydrogen and the permetion of hydrogen atoms into the metal are determined. It is shown that these substances reduce the reaction rate of the discharge of H+ ions, change the ratio between the concentrations of H atoms on the surface and in the phase of the metal, and, as a result, reduce the amount of hydrogen absorbed by steel. The most effective inhibitor of corrosion and hydrogenation of steel is IFKhAN-92, due to the formation of a polymolecular protective layer of the inhibitor on the metal surface. The data of X-ray photoelectron spectroscopy of the steel surface show that the protective layer has a thickness of no more than 4 nm and consists of IFKhAN-92 molecules associated with the steel surface by chemical interaction, and inside the layer by physical interaction.
Full Text
Введение
Растворы серной кислоты широко применяются на современных предприятиях для проведения различных технологических операций. На металлургических предприятиях растворами H2SO4 удаляют термическую окалину со стальных изделий, также эффективным способом очистки внутренних и внешних поверхностей стальных изделий от ржавчины и минеральных отложений является сернокислотная отмывка [1–5]. В качестве ингибиторов коррозии (ИК) сталей в этой среде широко исследуются азотсодержащие органические соединения различной природы [6–20]. Среди них с практической точки зрения важны четвертичные аммониевые соли (ЧАС) [21–30], часто используемые в качестве компонентов промышленных смесевых ИК. Новым и перспективным классом ингибиторов кислотной коррозии сталей, обладающих уникальными защитными свойствами, являются производные триазолов [31–35]. Эти соединения обладают уникальными свойствами, позволяя защищать различные стали в растворах минеральных кислот при температурах до 200 °С [34, 35].
Контакт стальных изделий с агрессивными водными средами часто сопровождается не только коррозионными потерями металла вследствие его химической реакции с компонентами среды, но и aбсорбцией водорода массивом металла, что может существенно снижать его механические характеристики, делая металл хрупким [36–40]. Чаще всего абсорбция водорода сталями происходит в растворах кислот, в которых продуктом коррозии, выделяющимся на поверхности металла, является газообразный водород. Молекулярный водород образуется через стадию адсорбции атомарного водорода, который частично проникает в объем металла. Теоретические аспекты адсорбции атомарного водорода на металлических материалах различной природы обсуждаются в работах [41–44].
Ингибиторы коррозии, используемые для защиты сталей в кислых средах, должны подавлять не только общую коррозию металла, но и проникновение водорода в сталь. К сожалению, во многих исследованиях органических ИК, как правило, остается без внимания аспект их влияния на абсорбцию водорода сталью, хотя ее механические свойства являются важной характеристикой, обеспечивающей надежность эксплуатации примышленного изделия. В редких исследованиях [45–47] для азотсодержащих органических ИК отмечается снижение ими в кислых средах проникновения водорода в сталь.
В связи с этим представляется важным выявить закономерности влияния азотсодержащих органических ИК на кинетику катодного выделения и внедрения в сталь водорода. Следует показать, как изменение кинетических параметров катодной реакции ИК скажется на ходе коррозии стали в целом, включая оценку ее скорости и влияния на абсорбцию сталью водорода, а также сохранение металлом механических свойств. Детальное обсуждение влияния ИК на кинетику катодной реакции стали требует выявления и обсуждения особенностей механизма их действия. Для настоящего исследования выбраны смесь алкилбензилдиметиламмоний хлоридов (катамин АБ) и ингибитор ИФХАН-92, принадлежащий к перспективной группе соединений класса триазолов [31–35].
2. ЭКСПЕРИМЕНТАЛЬНАЯ ЧАСТЬ
2.1. Материалы
В качестве рабочих электродов использовали образцы из низкоуглеродистой стали (состав, мас. %: 0.05 С, 0.03 Si, 0.38 Mn, 0.09 Ni, 0.04 S, 0.035 P, 0.05 Cr, 0.15 Cu и 0.16 Al) и из пружинной стали (состав, мас. %: 0.7 С, 1.52 Si, 0.52 Mn и 0.3 Cr). В качестве фонового электролита использовали водный 2 М раствор H2SO4, который готовили из концентрированной кислоты марки “х.ч.” и дистиллята. В электрохимических исследованиях использовали деаэрированные аргоном растворы. Коррозионные испытания проводили при свободном доступе воздуха. В качестве ЧАС использовали промышленно выпускаемый продукт — катамин АБ, являющийся смесью алкилбензилдиметиламмоний хлоридов ([CnH2n+1N+(CH3)2CH2C6H5]Cl–, где n = 10–18), и ингибитор ИФХАН-92 (производное 3-замещенного 1,2,4-триазола). Из-за низкой растворимости ИФХАН-92 в раствор кислоты его вводили в виде концентрированного этанольного раствора, при этом концентрация этанола в травильном растворе составляла 0.24 моль/л.
2.2. Методы
2.2.1. Метод электрохимической десорбции водорода (метод биполярного электрода (мембраны))
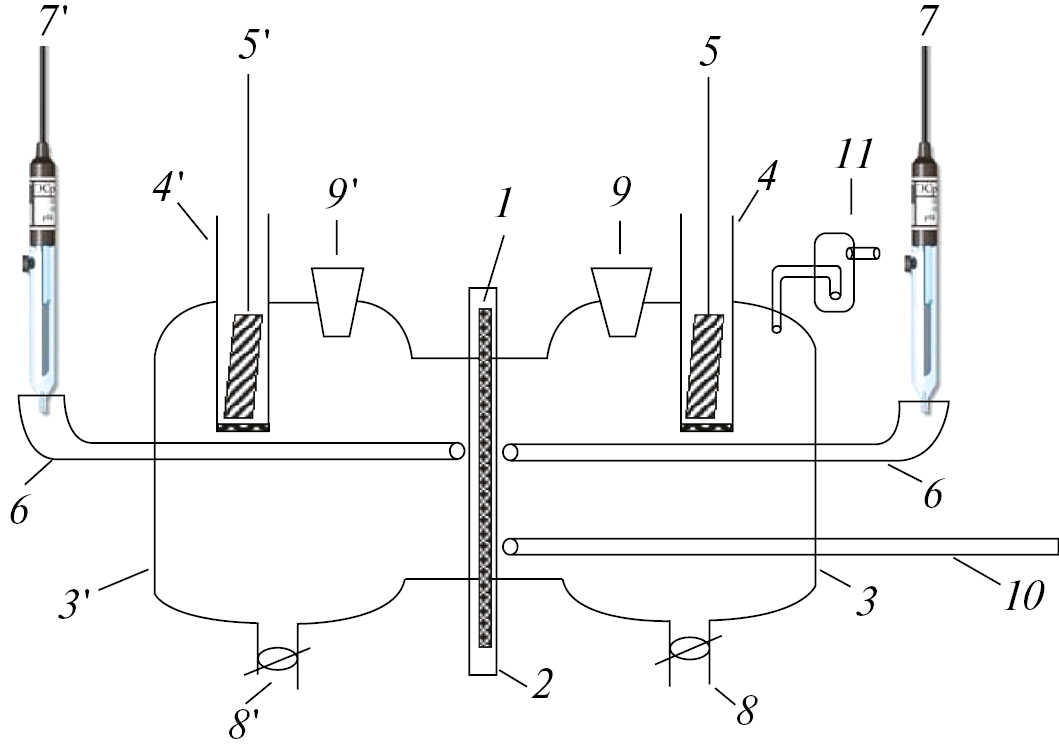
Скорости внедрения водорода в металл определяли в ячейке Деванатана–Стахурского (рис. 1) [48, 49]. Использовали мембраны из низкоуглеродистой стали толщиной 0.1 мм и рабочей площадью 4.25 см2. Обе стороны мембраны шлифовали карбидом кремния (SiC) до зернистости #600, затем подвергали химическому травлению в 16%-ной HCl в течение 1 мин и тщательно промывали дистиллированной водой. Далее на диффузионной стороне мембраны электрохимически осаждали слой палладия в течение 100 с при постоянной плотности тока 25 мА ⋅ см–2. Раствор для палладирования содержал 25 г ⋅ л–1 PdCl2 и 20 г ⋅ л–1 NH4Cl; рH раствора доводили до 8.5, добавляя необходимое количество NH4OH. Перед испытаниями мембраны, покрытые Pd, дегазировали при комнатной температуре в течение не менее двух сут.
Рис. 1. Электрохимическая ячейка Деванатхана–Стахурского: 1 — рабочий электрод (мембрана); 2 — тефлоновый держатель; 3 — рабочая часть ячейки; 3 ′– диффузионная часть ячейки; 4, 4 ′ — ячейка вспомогательного электрода; 5, 5 ′– электрод вспомогательный; 6, 6 ′ — электролитический ключ; 7, 7 ′ — электрод сравнения; 8, 8 ′ — кран для слива раствора; 9, 9 ′ — ввод раствора в ячейку; 10 — ввод аргона в ячейку; 11 — гидрозатвор.
Диффузионная часть ячейки была заполнена 0.1 М раствором NaOH, а мембрана поляризовалась при потенциале 0.45 В. Поток водорода на выходной поверхности измеряли с учетом фонового тока, который не превышал 0.5 мкА ⋅ см–2.
Задавая постоянный потенциал (Е) на рабочей стороне мембраны, измеряли катодный ток (iс). Для заполнения водородных ловушек, существующих как в объеме металла, так и на ее поверхности, перед началом измерений на рабочей стороне мембраны задавали потенциал –0.4 В и выдерживали до установления стационарного значения тока проникновения водорода (ip) в течение 60 мин. Затем потенциал рабочей стороны мембраны смещали от Е = –0.4 B в положительную сторону. Катодные кривые и зависимость ip от E получали с шагом приращения 20 мВ и временем экспозиции 30 мин.
Для электрохимических измерений использовали потенциостат IPC Pro MF производства ООО “Кронас” (Москва, Россия).
2.2.2. Спектроскопия электрохимического импеданса (СЭИ)
Исследования адсорбции ИФХАН-92 проводили методом СЭИ с использованием потенциостата IPC Pro MF, совмещенного с анализатором частотного отклика FRA, на вращающемся (1000 об/мин) дисковом электроде из низкоуглеродистой стали рабочей площадью 0.64 см2. Перед опытом электрод зачищали на абразивных кругах разной зернистости, полировали алмазной пастой АСМ 0.5/0 и обезжиривали ацетоном. Для предотвращения растворения стального электрода он всегда находился при катодной поляризации (E = –0.30 В). Измерения проводили в трехэлектродной ячейке. В качестве электрода сравнения использовали хлоридсеребряный, в качестве вспомогательного — платиновый. Электрохимический импеданс стального электрода измеряли в диапазоне частот 10 мГц — 3 кГц с амплитудой переменного напряжения 0.020 В. Обработку результатов измерений импеданса проводили по программе Dummy Circuits Solver, Version 1.7. Стальной электрод помещали в раствор кислоты и выдерживали его до установления стационарного спектра импеданса (не более 2 ч), после чего вводили в раствор необходимую концентрацию ИК, Cinh, и выдерживали электрод до получения стационарного спектра (не более 3 ч). Опыты проводили в деаэрированных аргоном 2 M растворах H2SO4 при t = (22 ± 1) °C.
Степень заполнения поверхности ИК (θinh) определяли по формуле
(1)
где Cdl0 , Сdl′ и Сdl′′ — емкость стального электрода в оновом растворе, в ингибированном растворе и в условиях предельной адсорбции ИК на металле соответственно.
Удельную емкость стального электрода рассчитывали по формуле
(2)
где Сdl — емкость стального электрода, S — его площадь.
2.2.3. Определение степени заполнения поверхности стали ингибитором по данным стационарных значений катодного тока
Для технического облегчения определения степени заполнения поверхности низкоуглеродистой стали исследуемыми ИК расчет этих величин проводили также по спаду катодного тока (при E = - 0.30 B) в присутствии ИК:
(3)
где iс,o и iс,inh — плотность катодного тока в фоновом растворе и с изучаемой добавкой соответственно.
В расчетах использовали значения катодных токов на низкоуглеродистой стали, полученных в исследованиях, описанных в п. 2.2.1. При этом делалось допущение о преимущественно блокировочном механизме действия изучаемых добавок. Результаты, полученные таким способом для адсорбции ИФХАН-92 на стали, хорошо коррелируют с данными, полученными методом СЭИ (см. ниже п. 2.2.7). Это позволило нам в дальнейших исследованиях использовать значения qinh для катамина АБ, полученные по отношению катодных токов в ингибированном растворе и в фоновом растворе.
2.2.4. Гравиметрический метод
Скорость коррозии пружинной стали определяли по массопотере образцов (не менее трех образцов на точку) толщиной 0.5 мм и рабочей площадью 17.6 см2 в 2 M растворе H2SO4:
ρ = ∆m S−1 τ−1, (4)
где ∆m — изменение массы образца, τ — длительность коррозионных испытаний.
Перед началом опыта в течении 1 мин активировали поверхность смесью ацетона и концентрированной HCl (10 : 1), затем вытирали насухо хлопковой тканью.
Эффективность ИК оценивали по величине степени торможения
Z = [(ρ0 — ρinh)ρ0−1] · 100%, (5)
где ρ0 и ρinh — скорость коррозии в фоновом растворе и в растворе с изучаемой добавкой.
2.2.5. Определение количества абсорбированного металлом водорода методом вакуумной экстракции
Степень наводороживания пружинных сталей определяли методом вакуумной экстракции. После коррозионных испытаний образец помещали в сосуд, из которого откачивали воздух до остаточного давления 1.33 ⋅ 10-4 Па, и нагревали до температуры t = 500 °С. Количество водорода, выделяющееся при нагревании образца в вакууме, оценивали по изменению давления за 10 мин (Рtotal), измеряемому манометром Мак-Леода при постоянном объеме вакуумной части системы. Давление выделившегося водорода (PH2) рассчитывали по изменению общего давления (Рtotal) по формуле
(6)
где Pcorrect — поправка холостого опыта.
Мольную концентрацию атомов водорода в объеме стали (моль ⋅ см–3) рассчитывали по формуле
СHV = F PH2V –1, (7)
где F — эмпирическая константа, связанная с объемом аналитической части установки; V — объем стального образца.
Данные по наводороживанию металлов приводятся с поправкой на металлургический водород, которая для пружинной стали составляет 2.4 · 10–6 моль ⋅ см–3.
Степень защиты стали от наводороживания определяли по формуле
Z HV = [(СHV – СHV,inh)СHV –1] · 100%, (8)
где СHV и C VH,inh — мольная концентрация водорода в объеме стали после выдержки в фоновом и в ингибированном растворах.
2.2.6. Определение механических свойств стали (пластичность)
Пластичность пружинной стали (p) оценивали на приборе НГ-1-3М по числу перегибов до разрушения ленточных образцов в исходном состоянии (N0) и после их выдержки в 2 M растворе H2SO4 (N):
p = [N(N0)–1] · 100%. (9)
Для исследуемой пружинной стали среднее значение N0 = 87.
2.2.7. Вольтамперометрические исследования
Электрохимические измерения проводили на плоских образцах из пружинной стали в деаэрированных, перемешиваемых магнитной мешалкой 2 М растворах H2SO4 при t = 25 °С. Предварительно зачищенный и обезжиренный ацетоном электрод выдерживали в течение 30 мин в исследуемом растворе. Кривые анодной поляризации снимали при помощи потенциостата ЭЛ-02.061 со скоростью динамического сканирования потенциала 0.0005 В · с–1. Влияние ИК на скорость электродных реакций пружинной стали в растворе кислоты оценивали, используя коэффициент торможения:
γ = iа,0 (iа,inh)–1, (10)
где iа,0 и iа,inh — плотность анодного тока в фоновом растворе и в растворе, содержащем ИК.
2.2.8. Исследования поверхности стали методом РФЭ
Анализ количественного и качественного состава поверхностных слоев, формируемых ингибитором ИФХАН-92 на низкоуглеродистой стали, был проведен с помощью рентгенофотоэлектронной (РФЭ) спектроскопии. Для этого был использован оже-микроскоп НВ-100, производства компании Vacuum Generators (Great Britain), снабженный дополнительной камерой для регистрации РФЭ-спектров. Вакуум в аналитической камере был высокого уровня 10–9 Торр. В качестве источника возбуждения использовали Al-анод, мощность которого составляла 200 Вт. Энергия пропускания анализатора устанавливалась равной 50 эВ. Образцы для РФЭ-исследований представляли собой дисковые электроды (низкоуглеродистая сталь, диаметр — 10 мм). Предварительная обработка образцов была такой же, как для электрохимических исследований.
Энергию связи электронов (Есв), выбиваемых с внутренних оболочек атомов, калибровали по РФЭпику C(1s)-электронов, энергия связи которого принималась равной 285.0 эВ и который обусловлен осевшими слоями паров диффузионного масла. Спектрометр откалиброван по энергиям связи Есв Cu(2p3/2) — 932.7 и Au(4 f7/2) — 84.0 эВ, образцов меди и золота, очищенных от поверхностных загрязнений ионами аргона. Были измерены характеристические пики следующих элементов: C(1s), О(1s), Fe(2p), N(1s), S(2p). Для количественной оценки были использованы значения сечений фотоионизации соответствующих электронных оболочек, приведенные в работе [50]. Интегральные интенсивности пиков были получены после вычитания фоновой интенсивности по методу Ширли [51] и путем подгонки наблюдаемых пиков кривыми Гаусса с вкладом компоненты Лоренца. Для расчета толщин пленок использовались интегральные площади под пиками C(1s), О(1s), Fe(2p), N(1s), S(2p).
Важным элементом таких исследований является длительная (до 18 мин) ультразвуковая отмывка в дистиллированной воде поверхности металлических образцов от ИК. В течение такой процедуры с поверхности образцов, предварительно выдержанных в ингибированном растворе кислоты, удаляются молекулы ИК, удерживаемые на поверхности металла физическими силами. Молекулы ИК, связанные с поверхностью металла химическими силами, в ходе ультразвуковой очистки поверхности не удаляются.
Все электродные потенциалы даны относительно стандартного водородного электрода.
3. Результаты и обсуждение
3.1. Кинетика катодного выделения и внедрения водорода в металл
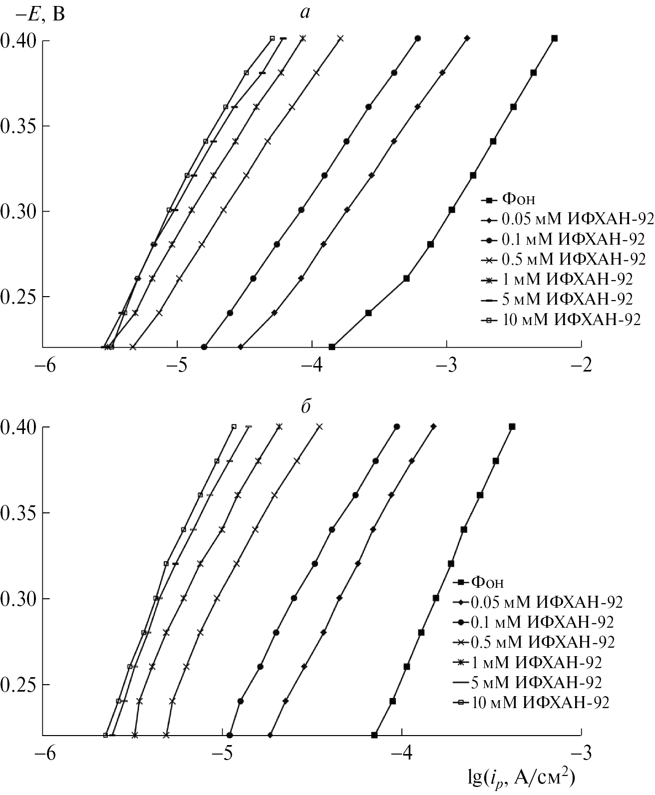
На рис. 2 и 3 представлены полученные поляризационные кривые и зависимости скорости внедрения водорода в сталь от потенциала в растворе серной кислоты и с добавками (0.01–10 мM) органических ИК (катамин АБ и ИФХАН-92). Из этих рисунков видно, что с увеличением концентрации ИК катодный ток и скорость внедрения водорода в металл существенно уменьшаются. При введении незначительного количества катамин АБ (Сinh = = 0.05 мМ) наблюдается резкое уменьшение скоростей катодного выделения водорода (ic) и проникновения водорода в металл (ip) по всей изученной области потенциалов (Е). При больших значениях Сinh эффект от введения ИК менее ощутим (рис. 2). С увеличением содержания в растворе кислоты ИФХАН-92 величины ic и ip уменьшаются более плавно (рис. 3).
Рис. 2. Катодные поляризационные кривые (а) и зависимости скорости внедрения водорода в железо от потенциала стальной мембраны (б) в 2 М H2SO4, содержащей катамин АБ.
Рис. 3. Катодные поляризационные кривые (а) и зависимости скорости внедрения водорода в железо от потенциала стальной мембраны (б) в 2 М H2SO4, содержащей ИФХАН-92.
3.2. Основы IPZ анализа
Катодное выделение водорода на железе в кислотах протекает по механизму разряд — химическая рекомбинация, сдвоенный контроль скорости или медленный разряд — необратимая химическая рекомбинация [52–55]. Константы скорости стадии разряда ионов Н+ и химической рекомбинации атомов водорода могут быть определены методом IPZ-анализа при сравнении катодной поляризационной кривой и зависимости тока внедрения водорода в металл от потенциала [52]. Этот анализ может быть применен и в тех случаях, когда часть поверхности электрода блокирована каким-либо адсорбированным веществом, например ИК [46]. При этом предполагается, что разряд ионов Н+ происходит на поверхности металла, не занятой адсорбированным атомарным водородом. Введение в раствор ИК не изменяет механизм этой реакции. Влияние его на скорость разряда ионов Н+ (ic) описывается выражением [56]
ic = iс,0 (1 – θinh)r1exp (–s1θinh), (11)
где r1 — число адсорбционных мест, которые занимает на поверхности ион водорода, s1 — параметр, который характеризует изменение макросвойств поверхностного слоя и учитывает возможность специфического взаимодействия между активированным комплексом и молекулами адсорбата.
Очевидно, что если учесть “блокирующее” действие как атомарного водорода, так и частиц ИК на скорость разряда ионов Н+, получается
ic = Fkс аH+[(1 – θinh)r1 – θH] exp (–αFE/RT), (12)
где kс = kс,0 exp (–s1θinh) — константа скорости разряда ионов водорода в растворе ИК при постоянной кислотности раствора, аH+ — активность ионов водорода, θH — степень заполнения водородом поверхности электрода, α — коэффициент переноса реакции разряда ионов водорода, F — константа Фарадея, R — газовая постоянная, T — абсолютная температура.
При необратимости протекания реакции химической рекомбинации атомов Н ее скорость определяется как
ir = Fkr(θΗ)2 , (13)
где kr — константа скорости химической рекомбинации атомов Н.
Скорость перехода водорода через поверхность металла (ip) и его стационарная диффузия в мембране описываются соотношениями
ip = F (kadsθΗ – kdesCHs ) (14)
и ip = F DCHs L–1, (15)
где kabs и kdes — константы абсорбции и десорбции водорода из фазы металла, CHs — концентрация диффузионно-подвижного водорода в фазе металла около катодно-поляризуемой поверхности мембраны, L — толщина мембраны, D — коэффициент диффузии водорода в металле.
Из уравнений (14) и (15) вытекает, что
(16)
где k — кинетико-диффузионная константа, которая показывает соотношение концентраций атомов водорода на поверхности и в фазе металла.
Используя уравнения (12), (13), (15), (16), для стационарных условий (ic = ip + ir) можно получить [52, 54, 57]
(17)
(18)
Объединяя уравнения (12), (13), (15), (16), получаем выражение для расчета степени заполнения поверхности стали водородом:
(19)
где
— формальная константа скорости реакции разряда ионов водорода при потенциале Еi.
Поверхностную концентрацию диффузионно-подвижного водорода в металле CHs , можно рассчитать из значений iр, используя уравнение (15), или из значений θH, используя уравнение (16).
3.3. Расчет констант скорости основных стадий катодного выделения и внедрения водорода в сталь, степени заполнения поверхности стали водородом и поверхностной концентрации диффузионно-подвижного водорода в металле
Во всех изученных растворах, как в фоновом, так и в содержащих ИК, можно применить IPZ-анализ экспериментальных данных (рис. 2 и 3), поскольку в соответствии с уравнением (18) зависимости ip от ir0.5 достаточно близки к линейным и проходят через начало координат. В качестве примера, приведены зависимости ip от ir0.5, полученные в фоновом растворе и в растворах, содержащих 0.05 мМ ИК (рис. 4). При сопоставлении величин dE/d log ic (рис. 2а и 3а) и dE/d log ip (рис. 2б и 3б) были рассчитаны коэффициенты переноса α, описанным в работе [52] методом с использованием которых построены зависимости f = ic exp(αFE/RT) от ip. Пример обработки экспериментальных данных представлен на рис. 5. Аналогичные зависимости были получены для всех изученных растворов и концентраций ИК.
Рис. 4. Зависимость тока проникновения водорода через мембрану от скорости его химической рекомбинации в 2 М H2SO4, содержащей катамин АБ и ИФХАН-92.
Рис. 5. Зависимость функции f = ic exp (αFE/RT) от тока проникновения водорода через мембрану в 2 М H2SO4, содержащей катамин АБ и ИФХАН-92.
Для расчета констант k1, kr и k по уравнениям (17) и (18) необходимо знать степень заполнения поверхности металла ингибитором (θinh). В растворах, содержащих ИФХАН-92, для определения θinh использовали метод спектроскопии электрохимического импеданса. Спектры импеданса стального электрода в фоновом и ингибированных ИФХАН-92 2 М растворах H2SO4, представленные в виде диаграмм Найквиста, являются идеальными полуокружностями и описываются простой эквивалентной схемой, которая включает емкость двойного электрического слоя (Cdl), сопротивление реакции (Rct) и сопротивление раствора (Rs), рис. 6.
Рис. 6. Эквивалентная электрическая схема и диаграммы Найквиста стального электрода (0.64 см2, E = –0.30 В) 2 М H2SO4, снятые после введения в раствор 0.05 мМ ИФХАН-92 с различным временем выдержки.
В растворе кислоты в присутствии ИФХАН-92 увеличение времени выдержки стального электрода приводит к увеличению радиуса годографа, что указывает на достаточно медленное протекание процесса адсорбции ИК во времени. Поэтому выдержку электрода в ингибированном растворе кислоты проводили до установления стационарного значения его емкости. Стационарные величины θinh, рассчитанные по уравнению (1), даны в табл. 1, а зависимость степени заполнения поверхности стали ИФХАН-92 от его концентрации в коррозионной среде (изотерма адсорбции) представлена на рис. 7.
Таблица 1. Значения кинетических констант, степени заполнения поверхности металла ингибитором коррозии (θinh) и атомами водорода (θН), поверхностной концентрации диффузионно-подвижного водорода (CHs ) при катодной поляризации (Е = –0.30 В) низкоуглеродистой стали в 2 М H2SO4, содержащей катамин АБ и ИФХАН-92
Добавка | qinh | k1,i , моль ⋅ см–2 ⋅ с–1 | k, см3 ⋅ моль–1 | kr , моль ⋅ см–2 ⋅ с–1 | θН ⋅ 100 | CHs , моль ⋅ см–3 |
Фон | 1.14 E–08 | 1.50 E+05 | 7.05 E–06 | 3,65 | 2.34 E–07 | |
Катамин АБ | ||||||
+ 0.05 мМ | 0.75 | 2.70 E–09 | 1.73 E+05 | 6.91 E–06 | 1.51 | 9.77 E–08 |
+ 0.1 мМ | 0.77 | 2.52 E–09 | 2.17 E+05 | 4.67 E–06 | 1.75 | 9.13 E–08 |
+ 0.5 мМ | 0.77 | 2.49 E-09 | 2.31 E+05 | 4.61 E–06 | 1.76 | 8.85 E–08 |
+ 1 мМ | 0.78 | 2.39 E–09 | 2.72 E+05 | 3.59 E–06 | 1.96 | 8.22 E–08 |
+ 5 мМ | 0.83 | 1.91 E–09 | 3.75 E+05 | 2.11 E–06 | 2.19 | 7.20 E–08 |
+ 10 мМ | 0.85 | 1.69 E–09 | 3.85 E+05 | 2.14 E–06 | 2.02 | 6.46 E–08 |
ИФХАН-92 | ||||||
+ 0.05 мМ | 0.77 | 1.91 E–09 | 2.67 E+05 | 4.52 E–06 | 1.57 | 6.54 E–08 |
+ 0.1 мМ | 0.90 | 8.67 E–10 | 3.75 E+05 | 2.47 E–06 | 1.28 | 3.87 E–08 |
+ 0.5 мМ | 0.99 | 2.28 E–10 | 2.24 E+06 | 1.22 E–07 | 2.58 | 1.40 E–08 |
+ 1 мМ | 0.99 | 1.34 E–10 | 2.73 E+06 | 1.10 E–07 | 1.87 | 8.96 E–09 |
+ 5 мМ | 0.99 | 9.94 E–11 | 3.69 E+06 | 9.46 E–08 | 1.61 | 6.39 E–09 |
+ 10 мМ | 0.99 | 9.10 E–11 | 4.67 E+06 | 6.34 E–08 | 1.64 | 5.94 E–09 |
Рис. 7. Изотерма адсорбции катамина АБ (↑) и ИФХАН-92 (•) на низкоуглеродистой стали (E = –0.30 B) из 2 М H2SO4.
Изотерма адсорбции ИФХАН-92 была получена для тех же растворов путем сопоставления стационарных катодных токов при Е = –0.30 В. Рассчитанные по уравнениям (1) и (3) величины qinh для ИФХАН-92 удовлетворительно совпали между собой. Поэтому величины θinh для катамина АБ рассчитывались только по уравнению (3) и приведены в табл. 1, а изотерма адсорбции катамина АБ показана на рис. 7.
Используя величины α и θinh (табл. 1) и принимая r1 = 0.3 [58], из наклона прямых зависимости f от ip (как на рис. 5) и отрезка, отсекаемого на оси ординат (при ip = 0), в соответствии с уравнением (18) рассчитывали kc,i и k, значения которых приведены в табл. 1 для E = –0.30 В.
Используя полученные значения k и принимая, что стационарный коэффициент диффузии водорода в мембране D = 7.3 · 10−5 см2 · с–1 [59], из наклона зависимостей ip от ir0.5 (рис.4) в соответствии с уравнением (17) определяли величины kr (табл.1). Были получены кинетические константы основных стадий выделения и внедрения водорода в металл как в фоновом растворе, так и в растворах, содержащих различное количество ИК.
С использованием значений констант и уравнения (19), рассчитаны величины θН на катодно-поляризуемой поверхности стали при Е = –0.30 В в фоновом 2 М растворе H2SO4 и в присутствии ИК (табл. 1). Видно, что введение ИК уменьшает θН примерно в 2 раза. Вместе с тем увеличение Cinh не приводит к существенному снижению θН. Это связано с суперпозицией двух эффектов: уменьшение константы скорости разряда ионов Н+, что снижает степень заполнения поверхности металла водородом, и уменьшение константы рекомбинации атомов Н. Последний эффект должен увеличивать время “жизни” атомов Н на поверхности металла и, следовательно, значение θН.
Величины подповерхностной концентрации водорода в стали CHs , рассчитанные как по уравнению (15), так и по уравнению (16), практически совпадают между собой и различаются не болеечем на 10% (в табл. 1 приведены средние значения CHs ). Как следует из табл. 1, увеличение Cinh монотонно снижает CHs , поскольку уменьшается константа скорости разряда ионов Н+ и увеличивается константа k, т.е. снижается концентрация водорода в объеме металла при постоянной величине θН. Последний эффект объяснялся тем, что ИК блокирует центры абсорбции водорода и затрудняет переход атомов Н с поверхности в фазу металла.
При введении катамина АБ в раствор серной кислоты концентрация водорода в металле уменьшается в несколько раз. Более эффективным ингибитором абсорбции водорода является ИФХАН-92. Так, при введении в раствор H2SO4 5 мМ ИФХАН-92 значение CHs уменьшается больше чем в 30 раз (табл. 1). Значительное снижение концентрации диффузионно-подвижного водорода в металле должно положительно сказаться на механических свойствах металла, в частности на устойчивости к коррозионному растрескиванию под напряжением.
3.4. Влияние ингибиторов на коррозионные и механические свойства стали
Снижение исследуемыми ИК скорости внедрения водорода в металл наиболее заметно для склонных к наводороживанию пружинных сталей. Действительно, изучение коррозии пружинной стали в 2 М растворе H2SO4 показало, что эти ИК уменьшают коррозионную потерю массы металла (ρ) и концентрацию водорода в объеме металла, СHV (табл. 2). Надо подчеркнуть, что в присутствии катамина АБ в крайне агрессивном по отношению к стали 2 М растворе H2SO4 пластические свойства металла (p) утрачиваются полностью, а в присутствии ИФХАН-92 частично — сохраняются (табл. 2). Следовательно, ИФХАН-92 наиболее эффективен как ИК и ингибитор абсорбции водорода. Полученные результаты согласуются с данными п. 3.3, т.е. оба ингибитора уменьшают как диффузионно-подвижную концентрацию водорода CHs , так и общее содержание водорода СHV в металле, а ИФХАН-92 как более эффективный ингибитор позволяет частично сохранить пластичность пружинной стали.
Таблица 2. Влияние добавки 5 мМ ИК на коррозию, наводороживание и пластичность пружинной стали в 2М H2SO4 при 25 °C
Добавка | ρ, г ⋅ м–2 ⋅ ч–1 | Zкор, % | СHV., моль ⋅ см–3 | ZHV, % | p, % |
— | 35.3 | — | 1.92 E–05 | — | —* |
5 мМ катамина АБ | 9.2 | 73.9 | 9.26 E–06 | 51.8 | — |
5 мМ ИФХАН-٩٢ | 0.71 | 98.0 | 4.20 E–07 | 97.8 | 32 |
* Полная потеря пластичности. |
3.5. Влияние ИК на скорость электродных реакций стали
Как видно из (рис. 8), присутствие ИК в 2М растворе H2SO4 тормозит скорости как катодной, так и анодной реакции на пружинной стали. Добавки катамина АБ и ИФХАН-92 снижают скорость анодной ионизации стали, например при E = –0.10 B в 42 и 130 раз соответственно. Скорость катодной реакции при E = –0.30 B уменьшается в присутствии этих ИК в 3.1 и 5.9 раз. Видно, что при прочих равных условиях влияние ИФХАН-92 на электродные реакции пружинной стали существеннее, чем для катамина АБ. Как следствие, массопотеря образцов стали в растворах H2SO4, содержащих ИФХАН-92 минимальна, что отмечается в п. 3.4.
Рис. 8. Анодные и катодные поляризационные кривые на пружинной стали при t = 25 °С в 2 М H2SO4 без и в присутствии 5 мM катамина АБ и ИФХАН-92.
3.6. Природа адсорбционного взаимодействия ингибитора ИФХАН-92 с поверхностью стали
Для понимания причин эффективного торможения электродных реакций на поверхности стали ИФХАН-92 необходимо определить природу адсорбционного взаимодействия его с поверхностью металла. Адсорбция ИФХАН-92 на поверхности низкоуглеродистой стали при средних степенях заполнения поверхности металла ИК подчиняется изотерме Темкина:
θinh = fn–1 ln (B Cinh), (20)
где fn — фактор неоднородности поверхности, B — константа адсорбционного равновесия. Рассчитанное значение параметра fn составляет 7.56, а В равно 8.74 · 106 л · моль–1. Свободная энергия адсорбции (–∆Gads) была рассчитана с помощью соотношения
–∆Gads = RT ln 55.5 B (21)
и составляет 49 кДж · моль–1.
Полученная величина –∆Gads для ИФХАН-92 на стали позволяет предположить хемосорбционный характер взаимодействия поверхности стали и молекул ИФХАН-92, поскольку она больше 40 кДж/моль. Именно такой способ взаимодействия ИК с поверхностью сталей позволяет получать наиболее высокий защитный эффект, что и наблюдалось нами.
3.7. Состав и структура защитных слоев, формируемых ингибитором ИФХАН-92 на поверхности стали
Ценную информацию о составе и структуре защитных слоев, формирующихся на поверхности низкоуглеродистой стали в растворах H2SO4, содержащих ИФХАН-92, предоставляют данные РФЭ-спектроскопии. Исходя из положения сложных пиков Fe(2p3/2) РФЭ-спектров железа и их сателлитных пиков, наблюдаемых при больших энергиях связи (рис. 9), можно предположить, что на поверхности стали находится слой, состоящий из Fe3O4 (Eсв = 710.8 эВ). На наличие кислорода разных типов указывает спектр O(1s), который можно разложить на три пика (рис. 10), обусловленных адсорбированными молекулами воды (Есв = 533.5 эВ), гидроксильными группами (531.8 эВ) и кислородом, входящим в решетку оксида железа (530.3 эВ).
Рис. 9. Стандартный РФЭ-спектр электронов Fe(2p3/2) (спин орбитальное расщепление — дуплет) поверхности низкоуглеродистой стали после предварительной адсорбции ИК (2 M H2SO4 + 5 мМ ИФХАН-92, 25 °С, 24 ч).
Рис. 10. РФЭ-спектры электронов O(1s) поверхности низкоуглеродистой стали после предварительной адсорбции ИК (2 M H2SO4 + 5 мМ ИФХАН-92, 25 °С, 24 ч).
Несмотря на ультразвуковую отмывку образцов в дистиллированной воде, удаляющую с поверхности металла физически связанные слои ингибитора, сложный РФЭ-спектр N(1s)-электронов (рис. 11) указывает на наличие на поверхности стали, выдержанной в течение 24 ч в 2 M растворе H2SO4 + 5 мМ ИФХАН-92, пленки ИК. Наблюдаемый спектр N(1s) можно разложить на два пика (401.4 и 399.5 эВ) с соотношением ~ 1 : 3, причем второй пик следует отнести к атомам азота триазольной группы.
Рис. 11. РФЭ-спектры электронов N(1s) поверхности низкоуглеродистой стали, после предварительной адсорбции ИК (2 M H2SO4 + 5 мМ ИФХАН-92, 25 °С, 24 ч) с последующей отмывкой в ультразвуковой ванне.
Исходя из количественных соотношений РФЭ-спектров атомов поверхности стали, выдержанных в ингибированном растворе H2SO4 без очистки и с последующей ультразвуковой очисткой, можно сделать вывод, что на стали формируется полимолекулярный слой из ИК толщиной более 4 нм. После ультразвуковой отмывки образцов на поверхности стали остается только монослой ИК толщиной не более 2 нм. Такой слой прочно удерживается на металле вследствие хемосорбционного взаимодействия поверхностных атомов железа и атомов азота триазольного цикла, входящих в состав ингибитора. Слои ИК, лежащие выше хемосорбированного слоя, слабо связаны с ним и между собой физическим взаимодействием и удаляются при такой отмывке. Хемосорбированный слой не удаляется с поверхности металла при ультразвуковой отмывке и в ходе РФЭ-исследований в условиях глубокого вакуума. В РФЭ-спектре поверхности стали нет пика S(2p)-электронов, что указывает на отсутствие в составе пленки сульфат-анионов. Поверхность металла под таким слоем окислена до оксида железа, что происходит на стали в ходе отмывки образцов на воздухе.
4. Выводы
- Определены кинетические константы основных стадий выделения и внедрения водорода в металл в растворе H2SO4, содержащем катамин АБ и ИФХАН-92, и показано, что ИК уменьшают скорость реакции разряда ионов Н+, изменяют соотношение между концентрациями атомов Н на поверхности и в фазе металла и в результате снижают количество абсорбированного сталью водорода. Наиболее эффективным ингибитором наводороживания стали является ИФХАН-92.
- В результате снижения ингибитором ИФХАН-92 скорости проникновения водорода в металл пластические свойства стали при ее коррозии в растворах H2SO4 частично сохраняются, в отличие от фоновой среды, где металл полностью утрачивает пластичность.
- Ингибитор ИФХАН-92 существенно снижает скорость анодного растворения стали в растворе H2SO4. Этот эффект в сочетании с торможением скорости катодного выделения водорода определяет эффективность ИФХАН-92 как ингибитора кислотной коррозии сталей.
- Эффективность ИФХАН-92 как ингибитора коррозии и наводороживания стали определяется особенностями механизма защитного действия ИК. При защите сталей в растворах H2SO4 это соединение формирует на металле полимолекулярный защитный слой из молекул триазола толщиной до 4 нм. Монослой триазола, непосредственно примыкающий к металлу, связан с ним химически, а вышележащие слои связаны с ним и между собой физическим взаимодействием.
Авторы выражают особую благодарность Л.П. Казанскому за помощь в организации РФЭС-исследований и обсуждении их результатов.
About the authors
Ya. G. Avdeev
A.N. Frumkin Institute of Physical Chemistry and Electrochemistry, Russian Academy of Sciences
Author for correspondence.
Email: avdeevavdeev@mail.ru
Russian Federation, Moscow
T. A. Nenasheva
A.N. Frumkin Institute of Physical Chemistry and Electrochemistry, Russian Academy of Sciences
Email: avdeevavdeev@mail.ru
Russian Federation, Moscow
A. Y. Luchkin
A.N. Frumkin Institute of Physical Chemistry and Electrochemistry, Russian Academy of Sciences
Email: avdeevavdeev@mail.ru
Russian Federation, Moscow
A. I. Marshakov
A.N. Frumkin Institute of Physical Chemistry and Electrochemistry, Russian Academy of Sciences
Email: avdeevavdeev@mail.ru
Russian Federation, Moscow
Yu. I. Kuznetsov
A.N. Frumkin Institute of Physical Chemistry and Electrochemistry, Russian Academy of Sciences
Email: avdeevavdeev@mail.ru
Russian Federation, Moscow
References
- I.B. Obot, A. Meroufel, I.B. Onyeachu, et al., Mol. Liq., 296, 111760 (2019). https://doi.org/10.1016/j.molliq.2019.111760
- C. Verma, M.A. Quraishi and E.E. Ebenso, Int. J. Corros. Scale Inhib., 9, 1261 (2020). https://doi.org/10.17675/2305-6894-2020-9-4-5
- Ya.G. Avdeev, I.G. Gorichev and А.Yu. Luchkin, Int. J. Corros. Scale Inhib., 1, 26 (2012). https://doi.org/10.17675/2305-6894-2012-1-1-026-037
- G. Schmitt, Br. Corros. J., 19(4), 165 (1984). https://doi.org/10.1179/000705984798273100
- Ya.G. Avdeev and Yu.I. Kuznetsov, Int. J. Corros. Scale Inhib., 10, 1069 (2021). https://doi.org/10.17675/2305-6894-2021-10-3-15
- Ya.G. Avdeev, Int. J. Corros. Scale Inhib., 7, 460 (2018). https://doi.org/10.17675/2305-6894-2018-7-4-1
- K. Rasheeda, V.D.P. Alva, P.A. Krishnaprasad and S. Samshuddin, Int. J. Corros. Scale Inhib., 7, 48 (2018). https://doi.org/10.17675/2305-6894-2018-7-1-5
- H.E. Salman, A.A. Balakit and L.B. Jasim, Int. J. Corros. Scale Inhib., 8, 539 (2019). https://doi.org/10.17675/2305-6894-2019-8-3-5
- M. Zebida, O. Benali, U. Maschke and M. Trainsel, Int. J. Corros. Scale Inhib., 8, 613 (2019). https://doi.org/10.17675/2305-6894-2019-8-3-11
- F.O. Edoziuno, A.A. Adediran, B.U. Odoni, M. Oki and O.S. Adesina, Int. J. Corros. Scale Inhib., 9, 1049 (2020). https://doi.org/10.17675/2305-6894-2020-9-3-17
- Ya.G. Avdeev, E.N. Yurasova, K.L. Anfilov and T.A. Vagramyan, Int. J. Corros. Scale Inhib., 7, 87 (2018).
- https://doi.org/10.17675/2305-6894-2018-7-1-8
- A. Fawzy, T.A. Farghaly, A.A. Al Bahir, et al., Mol. Struct., 1223, 129318 (2021). https://doi.org/10.1016/j.molstruc.2020.129318
- M. Goyal, H. Vashisht, S. Kumar, I. Bahadur, Mol. Liq., 261, 162 (2018). https://doi.org/10.1016/j.molliq.2018.04.043
- W. Gong, B. Xu, X. Yin, et al., J. Taiwan Instit. Chem. Eng., 97, 466 (2019). https://doi.org/10.1016/j.jtice.2019.02.018
- Y. Xu, X. Guo, N. Chen, L. Zhang, W. Zhao, Colloids Surf. A: Physicochem. Eng. Asp., 610, 125974 (2021). https://doi.org/10.1016/j.colsurfa.2020.125974
- M. Bouklah, B. Hammouti, M. Lagrenée, F. Bentiss, Corros. Sci., 48(9), 2831 (2006). https://doi.org/10.1016/j.corsci.2005.08.019
- A.M. Fekry, Riham R. Mohamed, Electrochim. Acta, 55(6), 1933 (2010). https://doi.org/10.1016/j.electacta.2009.11.011
- L. Tang, X. Li, L. Li, G. Mu, G. Liu, Materi. Chem. Phys., 97(2–3), 301 (2006). https://doi.org/10.1016/j.matchemphys.2005.08.014
- Sh. Pournazari, M.H. Moayed, M. Rahimizadeh, Corros. Sci., 71, 20 (2013). https://doi.org/10.1016/j.corsci.2013.01.019
- A. Jamal Abdul Nasser, M. Anwar Sathiq, Arab. J. Chem., 10(1), S261 (2017). https://doi.org/10.1016/j.arabjc.2012.07.032
- R. Fuchs-Godec, Colloids Surf. A: Physicochem. Eng. Asp., 280(1-3), 130 (2006). https://doi.org/10.1016/j.colsurfa. 2006.01.046
- Ya.G. Avdeev, P.A. Belinskii, Yu.I. Kuznetsov and O.O. Zel’, Prot. Met., 43(6), 587 (2007). https://doi.org/10.1134/S0033173207060112
- T. Zheng, J. Liu, M. Wang, et al., Corros. Sci., 199, 110199, (2022). https://doi.org/10.1016/j.corsci.2022.110199
- D. P. Schweinsberg and V. Ashworth, Corros. Sci., 28(6), 539 (1988). https://doi.org/10.1016/0010-938X(88)90022-4
- L.-G. Qiu, Y. Wu, Y.-M. Wang, X. Jiang, Corros. Sci., 50(2), 576 (2008). https://doi.org/10.1016/j.corsci.2007.07.010
- A.E. Elkholy, F. El-Taib Heakal, J. Mol. Struct., 1156, 473 (2018). https://doi.org/10.1016/j.molstruc.2017.12.003
- S.A. Haladu, N.D. Mu’azu, S.A. Ali, et al., Mol. Liq., 350, 118533, (2022). https://doi.org/10.1016/j.molliq.2022.118533
- A.H. Tantawy, K.A. Soliman, H.M. Abd El-Lateef, Colloids Surf. A: Physicochem. Eng. Asp., 614, 126141, (2021). https://doi.org/10.1016/j.colsurfa.2021.126141
- O.A. Hazazi, M. Abdallah, E.A.M. Gad, Int. J. Electrochem. Sci., 9, 2237 (2014).
- H. Pianka, S. Falah, S.Zanna, et al., Coatings. 11, 1512 (2021). https://doi.org/10.3390/coatings11121512
- K.R. Ansari, D.S. Chauhan, A. Singh, V.S. Saji and M.A. Quraishi, In Corrosion Inhibitors in the Oil and Gas Industry, Eds.: V.S. Saji and S.A. Umoren, Wiley-VCH Verlag GmbH & Co. KGaA, Weinheim, Germany, 153–176. (2020). https://doi.org/10.1002/9783527822140.ch6
- M. A. Quraishi, D.S. Chauhan and V.S. Saji, In Heterocyclic Organic Corrosion Inhibitors, Eds. M.A. Quraishi, D.S. Chauhan and V.S. Saji, Elsevier Inc. All rights reserved, 87-131 (2020). https://doi.org/10.1016/B978-0-12-818558-2.00004-7
- N. Phadke Swathi, V.D.P. Alva, S. Samshuddin, J. Bio. Tribo. Corros., 3, 42 (2017). https://doi.org/10.1007/s40735-017-0102-3
- Ya.G. Avdeev, Yu.I. Kuznetsov, Int. J. Corros. Scale Inhib., 10, 480 (2021). https://doi.org/10.17675/2305-6894-2020-10-2-2
- Ya.G. Avdeev, Yu.I. Kuznetsov, Int. J. Corros. Scale Inhib., 9, 1194 (2020). https://doi.org/10.17675/2305-6894-2020-9-4-3
- Pradhan A., Vishwakarma M., Dwivedi S.K. Mater. Today: Proceed., 26, 3015 (2020). https://doi.org/10.1016/j.matpr.2020.02.627
- E. Ohaeri, U. Eduok, J. Szpunar, Int. J. Hydrogen Energy, 43, 14584 (2018). https://doi.org/10.1016/j.ijhydene.2018.06.064
- Q. Liu, Q. Zhou, J. Venezuela, et al., Corros. Rev., 34(3), 127 (2016). https://doi.org/10.1515/corrrev-2015-0083
- E. Lunarska, K. Nikiforov. Corros. Rev., 26(2-3), 173 (2008). https://doi.org/10.1515/corrrev.2008.173
- S. Ramamurthy, A. Atrens, Corros. Rev., 31, 1 (2013). https://doi.org/10.1515/corrrev-2012-0018
- N.V. Dokhlikova, S.A. Ozerin, S.V. Doronin, et al., Russ. J. Phys. Chem. B, 16(3), 461 (2022). https://doi.org/10.1134/S1990793122030137
- N.V. Dokhlikova, A.K. Gatin, S.Yu. Sarvadiy, et al., Russ. J. Phys. Chem. B, 15(4), 732 (2021). https://doi.org/10.1134/S1990793121040023
- N.V. Dokhlikova, A.K. Gatin, S.Yu. Sarvadiy, et al., Russ. J. Phys. Chem. B, 16(2), 361 (2022). https://doi.org/10.1134/S1990793122020166
- N.V. Dokhlikova, A.K. Gatin, S.Yu. Sarvadii, et al., Russ. J. Phys. Chem. B, 14(5), 733 (2020). https://doi.org/10.1134/S1990793120050036
- S. Muralidharan, M.A. Quraishi, S.V.K. Iyer, Corros. Sci., 37, 1739 (1995). https://doi.org/10.1016/0010-938X(95) 00068-U
- A.I. Marshakov, T.A. Nenasheva, A.A. Rybkina, M.A. Maleeva, Prot. Met., 43, 77 (2007). https://doi.org/10.1134/S0033173207010110/
- S. Hari Kumar, P.A. Vivekanand, P. Kamaraj, Materials Today: Proceedings, 36, 898 (2021). https://doi.org/10.1016/j.matpr.2020.07.027
- M.A.V. Devanathan, Z. Stachurski, Proceed. Royals Society. Ser. A. Mathematic. Phys. Sci., 270А, 90 (1962). https://doi.org/10.1098/rspa.1962.0205
- M.A.V. Devanathan, Z. Stachurski, Journal of The Electrochemical Society, 3, 619 (1964). https://doi.org/10.1149/1.2426195.
- C.D. Wagner, L.E. Davis, M.V. Zeller, et al., Surf. Interf. Analys., 3, 211 (1981). https://doi.org/10.1002/sia.740030506.
- D. A. Shirley, Phys. Rev. B., 5, 4709 (1972). https://doi.org/10.1103/PhysRevB.5.4709
- R.N. Iyer, H.W. Pickering, M. Zamanzadeh, Journal of The Electrochemical Society, 136, 2463 (1989). https://doi.org/10.1149/1.2097429
- B.N. Popov, J.-W. Lee, M.B. Djukic, Handbook of Environmental Degradation of Materials (Third Edition), Elsevier Inc., 133-162 (2018). https://doi.org/10.1016/B978-0-323-52472-8.00007-1
- A.I. Marshakov, A.A. Rybkina, A.A. Skuratnik, Russ. J. Electrochem., 36, 101 (2000). https://doi.org/10.1007/BF02757529.
- A.I. Marshakov, T.A. Nenasheva, Prot. Met., 37, 543 (2001). https://doi.org//10.1023/A:1012811428981
- B.B. Damaskin, B.N. Afanas’ev, Soviet Elektrokhimiya, 13(8) 1099 (1977).
- A.I. Marshakov, T.A. Nenasheva, Prot. Met., 38, 556 (2002). https://doi.org/10.1023/A:1021265903879
- B.N. Afanas’ev, Yu.P. Skobochkina, Serdyukova G.G., Physicochemical bases of the action of corrosion inhibitors. Izhevsk: publishing house of UdGu, 1990, 20 p. (In Russian).
- K. Kiuchi, R.B. McLellan, Acta Metallurgica, 31, 961 (1983). https://doi.org/10.1016/0001-6160(83)90192-X
Supplementary files













