Коррекировка стандартных методов испытаний взрывчатых веществ на чувствительность к удару
- Авторы: Дубовик А.В.1
-
Учреждения:
- Федеральный исследовательский центр им. Н.Н. Семёнова Российской академии наук
- Выпуск: Том 42, № 3 (2023)
- Страницы: 11-15
- Раздел: Горение, взрыв и ударные волны
- URL: https://journals.rcsi.science/0207-401X/article/view/139888
- DOI: https://doi.org/10.31857/S0207401X23030056
- EDN: https://elibrary.ru/LXXDPL
- ID: 139888
Цитировать
Полный текст
Аннотация
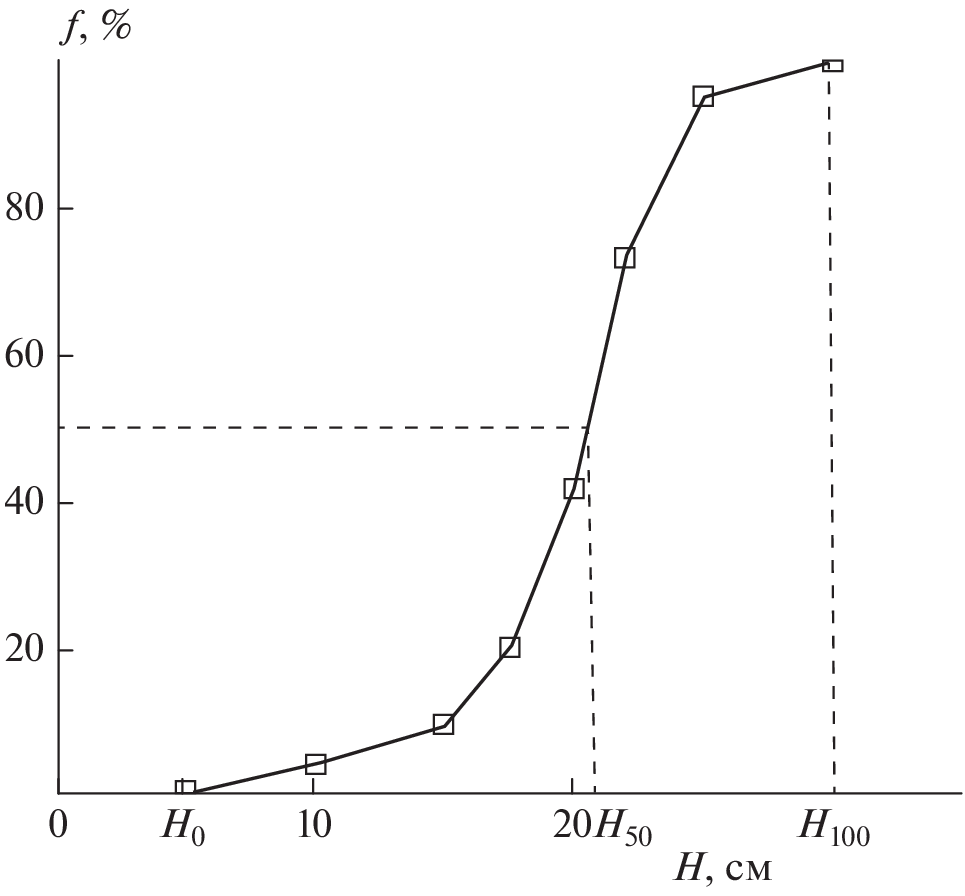
Вопрос о целесообразности использования нового ВВ или смесевого состава часто решается по результатам их испытаний на чувствительность к механическим воздействиям (удару, трению и других), которые обычно выполняются стандартными методами – государственными, отраслевыми и т.д. Однако опыт применения этих методов показывает, что их результативность нередко недостаточно высока и часто имеет место недооценка уровня опасности ВВ в обращении. В статье по результатам анализа лабораторных методов испытаний ВВ на чувствительность к удару – критических давлений и критических энергий, основанных на поиске оптимальных для данного ВВ параметров механического инициирования взрыва, рассматриваются пути модификации существующих стандартов испытаний для повышения их точности при получении данных о показателях чувствительности ВВ.
Об авторах
А. В. Дубовик
Федеральный исследовательский центр им. Н.Н. Семёнова Российской академии наук
Автор, ответственный за переписку.
Email: a-dubovik@mail.ru
Россия, Москва
Список литературы
- Назин Г.М., Корсунский Б.Л. // Хим. физика. 2021. Т. 40. № 3. С. 53.
- Гудкова И.Ю., Зюзин И.Н., Лемперт Д.Б. // Хим. физика. 2020. Т. 39. № 3. С. 53.
- Дубовик А.В. Хим. физика. 2020. Т. 40. № 8. С. 76.
- Махов М.Н. Хим. физика. 2021. Т. 39. № 1. С. 23.
- Афанасьев Г.Т., Боболев В.К. Инициирование твердых взрывчатых веществ ударом. М.: Наука, 1968.
- Дубовик А.В. // Горение и взрыв. 2021. Т. 14. № 3. С. 130; https://doi.org/10.30826/CE21140312
- Дубовик А.В. Чувствительность твердых взрывчатых систем к удару. М.: Изд-во РХТУ им. Д.И. Менделеева, 2011.
- Качанов Л.М. Основы теории пластичности. М.: Наука, 1969.






