Структурно-кинетический аспект управления реакцией в гомогенной среде и на границе раздела фаз
- Autores: Варфоломеева В.В.1, Терентьев А.В.1
-
Afiliações:
- Самарский национальный исследовательский университет имени академика С. П. Королева
- Edição: Volume 98, Nº 10 (2024)
- Páginas: 150–158
- Seção: ПРОЧИЕ ВОПРОСЫ ФИЗИЧЕСКОЙ ХИМИИ
- ##submission.dateSubmitted##: 09.03.2025
- ##submission.dateAccepted##: 09.03.2025
- ##submission.datePublished##: 11.10.2024
- URL: https://journals.rcsi.science/0044-4537/article/view/282918
- DOI: https://doi.org/10.31857/S0044453724100216
- EDN: https://elibrary.ru/DZPGZI
- ID: 282918
Citar
Texto integral
Resumo
Определены наиболее энергетически выгодные пути реакции водородно-связанной системы ацилхлорид–гидроксилсодержащее соединение. Установлены новые схемы каталитических процессов в гомогенной среде и на границе раздела фаз. Образование тримолекулярных водородно-связанных комплексов повышает эффективность процесса. Эффективность каталитического процесса определяется геометрическими требованиями к снижению энергетических затрат на переходное состояние. Показана значимость нахождения геометрии переходного состояния каждой элементарной стадии реакции. Впервые дана количественная оценка взаимосвязи свободной энергии активации ∆G≠ и времени полуреакции t1/2 для би- и тримолекулярных реакций. Установлены непреодолимые активационные барьеры элементарных стадий реакции, рассчитанные функционалом B3LYP. Управление реакцией посредством водородной связи осуществляется введением в систему донорно-акцепторных групп для изменения структуры основного и переходного состояний.
Palavras-chave
Texto integral
Введение
В неполярных средах реакции замещения по одинарным связям углерод–хлор и присоединения к кратным связям углерод–кислород нуклеофильных реагентов (Н2О, ROH, RCOOH) предполагает общий характер поведения ацилхлоридов [1–3]. Система ацилхлорид–гидроксилсодержащее соединение может быть представлена одно- и многостадийным процессами
в которых есть прямые и обратные реакции с возможным образованием интермедиатов типа α-алкокси-α-гидроксистроения. Такие интермедиаты еще недостаточно изучены, но, надо полагать, что их природа может быть различной. На ход реакции влияют межмолекулярные водородные связи [4], которые вносят изменения в энергетическую составляющую предреакционных комплексов, интермедиатов и переходного состояния, что влияет на их пространственную структуру. Сегодня интерес в изучении водородно-связанных систем связан с катализом водородными связями и поиском способов управления химической реакцией на уровне отдельных реагирующих молекул [5–7].
Алкоголиз и гидролиз ацилхлоридов относят к наиболее важным синтетическим реакциям [8], которые идут по пути I и II, III. В работах [8–10] выдвинуто предположение, что для реакций вообще, и, в частности, для реакций, протекающих по механизму присоединения-отщепления, не существует какого-то одного предпочтительного переходного состояния, выделяемого как единичная структура. Двухстадийная реакция по пути II, III включает различные элементарные процессы образования водородно-связанных предреакционных комплексов с конкурирующими конформационными изомерами вблизи седловой точки. Исследование траектории подхода нуклеофила для второй стадии [8] дали еще одно предположение, что одним из определяющих факторов является конформация интермедиата.
Принимая во внимание оба предположения ясно, что эффективное воздействие на молекулярную систему и уменьшение свободной энергии активации ∆G≠ зависит от структуры переходного состояния, наличия и структуры интермедиатов. Таким образом, результативно влиять на величину ∆G≠ можно изменением пространственной геометрической структуры, которую во многом определяют водородные связи. Эти изменения способствуют протеканию определенных реакций по менее энергозатратному пути. На более продвинутом уровне управлять реакцией лучше всего располагая данными об активационных барьерах ∆G≠ и их значимости в эффективности процесса. Количественная оценка взаимосвязи ∆G≠ и времени полуреакции t1/2 необходима в поиске закономерностей, ответственных за структуру и свойства, состав, вероятность протекания элементарных процессов, обусловленных ими. До настоящего времени для таких сложных молекулярных систем как ацилхлорид–гидроксилсодержащее соединение количественной оценки элементарных стадий реакции не проводили. Было установлено [11, 12], что эффективность реакционной системы повышают тримолекулярные реакции.
Экспериментальная часть
Расчеты би- и тримолекулярных реакций в гомогенной среде проводили с помощью функционала электронной плотности B3LYP, который хорошо подходит для вычисления реакционных барьеров моно-, би- и тримолекулярных реакций с переносом протона [13]. Для подтверждения того, что оптимизированные структуры являются экстремумами, проводился расчет матрицы Гессе. Все стационарные состояния при минимуме энергии не имели мнимых частот, а переходные состояния имели только одну мнимую частоту. Поиск реагентов, продуктов и интермедиатов проводился из переходных состояний путем следования по кривой внутренней координаты реакции (IRC). Все расчеты проводили с использованием программного пакета Firefly [14] на суперкомпьютере Сергей Королев.
Для оптимизации структур, следования по IRC и расчета свободной энергии активации ΔG≠ в газовой фазе был использован метод B3LYP/aug-cc-pVDZ. Расчеты на границе раздела фаз проводили с использованием базиса cc-pVDZ. Причины отказа от диффузных функций и влияние на точность расчетов обсуждались нами в статье [12]. При расчете с базисным набором cc-pVDZ значения ΔG≠ систематически занижались на 13.8 кДж моль–1.
Обсуждение результатов
Изучение вопроса влияния геометрической структуры молекулы на снижение ΔG≠ предполагает рассмотрение энергетического профиля одно- и двухстадийной реакций. На рис. 1 области 1 и 5 относятся к невзаимодействующим реагентам и продуктам. Область 2 – предреакционный комплекс. Области 3 и 7 – переходные состояния. Область 4 – послереакционный комплекс. Область 6 соответствует интермедиату.
Рис. 1. Энергетический профиль поверхности потенциальной энергии вдоль координаты реакции для одно- (а) и двухстадийной (б) реакции.
Известно, что путь реакции определяется ее механизмом, который обусловлен геометрией молекул реагентов, продуктов и формированием структуры переходного состояния. Для установления полной картины постадийного механизма сложных химических реакций нужны значения ΔG≠. Активационные барьеры ΔG≠ – это разность нулевых энергий между реагентами и переходным состоянием для каждой элементарной стадии. Отсутствие понимания переходных состояний ограничивает нашу способность прогнозировать каталитический процесс и, как следствие, осуществлять кинетический контроль по реакционным барьерам. Для поиска энергетически выгодного пути важно оценить возможность реализации каждой элементарной стадии реакции, из которых складывается процесс в целом. В этом случае следует исследовать структуры переходных состояний с разной геометрией. Считается, что пороговые барьеры, которые усредняются по всем элементарным стадиям, имеют малую теоретическую ценность.
В гомогенной среде водородно-связанная система ацилхлорид–гидроксилсодержащее соединение представлена бимолекулярными реакциями I, II и тримолекулярными реакциями
вероятность протекания которых зависит от начальных концентраций C0. При равенстве концентраций реагентов C0, оценить времена би- и тримолекулярных полуреакций t1/2 можно основываясь на уравнении Эйринга:
где kB, h, R, κ – постоянные Больцмана, Планка, универсальная газовая постоянная и трансмиссионный коэффициент, соответственно. Часто при использовании уравнения возникают вопросы выбора трансмиссионного коэффициента κ.
Результаты расчета значений ΔG≠ методом B3LYP/aug-cc-pVDZ показали хорошее согласие с различными экспериментальными данными [11, 12, 15–25]. Так, например, для тримолекулярной реакции значение общего энергетического барьера ΔG≠ равно 105 кДж/моль [25]. Из эксперимента известно, что при T = 90°C время реакции при концентрации реагентов в области 0.1 М равно 20 часов. Значит t1/2 около 2.5 часов. Учитывая, что время полуреакции t1/2 = 3/2·k–1·C0–2, из экспериментального времени полуреакции можно рассчитать значение ΔG≠ по уравнению
(1)
При трансмиссионных коэффициентах κ от 0.7 до 1 значения ΔG≠ попадают в диапазон 101–102 кДж/моль (рис. 2). Тогда разница со значением, рассчитанным методом B3LYP/aug-cc-pVDZ составляет всего 3–4 кДж/моль, что считается желаемой расчетной точностью для величин размерности энергии [26].
Рис. 2. Зависимости времени полуреакции t1/2 от значений свободной энергии активации ΔG≠ (кДж/моль), рассчитанные по уравнению (1) при начальных концентрациях реагентов C0 = 0.1 М и времени полуреакции t1/2 = 2.5 ч.
Из рис. 2 видно, что при рассматриваемых энергиях и временах полуреакции значения ΔG≠ не сильно зависят от трансмиссионного коэффициента. Поэтому при расчетах можно принять значение κ = 1 [27, 28].
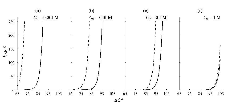
Учитывая, что в рассматриваемой системе скорость реакции зависит от начальной концентрации реагирующих веществ С0 [29], были получены зависимости времени полуреакции t1/2 от значений свободной энергии активации ΔG≠ (рис. 3). Также считая, что при различных начальных концентрациях С0 элементарная стадия не реализуется при t1/2 ≥ 100 ч, были получены значения непреодолимых барьеров (табл. 1).
Рис. 3. Зависимости времени полуреакции t1/2 от значений свободной энергии активации ΔG≠ (кДж/моль) для би- (сплошные линии) и тримолекулярных (штриховые линии) реакций при различных начальных концентрациях C0 = 0.001 (а), 0.01(б), 0.1(в), 1М (г) и температуре T = 25°C.
Таблица 1. Граничные значения свободной энергии активации ΔG≠ при превышении которых элементарные би- (а) и тримолекулярные (б) реакции при T = 25°C в значимой мере не идут
С0, М | ΔG≠, кДж/моль | |
а | б | |
0.001 0.01 0.1 1 | 85–90 90–95 95–100 105 | 70 80–85 90–95 100–105 |
Таким образом, впервые для сложной системы, как ацилхлорид–гидроксилсодержащее соединение, появилась возможность количественной оценки реализации би- и тримолекулярных реакций. Полученные зависимости (рис. 3, табл. 1) позволяют оценить значимость реакционных барьеров при переходе от би- к тримолекулярной реакции. Кроме того, можно прогнозировать тримолекулярные реакции автокатализа за счет ее продуктов с последующей идентификацией интермедиата.
Экспериментально интермедиат был нами обнаружен в системах ацилхлорид–спирт [15, 20–22], ацилхлорид–вода [19], ацилхлорид–карбоновая кислота [18]. Он появлялся не сразу, а лишь через несколько минут после начала реакции. В начале реакции возможны тримолекулярные взаимодействия с двумя молекулами спирта, воды и карбоновой кислоты по схемам Ia и IIa. В ходе реакции увеличивается концентрация молекул продукта, и возрастает вероятность тримолекулярного взаимодействия с его участием по схемам Ib и IIb. Структурно-энергетические характеристики интермедиатов и ∆G≠ реакции до сих пор не были определены. Сложность и вариативность рассматриваемых систем требует нахождения удачного компромисса при выборе размера базиса и уровня результатов квантово-химического способа расчета, позволяющего получать адекватное описание структурно-кинетических характеристик водородно-связанных комплексов. На первом этапе для определения энергетического профиля каждой элементарной стадии реакции нужно найти геометрию переходного состояния 3 или 7 (рис. 1). На втором этапе следует определить структурно-энергетические параметры предреакционного комплекса 2 и продуктов 5. Общая картина поведения всех участников элементарных стадий реакции может быть представлена диаграммами свободной энергии G (рис. 4).
Рис. 4. Диаграммы свободной энергии G (кДж/моль) системы бутаноилхлорид – н-бутанол: I, Ia и Ib – прямые реакции (а) и реакции с возможным образованием интермедиата (справа), рассчитанные при T = 298 K.
Из рис. 4 и табл. 1 видно, что в системе бутаноилхлорид–н-бутанол при комнатной температуре могут быть реализованы все одностадийные реакции I, Ia и Ib при концентрации реагентов 0.01 М и выше, а бимолекулярные реакции при любых концентрациях. При этом все три пути необратимые, значения ΔG≠ для обратных реакций составляет 111–133 кДж/моль. Прямые двухстадийные реакции по путям II, IIa и IIb при комнатной температуре и концентрациях 0.5 М и меньше не идут. Образование интермедиата при обратной бимолекулярной реакции продуктов по пути III не происходит, так как значение ΔG≠ = 116 кДж/моль. Обратная тримолекулярная реакция IIIa при комнатной температуре также маловероятна, значение ΔG≠ = 91 кДж/моль. Основной способ накопления интермедиата – обратная реакция IIIb, значение ΔG≠ = 69 кДж/моль.
В результате экспериментального исследования методом диэлектрометрии системы бутаноилхлорид–н-бутанол при T = 20°C были получены кинетические кривые с четко выраженным максимумом (рис. 5) [21]. Значение максимума емкости CMAX сильно возрастает при увеличении концентрации реагентов с 73 пФ при концентрации 0.18 М до 285 пФ при концентрации 0.54 М (рис. 5).
Рис. 5. Кинетические зависимости емкости C от времени t (мин) в диапазоненачальных концентраций C0 бутаноилхлорида и н-бутанола 0.01–0.54 М.
В разбавленном растворе 0.01 М и при концентрациях больше 0.54 М интермедиат экспериментально не фиксируется, максимум емкости отсутствует. По-видимому, для путей IIIa и IIIb
это связано с очень низкими значениями ΔG≠ в присутствии любого вещества с донорно-акцепторной группой (ОН-, НСl). Это означает, что интермедиат крайне неустойчив и при средних концентрациях может наблюдаться только в равновесии с продуктами и спиртом.
Экспериментально наблюдаемое снижение доли интермедиата с течением времени может быть связано с тем, что при накоплении продуктов возрастает присутствие HCl. Энергия межмолекулярного взаимодействия ClH···Cl гораздо ниже, чем энергия водородной связи OH···O. По этой причине с течением времени снижается вероятность образования тримолекулярных комплексов при рассматриваемых концентрациях и температуре. Таким образом, в начале реакции интермедиат не образуется из-за недостатка HCl, а в конце – из-за недостатка спирта.
Полученные расчетным методом B3LYP/aug-cc-pVDZ результаты для реакций алкоголиза ацилхлоридов с алифатическими и ароматическими спиртами хорошо согласуются с экспериментальными данными. Так, при T = 20°C и концентрации 0.045 М в CCl4, время реакции бутаноилхлорида с н-бутанолом 120 минут [21]. Для реакции ацетилхлорида с бензиловым спиртом 180 минут, при концентрации 0.05 М в CCl4 [20]. Из рис. 3 видно, что при близких концентрациях время реакции от двух часов до трех может быть обусловлено разницей значений ΔG≠ в несколько кДж/моль. По результатам расчета тримолекулярные реакции алифатических ацилхлоридов (R1 = Alk = Me, n-Pr, n-Pen, Hex) с алифатическими R2 = Alk и ароматическими R2 = Ar спиртами по пути Ia идут с одинаковой скоростью, так как средние арифметические значения свободной энергии активации равны по 81 кДж/моль [12]. Но при реакции по пути Ib с R2 = Ar реакционный барьер остается неизменным, а с R2 = Alk он снижается до 75 кДж/моль. Это отличие подразумевает автокатализ в случае алифатических спиртов, который наблюдается экспериментально [15, 21], и определяет итоговую разницу во времени реакции по сравнению с бензиловым спиртом [20].
Экспериментальным подтверждением важности наличия молекулы с донорно-акцепторными группами является обратно пропорциональное изменение значений константы скорости в системе ацетилхлорид–гексанол в н-гексане при T = 20°C [15]: при увеличении начальной концентрации спирта значение константы скорости возрастает, при добавлении ацетилхлорида – уменьшается.
В реакции взаимодействия бензоилхлорида с н-бутанолом по схемам I и Ia значения свободной энергии активации ∆G≠, рассчитанные методом B3LYP/aug-cc-pVDZ, равны и составляют 100 кДж/моль [12]. Экспериментальные наблюдения также показывают, что ароматические ацилхлориды значительно менее реакционноспособны, чем алифатические [30]. При алкоголизе бензоилхлорида константы скорости меньше примерно на 2–3 порядка по сравнению с алифатическими ацилхлоридами [31–34]. При комнатной температуре и концентрации реагентов 0.1 М продукты реакции не были обнаружены в течение 6 часов [12]. С увеличением температуры до 60°C появляется возможность реализации только бимолекулярного механизма, поэтому через 6 часов выход продукта составил 5%.
Понимание механизма элементарных стадий би- и тримолекулярных реакций в гомогенной среде позволяет учитывать взаимодействие на уровне отдельных реагирующих молекул. Квантово-химические расчеты показали, что характерные структурные изменения происходят лишь в области реакционного центра (рис. 6). Это важно для исследования молекулярных систем различных классов. Условия протекания отдельных стадий могут быть подобраны в зависимости от взаимодействующих функциональных групп.
Рис. 6. Значения валентных углов в переходном состоянии при взаимодействии бутаноилхлорида с н-бутанолом (а–в).
В гомогенной среде эффективность каталитического процесса связана с изменением энергии молекулярной системы, вызываемой третьей молекулой. Если третий участник образует водородные связи ОН⋅⋅⋅Сl и ОН⋅⋅⋅О, то валентные углы выгодно изменяются в переходном состоянии (рис. 6). Это способствует переносу протона и реализации каталитического процесса. Образование тримолекулярных водородно-связанных комплексов приводит к снижению ΔG≠ [11, 12]. Рассчитанные значения ΔG≠ для элементарных би- и тримолекулярных реакций алкоголиза алифатических ацилхлоридов относятся к диапазону эффективных процессов (рис. 3, табл. 1). Таким образом, эффективное управление реакцией непосредственно связано с использованием взаимодействия посредством водородной связи для ускорения определенных процессов при температуре окружающей среды.
На границе раздела фаз эффективность каталитического процесса связана с затратами энергии на образование геометрически реакционноспособной структуры водородно-связанного комплекса, что обусловлено благоприятным расположением функциональных групп в основном состоянии. Для общего понимания взаимодействия водородно-связанной системы с поверхностными группами твердого катализатора-адсорбента нужны экспериментальные подтверждения факта управления процессом через изменения структуры и свойства. Нами была проведена серия экспериментов для системы бензоилхлорид–спирт [12]. Интерес к системе был обусловлен геометрическими характеристиками молекулы бензоилхлорида. Он хуже реагирует в любых условиях [30–32]. Появление третьей молекулы R2-OH не приводит к образованию предреакционного водородно-связанного комплекса. В переходном состоянии атому хлора необходимо преодолеть отталкивание от π-электронов бензольного кольца. И только прямое включение в процесс макропористого неплоского адсорбента силохрома СХ-1 с гидроксильными группами активирует тримолекулярный механизм за счет его структурно-энергетических характеристик даже в разбавленных растворах и существенно повышает выход продукта (табл. 2). В силовом поле неплоского адсорбента происходит изменение геометрии адсорбата, что компенсирует часть энергетических затрат, необходимых для изменения торсионных углов. С одной стороны, адсорбент притягивает молекулы своей ОН-группой для образования водородной связи OH···Cl (rH···Cl = 2.31 Å, ∠OH···Cl = 174°) и CH···O (rH···O = 2.58 Å, ∠CH···O = 152°). С другой стороны, дисперсионные силы взаимодействуют с бензольным кольцом бензоилхлорида. Плоская молекула бензоилхлорида уже в основном состоянии становится неплоской (рис. 7). Атомы кислорода и хлора выходят из плоскости бензольного кольца на 23° и 32° соответственно. В переходном состоянии они изменяются до 6° и –121°, соответственно. Бензоилхлорид не претерпевает значительные конформационные изменения при переходе из основного в переходное состояние. В результате ΔG≠ снижается примерно на 40 кДж/моль. Таким образом, силохром СХ-1 создает новый путь протекания реакции через стадию образования тримолекулярного водородно-связанного комплекса. Результаты эксперимента подтвердили найденный механизм управления реакцией посредством водородных связей.
Таблица 2. Выход продукта ArC(O)OR2 (%) при взаимодействии 0.1 М бензоилхлорида и 0.1 М спирта в чистом растворе н-гептана при 60°C на адсорбентах: плоском – графитированная термическая сажа (ГТС) и неплоском – силохром СХ-1
Адсорбенты (2.5 мг/мл) | C2H5OH | C3H7OH | C4H9OH |
– ГТС СХ-1 | 4 8 67 | 7 10 71 | 5 9 65 |
Рис. 7. Тримолекулярная реакция бензоилхлорида с двумя молекулами этанола на поверхности адсорбента силохром СХ-1 [12].
Заключение
Только изменением структуры молекул можно эффективно влиять на снижение активационного барьера ΔG≠. Задача сводится к определению каждой элементарной стадии реакции, где происходит каталитический процесс. Переход на количественный уровень оценки реакций в системе ацилхлорид–гидроксилсодержащее соединение позволил нам показать значимые диапазоны ΔG≠ при переходе от би- к тримолекулярным реакциям. Установлены непреодолимые барьеры при разных начальных концентрациях, что может иметь большое практическое значение при прогнозировании и исследовании механизмов реакций с участием молекул с донорно-акцепторными группами. Представление обратных реакций многостадийным процессом III, IIIa и IIIb объяснило ранее установленный факт накопления интермедиата в реакции алкоголиза бутаноилхлорида н-бутанолом. Автокатализ продуктом реакции идет по тримолекулярному механизму с двумя молекулами НСl. Управление реакцией в гомогенной среде посредством водородных связей сводится к изменению структурно-энергетических характеристик предреакционных комплексов и геометрии переходного состояния. Управление реакцией на границе раздела фаз осуществляется изменением геометрии молекулярной системы в силовом поле силохрома СХ-1 с гидроксильными группами на поверхности. Основная причина эффективности процессов – снижение энергетических затрат на переходное состояние.
Sobre autores
В. Варфоломеева
Самарский национальный исследовательский университет имени академика С. П. Королева
Autor responsável pela correspondência
Email: varf2@ssau.ru
Rússia, Самара
А. Терентьев
Самарский национальный исследовательский университет имени академика С. П. Королева
Email: varf2@ssau.ru
Rússia, Самара
Bibliografia
- Темникова Т.И. Курс теоретических основ органической химии. Л.: Химия, 1968. 1006 с.
- Satchell D.P.N., Satchell R.S. The Chemistry of Acyl Halides // Ed. by S. Patai. UK: Wiley, 1972. P. 103–136.
- Антоновский В.Л., Хурсан С.Л. Физическая химия органических пероксидов. М.: Академкнига, 2003. 391 с.
- Варфоломеева В.В. Кинетика реакции в системах “хлорангидрид (ангидрид) – гидроксилсодержащее соединение – неполярный растворитель”: Автореф. дис. … канд. хим. наук. Самара: Самарский гос. ун-т, 2000. 23 с.
- Jacobsen E.N., Taylor M.S. // Angew. Chem. Int. Ed. 2006. V. 45. № 10. P. 1521. https://doi.org/10.1002/anie.200503132
- Noncovalent Interactions in Catalysis / Ed. by K.T. Mahmudov, M.N. Kopylovich, M. F.C. Guedes da Silva et al. UK: RSC, 2019. 653 p. https://doi.org/10.1039/9781788016490
- Doyle A.G., Jacobsen E.N. // Chem. Rev. 2007. V. 107. P. 5713. https://doi.org/10.1021/cr068373r
- Smith M.B. March’s advanced organic chemistry: reactions, mechanisms, and structure. USA: Wiley, 2020. 2144 p.
- Menger F.M. // Tetrahedron. 1983. V. 39. № 7. P. 1013. https://doi.org/10.1016/S0040-4020(01)91865-4
- Liotta C.L., Burgess E.M., Eberhardt W.H. // J. Am. Chem. Soc. 1984. V. 106. № 17. P. 4849. https://doi.org/10.1021/ja00329a035
- Варфоломеева В.В., Терентьев А.В. // Изв. Ак. наук. Сер. хим. 2021. № 4. С. 693. [Varfolomeeva V.V., Terentev A.V. // Russ. Chem. Bull. 2021. V. 70. № 4. P. 693.] https://doi.org/10.1007/s11172-021-3138-y
- Varfolomeeva V.V., Terentev A.V. // J. Iranian Chem. Soc. 2024. V. 21. https://doi.org/10.1007/s13738-024-02969-0
- Dunning T.H. Jr. // J. Chem. Phys. 1989. V. 90. № 2. P. 1007. https://doi.org/10.1063/1.456153
- Granovsky A.A. Firefly Version 8, www http://classic.chem.msu.su/gran/firefly/index.html
- Терентьев В.А., Варфоломеева В.В. // Журн. общ. химии. 1992. Т. 62. № 7. С. 1582.
- Терентьев В.А., Варфоломеева В.В. // Журн. физ. химии. 1992. Т. 66. № 12. С. 3104.
- Терентьев В.А., Варфоломеева В.В. // Журн. общ. химии. 1994. Т. 64. № 1. С. 98.
- Терентьев В.А., Варфоломеева В.В. // Там же. 1996. Т. 66. № . 2. С. 301.
- Терентьев В.А., Варфоломеева В.В. // Там же. 1996. Т. 66. № 12. С. 2010.
- Варфоломеева В.В., Терентьев В.А. // Там же. 1998. Т. 68. № . 12. С. 1999.
- Терентьев В.А., Варфоломеева В.В. // Там же. 2000. Т. 70. № . 3. С. 462.
- Варфоломеева В.В., Терентьев В.А., Буланова А.В. // Там же. 2003. Т. 73. № . 11. С. 1900. [Varfolomeeva V.V., Terent’ev V.A., Bulanova A.V. // Russ. J. Gen. Chem. 2003. V. 70. № 4. P. 1799.]
- Zhou P.-X., Ye Y.-Y., Liu C. et al. // ACS Catal. 2015. V. 5. № 8. P. 4927. https://doi.org/10.1021/acscatal.5b00516
- Liang Y., Jiang Y.-Y., Liu Y. et al. // Org. Biomol. Chem. 2017. V. 15. № 29. P. 6147. https://doi.org/10.1039/C7OB01021D
- Варфоломеева В.В. // Журн. общей химии. 2018. Т. 88. № 5. С. 710. Varfolomeeva V.V.// Russ. J. Gen. Chem. 2018. V. 88. № 5. P. 855. https://doi.org/10.1134/S107036321805002X
- Попл Дж.А. // Успехи физ. наук. 2002. Т. 172. № 3. С. 349. https://doi.org/10.3367/UFNr.0172.200203d.0335
- Anslyn E.V., Dougherty D.A. Modern Physical Organic Chemistry. USA: University Science Books, 2006. 1104 р.
- Дашевский В.Г. Конформационный анализ органических молекул. М.: Химия, 1982. 272 с.
- Варфоломеева В.В. // Журн. общ. химии. 2007. Т. 77. № 11. С. 1835. Varfolomeeva V.V. // Russ. J. Gen. Chem. 2007. Vol. 77. N11. P. 1891. https://doi.org/10.1134/S1070363207110084
- Моррисон Р., Бойд Р. Органическая химия. М.: Мир, 1974. 1133 с.
- Kivinen A. The Chemistry of Acyl Halides // Ed. by S. Patai. UK: Wiley, 1972. P. 177.
- Bentley T.W., Harris H.C., Ryu Z.H. et al. // J. Org. Chem. 2005. V. 70. № 22. P. 8963. https://doi.org/10.1021/jo0514366
- Bentley T.W., Jones R.O. // J. Chem. Soc. Perkin Trans. 2. 1993. № 12. P. 2351. https://doi.org/10.1039/P29930002351
- Bentley T.W., Llewellyn G., McAlister J.A. // J. Org. Chem. 1996. V. 61. № 22. P. 7927. https://doi.org/10.1021/jo9609844
Arquivos suplementares












