Загрузочные свойства капиллярных пористослойных колонок различного диаметра с силикагелевым сорбентом
- Autores: Патрушев Ю.В.1,2, Хамидов Ж.Х.3
-
Afiliações:
- ФИЦ “Институт катализа им. Г. К. Борескова Сибирского отделения РАН”
- Новосибирский государственный унивеситет
- Новосибирский государственный университет
- Edição: Volume 98, Nº 10 (2024)
- Páginas: 126–131
- Seção: PHYSICAL CHEMISTRY OF SEPARATION PROCESSES. CHROMATOGRAPHY
- ##submission.dateSubmitted##: 09.03.2025
- ##submission.datePublished##: 11.10.2024
- URL: https://journals.rcsi.science/0044-4537/article/view/282914
- DOI: https://doi.org/10.31857/S0044453724100183
- EDN: https://elibrary.ru/DZXYSV
- ID: 282914
Citar
Texto integral
Resumo
Исследовано влияние диаметра капиллярной пористослойной колонки с силикагелевым сорбентом на загрузочные свойства. Было приготовлено три колонки диаметром 0.25 мм, 0.32 мм и 0.53 мм с силикагелевым регулярнопористым сорбентом. Показано, что загрузочная емкость колонки с регулярнопористым сорбентом диаметром 0.32 мм в 7.3 раза выше, чем для коммерческой колонки GS-GasPro такого же диаметра. На примере разделения алифатических углеводородов C4 показано, влияние величины вводимой пробы на разрешение хроматографических пиков.
Texto integral
Основными характеристиками хроматографической колонки являются ее эффективность (число теоретических тарелок) и селективность (разрешение хроматографических пиков). Эффективность зависит, прежде всего, от качества изготовления колонки. Это, в частности, равномерное распределение гранул сорбента внутри насадочной колонки или равномерное нанесение пленки неподвижной фазы на внутреннюю поверхность капиллярной колонки. Селективность колонки зависит исключительно от химических свойств неподвижной фазы.
Еще одной важной характеристикой хроматографической колонки является ее загрузочная емкость. Это количество вещества, введенное в колонку, которое вызывает существенное снижение эффективности. Обычно считают, что существенное снижение эффективности составляет 20% от максимально достижимой на данной колонке [1]. Загрузочная емкость зависит от количества неподвижной фазы в колонке. Для насадочной колонки загрузочная емкость достаточно высокая и перегрузить ее непросто [2]. Поэтому данному параметру не уделяется необходимое внимание при работе с насадочной колонкой. Однако, при использовании высокоэффективных капиллярных колонок необходимо знать, какое количество введенного вещества приведет к перегрузке. Поскольку перегруженная колонка теряет эффективность и это приводит к ухудшению разделения соседних хроматографических пиков [3].
Загрузочная емкость также зависит от типа неподвижной фазы. Если это неподвижная жидкая фаза (НЖФ), то в этом случае работает весь объем НФ. Загрузочная емкость колонки при этом зависит от объема НЖФ, который приходится на единицу длины колонки. Этот объем, в свою очередь, зависит от толщины слоя НЖФ и от диаметра колонки. Таким образом, если необходимо получить максимальную загрузочную емкость, необходимо использовать капиллярную колонку максимального диаметра с максимально возможной толщиной слоя НЖФ.
Для пористослойных колонок, где в качестве неподвижной фазы используется пористый твердый адсорбент, решающее значение имеет не толщина слоя сорбента, а его удельная площадь поверхности. Поскольку процесс адсорбции-десорбции происходит на границе раздела фаз, то количество молекул аналита, находящихся в равновесном состоянии на участке колонки, равной высоте, эквивалентной теоретической тарелке (ВЭТТ) зависит от величины удельной площади поверхности сорбента. Чем выше площадь поверхности, тем больше пробы можно ввести без перегрузки колонки. В отличие от колонок с НЖФ, где аналиты распределяются во всем объеме слоя неподвижной фазы, загрузочная емкость пористослойных колонок значительно ниже [4]. Это приводит к быстрой перегрузке колонки пробой и ухудшению разделения. В работе [5] были рассмотрены несколько типов пористослойных колонок и были определены их загрузочные емкости. Было показано, что капиллярная колонка диаметром 0.32 мм с слоем НЖФ OV-1 (диметилполисилоксан) толщиной 0.5 мкм имеет загрузочную емкость 0.7 мкг. При этом, пористослойная капиллярная колонка Rt-Q-BOND (сорбент на основе дивинилбензола) диаметром 0.32 мм и толщиной слоя сорбента 10 мкм имеет загрузочную емкость около 0.2 мкг. То есть, имея в 20 раз более толстый слой НФ, пористослойная колонка имеет в 3.5 раз меньшую загрузочную емкость. Вероятно, это связано с тем, что доступ молекул адсорбата в глубину слоя сорбента невозможен, в отличие от слоя НЖФ.
Проблему низкой загрузочной емкости пористослойных капиллярных колонок можно решить увеличением удельной площади поверхности адсорбента. Так, в работе [6] представлена капиллярная колонка с силикагелем в качестве неподвижной фазы, который имеет высокую удельную площадь поверхности за счет наличия упорядоченной пористой системы. При этом загрузочная емкость такой колонки примерно на порядок выше, чем для коммерческой колонки GS-GasPro с аналогичными размерами.
В настоящей работе рассмотрены загрузочные свойства коммерческой колонки GS-GasPro диаметром 0.32 мм и колонок различного диаметра с сорбентом на основе регулярнопористого силикагеля. Показано влияние загрузочной емкости на разделительные свойства пористослойной колонки.
Экспериментальная часть
Оборудование и реактивы
Хроматографические эксперименты проводили на газовом хроматографе Agilent 7890 с пламенно-ионизационным детектором (ПИД) и автодозатором Agilent G4513A. В таб. 1 представлены капиллярные колонки, использованные в данной работе. В качестве колонки сравнения использовали колонку GS-GasPro (Agilent). Выбор колонки сравнения обусловлен тем, что данный тип колонок с силикагелевым сорбентом выпускается единственным производителем (Agilent) и имеет диаметр 0.32 мм. Остальные колонки, исследованные в данной работе, были изготовлены по методике, описанной в [6]. Смесь углеводородов С1 – С4 для исследования загрузочной емкости была предоставлена ООО “Чистые газы”, Новосибирск. Для количественной калибровки пламенно-ионизационного детектора использовали метанол квалификации “для градиентной ВЭЖХ” (J. T. Baker, Netherlands) и н-гексан, квалификации “чистый” (АО “Экос-1”).
Хроматограммы записывали и обрабатывали с помощью программного обеспечения ChemStation (Agilent).
Проведение эксперимента
Для исследования загрузочной емкости хроматографических колонок, в них вводили разное количество смеси углеводородов С1 – С4. Количество вводимой пробы варьировали путем изменения отношения сброс: поток в испарителе от 2:1 до 100:1. Рассчитывали число теоретических тарелок (т. т.) по пику бутена-1, который использовали в качестве тестового вещества. Для того, чтобы сопоставить площадь хроматографического пика с массой тестового вещества, проводили предварительную калибровку пламенно-ионизационного детектора. Для этого готовили ряд калибровочных растворов н-гексана в метаноле. Концентрация н-гексана в приготовленных растворах составляла от 0.006 мкг/мкл до 11.3 мкг/мкл. Калибровочные растворы, объемом 0.5 мкл, вводили в капиллярную колонку диаметром 0.53 мм и длиной 25 м с неподвижной жидкой фазой диметилполисилоксан. Толщина пленки НЖФ – 5 мкм. Испаритель хроматографа был установлен в режим “без сброса”, поэтому вся проба, введенная в испаритель, попадала в колонку. По зависимости площади пика от массы введенного н-гексана определяли абсолютный коэффициент чувствительности пламенно-ионизационного детектора. Коэффициент чувствительности использовали для того, чтобы определить массы компонентов газовой смеси С1 – С4, введенных в исследуемые колонки. Поскольку при определении загрузочной емкости не требуется высокая точность количественных измерений, то можно принять, что чувствительность ПИД к гексану и бутену-1, по которому рассчитывали загрузочную емкость, примерно одинакова.
Обсуждение результатов
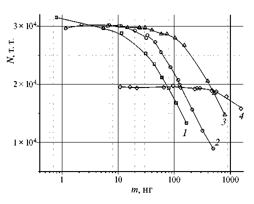
Для всех исследованных колонок построили зависимости числа теоретических тарелок N от массы бутена-1 m (рис. 1). Как видно, для всех колонок, кроме Si-053, наблюдается примерно одинаковая абсолютная эффективность при малых массах вводимой пробы (около 30000 т. т.). Для колонки Si-053 максимальная эффективность составляет около 20000 т. т. Для коммерческой колонки GS-GasPro эффективность меняется слабо при загрузках примерно до 10 нг. При увеличении массы вводимой пробы выше этого значения, число теоретических тарелок уменьшается.
Рис. 1. Зависимости числа теоретических тарелок от массы бутена-1 в пробе для колонок: 1 – GS-GasPro, 2 – Si-025, 3 – Si-032, 4 – Si-0.53.
При введении в колонку GS-GasPro 31 нг бутена-1 эффективность снижается на 20%. Для колонок с регулярнопористыми силикагельными сорбентами такое же снижение эффективности происходит при существенно больших загрузках (см. табл. 1). Так, для колонки Si-032 с аналогичными размерами величина загрузочной емкости в 7.3 раза выше. Колонка Si-053 диметром 0.53 мм позволяет вводить пробу в 50 раз больше, чем колонка GS-GasPro.
Таблица 1. Эффективность и загрузочная емкость капиллярных хроматографических колонок, использованных в работе
Колонка | l, м | d, мм | m (80%), нг | N, т. т. | N/1 м***, т. т. |
GS-GasPro | 30 | 0.32 | 31 | 31500 | 1050 |
Si-025 | 15 | 0.25 | 71 | 30200 | 2013 |
Si-032 | 30 | 0.32 | 225 | 30000 | 1000 |
Si-053 | 30 | 0.53 | 1535 | 19700 | 657 |
Обозначения: l – длина, d – диаметр, m – загрузочная емкость (масса введенного бутена-1, при которой эффективность снижается на 20%); N – число теоретических тарелок (т. т.); N/1 м – удельная эффективность (число теоретических тарелок на 1 м колонки).
Колонка Si-053 характеризуется минимальной удельной эффективностью среди исследованных колонок. Однако это справедливо только для загрузок, меньших, чем 0.5 мкг. При массе вводимой пробы более, чем 0.5 мкг, эффективность колонки Si-053 становится выше, чем у остальных колонок (см. рис. 1). Поэтому, несмотря на низкую максимально достижимую эффективность, данная колонка может быть использована для разделения компонентов с высокими концентрациями.
Теперь рассмотрим колонку Si-025. Из табл. 1 видно, что удельная эффективность данной колонки в два раза выше, чем колонки GS-GasPro. Загрузочная емкость колонки Si-025 также более чем в 2 раза выше, чем GS-GasPro. Это позволяет использовать короткую колонку Si-025 вместо колонки GS-GasPro длиной 30 м. Поскольку время разделения пропорционально длине капилляра, то колонка Si-025 позволяет при большей загрузке проводить разделение в 2 раза быстрее.
Для сравнения разделительных свойств исследуемых колонок, в них вводили смесь углеводородов С1– С4. На рис. 2 представлены хроматограммы для коммерческой колонки GS-GasPro (рис. 2(а)) и для колонок Si-025, Si-032 и Si-053. Видно, что порядок удерживания всех соединений одинаковый и общая картина разделения на всех колонках схожая. Некоторую разницу в селективности колонки GS-GasPro и колонок с регулярнопористым силикагелем можно объяснить различной текстурой сорбентов. Сорбент в колонках Si-025, Si-032 и Si-053 представляет собой силикагель с упорядоченной пористой системой и узким распределением пор по диаметрам [6]. Производитель колонок GS-GasPro не указывает текстурные характеристики слоя сорбента, расположенного на внутренней поверхности капилляра, заявляя лишь, что это химически связанный с поверхностью капилляра силикагель.
Рис. 2. Хроматограммы смеси углеводородов С1 – С5 на колонках с сорбентом на основе силикагеля: (а) колонка GS-GasPro 30 м × 0.32 мм; Т = 60°C, Р = 0.6 бар; (б) колонка Si-025 15 м × 0.25 мм; Т = 60°C, Р = 2.5 бар; (в) колонка Si-032 30 м × 0.32 мм; Т = 70°C, Р = 2.5 бар; (г) колонка Si-053 30 м × 0.32 мм; Т = 70°C, Р = 1.6 бар. Газ-носитель – гелий. Детектор – пламенно-ионизационный; 1 – метан, 2 – этан, 3 – этилен, 4 – ацетилен, 5 – пропан, 6 – пропилен, 7 – изобутан, 8 – н-бутан, 9 – бутен-1, 10 – бутадиен-1,3, 11 – транс-бутен-2, 12 – изобутен, 13 – цис-бутен-2, 14 – изопентан.
Подробнее рассмотрим разделение группы непредельных углеводородов С4 на колонках GS-GasPro и Si-025 (рис. 3). Чаще всего возникают проблемы с разделением некоторых компонентов данной группы. Обычно пик бутена-1 хорошо отделен от остальной группы пиков. Далее близко друг от друга элюируются бутадиен-1,3, транс-бутен-2, изобутен и цис-бутен-2. В этой же группе пиков обычно присутствует изопентан, примеси которого можно найти во фракции углеводородов С1–С4.
Рис. 3. Разделение углеводородов С4 – С5 а) на колонке GS-GasPro и б) на колонке Si-025. Нумерация пиков и условия хроматографирования – см. рис 2.
Разделение группы непредельных углеводородов C4 на колонке GS-GasPro представлено на рис. 3а. На фрагменте хроматограммы можно видеть две пары плохо разделенных компонентов. Это транс-бутен-2/изобутен и цис-бутен-2/изопентан. При малых загрузках (до 12 нг) фактор разрешения R для пары пиков транс-бутен-2/изобутен равен 1. При больших загрузках разрешение данных пиков становится неудовлетворительным (см. табл. 2). Пару пиков цис-бутен-2/изопентан не удается разделить даже при малых загрузках. То есть селективность по данным компонентам недостаточна для удовлетворительного разделения.
Таблица 2. Зависимость разрешения (R) пар пиков бутадиен-1,3/транс-бутен-2 и транс-бутен-2/изобутен от количества вводимой пробы для колонок GS-GasPro и Si-025
m, нг | R (бутадиен-1,3 / транс-бутен-2 | R (транс-бутен-2 / изобутен) |
Si-025 | ||
4.7 | 1.6 | 1.6 |
6.4 | 1.5 | 1.6 |
24.6 | 1.5 | 1.4 |
51.8 | 1.4 | 1.2 |
58.6 | 1.4 | 1.2 |
105.2 | 1.4 | 0.9 |
GS-GasPro | ||
6.4 | 3.7 | 1.0 |
9.0 | 3.7 | 1.0 |
12.8 | 3.6 | 1.0 |
32.4 | 3.5 | 0.9 |
64.9 | 3.3 | 0.7 |
Таким образом, для того чтобы разделить все компоненты данной смеси, необходимо, учитывая низкую загрузочную емкость и низкую селективность по паре компонентов цис-бутен-2/изопентан, повышать общую эффективность колонки. Поэтому обычно на практике используют колонки GS-GasPro длиной 60 м. Это позволяет повысить эффективность разделения, что компенсирует недостаточную селективность и низкую загрузочную емкость. Однако при этом увеличится и время разделения.
Разделение группы пиков непредельных углеводородов C4 на колонке Si-025 представлено на рис. 3б. Видно, что в отличие от колонки GS-GasPro, пара пиков транс-бутен-2/изобутен разделяется удовлетворительно. Величина фактора разрешения для данной пары пиков больше 1 при загрузках до 100 нг (см. табл. 2). Бутадиен-1,3 и транс-бутен-2 при любой величине загрузки удовлетворительно разделяются на колонке GS-GasPro (R>3). Эти же аналиты несколько хуже разделяются на колонке Si-025. Однако, как видно из табл. 2, для пары пиков бутадиен-1,3/транс-бутен-2 фактор разрешения R даже при загрузке 100 нг составляет 1.4. Кроме того, на данной колонке при любых загрузках хорошо разделяются пики цис-бутена-2 и изопентана даже при длине колонки 15 м. Разделение исследуемой смеси на колонке Si-025 занимает 10 мин (пик изопентана). На колонке GS-GasPro пик изопентана элюируется на 27 минуте. То есть на колонке Si-025 удается провести разделение почти в 3 раза быстрее. Ее загрузочная емкость при этом более, чем в 2 раза выше, чем на коммерческой колонке.
Таким образом, можно рекомендовать колонку Si-025 для быстрого разделения смеси углеводородов С1–С4 вместо широко используемой колонки GS-GasPro. Колонку Si-053 можно использовать для разделения компонентов, концентрация которых в пробе велика. Благодаря высокой загрузочной емкости данная колонка может использоваться с детектором по теплопроводности.
Sobre autores
Ю. Патрушев
ФИЦ “Институт катализа им. Г. К. Борескова Сибирского отделения РАН”; Новосибирский государственный унивеситет
Autor responsável pela correspondência
Email: patrush@catalysis.ru
Rússia, 630090 Новосибирск; 630090 Новосибирск
Ж. Хамидов
Новосибирский государственный университет
Email: patrush@catalysis.ru
Rússia, 630090 Новосибирск
Bibliografia
- Seferovic W., Hinshaw J.V., Ettre L.S. // J. Chromatogr. Sci. 1986. V. 24. P. 374. https://doi.org/10.1093/chromsci/24.9.374.
- Ueta I., Takahashi K., Saito Y. // Anal. Sci. 2012. V. 28. P. 953. https://doi.org/10.2116/analsci.28.953.
- Oden K., de Zeeuw J. // North America: Chromatography Online. 2022. V. 40. № 6. P. 248. https://doi.org/10.56530/lcgc.na.uw7875j1
- Ji Z., Majors R.E., Guthrie E.J. // J. Chromatogr. A. 1999. V. 842. P. 115. https://doi.org/10.1016/S0021-9673(99)00126-0
- Патрушев Ю.В., Николаева О.А., Сидельников В.Н. // Журн. физ. химии. 2017. № 4. С. 730. https://doi.org/10.7868/S0044453717040227.
- [Patrushev Y.V., Nikolaeva O.A., Sidelnikov V.N. // Russ. J. Phys. Chem. A. 2017. V. 91. № 4. P. 776.] https://doi.org/10.1134/S0036024417040203.
- Патрушев Ю.В., Сидельников В.Н., Ковалев М.К., Мельгунов М.С. // Журн. физ. химии. 2008. Т. 82. С. 1355.
- [Patrushev Y.V., Sidel’nikov V.N., Kovalev M.K., Mel’gunov M.S. // Russ. J. Phys. Chem. A. 2008. V. 82. № 7. P. 1202.] https://doi.org/10.1134/S0036024408070261
Arquivos suplementares





