Влияние природы промотированных циркониевых носителей на каталитическое поведение катализаторов на основе Rh в реакции раскрытия циклогексана в н-гексан
- Авторы: Картавова К.Е.1, Машкин М.Ю.1,2, Калмыков К.Б.1, Капустин Г.И.2, Ткаченко О.П.2, Мишин И.В.2, Дунаев С.Ф.1, Кустов А.Л.1,2
-
Учреждения:
- Московский государственный университет им. М.В. Ломоносова
- Институт органической химии им. Н.Д. Зелинского РАН
- Выпуск: Том 98, № 4 (2024)
- Страницы: 31-41
- Раздел: ХИМИЧЕСКАЯ КИНЕТИКА И КАТАЛИЗ
- Статья получена: 10.11.2024
- Статья одобрена: 10.11.2024
- Статья опубликована: 10.11.2024
- URL: https://journals.rcsi.science/0044-4537/article/view/269384
- DOI: https://doi.org/10.31857/S0044453724040041
- EDN: https://elibrary.ru/QFJCAE
- ID: 269384
Цитировать
Полный текст
Аннотация
В связи с ростом спроса на энергию возникает необходимость поиска источников дополнительных видов топлива. Возможным вариантом решения данной проблемы является использование смесей дизельного топлива с легким газойлем, при этом требуется соответствие стандартам по цетановому числу. Перспективным для решения данной задачи представляется процесс раскрытия кольца циклических углеводородов. В данной работе катализаторы на основе родия с циркониевыми носителями, допированными добавками других, стабилизирующих поверхность оксида циркония оксидов (SiO2, TiO2, WO3, Y2O3, La2O3), синтезированы и охарактеризованы методом низкотемпературной адсорбции-десорбции азота; проведены рентгенофазовый анализ и сканирующая электронная микроскопия с энергодисперсионным анализом, ИК-спектроскопией диффузного отражения с CD3CN в качестве молекулы-зонда, а также каталитические исследования в реакции раскрытия кольца циклогексана. Катализатор Rh/ZrO2-TiO2 является наиболее селективным по отношению к н-гексану (77 %) при температуре 300 °C. Образец Rh/ZrO2-SiO2 обладал наибольшей производительностью по отношению к н-гексану: достигнутый выход составил 6.6 ммольн-гексана гкат−1 ч−1.
Ключевые слова
Полный текст
ВВЕДЕНИЕ
Поскольку потребность в ископаемом топливе в последние десятилетия значительно возросла [1], перспективным представляется смешивание дизеля и легкого газойля. Эта фракция подходит по количеству атомов углерода, но не соответствует стандартам из-за низкого цетанового числа (требуемое цетановое число не менее 47) и по содержанию полиароматических продуктов. Гидрирование полиароматических соединений до нафтеновых не решает проблемы низких цетановых чисел, хотя и снижает содержание полиароматики в смеси. Возможным решением проблемы может стать раскрытие циклических углеводородов до линейных [2], поскольку чем больше линейных алканов в смеси, тем выше цетановое число [3]. Изоалканы менее предпочтительны по сравнению с линейными алканами, поскольку они не позволяют эффективно изменять цетановое число до необходимых значений [4]. Для раскрытия нафтеновых колец до н-алканов необходимо создать соответствующий высокоактивный и селективный катализатор.
Для исследования процесса раскрытия цикла могут быть использованы различные циклические углеводороды: декалин, тетралин, пергидроиндан, метилциклогексан и т.д. [5]. В качестве модельной реакции раскрытия кольца можно использовать раскрытие циклогексана в н-гексан [6–9], поскольку молекула циклогексана является простейшим алициклическим углеводородом, обладающим приемлемой стабильностью. Реакция раскрытия кольца протекает на монофункциональных кислотных катализаторах, металлических катализаторах, осажденных на кислом или некислом носителе (с образованием бифункциональных или монофункциональных металлических катализаторов соответственно) [10]. Среди предложенных механизмов реакции бифункциональный механизм раскрытия цикла представляется оптимальным для улучшения качества топливной смеси из-за достаточно высокой активности и селективности по продуктам раскрытия цикла и более низкой селективности к изомеризации и гидрокрекингу [11].
Предпринимались попытки использовать каталитические системы на основе неблагородных металлов [2, 12], однако наиболее активными и селективными до сих пор остаются катализаторы на основе благородных металлов. Среди них родий, рутений и платина являются наиболее активными, причем высокоселективными по отношению к линейным алканам оказались катализаторы на основе родия [6, 9].
Обычно в данной реакции применяются катализаторы на основе традиционных носителей, таких как цеолиты, пористые оксиды алюминия, кремния, титана [13–15] Сообщалось об успешном применении силикагеля SBA-15 [16]. В процессе реакции важную роль играют как кислотные центры носителя, так и металлические центры [17]. Сообщается, что кислотные центры средней силы способствуют процессу раскрытия кольца, изомеризации и крекингу [9, 18], но процесс крекинга играет значительную роль в том случае, когда в цеолите присутствуют сильные кислотные центры [18].
Целью данной работы являлась оценка влияния различных носителей на основе диоксида циркония, промотированных другими оксидами, на каталитическое поведение родийсодержащих катализаторов на их основе в модельной реакции раскрытия кольца циклогексана.
ЭКСПЕРИМЕНТАЛЬНАЯ ЧАСТЬ
Материалы и методы. При приготовлении катализаторов использовались следующие материалы: коммерчески доступные носители фирмы Saint-Gobain: ZrO2 допированный SiO2 (далее SiZrO2) оксидом ландана (LaZrO2), иттрия (YZrO2), вольфрама (WZrO2), титана (TiZrO2). В качестве прекурсора Rh использовали (NH4)3RhCl6×H2O производства фирмы Alfa Aesar, размер частиц катализатора составлял 0.25–0.5 мм.
Нанесение Rh проводили методом пропитки избытком раствора указанной соли в дистиллированной воде для получения образцов с соотношением mRh/(mRh+mноситель)= 0.01. Затем полученные образцы сушили при 90 °C в течение 3 ч и прокаливали при 550 °C в течение 4 ч. Перед каталитическими испытаниями образцы восстанавливали водородом в реакторе (50 мл/мин, p = 40 атмосфер, 450 °C) в течение 3 ч. Полученные образцы обозначены как 1Rh/XZrO2, где X — допирующий компонент (La, Y, W, Ti).
Анализ текстурных характеристик катализаторов проводили путем анализа изотерм адсорбции-десорбции N2, измеренных при 77 К на приборе ASAP 2020 Plus (Micromeritics, США). Для определения удельной площади поверхности и пористости по изотермам адсорбции-десорбции использовались методы БЭТ, БДХ и метод t-графика. Перед адсорбцией N2 образцы вакуумировали при 300 °C при давлении 10−5 Торр в течение 4 ч.
СЭМ-микрофотографии и ЭДС-спектры были получены с помощью электронного микроскопа LEO EVO 50 XVP (Karl Zeiss) с энергодисперсионным спектрометром INCA-Energy 350 (Oxford Instruments).
DRIFT-спектры регистрировали на спектрометре NICOLET Protege 460, оснащенном приставкой диффузного отражения, разработанной в Институте органической химии имени Н.Д. Зелинского [3], при комнатной температуре. Диапазон волновых чисел составлял 6000–400 см−1 с шагом 4 см−1. Количество спектров составляло 500 для получения соответствующего отношения сигнал/шум. Перед регистрацией спектров образцы нагревали до 400 °С и выдерживали при давлении 10−3 Торр в течение 2 ч, скорость нагрева составляла 5 °С/мин. В качестве молекулы-зонда использовали CD3CN. Адсорбцию CD3CN проводили при комнатной температуре и давлении насыщенных паров 96 Торр. Интенсивности полос поглощения определялись в единицах Кубелки–Мунка. В качестве стандарта использовали порошок CaF2. Регистрация и обработка спектров проводились с помощью программы OMNIC.
Рентгеновскую дифракцию проводили на образцах после прокаливания, использовали дифрактометр ARL X’TRA (Thermo Fisher Scientific) с излучением Cu Ka со скоростью сканирования 1.2° в минуту в диапазоне 10<2θ<70°. Для идентификации использовали данные базы ICCD.
Каталитическую реакцию раскрытия кольца циклогексана проводили при температурах в интервале 275–350 °С и давлении 40 атм. Реакционная смесь состояла из 0.0170 мл/мин жидкого циклогексана (испаряемого в реакторе) и водорода (50 мл/мин). Загрузка катализатора составляла 0.3 см3. Состав реакционной смеси анализировали в режиме online с помощью газового хроматографа «Хроматэк Кристалл 5000» с пламенно-ионизационным детектором, оснащенным колонкой ZB-1 60 м × 0.32 мм. Селективность по н-гексану (S) рассчитывали по формуле: S = nн-гексан / (nн-гексан + Σni), где ni — количество молей каждого продукта реакции, исключая н-гексан.
ОБСУЖДЕНИЕ РЕЗУЛЬТАТОВ
Низкотемпературная адсорбция-десорбция N2
Результаты низкотемпературной адсорбции-десорбции N2 (риc. 1) показали, что все образцы носителей имеют близкие и относительно большие удельные площади поверхности – около 100 м2г−1. В то же время пористость образцов различна и уменьшается в следующем порядке: 1Rh/TiZrO2 > 1Rh/SiZrO2 > 1Rh/LaZrO2 > 1Rh/YZrO2 > 1Rh/WZrO2. Все образцы, кроме 1Rh/TiZrO2, демонстрируют мономодальное распределение пор по размерам с максимумами распределения при 5–6 нм, в то время как 1Rh/TiZrO2 имеет бимодальное распределение пор по размерам с двумя максимумами при 3 и 10 нм, причем само распределение по размерам оказалось гораздо более широким. Положение максимумов несколько увеличивается для образцов 1Rh/XZrO2 в следующем порядке, где X: W > Si > La > Y.
Рис. 1. Распределение пор по размерам для нанесенных катализаторов: а) 1Rh/SiZrO2, 1Rh/YZrO2, 1Rh/WZrO2, 1Rh/LaZrO2; б) 1Rh/TiZrO2
Таким образом, за исключением 1Rh/TiZrO2, образцы катализаторов имеют близкие текстурные характеристики (табл. 1) и отличаются положением максимума мономодального распределения. Для образца 1Rh/TiZrO2 наблюдается максимум в области еще больших пор, однако все поры также являются мезопорами (т.е. лежат в диапазоне диаметров 2–50 нм [19]).
Таблица 1. Текстурные характеристики катализаторов с 1 мас. % Rh, полученные методами БДХ и БЭТ
Образец | AБЭТ, м2г−1 | Vобщ, см3г−1 | Vмезо, см3г−1 |
1Rh/SiZrO2 | 121 | 0.25 | 0.25 |
1Rh/WZrO2 | 112 | 0.187 | 0.18 |
1Rh/LaZrO2 | 101 | 0.23 | 0.22 |
1Rh/YZrO2 | 97 | 0.22 | 0.22 |
1Rh/TiZrO2 | 87 | 0.28 | 0.27 |
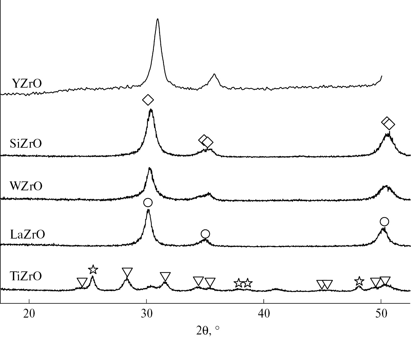
Рентгенофазовый анализ. На дифрактограммах образцов родийсодержащих катализаторов (рис. 2) наблюдаются исключительно фазы, относящиеся к носителям. Допирующие добавки и родий не видны как отдельные фазы, за исключением оксида циркония с оксидом титана: в этом случае наблюдается образование фазы анатаза. Образцы с носителями ZrO2 и WZrO2 демонстрируют только широкие рефлексы фазы тетрагонального диоксида циркония, образец LaZrO2 – фазу кубического диоксида циркония, а образец TiZrO2 – фазы кубического диоксида циркония, бадделеита и анатаза, согласно базе данных IСDD.
Рис. 2. Дифрактограммы образцов родийсодержащих катализаторов. Символами обозначены позиции рефлексов баз из базы ICDD: ∇ — бадделеит [00-037-1484], ◊ — тетрагональный диоксид циркония [00-050-1089], ○ — кубический диоксид циркония [00-049-1642], ∗ — анатаз [00-021-1272]
Расчет размеров кристаллитов по уравнению Шеррера показывает их совпадение для образцов 1Rh/SiZrO2 и 1Rh/WZrO2 на 16 нанометрах, в то время как в образце с носителем, допированным оксидом лантана, размер кристаллитов был оценен в 20 нм.
В случае образцов, для которых допирующие добавки не демонстрируют рефлексы индивидуальных фаз, частицы этих оксидов распределены по объему образца в виде аморфной фазы, возможно, с очень мелкими частицами. Можно предложить и другое объяснение, основанное на встраивании легирующих элементов в структуру оксида циркония, однако из-за большой ширины пиков утверждать этого достоверно нельзя.
СЭМ-РСМА. Все образцы носителей исследовали методом сканирующей электронной микроскопии. Для всех образцов поверхность частиц выглядит гомогенной, однако состав поверхности на различных участках для одного и того же образца несколько различается.
В энергодисперсионных спектрах (рис. 3) для образца оксида циркония обнаружено присутствие оксида кремния в небольших количествах. Мольное соотношение Zr/X, где X — второй компонент смешанного носителя, для исследованных поверхностей меняется следующим образом (усредненная величина): SiZrO2(19.7) ≈ YZrO2(19.5) > LaZrO2(12.0) > WZrO2(11.0) > TiZrO2(0.8). Таким образом, образцы имеют различный поверхностный состав как по виду допирующего оксида, так и по его содержанию. В случае образца, где вторым компонентом является оксид титана, наблюдаемое его количество на поверхности превышает количество оксида циркония.
Рис. 3. Энергодисперсионные спектры, микрофотографии СЭМ и элементный состав по областям для образцов носителей на основе диоксида циркония: SiZrO2 (а), YZrO2 (б), TiZrO2 (в), WZrO2 (г), LaZrO2 (д)
ИК-спектроскопия диффузного отражения. Все образцы нанесенных родийсодержащих катализаторов были исследованы методом ИК-спектроскопии диффузного отражения с использованием дейтерированного ацетонитрила в качестве тестовой молекулы. Спектры образцов после термовакуумной обработки, после адсорбции CD3CN и разностные кривые представлены на рис. 4. Во всех случаях наблюдается наличие нескольких полос поглощения; отнесение полос к конкретным типам связей приведено в табл. 2.
Рис. 4. ИК-спектры диффузного отражения образцов катализаторов: 1Rh/SiZrO2 (а), 1Rh/YZrO2 (б), 1Rh/TiZrO2 (в), 1Rh/WZrO2 (г), 1Rh/LaZrO2 (д) в области гидроксильных групп. Сплошные линии – после вакуумной обработки при 400 °С, пунктирные линии – после адсорбции CD3CN. Нижний ряд – разностные кривые
Таблица 2. Отнесение полос в ИК-спектрах диффузного отражения в области OH-групп
Образец | Частота, см−1 | Тип связи | Ссылки |
1Rh/SiZrO2 | 3765 3739 3668 | Zr4+–ОН линейные изолированные Si–OH изолированные (Zr4+)2;3–OH мостиковые или Si–ОН-группы, связанные водородной связью | [20–25] |
1Rh/YZrO2 | 3767 3664 | Zr4+–ОН линейные изолированные (Zr4+)2;3–OH мостиковые * | то же |
1RhTiZrO2 | 3763 3735 3714 (плечо) 3668 | Zr4+–ОН линейные изолированные Zr4+–ОН изогнутые изолированные Ti4+–OH линейные суперпозиция мостиковых ОН-групп ZrO2, TiO2 | |
1Rh/WZrO2 | 3740 3652 3601 | Zr4+–ОН линейные изолированные ОН-группы ZrO2 мостиковые поверхностные ОН-группы WO3 | |
1Rh/LaZrO2 | 3767 3664 | суперпозиция поверхностных ОН-групп ZrO2 и La2O3 (линейные и мостиковые) |
* Обе полосы могут являться суперпозицией поверхностных ОН-групп ZrO2 и Y2O3 (для оксида иттрия ОН-группы находятся в диапазоне 3706–3675 см−1 [21, 37, 41, 42]).
Анализ спектров образцов до и после адсорбции дейтероацетонитрила показывает, что для всех образцов, за исключением 1Rh/ZrO2, сдвига полос поглощения при адсорбции ацетонитрила-d3 не наблюдается, что свидетельствует об отсутствии бренстедовской кислотности. В случае образца 1Rh/ZrO2 в спектре появляется новая широкая полоса с максимумом при 3550 см−1 и, таким образом, наблюдается сдвиг частоты колебания ОН-группы при адсорбции CD3CN, равный 215 см−1, характерный для слабых бренстедовских кислотных центров. Однако в спектре не обнаружена полоса в районе частот колебаний С≡N-связи, характерных для этих центров. Присутствие колебаний связи Si-OH согласуется с данными РСМА о наличии в образце ZrO2 небольших количеств SiO2.
На рис. 5 приведены ИК-спектры диффузного отражения в области частот валентных колебаний СN связей в CD3CN. Для всех образцов наблюдается уменьшение полосы ~2300 см−1, характерной для этих колебаний, при вакуумировании при комнатной температуре. Также данная полоса сохраняется при вакуумировании образцов при нагревании до 100 °С. Отнесение частот к кислотным центрам представлено в табл. 3.
Рис. 5. ИК-спектры диффузного отражения образцов родийсодержащих катализаторов: 1Rh/SiZrO2 (а), 1Rh/YZrO2 (б), 1Rh/TiZrO2 (в), 1Rh/WZrO2 (г), 1Rh/LaZrO2 (д) в условиях адсорбции-десорбции CD3CN (96 ммHg) (точечная линия), вакуумированных при 20 °C (черная кривая) и при 100 °C (серая кривая)
Таблица 3. Сдвиги полос валентных колебаний СN-групп при взаимодействии с CD3CN и голубой сдвиг валентных колебаний n CºN по сравнению с частотой в газовой фазе (2253 см−1) [43]
Образец | Частота, см−1 | Голубой сдвиг, см−1 | Отнесение | Ссылки |
1Rh/SiZrO2 | 2301 | 48 | ЛКЦ (координационно-ненасыщенные катионы Zr4+) | |
1Rh/YZrO2 | 2301 | 48 | ЛКЦ (координационно-ненасыщенные катионы Zr4+ и Y3+) | |
1RhTiZrO2 | 2303 | 50 | ЛКЦ (координационно-ненасыщенные катионы Zr4+ и Ti4+) | |
1Rh/WZrO2 | 2305 | 52 | ЛКЦ (координационно-ненасыщенные катионы Zr4+) | |
1Rh/LaZrO2 | 2286 2305 (плечо) | 33 (на La3+) 52 (на Zr4+) | * ЛКЦ (координационно-ненасыщенные катионы Zr4+ и La3+) |
Обозначения: ЛКЦ – льюисовские кислотные центры. Полоса при 2110 см−1 относится к деформационным колебаниям С–D-связей в СD3-группе. * Отнесение обосновано в том числе отсутствием сдвига в спектре колебаний ОН-групп (рис. 4, табл. 2).
Все образцы демонстрируют присутствие льюисовских кислотных центров одинаковой силы (с учетом шага регистрации спектров 4 см−1). Сдвиг полосы δ C≡N на образцах также отличается незначительно и составляет 48–52 см−1.
Каталитические испытания
Все нанесенные катализаторы на основе родия были изучены в реакции раскрытия кольца циклогексана; результаты приведены на рис. 6. По конверсии циклогексана образцы образуют следующий ряд по убыванию: 1Rh/LaZrO2 ≥1Rh/YZrO2 > 1Rh/SiZrO2 > 1Rh/WZrO2 > 1Rh/TiZrO2. По селективности по н-гексану значительно лучше других проявил себя образец 1Rh/TiZrO2. Следующим, но значительно менее селективным является образец 1Rh/SiZrO2. Сравнение образцов с точки зрения получаемого выхода н-гексана показывает, что наиболее перспективным в этом отношении является образец 1Rh/SiZrO2.
Рис. 6. Результаты каталитических испытаний нанесенных родиевых катализаторов с различными носителями в реакции раскрытия циклогексана в н-гексан
Таким образом, несмотря на то что наибольшую селективность по целевому продукту показывает образец 1Rh/TiZrO2, из-за низкой конверсии циклогексана выход по н-гексану оказывается небольшим. В области более высоких температур соотношение производительностей образцов меняется, и при 350 °С наибольший выход демонстрирует образец 1Rh/TiZrO2, что обусловлено ростом конверсии при умеренном падении селективности по н-гексану.
ВЫВОДЫ
В рамках подходов к решению проблемы низких цетановых чисел смесей легкого газойля и дизеля путем раскрытия колец циклических углеводородов была синтезирована серия родиевых катализаторов с 1 масс. % родия. При этом варьировали состав носителей: использовали смешанные коммерчески доступные носители фирмы Saint Gobain на основе диоксида циркония. Изучены их текстурные характеристики методом низкотемпературной адсорбции-десорбции азота, при этом показано, что удельная поверхность образцов убывает в следующем ряду: 1Rh/SiZrO2 > 1Rh/WZrO2 > 1Rh/LaZrO2 > 1Rh/YZrO2 > 1Rh/TiZrO2. При этом даже на образцах с наименьшей удельной поверхностью ее величины остаются достаточно большими: все образцы имеют поверхности в диапазоне 90–120 м2г−1. По данным рентгеноспектрального микроанализа поверхности мольное соотношение Zr/X, где X – второй компонент смешанного носителя, для исследованных поверхностей меняется следующим образом (усредненная величина): SiZrO2(19.7) ≈ YZrO2(19.5) > LaZrO2(12.0) > WZrO2(11.0) > TiZrO2(0.8). По итогам изучения каталитических зависимостей в реакции раскрытия циклогексана в н-гексан катализатор Rh/TiZrO2 является наиболее селективным по отношению к н-гексану (77 %) при 300 °C. Образец Rh/SiZrO2 оказался наиболее продуктивным по отношению к н-гексану: достигнутый выход составил 6.6 ммольн-гексана гкат−1 ч−1.
ФИНАНСИРОВАНИЕ РАБОТЫ
Авторы благодарны Министерству науки и высшего образования Российской Федерации за финансовую поддержку исследований (Соглашение № 075-15-2023-585).
Об авторах
К. Е. Картавова
Московский государственный университет им. М.В. Ломоносова
Автор, ответственный за переписку.
Email: kyst@list.ru
Россия, Москва
М. Ю. Машкин
Московский государственный университет им. М.В. Ломоносова; Институт органической химии им. Н.Д. Зелинского РАН
Email: kyst@list.ru
Россия, Москва; Москва
К. Б. Калмыков
Московский государственный университет им. М.В. Ломоносова
Email: kyst@list.ru
Россия, Москва
Г. И. Капустин
Институт органической химии им. Н.Д. Зелинского РАН
Email: kyst@list.ru
Россия, Москва
О. П. Ткаченко
Институт органической химии им. Н.Д. Зелинского РАН
Email: kyst@list.ru
Россия, Москва
И. В. Мишин
Институт органической химии им. Н.Д. Зелинского РАН
Email: kyst@list.ru
Россия, Москва
С. Ф. Дунаев
Московский государственный университет им. М.В. Ломоносова
Email: kyst@list.ru
Россия, Москва
А. Л. Кустов
Московский государственный университет им. М.В. Ломоносова; Институт органической химии им. Н.Д. Зелинского РАН
Email: kyst@list.ru
Россия, Москва; Москва
Список литературы
- Lu Y., Shao M., Zheng C. et al. // Atmos. Environ. 2020. V. 231. P. 117536.
- Moraes R., Thomas K., Thomas S. et al. // J. Catal. 2012. V. 286. P. 62.
- Wei Y.-J., Zhang Y.-J., Zhu X.-D. et al. // Appl. Sci. 2022. V. 12. № 7. P. 3549.
- Guan C., Zhai J., Han D. // Fuel. Elsevier. 2019. V. 249. P. 1.
- McVicker G.B., Daage M., Touvelle M.S. et al. // J. Catal. 2002. V. 210. № 1. P. 137.
- Kustov L.M., Vasina T.V., Masloboishchikova O.V. et al. // Stud. Surf. Sci. Catal. 2000. V. 130. P. 227.
- Vasina T.V., Masloboishchikova O.V., Khelkovskaya-Sergeeva E.G. et al. // Russ. Chem. Bull. 2002. V. 51. № 2. P. 242.
- Masloboishchikova O.V., Vasina T.V., Khelkovskaya-Sergeeva E.G. et al. // Russ. Chem. Bull. 2002. V. 51. № 2. P. 237.
- Kartavova K.E., Mashkin M.Y., Kostin M.Y. et al. // Nanomaterials. 2023. V. 13. № 5. P. 936.
- Calemma V., Ferrari M., Rabl S., Weitkamp J. // Fuel. 2013. V. 111. P. 763.
- Liu Y.J., Liang Z.H., Liu X., Yuan L.J. // Ranliao Huaxue Xuebao / Journal Fuel Chem. Technol. 2022. V. 50. № 5. P. 576.
- Chandra Mouli K., Dalai A.K. // Appl. Catal. A Gen. 2009. V. 364. P. 80.
- Vicerich M.A., Benitez V.M., Especel C. et al. // Appl. Catal. A Gen. 2013. V. 453. P. 167.
- Zhu X., Zhou Q., Xia Y. et al. // J. Mater. Sci. Mater. Electron. 2021. V. 32. № 16. P. 21511.
- Zhu X., Wang J., Yang D. et al. // RSC Adv. 2021. V. 11. № 44. P. 27257.
- Mouli K.C., Choudhary O., Soni K., Dalai A.K. // Catal. Today. 2012. V. 198. № 1. P. 69.
- Kustov L.M., Stakheev A.Y., Vasina T.V. et al. // Studies in Surface Science and Catalysis. 2001. V. 138. P. 307.
- Kustov L.M., Kustov A.L. // Russ. J. Phys. Chem. A. 2020. V. 94. № 2. P. 317.
- Thommes M., Kaneko K., Neimark A.V. et al. // Pure Appl. Chem. 2015. V. 87. № 9–10. P. 1051.
- Hadjiivanov K. // Adv. Catal. 2014. V. 57. P. 99.
- Köck E.M., Kogler M., Götsch T. et al. // Dalt. Trans. 2017. V. 46. № 14. P. 4554.
- Ouyang F., Kondo J.N., Maruya K., Domen K. // J. Chem. Soc. Faraday Trans. 1996. V. 92. № 22. P. 4491.
- Tsyganenko A.A., Filimonov V.N. // Spectrosc. Lett. 1972. V. 5. № 12. P. 477.
- Tsyganenko A.A., Filimonov V.N. // J. Mol. Struct. 1973. V. 19. № 2. P. 579.
- Ivanov A. V., Kustov L.M. // Russ. Chem. Bull. 2000. V. 49. № 1. P. 39.
- Medin A.S., Borovkov V.Y., Kazansky V.B. et al. // Zeolites. 1990. V. 10. № 7. P. 668.
- Dessau R. // J. Catal. 1987. V. 104. № 2. P. 484.
- Knözinger H., Huber S. // J. Chem. Soc. Faraday Trans. 1998. V. 94. № 15. P. 2047.
- Pelmenschikov A.G., van Santen R.A., Janchen J., Meijer E. // J. Phys. Chem. 1993. V. 97. № 42. P. 11071.
- Bräuer P., Ng P.L., Situmorang O. et al. // RSC Adv. 2017. V. 7, № 83. P. 52604.
- Kustov L.M. // Top. Catal. 1997. V. 4. № 1–2. P. 131.
- Davydov A. Molecular Spectroscopy of Oxide Catalyst Surfaces. Wiley Interscience Publ. Wiley, 2003. 466 p.
- Jung K.-D., Bell A.T. // J. Catal. 2000. V. 193. № 2. P. 207.
- Tsyganenko A.A., Filimonov V.N. // Spectrosc. Lett. 1972. V. 5. № 12. P. 477.
- Ivanov A.V., Kustov L.M., Kazanskii V.B. // Kinet. Catal. 1997. № 38. P. 432.
- Gotić M., Ivanda M., Popović S., Musić S. // Mater. Sci. Eng. B. 2000. V. 77. № 2. P. 193.
- Marikutsa A., Yang L., Rumyantseva M. et al. // Sensors Actuators B Chem. 2018. V. 277. P. 336.
- Manoilova O.V., Podkolzin S.G., Tope B. et al. // J. Phys. Chem. B. 2004. V. 108. № 40. P. 15770.
- Sperling B.A., Maslar J.E., Ivanov S.V. // J. Vac. Sci. Technol. A Vacuum, Surfaces, Film. 2018. V. 36. № 3. P. 031513.
- Nieminen M., Putkonen M., Niinistö L. // Appl. Surf. Sci. 2001. V. 174. № 2. P. 155.
- Kannan S.K., Sundrarajan M. // Bull. Mater. Sci. 2015. V. 38. № 4. P. 945.
- Hadjiivanov K.I., Panayotov D.A., Mihaylov M.Y. et al. // Chem. Rev. 2021. V. 121. № 3. P. 1286.
- Purcell K.F., Drago R.S. // J. Am. Chem. Soc. 1966. V. 88. № 5. P. 919.
- Chakarova K., Strauss I., Mihaylov M. et al. // Microporous Mesoporous Mater. 2019. V. 281. P. 110.
- Ragon F., Campo B., Yang Q. et al. // J. Mater. Chem. A. 2015. V. 3. № 7. P. 3294.
- Guillerm V., Ragon F., Dan-Hardi M. et al. // Angew. Chemie. Int. Ed. 2012. V. 51. № 37. P. 9267.
- Fu G., Bueken B., De Vos D. // Small Methods. 2018. V. 2. № 12. P. 1.
- Devic T., Wagner V., Guillou N. et al. // Microporous Mesoporous Mater. 2011. V. 140. № 1. P. 25.
Дополнительные файлы









