ВЧИ–плазменная модификация поверхностных слоев стали 12Х18Н10Т
- Authors: Виноградова С.С.1, Шаехов M.Ф.1, Денисов A.Е.1
-
Affiliations:
- Казанский национальный исследовательский технологический университет
- Issue: Vol 60, No 1 (2024)
- Pages: 57-66
- Section: НОВЫЕ ВЕЩЕСТВА, МАТЕРИАЛЫ И ПОКРЫТИЯ
- URL: https://journals.rcsi.science/0044-1856/article/view/260921
- DOI: https://doi.org/10.31857/S0044185624010063
- EDN: https://elibrary.ru/OOOGEP
- ID: 260921
Cite item
Full Text
Abstract
Проведены исследования оценки влияния ВЧИ–плазменной обработки на коррозионную стойкость стали 12Х18Н10Т. Установлено, что время обработки при азотировании можно ограничить 60 мин, т.к. при одинаковых режимах обработки с увеличением времени твердость поверхностного слоя увеличивается (в среднем до 5000 Мпа), а при дальнейшем увеличении времени остается на постоянном уровне. ВЧИ–плазменная обработка образцов в ряде режимов показала высокую коррозионную стойкость. У них меньше, чем у исходного образца, плотность тока пассивации и положительный стационарный потенциал.
Full Text
ВВЕДЕНИЕ
Методы обработки поверхности играют ключевую роль в поведении локальной коррозии нержавеющих сталей, т.к. возникновение питтинговой коррозии зависит от качества поверхности нержавеющих сталей: гладкие поверхности с однородным пассивным слоем обладают лучшей коррозионной стойкостью [1]. Вопросы модификации поверхности стали очень актуальны, поскольку свойства поверхности обычно неудовлетворительны с точки зрения смачиваемости, адгезии, коррозионной стойкости [2, 3]. Состояние поверхности нержавеющих сталей является одним из ключевых параметров, определяющих склонность к питтинговой коррозии [4].
Для модификации металлов и сплавов используют различные методы обработки, такие как химическое и физическое осаждение из паровой фазы, химическое травление, электроосаждение или нанесение из неравновесных газовых сред, особенно газовой плазмы [5‒9]. Хотя данные методы модификации широко изучались, однако механизмы взаимодействия между реакционноспособными газообразными частицами и твердыми материалами все еще недостаточно поняты [10]. Ключом к правильному выбору методов модификации поверхности является определение требований к производительности для данной системы материалов с модифицированной поверхностью [11].
Технология низкотемпературной плазмы (ТНП) стала центром исследований благодаря высокой эффективности, низкому энергопотреблению, простоте эксплуатации, снижению продолжительности обработки поверхности [12‒15]. В соответствии с классификацией газовые разряды можно разделить на коронный разряд, диэлектрический барьерный разряд, скользящий дуговой разряд, тлеющий разряд, микроволновый разряд и ВЧ-разряд [16]. Только диэлектрический барьерный разряд и коронный разряд могут создавать низкотемпературную плазму при нормальной температуре и давлении [13].
Технология ТНП претерпела серьезные изменения от исследования космической плазмы в начале 1960-х годов до исследований, ориентированных на материалы, в 1980-х и 1990-х годах. В последние десятилетия исследования в области плазменных технологий были очень активными, предоставляя новую технологию, новый метод и новый процесс для синтеза новых веществ, новых материалов и борьбы с загрязнением окружающей среды [17].
В работе [18] предпринята попытка низкотемпературного азотирования аустенитной нержавеющей стали AISI 316L с использованием лабораторной печи с псевдоожиженным слоем. Результаты показали, что процесс в псевдоожиженном слое может быть использован для получения азотированного слоя без осаждения, характеризующегося S-фазой или расширенным аустенитом, на аустенитной нержавеющей стали при температурах ниже 500°C. Коррозионные свойства азотированных поверхностей значительно отличаются от тех, о которых сообщалось ранее при азотировании низкотемпературной плазмой. Эта аномалия объясняется образованием продуктов окисления железа и загрязнением поверхности во время псевдоожиженного процесса.
В работе [19] исследованы характеристики износа при скольжении слоев, азотированных плазмой, изготовленных из аустенитной нержавеющей стали типа AISI 316, при температурах от 450°C до 550°C. Результаты показывают, что износостойкость стали 316, азотированной плазмой, при скольжении зависит от температуры азотирования, материала поверхности и условий испытаний. Установлено, что совместная коррозионная стойкость и износостойкость стали 316 могут быть достигнуты путем плазменного азотирования при низких температурах, что обеспечивает получение тонкого и не содержащего осадков слоя с высокой твердостью.
Предложена технология низкотемпературного плазменного науглероживания для обработки поверхностей аустенитных нержавеющих сталей для достижения комбинированного улучшения износостойкости и коррозионной стойкости [20]. Полученный в результате науглероживания слой не содержит карбидных осадков и содержит единственную аустенитную фазу, перенасыщенную углеродом.
Для обработки поверхностей из аустенитных нержавеющих сталей разработан новый процесс обработки поверхности плазмой для достижения комбинированного повышения износостойкости и коррозионной стойкости [21]. Этот процесс низкотемпературного плазменного поверхностного легирования позволяет получить поверхностный слой толщиной в несколько десятков микрометров, который обладает высокой твердостью в сочетании с отличной износостойкостью и коррозионной стойкостью. Плазменное нитроуглероживание проводилось при низкой температуре для повышения поверхностной твердости аустенитной нержавеющей стали AISI 316 без снижения ее коррозионной стойкости [22].
Низкотемпературное плазменное нитроуглероживание проведено с целью изучения влияния температуры и времени обработки на микроструктуру, механические свойства и кинетику роста обработанных слоев мартенситной нержавеющей стали AISI 420 [23]. Подтверждено, что осаждение нитрида/карбида имеет тенденцию происходить при более низких температурах и времени по сравнению с низкотемпературной обработкой азотированием и науглероживанием.
Результаты экспериментов по кинетике низкотемпературного науглероживания мартенситной нержавеющей стали с помощью плазмы представлены в [24]. Результаты показывают, что низкотемпературная плазменная цементация является процессом, контролируемым диффузией.
Низкотемпературная плазменная цементация исследована с целью определения влияния газовой смеси и скорости потока на свойства поверхности образцов мартенситной нержавеющей стали AISI 420 [25]. Результаты указывают на наличие твердого и тонкого внешнего слоя и обогащенного углеродом мартенситного диффузионного слоя.
В течение последнего десятилетия разработана новая технология низкотемпературного плазменного поверхностного легирования для достижения комбинированного улучшения твердости, износостойкости и усталостных свойств аустенитных нержавеющих сталей без ухудшения их коррозионных свойств из-за образования S-фазы [26].
ЭКСПЕРИМЕНТАЛЬНАЯ ЧАСТЬ
Объектом исследования являлась сталь 12Х18Н10Т, химический состав которой (%): Fe – 69.96; Cr – 16.94; Ni – 9,9; Mn – 1.37; Ti – 0.39; Cu – 0.08; Co – 0.05; Mo – 0.05. Раствор: водная среда типа упрощенной морской воды (3% NaCl).
Режимы ВЧИ–плазменной обработки: плазмообразующий газ аргон (70%) и азот (30%). Разряжение в камере 26‒30 Па, время обработки 1 час. Модификация проводилась при варьировании мощности разряда от 1.0 до 2.0 кВт. Частота генератора 1.76 МГц.
Коррозионные испытания: испытания проводились с использованием гальваностатического и потенциодинамического метода (в соответствии с ГОСТ 9.909–86) [8]. Исследования кинетических закономерностей процессов электро- химической коррозии образцов проводились с использованием потенциодинамического метода (в соответствии с ГОСТ 9.506–87) [9].
Шероховатость образца после модификации поверхности снимали с помощью лазерного сканирующего цифрового микроскопа Olympus LEXT OLS4100 с разрешением 10 нанометров. Поляризационные кривые снимали на электрохимической рабочей станции марки ZIVE SP2.
Морфологию поверхности исследуемых образцов определяли методами растровой электронной микроскопии и оже-электронной спектроскопии в сочетании с методикой ионного травления с помощью оже-микрозонда JAMP-9500F (JEOL) (ASTM E 827-08). Режимы исследования: ускоряющее напряжение 10 кВ; ток первичного электронного пучка при записи РЭМ-изображений – 5×10–10 А, при записи оже-электронных спектров – 5×10–9 А; пространственное разрешение (диаметр электронного пучка) – не хуже 0.01 мкм; давление в аналитической камере – не более 1×10–9 мм рт. ст. (сверхвысокий вакуум).
РЕЗУЛЬТАТЫ И ИХ ОБСУЖДЕНИЕ
На первом этапе поверхность обрабатывается аргоном для выравнивания поверхности. Микроскопические исследования показали (рис. 1 а, в), что механическая обработка приводит к образованию царапин, микронеровностей и следов пластической деформации с заусенцами и рваными краями, которые формируют микрорельеф и, следовательно, увеличивает шероховатость поверхности и четко очерченные участки зон термического воздействия. Поверхность образца, обработанная низкотемпературной плазмой, выглядит однородной (рис. 1 б и г). Края заусенцев на нем оплавлены, все неровности сглажены, и нет мелких царапин. Изображение поверхности указывает на изменения в его химическом составе, возникающие в результате модификации легирующих элементов, из которых состоит карбидная фаза, в твердый раствор, что возможно только при условии его расплавления (известно, что это происходит при температуре поверхности 1050‒1110°C, что соответствует количеству тепла 100 Дж).
Рис. 1. Изображения поверхностей образцов перед испытанием на коррозию с оптическим и конфокальным (лазерным) разрешением: (а) и (в) - контрольный образец; (б) и (г) - образец, обработанный низкотемпературной плазмой (Р = 1 кВт).
В то же время взаимодействие электростатического и электромагнитного полей в блоке обработки сопровождалось образованием мощного колеблющегося слоя положительного объем- ного заряда. Шероховатость необработанных образцов по осям X и Y существенно не отличается по сравнению с образцами, обработанными плазмой (табл. 1). Для образцов, обработанных отдельно плазмообразующими газами аргоном (60 мин) и азотом (30 мин), эффективность плазменной обработки отсутствовала (табл. 2).
Таблица 1. Диапазон шероховатости образцов по осям X и Y, мкм
Режим обработки | Перед обработкой | После обработки | ||
Ось X | Ось Y | Ось X | Ось Y | |
Без обработки | 0.414–0.538 | 0.409–0.525 | – | – |
1 kW | 0.460–0.545 | 0.453–0.518 | 0.380–0.622 | 0.418–0.483 |
1.5 kW | 0.423–0.690 | 0.451–0.525 | 0.396–0.591 | 0.451–0.508 |
2 kW | 0.405–0.567 | 0.444–0.546 | 0.392–0.550 | 0.435–0.515 |
На следующем этапе проводили обработку поверхности в смеси газов аргона и азота в соотношении 70/30% (табл. 2). Гальваностатический базис питтингостойкости ΔEpc увеличился с 0.18 В до 0.25 В в случае плазменной обработки при мощности 2 кВт в разряде продолжительностью 30 мин; в других случаях он уменьшился.
Таблица 2. Результаты коррозионных испытаний
Мощность, кВ | Ecorr, В | ∆Epc, В | jcorr, мкA/см2 | %РЕ |
Контрольный образец | –0.17 | 0.18 | 1.08 | – |
Ar (60 мин) | ||||
1 | –0.08 | 0.06 | 4.25 | – |
1,5 | –0.09 | 0.06 | 2.37 | – |
2 | –0.21 | 0.25 | 1,14 | – |
N₂(60 мин) | ||||
1.5 | –0.03 | –0.13 | 3.98 | – |
2 | 0.05 | 0.05 | 2.85 | – |
Ar + N₂ (15 мин) 70/30 % | ||||
1.5 | –0.05 | 0.03 | 1.25 | – |
2 | –0.06 | 0.09 | 0.89 | 17.5 |
Ar + N₂ (30 мин) 70/30 % | ||||
1.5 | –0.04 | 0.05 | 0.98 | 9.25 |
2 | –0.01 | 0.25 | 0.71 | 34.25 |
Ar (10 мин) + N₂ (20 мин) – 70/30% | ||||
0.75 | –0.09 | 0.04 | 0.145 | 58.76 |
Ar (10 мин) + N₂ (30 мин) – 70/30% | ||||
0.75 | –0.1 | 0.07 | 0.092 | 85.19 |
Ar (10 мин) + N₂ (60 мин) – 70/30% | ||||
0.75 | –0.08 | 0.07 | 0.067 | 93.79 |
Потенциал коррозии (Ecorr) образцов, модифицированных плазмой, смещается в положительную область в смеси газов аргона и азота со значений –0.17 В до –0.06 – 0.01 В, ток коррозии (jcorr) увеличивается при мощности 1.5 кВт (режим Ar + N₂ (15 мин)) и уменьшается при 2 кВт (режим Ar + N₂ (15, 30 мин) по сравнению с контрольным образцом. Максимальная эффективность плазменной обработки составила 34.25% при P = 2 кВт.
Эффективность плазменной обработки (%PE) рассчитывали следующим образом:
×100%,
где j⁰corr ‒ плотность тока коррозии для контрольного образца, jcorr ‒ плотность тока коррозии после плазменной обработки.
Проведена гравиметрическая оценка коррозионной стойкости в растворе 0.5М NaCl. Коррозионные потери эталонного образца составили 0.0476 г/см³, а образца, обработанного при мощности разряда 2 кВт (режим Ar + N₂ (30 мин), – 0.015 г/см³.
На следующем этапе был изменен режим обработки поверхности (Ar (10 мин) + N₂ (20, 30, 60 мин)). Результаты исследования кинетических закономерностей (тафелевские участки) выявили на анодной оси устойчивую и продолжительную область пассивности для режима (Ar (10 мин) + N₂ (60 мин)) (рис. 2). После обработки поверхности происходило смещение стационарного потенциала на 0,09–0,11 В.
Рис. 2. Тафелевские участки образцов обработанных смесью газов аргон+ азот в течение 20 мин, 30 мин, 60 мин.
После азотирования в технологическом режиме ((Ar (10 мин) + N₂ (60 мин)) в образцах присутствовал нитридный слой размером до 5,8 мкм. Образовалась четкая плоская граница раздела между диффузионной зоной и остальным объемом образца: твердость образца увеличилась в 2 раза.
Рис. 3. Зоны проведения анализа на поверхности. Зона анализа № 1, неповрежденная поверхность образца — ∅ ≈ 2 мкм (расфокусированный пучок). Зона анализа № 2, поверхность образца после абразивной обработки - ∅ ≈ 2 мкм (расфокусированный пучок). Зона анализа № 3, поверхность внутри раковины “питтинговой” коррозии — точечно, ∅ ≈ 2 мкм (расфокусированный пучок).
Выбор зон для проведения элементного оже-анализа на поверхности осуществлялся по растровым электронно-микроскопическим изображениям (рис. 3). Этот эффект упрочнения связан с появлением мелких и однородных частиц осаждения нитрида хрома типа CrN, подтвержденного рентгеноструктурным анализом (рис. 4).
Рис.4. Оже-электронные спектры, полученные на поверхности образца до и после ионного травления.
Элементный состав поверхности в зоне анализа № 1 (в порядке убывания амплитуды оже- пиков) – O, Fe, Ca, Cr, N, C, S, K, Zn и Mg, где: N – адсорбированные молекулы атмосферного азота и “азотированная”/“нитридная” пленка на поверхности образца; O и C – адсорбированные молекулы атмосферных газов и оксидные/карбидные пленки на поверхности образца; O, C, S, N, K, Ca – органические загрязнения на поверхности образца; Zn, Mg – возможно, органические загрязнения на поверхности образца; Fe, Cr – элементы, соответствующие составу нержавеющей стали 12Х18Н10Т.
Элементный состав поверхности в зоне анализа № 1, неповрежденная поверхность образца после 3 мин ионного травления Ar+ 3 кВ (в порядке убывания амплитуды оже-пиков) – Fe, Cr, Ni и Ti, элементы, соответствующие составу нержавеющей стали 12Х18Н10Т. Азот N исчез на 3 мин ионного травления Ar+ 3 кВ, что соответствует глубине (оценочно) ~15 нм.
Результаты исследований показали целесообразность использования плазменной модификации стальных поверхностей для повышения коррозионной стойкости нержавеющих сталей. В табл. 3 представлены режимы обработки ВЧИ плазмой стали 12ХI8H9T: G – расход плазмообразующего газа, г/с; l – расстояние от среза плазматрона до образца, мм; V – скорость потока, л/с; T – температура образца, °C; Wp – мощность разряда, кВт.
Таблица 3. Режимы обработки ВЧИ–плазмой стали 12ХI8H9T
№ | G, г/с | l, мм | V, л/с | T, °C | Wp, кВт |
1 | 0.03 | 100 | 70 | 390 | 2.3 |
2 | 0.03 | 100 | 70 | 390 | 2.3 |
3 | 0.03 | 100 | 70 | 390 | 2.3 |
4 | 0.03 | 100 | 70 | 390 | 2.3 |
5 | 0.03 | 100 | 70 | 390 | 2.3 |
6 | 0.12 | 100 | 70 | 490 | 2.8 |
7 | 0.04 | 100 | 70 | 210 | 1.75 |
8 | 0.03 | 100 | 70 | 420 | 2.5 |
9 | 0.12 | 100 | 20 | 370 | 2.0 |
10 | 0.12 | 20 | 50 | 490 | 2.8 |
11 | 0.12 | 20 | 20 | 490 | 2.8 |
12 | 0.03 | 20 | 50 | 420 | 2.5 |
13 | 0.03 | 20 | 70 | 420 | 2.5 |
14 | 0.12 | 20 | 50 | 420 | 2.8 |
15 | 0.04 | 20 | 70 | 210 | 1.25 |
16 | 0.04 | 20 | 70 | 300 | 1.1 |
17 | 0.12 | 20 | 50 | 300 | 1.5 |
18 | 0.12 | 20 | 50 | 370 | 2.0 |
19 | Исходный образец | ||||
20 | Исходный образец | ||||
На обработанных и исходных образцах измеряли: микротвердость с поверхности (нагрузка – 50 г, микротвердомер ПМТ-3), шероховатость Rа (профилограф – профилометр); электрохимические характеристики – в 0.5М-растворе NaCl снимали потенциодинамические кривые, по этим кривым определяли φст – стационарный потенциал (Δφ ~ 0,01 мВ) и iп – плотность тока пассивации (Δiп ~ 15%). Проводили съемку дифрактограмм при помощи дифрактометра ДРОН-3М. Скорость поворота счетчика при записи дифрактограмм составляла 2 град/мин фазовый анализ 0,5 град/мин – прецизионное определение периода (α) решетки и ширмы дифракционных максимумов (Bl, B2) (табл. 4). Погрешность (инструментальная) при определении α- Δα-0, 001 Å; Bl, B2-ΔBl ~ 3%.
Таблица 4. Свойства стали 12ХI8H9T после обработки ВЧИ плазмой
№ | Нµ, МПа | Rа, мкм | φст, В | Вl (111)*10–3 рад. | В2 (222)*10–3 рад. | a, A0 |
1 | 1640 | 0.23 | –0,2 | 4.03 | 8.53 | 3.5893 |
2 | 1600 | 0.36 | –0,035 | 4.32 | 8.88 | 3.5897 |
3 | 1930 | 0.22 | –0,215 | 4.65 | 8.90 | 3.5888 |
4 | 1850 | 0.33 | –0,22 | 4.01 | 8.18 | 3.5898 |
5 | 1720 | 0.23 | –0,195 | 3.88 | 8.33 | 3.5895 |
6 | 1630 | 0.28 | –0,1 | 3.95 | 8.22 | 3,5902 |
7 | 1660 | 0.37 | –0,25 | 4.04 | 8.77 | 3.5892 |
8 | 1680 | 0.51 | –0,26 | 3.80 | 7.98 | 3.5897 |
9 | 1600 | 0.43 | –0,265 | 3.93 | 7.42 | 3.5896 |
10 | 2170 | 0.44 | –0,25 | 4.25 | 10.19 | 3.5885 |
11 | 2000 | 0.4 | –0,27 | 4.04 | 9.93 | 3.5888 |
12 | 1860 | 0.64 | –0,17 | 3.95 | 8.53 | 3.5897 |
13 | 1640 | 0.45 | –0,27 | 4.12 | 8.73 | 3.5899 |
14 | 1930 | 0.44 | –0,24 | 4.65 | 10.41 | 3.5833 |
15 | 1720 | 0.46 | –0,245 | 6.33 | 8.66 | 3.5879 |
16 | 1730 | 0.4 | –0,14 | 4.19 | 8.49 | 3.5894 |
17 | 1760 | 0.33 | –0,22 | 3.82 | 8.07 | 3.5897 |
18 | 1770 | 0.64 | –0,16 | 3.97 | 9.25 | 3.5899 |
19 | 1800 | 0.34 | –0,21 | 4.25 | 9.10 | 3.5885 |
20 | 1640 | 0.34 | –0,23 | 3.95 | 8.33 | 3.5902 |
Для стали 12ХI8H9T в исходном состоянии между образцами есть существенная разница по шероховатости, при этом у более гладкого образца (образец 20) несколько меньше (почти в пределах погрешности) параметр решетки и больше ширина дифракционных максимумов. Уменьшение параметров может быть связано с растягивающими макронапряжениями или с изменением химического состава поверхностного слоя (в частности, если термообработку проводят в вакууме, всегда происходит обезуглероживание поверхностного слоя). При непродолжительной последующей электрохимической полировке этот слой мог оказаться снятым не полностью. Уширение линий происходит и при неоднородности концентрации твердого раствора (линии (III)α и (222)α, принадлежащие γ – твердому раствору на основе Fe) в слое полупоглощения рентгеновского излучения (в данном случае 10–15 мкм), если имело место изменение химического состава поверхностного слоя. Разница в твердости исходных образцов находится в пределах стандартной ошибки измерения Нµ на ПМТ-3-Δ Нµ = 500 МПа, однако следует отметить тенденцию повышения Нµ у образца с большей шириной линий. Это позволяет предположить, что в данном случае уширение связано с большим остаточным поверхностным упрочнением. При неизменном химическом составе уменьшение α – растягивающего напряжения в поверхностном слое, после механической обработки (на токарном станке и механической полировке) такой эффект возможен.
Сопоставление образцов № 1–5, обработанных по одному и тому же режиму, указывает на нестабильность этого режима. Образцы отличаются по шероховатости, правда это различие может быть наследственным. Стационарный потенциал смещается в положительную область (от 0,2 до 0,35), что является признаком повышения коррозийной стойкости. Однако при смещении в положительную область от стационарного потенциала потенциодинамические кривые обработанных образцов почти полностью совмещаются с кривыми исходных образцов. Это можно объяснить следующим образом: в результате плазменной обработки на поверхности формируется чрезвычайно тонкая защитная пленка. В стационарных условиях (установившемся равновесии между образцом и электролитом, при этом in = 0) эта пленка тормозит растворение стали, при увеличении потенциала – ужесточение условий коррозии, происходит разрушение пленки и находящаяся под ней сталь взаимодействует с электролитом аналогично исходным образцам из этой стали.
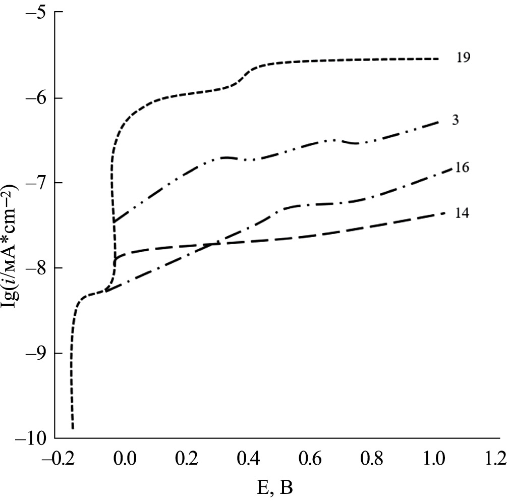
Исключением из этой серии образцов является № 3, потенциодинамическая кривая которого характеризуется значительно более низким током коррозии во всем исследованном интервале потенциалов (рис. 5). Можно предположить, что защитная пленка в этом случае значительно толще и защищала сталь не только при стационарном потенциале, а во всей исследованной области φст. Косвенным подтверждением образования более толстой пленки может служить увеличение ширины линий на дифрактограмме этого образца по сравнению с остальными этой же серии, которые по ширине анологичны линиям исходных образцов. Уширение линий может быть вызвано рассеянием вторичного рентгеновского излучения при прохождении через пленку. Более высокая твердость поверхности этого образца также согласуется с большой шириной дифракционных максимумов и указывает на повышение уровня микроискажений решетки в поверхностном слое. Макронапряжений в результате плазменной обработки как по этому режиму, так и по всем остальным, по-видимому, не возникает, т.к. искажение параметра решетки не превышает разницу у исходных образцов.
Рис. 5. Потенциодинамические кривые стали 12ХI8H9T после ВЧИ плазменной обработки.
Из образцов, обработанных по остальным режимам, более высокую коррозийную стойкость, чем остальные, имеют, кроме уже описанного № 3, еще № 14 и 16. У образца № 14, так же как и у № 3, кроме повышения коррозийной стойкости наблюдалось также увеличение твердости и ширины дифракционных максимумов. У образца № 18 увеличение Нµ и Вl, В2 не обнаружено. Кроме того, образец № 18 после обработки имеет более высокую шероховатость по сравнению с № 3 и 14. Сопоставление № 18 и 12, также имеющего большую шероховатость, показывает, что и у последнего узкие, такие же как и у № 18 и у исходного № 20, дифракционные максимумы. Кроме того, у № 16 меньше φст. Возможно, воздействие плазмы в этом случае было иным. В предыдущей серии – плазменное выглаживание с одновременным повышением уровня макроискажений, в случае № 18 и № 12 – плазменное распыление с образованием очень тонкой, пассивной пленки.
Судя по ширине линий и твердости поверхности, среди опробованных режимов были и разупрочняющие. Так, тенденция к уменьшению твердости и уменьшению ширины дифракционных максимумов по сравнению с исходным состоянием наблюдается у образцов № 6, 8, 9. Данные о температуре обработки этих образцов – 490, 420 и 370°С, соответственно, выявляют четкую зависимость уменьшения ширины линий с повышением температуры. Т.е. наблюдаемый эффект термического происхождения, 350–500°С – это температуры так называемого среднего отпуска, термообработки, обеспечивающей снятие как макро-, так и микронапряжений.
Сопоставление полученных данных позволяет выявить следующие закономерности:
ЗАКЛЮЧЕНИЕ
На основании результатов экспериментального исследования можно констатировать:
Во всех случаях после ВЧИ обработки в азотосодержащей плазме на поверхности стали 12Х18Н10Т образуется слой, отличающийся от исходной стали по структуре и твердости.
При одинаковых режимах обработки с увеличением времени до 60 мин твердость поверхностного слоя увеличивается (в среднем до 5000 МПа), а при дальнейшем увеличении времени остается на постоянном уровне. Следовательно, время обработки при азотировании следует ограничить 60 мин.
Толщина диффузионного слоя во всех случаях увеличивается с увеличением времени обработки.
ВЧИ плазменная обработка в режимах 3, 14, 16 показала высокую коррозионную стойкость. У них меньше, чем у исходного образца, плотность тока пассивации и положительный стационарный потенциал.
ФИНАНСИРОВАНИЕ
Работа выполнена на оборудовании ЦКП “Наноматериалы и нанотехнологии” Казанского национального исследовательского технологического университета.
About the authors
С. С. Виноградова
Казанский национальный исследовательский технологический университет
Author for correspondence.
Email: vsvet2000@mail.ru
Russian Federation, ул. Карла Маркса, 68, Республика Татарстан, Казань, 420015
M. Ф. Шаехов
Казанский национальный исследовательский технологический университет
Email: vsvet2000@mail.ru
Russian Federation, ул. Карла Маркса, 68, Республика Татарстан, Казань, 420015
A. Е. Денисов
Казанский национальный исследовательский технологический университет
Email: vsvet2000@mail.ru
Russian Federation, ул. Карла Маркса, 68, Республика Татарстан, Казань, 420015
References
- Saldaña-Robles Alberto, H. Plascencia-Mora, E. Aguilera-Gómez et al. // Surface and Coatings Technology. 2018. V. 339. P. 191–198.
- Rius-Ayra O, Llorca-Isern N. // Coatings. 2021. V. 11. P. 260.
- Tóth L., F. Haraszti, T. Kovács // Acta Materialia Transylvanica. 2018. V. 1. № . 1. P. 53–56.
- Kovačina J. et al. // Materials and Corrosion. 2021. V. 72. № . 7. P. 1215–1231.
- Hultquist G., C. Leygraf // Corrosion. 1980. V. 36. № 3. P. 126–129.
- Lee S.-J., J.-J. Lai // Journal of Materials Processing Technology. 2003. V. 140. № 1–3. P. 206–210.
- Noh J.S., Laycock N.J., Gao W., Wells D.B. // Corrosion Science. 2000. V. 42. № 12. P. 2069–2084.
- Lage R., Møller P., Fallesen H.E. // Materials and Corrosion. 2015. V. 66. № 10. P. 1060–1067.
- Crolet J.L. Reply By T. Hong, T. Ogushi and M. Nagumo, Corros. Sci. 1996. V. 38. P. 881 / J.L. Crolet // Corrosion science. 1997. V. 39. № . 6. P. 1137–1139.
- Hong T., Ogushi T., Nagumo M. // Corrosion Science. 1996. V. 38. № 6. P. 881–888.
- Ghanavati S., Shishesaz M.R., Farzam M., Danaee I. // Iranian Journal of Oil & Gas Science and Technology. 2016. V.5. № 1. P. 65–72.
- Yanxiang F., Yang Ch., Lianqing Y. // Environmental Engineering. 2017. С. 136. V. 35. № 3. P. 82–86.
- Zhu T. et al. // IEEE Transactions on Plasma Science. 2011.V. 39. № . 8. P. 1695–1700.
- Areyiguli L. // Institute of High Energy Physics. Chinese Academy of Sciences. 2014. P. 156–159.
- Zhengxian Y. // Guangdong Chemical Industry. 2009. P. 235–239.
- Yuhan Y., Jin Wei, Liu Liyuan // Journal of Environmental Engineering. 2019. № . 6. P. 1487–1501.
- Xiaomei Zh., Gu Xinsheng, Qu Na // Journal of Environmental Engineering. 2019. № 6. P. 1502–1512.
- Haruman E. et al. // Solid State Phenomena. – Trans Tech Publications Ltd. 2006. V. 118. P. 125–130.
- Sun Y., Bell T. // Wear. 1998. V. 218. № 1. P. 34–42.
- Sun Y., Bell T. // Wear. 2002.V. 253. № 5–6. P. 689–693.
- Sun Y., Li X. and Bell T. // Surface Engineering. 1999. V.15. № 1. P. 49–54.
- Cheng Zh., Li C.X., Dong H., Bell T. // Surface and Coatings Technology. 2005. V. 191. № 2–3. P. 195–200.
- Anjos A.D., Scheuer C.J., Brunatto S.F., Cardoso R.P. // Surface and Coatings Technology. 2015. V. 275. P. 51–57.
- Scheuer C.J., Cardoso R.P., Mafra M., Brunatto S.F. // Surface and Coatings Technology. 2013. V. 214. P. 30–37.
- Scheuer C.J., Cardoso R.P., Zanetti F.I. et al. // Surface and Coatings Technology. 2012. V. 206. № 24. P. 5085–5090.
- Chemkhi M., Retraint D., Roos A. et al. // Surface and Coatings Technology. 2013. V. 221. P. 191–195.
Supplementary files







