Increasing the Wear Resistance of Medium-Carbon Steel by Cathodic Electrolytic-Plasma Boron and Nitrogen
- Authors: Kusmanov S.A.1, Tambovsky I.V.1, Mukhacheva T.L.1, Korableva S.S.1, Kusmanova I.A.1, Belov R.D.1
-
Affiliations:
- Kostroma State University
- Issue: Vol 59, No 4 (2023)
- Pages: 424-432
- Section: НОВЫЕ ВЕЩЕСТВА, МАТЕРИАЛЫ И ПОКРЫТИЯ
- URL: https://journals.rcsi.science/0044-1856/article/view/139730
- DOI: https://doi.org/10.31857/S004418562370047X
- EDN: https://elibrary.ru/YRFXWL
- ID: 139730
Cite item
Full Text
Abstract
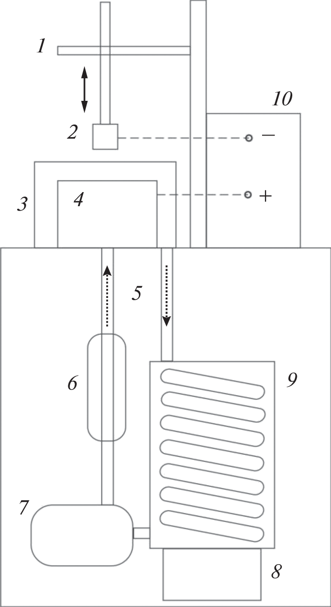
The possibility of increasing the wear resistance of medium-carbon steel using cathodic electrolytic-plasma boron-nitriding in an aqueous electrolyte of boric acid and ammonium chloride has been studied. The effect of diffusion processes, high-temperature oxidation, and erosion on the morphology and roughness of the surface, composition, and structure of diffusion layers has been studied. The diffusion coefficients of boron and nitrogen are calculated. The influence of diffusion processes in the surface layer of steel on its hardening during hardening caused by the formation of nitrogenous martensite and borides in the zone of boron and nitrogen diffusion at a depth of up to 100 µm and an increase in the carbon concentration at a depth of 150 to 500 µm due to surface decarburization is established. The mechanism of wear of boron-nitrided steel is established, which corresponds to fatigue wear under boundary friction and plastic contact. The possibility of increasing the wear resistance by a factor of 3.5 and the microhardness of the diffusion layer up to 1050 HV after cathodic boron-nitriding at 850°С for 30 min is shown.
About the authors
S. A. Kusmanov
Kostroma State University
Email: sakusmanov@yandex.ru
156005, Kostroma, Russia
I. V. Tambovsky
Kostroma State University
Email: sakusmanov@yandex.ru
156005, Kostroma, Russia
T. L. Mukhacheva
Kostroma State University
Email: sakusmanov@yandex.ru
156005, Kostroma, Russia
S. S. Korableva
Kostroma State University
Email: sakusmanov@yandex.ru
156005, Kostroma, Russia
I. A. Kusmanova
Kostroma State University
Email: sakusmanov@yandex.ru
156005, Kostroma, Russia
R. D. Belov
Kostroma State University
Author for correspondence.
Email: sakusmanov@yandex.ru
156005, Kostroma, Russia
References
- Yerokhin A.L., Nie X., Leyland A. et al. // Surface and Coatings Technology. 1999. V. 122. P. 73.
- Aliofkhazraei M., Macdonald D.D., Matykina E. et al. // Applied Surface Science Advances. 2021. V. 5. P. 100121.
- Jin S., Ma X., Wu R. et al. // Applied Surface Science Advances. 2022. V. 8. P. 100219.
- Bogdashkina N.L., Gerasimov M.V., Zalavutdinov R.K. et al. // Surface Engineering and Applied Electrochemistry. 2018. V. 54. P. 331.
- Belkin P.N., Kusmanov S.A., Parfenov E.V. // Applied Surface Science Advances. 2020. V. 1. P. 100016.
- Belkin P.N., Yerokhin A.L., Kusmanov S.A. // Surface and Coatings Technology. 2016. V. 307. P. 1194.
- Nie X., Wang L., Yao Z.C. et al. // Surface and Coatings Technology. 2005. V. 200. P. 1745.
- Смирнов А.А., Силкин С.А., Белкин П.Н. и др. // Известия высших учебных заведений. Серия: Химия и химическая технология. 2017. Т. 60. Вып. 1. С. 81.
- Taheri P., Dehghanian Ch., Aliofkhazraei M. et al. // Plasma Processes and Polymers. 2007. V. 4. P. 711.
- Kuzenkov S.E., Saushkin B.P. // Surface Engineering and Applied Electrochemistry. 1996. V. 6. P. 10.
- Kusmanov S.A., Tambovskiy I.V., Sevostyanova V.S. // Surface and Coatings Technology. 2016. V. 291. P. 334.
- Kusmanov S.A., Tambovskii I.V., Korableva S.S. // Surface Engineering and Applied Electrochemistry. 2022. V. 58. P. 323.
Supplementary files










