The Molecular Sieve Effect in the Adsorption of Gold Cyanide on Carbon Adsorbents
- Authors: Artamonova S.D.1, Fomkin A.A.1, Gaidamavichute V.V.1, Shkolin A.V.1, Men’shchikov I.E.1
-
Affiliations:
- Frumkin Institute of Physical Chemistry and Electrochemistry, Russian Academy of Sciences, 119071, Moscow, Russia
- Issue: Vol 59, No 2 (2023)
- Pages: 115-121
- Section: ФИЗИКО-ХИМИЧЕСКИЕ ПРОЦЕССЫ НА МЕЖФАЗНЫХ ГРАНИЦАХ
- URL: https://journals.rcsi.science/0044-1856/article/view/134336
- DOI: https://doi.org/10.31857/S0044185623700122
- EDN: https://elibrary.ru/SYAFJE
- ID: 134336
Cite item
Full Text
Abstract
Structural and energy characteristics of a number of industrial and prototype samples of microporous carbon adsorbents for the technology of cyanide extraction of gold have been studied. From the results of an analysis of the structural and energy characteristics of microporous carbon adsorbents, it was concluded that adsorbents with a micropore width of about ~X0 = 1.1–1.2 nm are the most effective. The adsorption selectivity of such adsorbents is explained by molecular sieve effects with respect to the gold cyanide complex [Au(CN2)]–.
Keywords
About the authors
S. D. Artamonova
Frumkin Institute of Physical Chemistry and Electrochemistry, Russian Academy of Sciences, 119071, Moscow, Russia
Email: fomkunaa@mail.ru
Россия, 119071, Москва, Ленинский проспект, 31, стр. 4
A. A. Fomkin
Frumkin Institute of Physical Chemistry and Electrochemistry, Russian Academy of Sciences, 119071, Moscow, Russia
Email: fomkunaa@mail.ru
Россия, 119071, Москва, Ленинский проспект, 31, стр. 4
V. V. Gaidamavichute
Frumkin Institute of Physical Chemistry and Electrochemistry, Russian Academy of Sciences, 119071, Moscow, Russia
Email: fomkunaa@mail.ru
Россия, 119071, Москва, Ленинский проспект, 31, стр. 4
A. V. Shkolin
Frumkin Institute of Physical Chemistry and Electrochemistry, Russian Academy of Sciences, 119071, Moscow, Russia
Email: fomkunaa@mail.ru
Россия, 119071, Москва, Ленинский проспект, 31, стр. 4
I. E. Men’shchikov
Frumkin Institute of Physical Chemistry and Electrochemistry, Russian Academy of Sciences, 119071, Moscow, Russia
Author for correspondence.
Email: fomkunaa@mail.ru
Россия, 119071, Москва, Ленинский проспект, 31, стр. 4
References
- Металлургия благородных металлов. Под ред. Чугаева Л.В. 2-е изд. М.: Изд-во “Металлургия”, 1987.
- Леонов С.Б., Елшин В.В., Дударев В.И., Голодков Ю.Э., Ознобихин Л.М. Получение и применение синтетических углеродных сорбентов для извлечения благородных металлов // Из-во ИГТУ, Иркутск, 1997.
- Меретуков М.А. Активные угли и цианистый процесс. М.: Изд-во “Руда и металлы”, 2007.
- Зеликман А.Н., Вольдман Г.М., Беляевская Л.В. Теория гидрометаллургических процессов. М.: Изд-во “Металлургия”, 1983.
- Картель Н.Т. Адсорбция, адсорбенты и адсорбционные процессы в нанопористых материалах. Сборник материалов. Под ред. Цивадзе А.Ю. М.: Изд-во “Граница”, 2011. С. 381–405.
- Варгафтик Н.Б. Справочник по теплофизическим свойствам газов и жидкостей, М.: Наука, 1972.
- Школин А.В., Фомкин А.А. // Измерительная техника. 2018. № 4. С. 56–61.
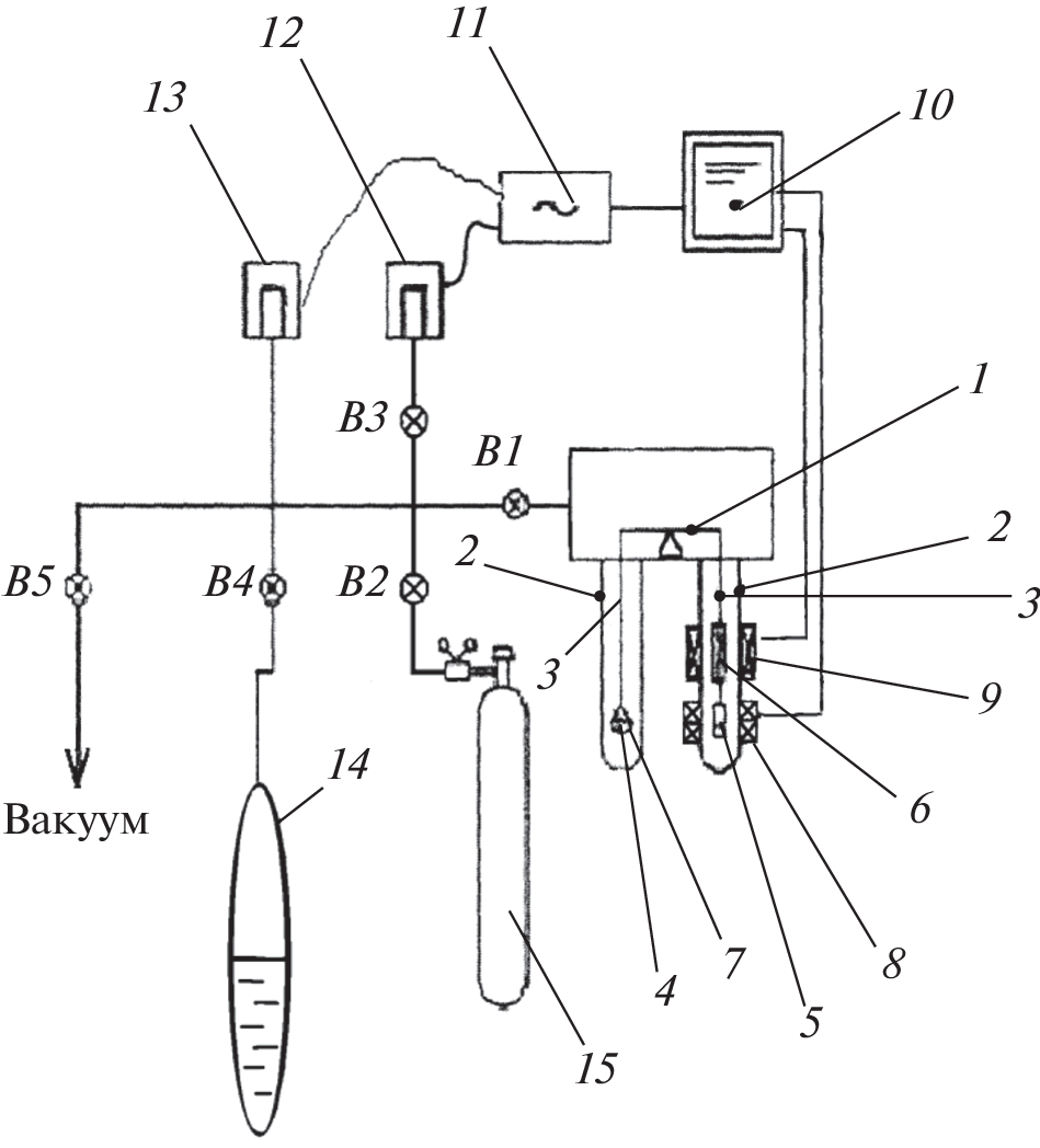
- Школин А.В., Фомкин А.А., Меньщиков И.Е., Харитонов В.М., Пулин А.Л. Патент РФ 2732199. Стенд для измерения адсорбции газов и паров гравиметрическим методом и способ его эксплуатации.
- Дубинин М.М. Адсорбция и пористость. М.: Изд-во ВАХЗ, 1972.
- Дубинин М.М. Сб. Углеродные адсорбенты и их применение в промышленности. М.: Наука, 1983. с. 100–114.
- Фенелонов В.Б. Пористый углерод. Новосибирск. Изд-во Института катализа СО РАН, 1995.
- Walker P.L., Austin L.G., Nandi S.P. Chemistry and Physics of Carbon. Marcel Dekker. New York. NY. USA. 1966.
- Ласкорин Б.Н., Гастева Н.Ю. // Цветные металлы 1992. № 7. С. 21–22.
- Чернов В.К., Войлошников Г.И., Тихонова О.Н. // В сб. Современное состояние и перспективы развития угольно-сорбционных процессов в гидрометаллургии благородных металлов. Иркутск. Иргиредмет, 1990. С. 25.
- Мухин В.М., Тарасов А.В., Клушин В.Н. Активные угли России. М.: Изд-во “Металлургия”, 2000. С. 352.
- Andersen H.C. // J. Chem. Phys. 1980. V. 72. P. 2384
- Rackers J.A., Wang Z., Lu C., Laury M.L., Lagardère L., Schnieders M.J., Piquemal J.P., Ren P., Ponder J.W. // J. Chemical Theory and Computation. 2018. V. 14. № 10. pp. 5273–5289.
- Jorgensen W.L., Maxwell D.S. Tirado-Rives J. // J. Am. Chem. Soc. 1996. V. 118. P. 11225.
- Войлошников Г.И. Адсорбционное извлечение золота из цианистых растворов и пульп. Иркутск. Иргиредмет, 1989.
- Чухланцева Е.В., Усолкин А.Н., Коваленко О.В., Неудачина Л.К., Баулин В.Е., Цивадзе А.Ю. // Аналитика и контроль. 2013. Т. 17. № 2. С. 219.
- Чухланцева Е.В., Усолкин А.Н., Баулин В.Е., Коваленко О.В., Неудачина Л.К., Цивадзе А.Ю. // Аналитика и контроль. 2013. Т. 17. № 3. С. 314.
Supplementary files










