Зависимости характеристик распространения пламени от гетерогенных реакций промежуточных частиц
- Авторы: Азатян В.В.1, Прокопенко В.М.2, Сон Э.Е.3, Абрамов С.К.2
-
Учреждения:
- ФГУ Научно-исследовательский институт системных исследований РАН
- Институт структурной макрокинетики и проблем материаловедения РАН
- Объединенный институт высоких температур РАН
- Выпуск: Том 61, № 1 (2023)
- Страницы: 91-97
- Раздел: Тепломассообмен и физическая газодинамика
- URL: https://journals.rcsi.science/0040-3644/article/view/138644
- DOI: https://doi.org/10.31857/S0040364423010143
- ID: 138644
Цитировать
Полный текст
Аннотация
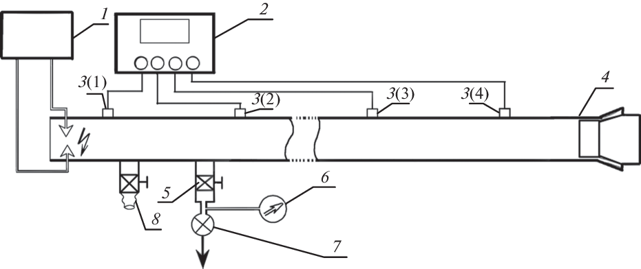
На примере модельной реакции горения водорода с кислородом показано, что скорость распространения пламени, его тепловой режим и условия перехода во взрыв находятся в сильной зависимости от скорости гетерогенных реакций свободных атомов и радикалов. Наблюдается корреляция между эффективностью гетерогенного обрыва реакционных цепей и скоростью распространения пламени. Реакции атомов и радикалов на поверхности во многом определяют также градиенты концентраций и температуры в пламени. Обнаружено сильное воздействие пламени на химические свойства поверхности и на ее роль в горении.
Об авторах
В. В. Азатян
ФГУ Научно-исследовательский институт системных исследований РАН
Email: vylenazatyan@yandex.ru
Россия, Москва
В. М. Прокопенко
Институт структурной макрокинетики и проблем материаловедения РАН
Email: vylenazatyan@yandex.ru
Россия, Черноголовка
Э. Е. Сон
Объединенный институт высоких температур РАН
Email: vylenazatyan@yandex.ru
Россия, Москва
С. К. Абрамов
Институт структурной макрокинетики и проблем материаловедения РАН
Автор, ответственный за переписку.
Email: vylenazatyan@yandex.ru
Россия, Черноголовка
Список литературы
- Зельдович Я.Б., Баренблат Г.И., Либрович В.Б., Махвиладзе Г.М. Математическая теория горения. М.: Наука, 1980. 478 с.
- Lewis B., Von Elbe G. Combustion, Explosions, and Flame in Gases. N.Y.‒London: Acad. Press, 1987. 592 p.
- Горение. В кн.: Физическая энциклопедия. Т. 1. М.: Сов. энц., 1988. С. 515.
- Горение. В кн.: Большой энциклопедический словарь “Физика”. М.: Большая Рос. энц., 1998. С. 134.
- Гельфанд Б.Е. Пределы детонации воздушных смесей с двухкомпонентными газообразными горючими веществами // ФГВ. 2002. Т. 38. № 5. С. 101.
- Семенов Н.Н. Избранные труды. Т. 3. М.: Наука, 2005.
- Law Ch. K. Combustion Physics. Cambridge, N.Y.: Cambridge University Press, 2006. 722 p.
- Франк-Каменецкий Д.А. Основы макрокинетики, диффузия, теплопередача в химической кинетике. Долгопрудный: Интеллект, 2008. 407 с.
- Kim N.I. Effect of an Inlet Temperature Disturbance on the Propagation of Methane-Air Premixed Flames in Small Tubes // Comb. Flame. 2009. V. 156. № 7. P. 1332.
- Кукин П.П., Юшин В.В., Емельянов С.Г. Теория горения и взрыва. М.: Юрайт, 2012. 435 с.
- Палесский Ф.С., Фурсенко Р.В., Минаев С.С. Моделирование фильтрационного горения газов в цилиндрической пористой горелке // ФГВ. 2014. Т. 50. № 6. С. 3.
- Дубровский А.В., Иванов В.С., Зангиев А.Э., Фролов С.М. Трехмерное численное моделирование характеристик прямоточной воздушно-реактивной силовой установки непрерывного действия // Хим. физика. 2016. Т. 35. № 6. С. 49.
- Сабденов К.И. Аналитическое исследование гидродинамической устойчивости в пламени // Хим. физика. 2017. Т. 36. № 11. С. 39.
- Бабкин В.С., Сеначин П.К. Процессы горения газов в ограниченных объемах. Барнаул: Изд-во Алт. ГТУ, 2017. 143 с.
- Азатян В.В. Неизотермические режимы разветвленно-цепных процессов и их химическое регулирование // Успехи химии. 1999. Т. 62. № 12. С. 1122.
- Азатян В.В., Вагнер Г.Г., Ведешкин Г.К. Влияние химически активных добавок на детонацию в смесях водорода с воздухом // ЖФХ. 2004. Т. 78. № 6. С. 1036.
- Азатян В.В., Павлов В.А., Шаталов О.П. Ингибирование горения и детонации водородо-воздушных смесей за ударными волнами // Кинетика и катализ. 2005. Т. 46. № 6. С. 835.
- Азатян В.В. Научные основы и эффективные химические методы управления горением, взрывом и детонацией газов // ЖФХ. 2011. Т. 85. № 8. С. 1405.
- Азатян В.В. Цепные реакции горения, взрыва и детонации в газах. Химические методы управления. М.: Изд-во РАН, 2020. 360 с.
- Baulch D.L., Bowman C.T., Cobos C.J. et al. Evaluated Kinetic Data for Combustion Modeling: Supplement II // J. Phys. Chem. Ref. Data. 2005. V. 34. № 3. P. 757.
- Srinivan N.K., Michael J.V. Experimental and Theoretical Rate Constants for the Reactions CH4 + O2 → CH3 + + HO2 // Comb. Flame. 2007. V. 149. № 1/2. P. 104.
- Азатян В.В. Длина реакционных цепей и температурная зависимость скорости цепных реакций // Кинетика и катализ. 1977. Т. 18. № 2. С. 282.
- Азатян В.В., Рубцов Н.М., Черныш В.И., Цветков Г.И. Вытеснение атомов металлов из их солей атомарным водородом // Кинетика и катализ. 2006. Т. 47. № 3. С. 333.
- Азатян В.В., Прокопенко В.М. Кинетические особенности воспламенения газов при нагревании // ЖФХ. 2018. Т. 92. № 12. С. 1925.
Дополнительные файлы









