Технология получения изофорона в микрофлюидном реакторе
- Authors: Кук Х.Г.1, Шишанов М.В.1, Досов К.А.1, Яшунин Д.В.1, Большаков И.А.1, Морозов Н.В.1
-
Affiliations:
- ФГБОУ ВО “Российский химико-технологический университет им. Д.И. Менделеева”
- Issue: Vol 58, No 3 (2024)
- Pages: 269-277
- Section: Articles
- Published: 22.11.2024
- URL: https://journals.rcsi.science/0040-3571/article/view/271057
- DOI: https://doi.org/10.31857/S0040357124030023
- EDN: https://elibrary.ru/bwmyea
- ID: 271057
Cite item
Full Text
Abstract
Статья посвящена исследованию микрофлюидных технологий и областей их применения. Микрофлюидные технологии – это перспективная отрасль, позволяющая достичь повышенную селективность реагентов и обеспечить безопасный и хорошо интенсифицируемый процесс. Реакторы такого типа используются в специальной химии и для инженерных разработок. Цель данной работы: разработка проточного микрофлюидного реактора на основе кинетики изофорона из ацетона в щелочной среде. Наши методы: в качестве среды для численного моделирования и расчета использовалась программа Comsol Myltiphysics. Ранее данная программа уже применялась для моделирования микрочипов и имеет специализированные модули, направленные на подобные расчеты. В рамках текущей статьи предложен метод для разработки микрофлюидных чипов под конкретную реакцию с применением программ вычислительного моделирования, основываясь на кинетических и геометрических параметрах. Результаты данной работы: определено количество микромиксеров, необходимое для полного смешения реагентов, и длина канала, обуславливающая полное протекание реакции. Приведены основные геометрические параметры рассчитываемой модели. Проведено сравнение результатов расчетов и полученных экспериментальных данных.
Full Text
ВВЕДЕНИЕ
Технология применения микропроточных реакторов получила широкое распространение в различных областях промышленности и науки. Наиболее часто она используется в малотоннажной и специальной химии, биохимии, при работе с радиоактивными веществами, а также для инженерно-исследовательской деятельности.
Основным преимуществом таких микрореакторов является повышенная безопасность и управляемость процесса. Такие процессы легко интенсифицировать. Более того, технологическая линия, в которой применяются микрореакторные системы, обеспечивает непрерывную работу, что в совокупности с другими факторами позволяет заменить несколько стандартных емкостных реакторов. Помимо всего вышеперечисленного, микрореактор способен обеспечить изотермический режим, что очень важно для многих типов реакций.
В рамках данной статьи рассмотрена реакция получения изофорона в щелочной среде. Изофорон является важным промышленным химическим веществом, применяемым в чернилах, красках, лаках, клеях, виниловых смолах, сополимерах, для получения пестицидов и т.д. Он также используется в качестве промежуточного химического вещества для органического синтеза.
Изофорон промышленно производится [1] путем конденсации ацетона с щелочным катализатором при высоких температурах и давлениях. Альдольная конденсация ацетона – это комплексная реакция [2–3] с применением следующего сырья: ацетон, вода и гидроксидный катализатор; в результате реакции получают несколько промежуточных продуктов (диацетоновый спирт, мезитилоксид) и побочные продукты (оксилитон и тяжелые соединения) и целевой продукт реакции – изофорон [4].
Конденсация ацетона для производства изофорона может быть коммерчески осуществимой, если специфичность реакции контролируется для достижения высокой селективности по продуктам химического процесса с учетом стехиометрии реакции. Одним из основных показателей работы установки по производству изофорона является селективность расходуемого ацетона на производство изофорона.
Селективность исходных реагентов зависит от температуры, давления, концентрации реагирующих веществ, гидродинамического режима. Микрофлюидика за счет своих основных преимуществ может позволить увеличить селективность, вплоть до 10–15% [5].
Цель настоящего исследования – подбор оптимальной геометрии проточной части микрофлюидного реактора для обеспечения высокой контролируемости процесса альдольной конденсации ацетона. Аналогичные исследования уже проводились для других реакций [6].
Для достижения поставленной цели необходимо решить следующие задачи:
- Выбор основной конструкции проточной части реактора – геометрии канала пластинчатого микрореактора, включающего в себя миксерную и реакционную зоны.
- Определение основных гидродинамических параметров миксерных ячеек, а также выбор критерия оптимального смешения.
- В рамках реализации каскадного исполнения выбор количества микромиксеров, являющегося минимально достаточным для успешного смешения реагентов.
- С помощью полученных ранее кинетических данных процесса численно промоделировать реакцию получения изофорона во всей проточной части реактора.
- Определение основных гидродинамических параметров проточной части микрореактора.
- На основании полученных раннее данных выбор необходимой длины реакционного канала, определение зависимости длины канала от выхода изофорона.
- Проверка теоретических расчетов на основании экспериментальных данных.
МЕТОДЫ ИССЛЕДОВАНИЯ
В качестве материала для исследования была использована геометрия пластинчатого реактора, аналогичная масштабируемой микрореакторной технологии [7]. Цилиндрические ячейки такого типа показали наибольшую эффективность для перемешивания исходных компонентов по сравнению с другими вариациями миксерных зон [8]. Основной механизм перемешивания заключается в создании встречных потоков внутри ячейки, их закручивании и дестабилизации, что достигается в результате увеличения вектора скорости на плоскости стенок проточной части канала.
На рис. 1 приведены геометрические параметры миксерной зоны.
Рис. 1. Эскиз выбранной геометрии проточной части (1, 2 – входы реагентов, 3 – миксерная зона, 4 – реакционный канал, 5 – выход продукта).
Для улучшения эффективности реакторной пластины и удешевления металлообработки необходимо определить минимально достаточное для полного перемешивания компонентов количество ячеек.
В связи с этим была смоделирована система “жидкость–жидкость”, а именно “ацетон–вода” в программе Comsol Multiphysics. Количество ячеек в миксерной зоне определяли следующим образом.
Использовали магнитную мешалку с минимальным количеством оборотов, что эквивалентно эффективности перемешивания в смесительной ячейке. Проводили гомогенизацию двухфазной системы “ацетон–вода” в щелочной среде. В программе вычислительного моделирования определяли время пребывания реакционной среды в различном количестве ячеек. Время перемешивания в магнитной мешалке варьировали эквивалентно расчетным данным. Далее определяли вязкость смеси на капиллярном вискозиметре ВПЖ-2. По достижении необходимой вязкости перемешивание считали законченным.
Для моделирования использовалась теоретическая кинетика, рассчитанная по справочным данным значений энергии активации и предэкспоненциального множителя [9, 10]. Процесс получения изофорона состоит из следующих стадий: цепочка реакций инициируется конденсацией двух молекул ацетона () с образованием диацетонового спирта ():
Далее, ввиду каталитических условий (с использованием гидроксида калия: KOH в качестве катализатора) этот спирт быстро обезвоживается до мезитилоксида ():
Мезитилоксид может конденсироваться с ацетоном с образованием изофорона линейного дионофорона, который быстро циклизуется с образованием изофорона () в двух изомерных формах, обозначенных и воды H2O:
Перекрестная конденсация между различными кетонами – ацетоном и изофороном – приводит к образованию продукта разложения изофорона: изоксилитона:
Кроме того, две молекулы мезитилоксида могут дополнительно конденсироваться с образованием ксилитонов:
В качестве критерия оптимальности протекания принимали среднюю мольную концентрацию изофорона на выходе из реакционного канала.
РЕЗУЛЬТАТЫ И ИХ ОБСУЖДЕНИЕ
Моделирование. Верификация кинетики в Comsol
Для корректного расчета в программной среде Comsol необходимо предварительно верифицировать кинетический расчет в 0D.
Для этого использовали модуль Comsol “Reaction Engineering”. В основе данного модуля лежат стандартные уравнения для расчета кинетических данных. Входные данные: 0,010324 моль/л ацетона и 0,0135 моль/л воды.
На рис. 2 показано распределение концентраций ацетона и воды, полученных в результате моделирования на основе кинетических параметров реакции. Рис. 3 позволяет визуализировать концентрации изофорона и основных побочных продуктов.
Рис. 2. Распределение концентраций ацетона и воды.
Рис. 3. Распределение концентраций изофорона, мезитилоксида и диацетонового спирта.
Для расчетов использовали данные о значениях предэкспоненциальных множителей и энергий активаций соответствующих реакций, полученных в работе [10] (табл. 1). Кинетические данные получали при концентрации NaOH в растворе 10%.
Таблица 1. Кинетические данные реакций получения изофорона
Реакция | Константа реакции | Предэкспоненциальный множитель | Энергия активации, кДж/моль |
R1 | k1 | 14 650 | |
k2 | 34 400 | ||
R2 | k3 | 90 000 | |
k4 | 53 038 | ||
R3 | k5 | 93 259 | |
R4 | k7 | 34 400 | |
R5 | K8 | 90 000 |
Моделирование. 2D-расчет в Comsol. Далее проводились расчеты с применением гидродинамики проточного канала и анализа особенностей смешения.
В результате численного моделирования смешения ацетон–вода было определено оптимальное количество ячеек миксерной зоны для полного перемешивания исходных компонентов и определены их гидродинамические параметры, а именно – максимальное давление в ячейках, максимальная скорость внутри ячеек. Максимальная скорость потока при наращивании ячеек остается постоянной и равна 0.5 м/с. В качестве констант принимали скорость на входе в миксерную зону, равную 3 × 10–4 м/с, и концентрации исходных реагентов, где Cc3h6o = 10.324 моль/м3, Сh20 = 13.5 моль/м3.
Перепад давления в смесевых ячейках не превышает 700 Па, что также адекватно для данных исследований. Ниже проиллюстрирована градуировочная прямая для дальнейших исследований.
Рис. 4. Расчетные данные критерия оптимальности смешения.
Рис. 5. Зависимость количества ячеек от вязкости раствора.
Наиболее оптимальным количеством ячеек приняли 7 штук, поскольку дальнейшее изменение критерия незначительно.
Далее, в рамках второго этапа расчетов, проводили поиск наиболее оптимальной длины канала для корректного проведения реакции, используя кинетику, приведенную раннее. Режим для протекания реакции был выбран изотермический, с наиболее оптимальной температурой для получения изофорона [10], равной 473.15 К. К уже имеющимся ячейкам прибавляли поворот канала, со следующими геометрическими параметрами: ширина канала, равная 2 мм; скругления, равные 0.5 мм (внутренние скругления) и 2 мм (внешние), а также длина канала, равная 116 мм за одну итерацию.
В рамках дискретизации модели и получения расчетных данных была построена сетка по методу конечных элементов, с количеством элементов, равным 18 043, и средним качеством элемента 0.7803. Также был рассчитан и проанализирован массовый баланс на основе численного решения уравнений неразрывности (4) и теоремы Остроградского–Гаусса (5) [10]:
(4)
(5)
где ρ – плотность, t – время, – оператор набла, u – скорость, V – объем, S – поверхность, ограничивающая объем, n – единица нормали.
Отсюда
(6)
Как видно из полученных данных, приведенных в таблице 2, достигнута высокая точность выполнения закона сохранения массы при решении поставленной задачи вычислительной гидродинамики.
Таблица 2. Численные значения массового баланса
Время, с | Вход 1, кг/(м·с) | Вход 2, кг/(м·с) | Выход, кг/(м·с) | Массовый баланс, кг/(м·с) |
0 | 0.1501 | 0.1501 | 0.3004 | 2.171 × 10–12 |
1 | 0.1500 | 0.1500 | 0.3000 | 8.0124 × 10–15 |
2 | 0.1500 | 0.1500 | 0.3000 | 7.3275 × 10–15 |
3 | 0.1500 | 0.1500 | 0.3000 | 7.9381 × 10–15 |
4 | 0.1500 | 0.1500 | 0.3000 | 7.6883 × 10–15 |
5 | 0.1500 | 0.1500 | 0.3000 | 7.4662 × 10–15 |
6 | 0.1500 | 0.1500 | 0.3000 | 7.3275 × 10–15 |
7 | 0.1500 | 0.1500 | 0.3000 | 7.6883 × 10–15 |
8 | 0.1500 | 0.1500 | 0.3000 | 7.3552 × 10–15 |
9 | 0.1500 | 0.1500 | 0.3000 | 7.1609 × 10–15 |
10 | 0.1500 | 0.1500 | 0.3000 | 7.4107 × 10–15 |
11 | 0.1500 | 0.1500 | 0.3000 | 7.5773 × 10–15 |
12 | 0.1500 | 0.1500 | 0.3000 | 7.2164 × 10–15 |
В связи с этим, можно сделать вывод, что построенная модель физична и может быть использована для получения корректных расчетных данных.
В процессе анализа рассчитываемой модели, ввиду наличия химической реакции, использовали нестанционарный режим. Наиболее оптимальное время для расчета: 30–60 секунд, поскольку концентрация изофорона остается неизменной после данного времени, что говорит об установившемся процессе.
Используя вышеперечисленные входные данные, была получена зависимость количества итераций длин канала от концентрации получаемого продукта. Наиболее оптимальной длиной канала является 14-я итерация, с суммарной длиной канала 1624 мм, поскольку дальнейшее изменение концентрации получаемого продукта стремится к нулевому значению (рис. 6). Гидродинамические параметры проточной части такой модели следующие:
- перепад давлений, равный 2.5 × 105 Па;
- максимальная скорость, равная 0.583 м/с.
Рис. 6. График зависимости длины канала от концентрации получаемого изофорона, анализируемого на выходе из проточной части.
В результате проведенных расчетов численного моделирования модели удалось получить модель, наиболее приближенную к идеальным условиям для протекания реакции изофорона. Данная модель выполнена по технологии Lonzo, в виде геометрических параметров для каналов в пластинчатой модели микропроточного реактора, со следующими технологическими и конструкционными данными:
- цилиндрические ячейки миксерной зоны диаметром 2 мм в количестве 12 шт.;
- змеевидный канал длиной 1624 мм и шириной 2 мм (с поперечной длиной канала 52 мм);
- время установившегося процесса, равное 30 секунд;
- необходимая для протекания реакции температура, равная 473.15 К;
- оборудование, позволяющее обеспечить преодоление местных сопротивлений, равное 2.5 × 105 Па (без учета сопротивлений соединительных элементов и элементов подачи жидкости в микрореактор).
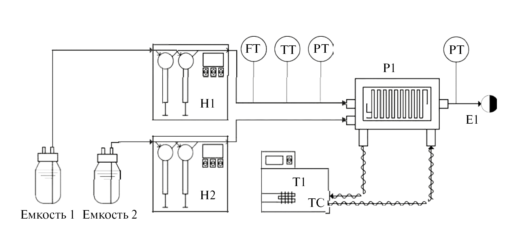
Описание установки. Для проведения эксперимента использовалась микрофлюидная технологическая система (рис. 7), спроектированная на основе расчетных параметров, полученных выше.
Рис. 7. Технологическая система для получения изофорона.
В качестве регентов использовали ацетон ОСЧ (реагент 1) и воду (реагент 2). Предварительно в реагенте 2 был растворен катализатор (10%-ный раствор NaOH). Сам микрореактор был произведен с применением аддитивных технологий, что определяет его развитую поверхность и, как следствие, может вызывать промотирующее действие [5].
За 10 минут до предполагаемого начала реакции на контроллере устанавливают температуру реакции (130–200 °C, в зависимости от условий процесса) и включают термостатирование. После достижения заданной температуры в реактор реагент 1 и регент 2 поступают с помощью дозирующих шприцевых насосов Н1 и Н2 соответственно в реактор Р1, обогреваемый термостатом T1 под давлением 40 бар. В данном узле происходит химическая реакция, реагент собирается в емкости для конечного продукта E1. Подачу (1 минута) осуществляют насосом высокого давления. Пробы отбирают в течение 1,5 часа, объем проб 0,15–0,2 мл. Пробы отбирают, варьируя расходы реагентов на входе, итоговая проба отвечает времени пребывании реакционной смеси в канале.
Подтверждали получения заданных веществ с помощью ЯМР-спектроскопии. Количественные характеристики получали с помощью ВЭЖХ.
На основании выше полученных данных, были построены графики для удобства корреляции эксперимента с моделированием (рис. 8, 9). Таким образом, можно сделать вывод, что данная CAE-модель физична и может быть использована для разработки проточной части канала микрофлюидного реактора, однако требует дополнительной проработки в виде валидации на основании полученных экспериментальных данных.
Рис. 8. Экспериментальные данные в сравнении с моделированием, где синий цвет – ацетон, а зеленый – изофорон.
Рис. 9. Экспериментальные данные в сравнении с моделированием, где синий цвет — диацетоновый спирт, а зеленый – мезитилоксид.
Для валидации аналитических исследований (рис. 10–11) был использован хроматограф с масс-спектрометрическим детектором Agilent 5977B GC/MSD (HES) и программным обеспечением MassHunter с масс-спектрометрической библиотекой данных органических веществ NIST17 с кварцевой капиллярной колонкой Agilent HP-5MS (30м-0,25ID-0,25um). Добавлено небольшое количество уксусной кислоты для нейтрализации щелочи. Были определены все побочные и промежуточные продукты, а также изомеры изофорона.
Рис. 10. Общая хроматограмма образца на начальный отрезок времени.
Рис. 11. Общая хроматограмма образца на конечный отрезок времени.
В результате анализа масс-спектрометрии также был выявлен требуемый продукт — изофорон (рис. 12).
Рис. 12. Полученный масс-спектр изофорона.
ЗАКЛЮЧЕНИЕ
В данной работе была разработана кинетическая модель процесса получения изофорона. Были проведены вычислительные эксперименты по прогнозированию кинетических кривых исследуемых реакций с помощью математических методов с применением компьютерно-вычислительной программы Comsol. Был сделан вывод о том, что разработанная модель реакций позволяет прогнозировать кинетические кривые данных реакций с минимальным отклонением. Разработанная кинетическая модель может быть использована для проектирования и расчета модульной установки проточного реактора.
Также были определены основные параметры такого реактора: 12 ячеек цилиндрической формы, змеевидный канал длиной 1624 мм. Данная геометрия позволит повысить выход получаемого продукта, а в рамках применения микрофлюидных технологий — повысить управляемость и безопасность процесса, снизить затраты на его производство.
ОБОЗНАЧЕНИЯ
Cv | критерий оптимальности смешения; |
σ | стандартное отклонение концентрации компонентов; |
μ | среднее значение концентрации компонентов; |
x | концентрация компонента в i-м измерении, моль/м3; |
R | общая скорость реакций получения i-го продукта; |
v | скорость j-й реакции получения i-го продукта; |
| r | порядок j-й реакции; |
| T | температура, К; |
| Tref | относительная температура, К; |
| E | энергия активации, кДж/моль; |
| A | предэкспоненциальный множитель; |
оператор набла; | |
| ρ | плотность, кг/ м3; |
| u | скорость, м/с; |
| V | объем, м3; |
| S | площадь, м2; |
| t | время, с. |
ИНДЕКСЫ
| i | номер компонента; |
| j | номер реакции. |
About the authors
Х. Г. Кук
ФГБОУ ВО “Российский химико-технологический университет им. Д.И. Менделеева”
Author for correspondence.
Email: j.toht@igic.ras.ru
Передовая инженерная школа химического инжиниринга и машиностроения
Russian Federation, МоскваМ. В. Шишанов
ФГБОУ ВО “Российский химико-технологический университет им. Д.И. Менделеева”
Email: j.toht@igic.ras.ru
Передовая инженерная школа химического инжиниринга и машиностроения
Russian Federation, МоскваК. А. Досов
ФГБОУ ВО “Российский химико-технологический университет им. Д.И. Менделеева”
Email: j.toht@igic.ras.ru
Передовая инженерная школа химического инжиниринга и машиностроения
Russian Federation, МоскваД. В. Яшунин
ФГБОУ ВО “Российский химико-технологический университет им. Д.И. Менделеева”
Email: j.toht@igic.ras.ru
Передовая инженерная школа химического инжиниринга и машиностроения
Russian Federation, МоскваИ. А. Большаков
ФГБОУ ВО “Российский химико-технологический университет им. Д.И. Менделеева”
Email: j.toht@igic.ras.ru
Передовая инженерная школа химического инжиниринга и машиностроения
Russian Federation, МоскваН. В. Морозов
ФГБОУ ВО “Российский химико-технологический университет им. Д.И. Менделеева”
Email: j.toht@igic.ras.ru
Передовая инженерная школа химического инжиниринга и машиностроения
Russian Federation, МоскваReferences
- Timm RutherT., Marc-Andre Muller M.-A., Werner Bonrath W., Matthias Eisenacher M. The production of isophorone // Encyclopedia, 2023. V. - № 3. P. 224–244. https://doi.org/10.3390/encyclopedia3010015
- Jorge Quesada J., Laura Faba L., Eva Díaz E., Simona Bennici S., Aline Auroux A., Salvador Ordóñez S. Role of surface intermediates in the deactivation of Mg single bond Zr mixed oxides in acetone self-condensation: A combined DRIFT and ex situ characterization approach // Journal of Catalysis, 2015. № V. 329. P. 1–9. https://doi.org/10.1016/j.jcat.2015.04.029
- Jun Mei J., Zhirong Chen Zh., Shenfeng Yuan Sh., Jianyong Mao J., Haoran Li H., Hong Yin H. Kinetics of isophorone synthesis via self-condensation of supercritical acetone, // Chemical Engineering Technology, 2016. V. - № 39. P. 1867–1874. https://doi.org/10.1002/ceat.201600080
- Yan Liu Y., Wen Yan Luo W.Y. YMgAl-LDO synthesis and its catalytic performance for preparation of isophorone by condensation of acetone // Current Micro-Nano Science and Technology, 2015. V. - № 1118. P. 265–269. https://doi.org/10.4028/www.scientific.net/AMR.1118.265
- JP Patent No. 2023040249A. Daniela Lovric, Elena Jean, 2023.
- Satoshi Watanabe S., Shuji Ohsaki Sh., Akiko Fukuta A., Tatsuya Hanafusa T., Kento Takada K., Hideki T. et al. Taisuke Maki, Kazuhiro Mae, Minoru T. Miyahara, Characterization of mixing performance in a microreactor and its application to the synthesis of porous coordination polymer particles // Adv.anced Powder Technology, 2017. № V. 28. P. 3104–3110. https://doi.org/10.1016/j.apt.2017.09.005
- JP Patent No. 4331749B2. Oberbeck Sebastian Schwalbe Thomas Aozefelker Paul, Scalable continuous production system, 2004.
- Fardin Hosseini Kakavandi F.H., Masoud Rahimi M., Omid Jafari O., Neda Azimi N. Liquid–liquid two-phase mass transfer in T-type micromixers with different junctions and cylindrical pits // Chemical Engineering and Processing, 2016. - № V. 107. P. 58–67. https://doi.org/10.1016/j.cep.2016.06.011
- Фишер Р.А. Статистические методы для исследователей. Учебное пособие. – Ленинград: Изд. № 8, 1954. 267 с.
- Pranay J. Darda P.J., Vivek V. Ranade V.V. Isophorone reactor: Modelling and performance enhancement // Chemical Engineering Journal, 2012. V. - № 207. Р. 349–367.
Supplementary files














