The Composite Radio Absorbing Material Based on Resistive Rings
- Autores: Ponomarenko V.I.1, Lagunov I.M.1
-
Afiliações:
- Vernadsky Crimean Federal University
- Edição: Volume 68, Nº 2 (2023)
- Páginas: 127-130
- Seção: ELECTRODYNAMICS AND RADIO WAVE PROPAGATION
- URL: https://journals.rcsi.science/0033-8494/article/view/138109
- DOI: https://doi.org/10.31857/S0033849423010114
- EDN: https://elibrary.ru/EQPKWL
- ID: 138109
Citar
Texto integral
Resumo
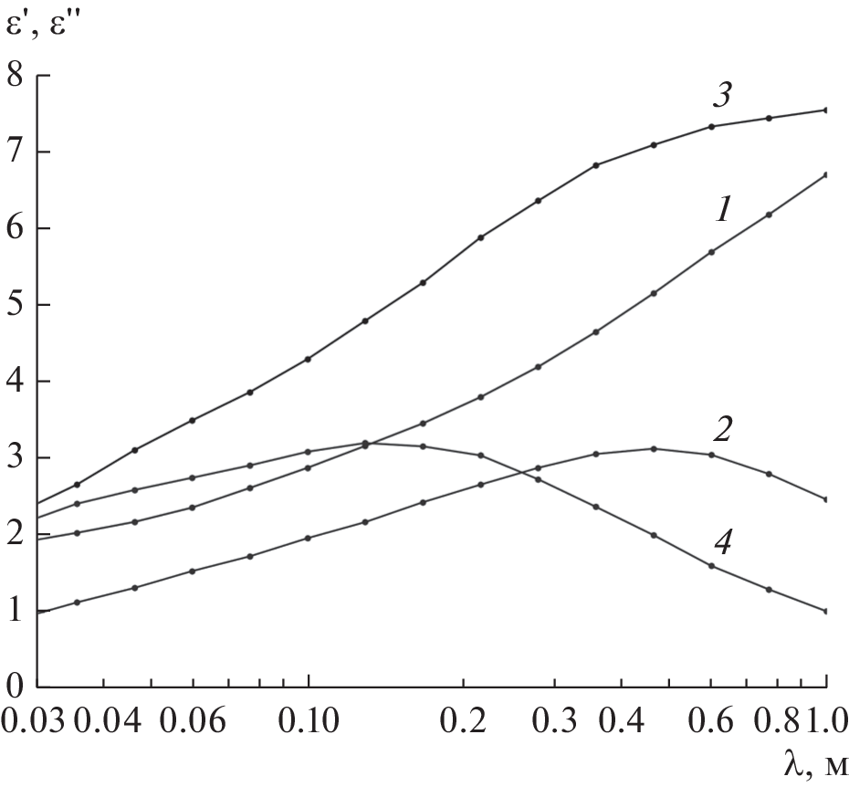
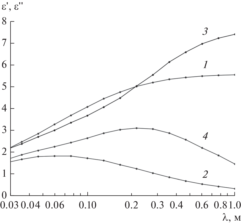
The frequency dependences of the effective permittivity of the structure in the form of an array consisting of ring resistive elements that are located in a dielectric layer are obtained. The calculations are based on the solution of the problem of diffraction of an electromagnetic wave normally incident on the structure. The possibility of variation of the dispersion dependences in wide limits by means of changing the structure
parameters is shown.
Palavras-chave
Sobre autores
V. Ponomarenko
Vernadsky Crimean Federal University
Email: vponom@gmail.com
Simferopol, 295007 Russia
I. Lagunov
Vernadsky Crimean Federal University
Autor responsável pela correspondência
Email: vponom@gmail.com
Simferopol, 295007 Russia
Bibliografia
- Лагарьков А.Н., Кисель В.Н., Семененко В.Н. // РЭ. 2012. Т. 57. № 10. С. 1119.
- Балагуров Б.Я. Электрофизические свойства композитов: Макроскопическая теория. М.: Ленанд, 2015.
- Пономаренко В.И., Лагунов И.М. Поглотители электромагнитных волн. Радиофизическая теория. Методы расчета. Симферополь: Полипринт, 2021.
- Розанов К.Н. Частотно-зависимые магнитные и диэлектрические свойства композитных материалов для широкополосных СВЧ-применений. Дис. … докт. физ.-мат. наук. М.: ИТПЭ РАН, 2018. 326 с.
- Hatakeyama K., Inui T. // IEEE Trans. 1984. V. Mag-20. № 5. P. 1261.
- Лагунов И.М., Пономаренко В.И. // РЭ. 2020. Т. 65. № 3. С. 245.
- Безуглов Д.А., Звездина М.Ю., Лагунов И.М. и др. Композиционные материалы: разработка и применение. Новосибирск: Изд-во АНС “СибАК”, 2017. С. 112.
- Пономаренко В.И., Лагунов И.М. // ЖТФ. 2020. Т. 90. № 6. С. 1009.
- Пономаренко В.И., Лагунов И.М. // РЭ. 2020. Т. 65. № 12. С. 1170.
- Бессонов Л.А. Теоретические основы электротехники. Электромагнитное поле. М.: Высш. школа, 1978.
- Никольский В.В., Никольская Т.И. Электродинамика и распространение радиоволн. М.: Наука, 1989.
- Мелешко А.И., Половников С.П. Углерод, углеродные волокна, углеродные композиты. М.: САЙНС-ПРЕСС, 2007.
- Левин Л. Теория волноводов. Методы решения волноводных задач. М.: Радио и связь, 1981.
Arquivos suplementares







