On the Motion of a Point Particle on a Homogeneous Gravitating Ball with a Spherical Inclusion
- Authors: Burov A.A.1, Nikonov V.I.1, Shalimova E.S.2
-
Affiliations:
- FRC CSC RAS
- Lomonosov Moscow State University
- Issue: Vol 88, No 2 (2024)
- Pages: 172-189
- Section: Articles
- URL: https://journals.rcsi.science/0032-8235/article/view/266188
- DOI: https://doi.org/10.31857/S0032823524020016
- EDN: https://elibrary.ru/XVNMMG
- ID: 266188
Cite item
Full Text
Abstract
A problem of motion of a point particle on a surface of a homogeneous gravitating ball with a spherical inclusion of a differing density is considered. It is assumed that the body rotates uniformly around its symmetry axis. It is supposed that "besides the gravitation force, the particle is subjected to dry friction.
The gravitational properties outside the ball are described. The dependence of existence, bifurcations, and stability of relative equilibria of the point particle on the body surface on the parameters of the problem is studied. The results are represented both analytically and as numerically obtained bifurcation diagrams.
Full Text
- Введение. При исследовании движения по поверхности достаточно быстро вращающегося малого небесного тела приходится принимать во внимание не только сложную геометрию этой поверхности и неоднородность поля притяжения, но и сопоставимость по величине силы притяжения с центробежной и кориолисовой силами (см., например, [1–5]). При этом особое внимание уделяют тому обстоятельству, что на поверхности тела могут существовать области, в которых реакция поверхности не компенсирует силу притяжения и центробежную силу и потому не удерживает незакрепленную частицу на самой этой поверхности ([6]).
При наличии сухого трения относительные равновесия на поверхности тела, вообще говоря, неизолированы. Области, заполненные относительными равновесиями, зависят от параметров. При их изучении применяют общие методы исследования существования, устойчивости и бифуркаций, развитые в работах [7–12]. Такие методы опробованы ранее на ряде механических систем [13–21].
В настоящей работе рассматривается тело в виде однородного шара со сферическим включением, плотность которого отличается от плотности шара и центр которого, вообще говоря, не совпадает с центром шара. Наличием массивного включения обусловлена нецентральность порождаемого телом поля притяжения. Тело с таким распределением масс динамически симметрично: оно может как равномерно вращаться вокруг одной из своих центральных осей инерции, так и совершать прецессионное движение. В работе предполагается, что тело вращается вокруг своей оси симметрии с постоянной угловой скоростью. Ставится и изучается вопрос о том, останется ли материальная точка, расположенная на поверхности шара, в покое под действием силы притяжения, нормальной реакции, силы сухого трения и центробежной силы.
Исследуемое в работе тело – особенный случай гантелеобразного тела, представляющего собой удобную модель для изучения движения частиц в поле притяжения тел с нерегулярным распределением масс. Различные свойства таких движений без контакта с поверхностью тела, в частности, точки либрации, исследовались в [22–27].
Заметим, что влияние вкраплений массы в небесное тело, известных как масконы, на траектории космических аппаратов и на коэффициенты в разложении потенциала притяжения хорошо известно. Возникающие динамические эффекты были предметом тщательного изучения (см., напр., [28–30]).
- Постановка задачи и основные обозначения. Прежде всего заметим, что рассматриваемая задача по постановке близка к задачам, рассмотренным авторами ранее в [17] (см. также [18]). Поэтому обозначения, а также изложение, по крайней мере на уровне основополагающих уравнений, остаются близкими к обозначениям и стилю повествования в упомянутых работах.
Рассмотрим твердое тело , получающееся изъятием содержимого сферической полости с центром C радиуса с поверхностью из однородного шара с центром B радиуса с поверхностью и последующим заполнением этой полости однородной средой, плотность которой в общем случае отличается от плотности шара , равной . Предположим, что тело совершает вращение вокруг своей оси симметрии с постоянной угловой скоростью ɷ, а по его поверхности движется частичка P. Ее движение осуществляется под действием силы притяжения со стороны тела , а также реакции со стороны поверхности тела, имеющей нормальную составляющую, препятствующую проникновению под поверхность тела, и касательную составляющую, представленную силой сухого трения. В дальнейшем предполагается, что частичка пренебрежимо мала по сравнению с телом и не оказывает влияния на его движение.
Введем вращающуюся вместе с телом правую систему отсчета Bx1x2x3 с началом в точке B так, что ось Bx3 совпадает с осью вращения. В первую очередь нас интересуют относительные равновесия частички P на поверхности вращающегося тела, и поскольку тело динамически и геометрически симметрично, то достаточно изучить положения относительного равновесия в любом из осевых сечений тела, например, в сечении плоскостью Bx3x1.
Положение частички в этой плоскости будем задавать углом (рис. 1). Тогда, если , то и
(2.1)
Рис. 1
Единичные векторы внешней нормали и касательной к поверхности, расположенные в рассматриваемой плоскости задаются как
соответственно.
В дальнейшем ограничимся рассмотрением случая, когда точка P располагается на поверхности – внешней поверхности тела. Точки этой поверхности, наименее и наиболее удаленные от сферического включения (СВ), назовем для удобства полюсами и обозначим N и S (рис. 1). Им отвечают углы и соответственно. Также для удобства части тела, прилегающие к полюсам N и S соответственно, будем называть северным и южным полушариями. Будем считать, что центр СВ располагается в северном полушарии. Тогда в возможном случае касания СВ и внешней поверхности тела такое касание происходит в полюсе N.
Пусть – масса всего шара без изъятой полости,
– “дополнительная масса включения”, которая может быть отрицательной, если плотность включения меньше плотности шара . Напряженность силы притяжения (“ускорение силы тяжести”, зависящее от точки, в котором оно определяется) со стороны тела записывается как
где напряженность порождается шаром без включения, а напряженность gC – “дополнительной массой” включения. При этом
(2.2)
Напряженность центробежной силы, а также нормальная и касательная составляющие реакции связи, отнесенные к массе точки, записываются как
соответственно.
Уравнения относительного равновесия точки P на сфере под действием приложенных сил в проекциях на нормаль и на касательную в точке P, соответственно, имеют вид
(2.3)
(2.4)
Условие существования относительных равновесий, в данном случае имеющее вид
после подстановки выражений для gN и gT из (2.3) и (2.4) и преобразований записывается как
(2.5)
Здесь и далее µ – коэффициент трения, α: – угол трения.
После подстановки в (2.5) соотношений (2.1), (2.2), введения обозначений
и преобразований, это неравенство может быть представлено в виде
(2.6)
(2.7)
(2.8)
Таким образом, при плотность СВ больше плотности шара, при шар однородный (случай, изученный в [17]), а при плотность СВ меньше плотности шара. Наличие в теле сферической полости также соответствует различным отрицательным значениям K, в зависимости от ее радиуса . Случай – вырожденный, он соответствует изъятию всей массы шара (см. [18, 19, 27]).
Замечание 1. Можно предложить и более точную оценку величины параметра K. На самом деле, так как , то
(2.9)
Замечание 2. Неравенство (2.6), вообще говоря, отличается от аналогичного неравенства (2.3) из работы [18] за счет наличия дополнительного параметра K. При полость пуста, и имеет место постановка задачи, изучавшаяся в [18].
Знак функции определяет направление нормальной реакции: если выполнено условие
, (2.10)
то нормальная реакция направлена вовне тела . Иными словами, физически осмысленное относительное равновесие существует, если помимо неравенства (2.6) выполняется неравенство (2.10). В дальнейшем считается, что размерные единицы выбраны таким образом, что .
- Равновесия на поверхности неподвижного тела. Решение неравенства (2.6) зависит от параметров , а также от параметра K, стесненного в силу неравенства (2.9) соотношением
Изучение зависимостей областей, заполненных равновесиями, от перечисленных параметров начнем со случая, когда тело не вращается, т. е. .
Прежде всего, заметим, что на равновесиях , так как сила притяжения в точках поверхности всегда направлена внутрь шара. Тогда условие существования относительных равновесий принимает вид:
(3.1)
В этом случае множество равновесий зависит от параметров µ, d и K.
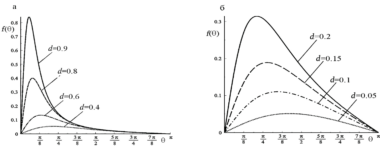
3.1. Зависимость от µ. Сначала изучим влияние на эти области коэффициента сухого трения µ. Для этого рассмотрим функцию
(3.2)
Функция (3.2) – непрерывная, периодическая, четная функция аргумента . Она достигает на своем периоде максимального значения , зависящего от d и K, которые предполагаются фиксированными. Если , то вся поверхность тела заполнена равновесиями. При на поверхности тела выделяется кольцеобразная область с границами, параллельными экватору (“пояс”), внутри которого равновесий нет. Эти равновесия сосредоточены в северной и южной “шапочках”, прилегающих к полюсам N и S. При эти шапочки стягиваются к соответствующим полюсам.
Пусть . На рис. 2, а изображены графики функции при d = 0.5 и различных значениях параметра K. При больших значениях “дополнительной массы” включения, т. е. при , график функции стремится к кривой (на рис. 2, а она обозначена пунктиром).
Рис. 2
Замечание 3. При поверхность тела будет заполнена равновесиями
при любых положительных значениях параметра K.
Случай K = 0 тривиален: все тело однородно, и его поверхность заполнена равновесиями.
Пусть теперь плотность СВ меньше плотности тела, т. е. . При фиксированном расстоянии между центрами шара и СВ d = 0.5 и различных отрицательных значениях параметра K графики функции изображены на рис. 2, б (ср. рис. 2 из [18]). Как и в случае положительных K, при поверхность целиком заполнена равновесиями, а если , то существует “пояс” без равновесий, разделяющий приполярные области, заполненные равновесиями.
3.2. Зависимость от d. Функция также зависит от параметра d. На рис. 3, а изображены примеры графика функции при положительном значении “дополнительной массы” (параметр K = 0.1), а на рис. 3, б – при ее отрицательном значении (параметр K = –0.5) и различных значениях расстояния d между центром шара и центром включения. Отметим, что в случае величина d ограничена сверху значением . Можно видеть, что в обоих случаях максимальное значение , достигаемое функцией f на периоде, растет с увеличением расстояния d. При равновесиями заполнена вся ограничивающая шар сферическая поверхность, а при на сфере имеется разделяющий приполярные области равновесий “пояс”, на котором равновесий нет.
Рис. 3
3.3. Зависимость от K. Для исследования указанной зависимости перепишем неравенство (11) в виде
(3.3)
Четвертая часть дискриминанта функции Ф, рассмотренной как многочлен по K, имеет вид
Нетрудно видеть, что в рамках сделанных допущений сам дискриминант неотрицателен и обращается в нуль лишь при . Тогда у многочлена Ф(К) имеется пара вещественных корней
(3.4)
На плоскости эти корни отвечают двум ветвям двухзначной функции . Обозначим их Г_ и Г+ соответственно. Там, где , ветвь Г+ находится над ветвью Г_. И, наоборот, там, где , ветвь Г+ находится под ветвью Г_.
Используя угол трения α вместо коэффициента трения µ, заметим, что
Таким образом, эта производная обращается в нуль при
причем два последних нуля существуют лишь в случае, когда
При этом
Таким образом, если , то а < 0. Если , то а = 0 при
Если , то а = 0 при
θ таких, что
Изучим взаимное расположение кривых Г+ и Г_, а также их свойства. Рассматривая K в качестве параметра, определим точки бифуркации. Для этого исследуем корни уравнений
(3.5)
По-другому эти уравнения находятся так
Поскольку в точках бифуркации то эти точки определяются из уравнения
Подставляя в это соотношение величины K± из (3.4), находим требуемые уравнения.
Эти весьма громоздкие уравнения после преобразований приводятся к виду
(3.6)
для ветви Г_ и к виду
(3.7)
для ветви Г+ соответственно.
Замечание 4. Дискриминант выражения (3.6), рассмотренного как многочлен
относительно d, оказывается неотрицательным:
Он обращается в нуль при θ = 0, чему отвечает двукратный корень d = 1.
Корни уравнений (3.6) и (3.7) существенно зависят от параметров задачи. Рассмотрим некоторые случаи.
а) Пусть выполнено неравенство
(3.8)
т.е. δ < 1, и у уравнения (3.6) имеется корень θ = θ1, которому отвечает значение K = K1, при этом . Пара (θ1, K1) на плоскости (θ, K) задает точку бифуркации, принадлежащую кривой Г_. Кроме того, у уравнения (3.7) имеется корень θ = θ2, ему отвечает значение K = K2. Пара (θ2, K2) на плоскости (θ, K) задает точку бифуркации, принадлежащую кривой Г+. Для d = 0.5 и такая ситуация изображена на рис. 4, а. Здесь и далее на рисунках области, на которых выполнено неравенство (2.6), выделены темно-серым цветом.
Пусть K возрастает от предельного значения , при котором равновесия существуют в северной и южной приполярных областях. С ростом K приполярные области расширяются и соединяются в точке (θ1,K1), полностью заполняя поверхность сферы при . При дальнейшем росте K в точке (θ2, K2) область, заполненная равновесиями, вновь расщепляется на две приполярные области, каждая из которых сужается с ростом K. В пределе, при , границы северной и южной приполярных областей стягиваются к окружностям, задаваемым соотношениями
(3.9)
соответственно. На рисунках эти асимптоты обозначены пунктирной линией.
б) Пусть снова выполнено неравенство (3.8), т. е. δ < 1, но значение K1, которому отвечает корень уравнения (3.6) такое, что . Кроме того, пусть у уравнения (3.7) имеется корень θ = θ2, ему отвечает значение K = K2. Пара (θ2,K2) на плоскости (θ,K) задает точку бифуркации, принадлежащую кривой Г+. Такой случай для d = 0.5 и µ = 0.3 изображен на рис. 4, б.
В этом случае при K < K2 вся сфера заполнена равновесиями, а приvпроисходит бифуркация: на сфере есть две области равновесий, содержащие полюса N и S, разделенных “поясом”, на котором равновесий нет. Его границы с увеличением параметра K стремятся к тем же значениям θN у области, содержащей полюс N, и к θS у области, содержащей полюс S, что и в предыдущем случае.
в) Пусть теперь неравенство (3.8) не выполнено, т. е. , и у уравнения (3.6) имеется корень θ = θ1, которому отвечает значение K = K1 , при этом . Пара (θ1,K1) на плоскости (θ,K) задает точку бифуркации, принадлежащую кривой Г_. Тогда, если , то на сфере имеются две приполярных области равновесий, разделенные “поясом”, на котором равновесий нет, и при этом область, содержащая полюс N, более узкая, чем область, содержащая полюс S. При K = K1 эти области соединяются, и при вся сфера оказывается заполненной равновесиями. Пример такого случая приведен на рис. 4, в, здесь выбраны параметры d = 0.1 и µ = 0.11.
г) Пусть, наконец, неравенство (3.8) снова не выполнено, т. е. , но значение K1, которому соответствует корень уравнения (3.6), таково, что . В этом случае вся сфера заполнена равновесиями при любых возможных допустимых значениях параметра K. Соответствующий пример при d = 0.5 и µ = 0.6 приведен на рис. 4, г.
Рис. 4
- Равновесия на поверхности вращающегося тела. Теперь рассмотрим случай, когда тело равномерно вращается вокруг своей оси симметрии. Здесь решающая роль принадлежит игре между силой притяжения, силами реакции и центробежной силой. Изучим зависимость областей, заполненных относительными равновесиями от величины угловой скорости такого вращения Ω. Посмотрим, как с увеличением угловой скорости будут меняться бифуркационные диаграммы, описанные в предыдущем разделе. Во избежание введения дополнительных сокращений в этом разделе для краткости относительные равновесия именуются равновесиями.
На рис. 5 изображено изменение областей относительных равновесий при расстоянии между центрами сферы и СВ d = 0.5 и коэффициенте трения (тогда , и значение K1, которому отвечает корень уравнения (3.6), таково, что , см. пункт б) предыдущего раздела). В этом случае с увеличением угловой скорости от нуля (рис. 5, а) при некотором появится такое K1 : , что при на сфере имеются две приполярныe области равновесий, разделенныe “поясом”, при вся сфера заполнена равновесиями, а при область, заполненная равновесиями, вновь расщепляется на две приполярные области, каждая из которых сужается с ростом K (рис. 5, б).
С ростом бифуркационная диаграмма (рис. 5, б) деформируется, и при некотором имеются три значения такие, что при на сфере имеются не только две области равновесий, содержащие полюса N и S, но и третья область, а именно, “пояс” равновесий между ними, который сужается с ростом K (рис. 5, в). При на сфере есть только две приполярные области, каждая из которых сужается с ростом К. При этом, как и ранее, для на сфере имеются две приполярных области равновесий, при сфера полностью заполнена равновесиями, а при снова остаются две приполярные области.
Рис. 5
С дальнейшим увеличением угловой скорости бифуркационная диаграмма продолжает деформироваться. Значение , при котором на сфере, заполненной равновесиями, появляется “пояс” без равновесий, будет уменьшаться, при этом, если сперва этот “пояс” появлялся ближе к полюсу N, то начиная с некоторого значения он будет появляться ближе к полюсу S. При прохождении угловой скорости
через критическое значение на сфере появляются области, в которых точка не может находиться в равновесии для всех допустимых значений K (рис. 5, г). При на сфере имеются две приполярных области, заполненных равновесиями, разделенных “поясом”, причем область равновесий, содержащая полюс N, более узкая. При переходе через значение этот “пояс” стягивается в окружность, отвечающую значению , и исчезает с дальнейшем ростом значений K. При этом из окружности, задаваемой значением расходится другой “пояс” без равновесий. Таким образом, при на сфере снова наблюдаются две приполярные области равновесий, но теперь область, содержащая полюс N, оказывается более широкой. При на сфере имеются три области равновесий: две приполярных области и “пояс” равновесий между ними. При этот “пояс” исчезает, и снова остаются только две приполярные области.
При дальнейшем возрастании угловой скорости появляются и отрицательные значения K, при которых на сфере имеются не только две приполярных области равновесий, но и заполненный равновесиями “пояс” между ними. Начиная с некоторого значения , такая картина наблюдается при всех возможных отрицательных значениях параметра K (рис. 5, д).
С ростом Ω, начиная с некоторого , появятся такие отрицательные значения K, что нормальная реакция на этом “поясе” имеет другой знак, то есть при этих K точка не покоится на сфере, а отрывается от ее поверхности. При Ω = 1 нормальная реакция на “поясе” равновесий меняет знак при всех отрицательных значениях K. При этом для положительных K отрыва от поверхности на “поясе” не происходит. Таким образом, при точка находится в равновесии только в двух приполярных областях, при на сфере имеются три области равновесий – две приполярные и “пояс” равновесий между ними, и, наконец, при вновь имеются только две приполярные области (рис. 5, е). Здесь и далее на рисунках граница смены знака нормальной реакции обозначена штрихпунктирной линией, а области, на которых неравенство (2.6) выполнено, но происходит отрыв от поверхности, выделены светло-серым цветом. Понятно, что равновесия из этого класса не имеют физического смысла в данной постановке задачи.
При нормальная реакция на поясе равновесий меняет знак и при некоторых положительных значениях параметра K. Значение , при котором происходит смена знака, возрастает с ростом угловой скорости. При достаточно больших значениях Ω на сфере всегда имеются две области равновесий, содержащие полюсы N и S соответственно (рис. 5, ж).
Замечание 5. В пределе, при , границы северной и южной приполярных областей также асимптотически стремятся к окружностям, задаваемым соотношениями (3.9) вне зависимости от значений угловой скорости Ω.
Замечание 6. Бифуркационная диаграмма, построенная для случая, когда , и значение , которому отвечает корень уравнения (3.6) таково, что (рис. 4, а), при росте угловой скорости изменяется по схеме, схожей со схемой, примененной на рис. 5, б–ж.
Теперь рассмотрим изменение бифуркационной диаграммы для и значения , соответствующего корню уравнения (3.6) такого, что (случай г) предыдущего раздела). Посмотрим, как с увеличением угловой скорости меняется диаграмма, построенная для расстояния между центрами сферы и СВ , коэффициента трения и (рис. 6, а). При достижении угловой скоростью некоторого значения появляется такое , что при на сфере имеются две приполярных области, заполненные равновесиями, а при равновесиями заполнена вся сфера (рис. 6, б).
Затем при некотором появляются такие значения , что при области, заполненные равновесиями, представляют собой две приполярных области и “пояс” между ними, при равновесиями заполнены лишь приполярные области, а при равновесия заполняют всю сферу (рис. 6, в).
Рис. 6
При для всех возможных отрицательных K на сфере будут две приполярных области равновесий и “пояс” равновесий между ними. При этом для всех положительных K вся сфера будет заполнена относительными равновесиями (рис. 6, г). Кроме того, при стремлении границы областей стремятся к окружностям, задаваемым углами и , соответственно.
С дальнейшим увеличением угловой скорости области без равновесий появляются и при положительных значениях K. Таким образом, при таких значениях Ω существуют , : , что при на сфере имеются три области равновесий, а именно, две приполярные области и “пояс” равновесий между ними. При на сфере остаются только две области, содержащие полюса N и S, при этом область, содержащая полюс N, будет шире. Наконец, при вся сфера оказывается заполненной равновесиями (рис. 6, д).
Так же, как и в прошлом случае, с ростом Ω, начиная с некоторого , появятся такие отрицательные значения K, что нормальная реакция на “поясе” равновесий имеет другой знак.
Пусть (рис. 6, е). Тогда уже при всех для равновесий, принадлежащих “поясу” нормальная реакция отрицательна, и такие равновесия не имеют физического смысла. В то же время при нормальная реакция в точках пояса положительна, и соответствующие равновесия физически осмысленны. Таким образом, при отрицательных K точка находится в равновесии лишь в двух приполярных областях. Далее, найдется , такое, что при области, заполненные равновесиями, состоят из двух приполярных областей и “пояса” между ними. Кроме того, найдется , такое, что при вновь останутся только две приполярные области равновесий, причем северная приполярная область шире южной. Наконец, при вся сфера будет заполнена равновесиями.
При обращение нормальной реакции в нуль и отвечающий такому обращению отрыв от поверхности для равновесий из пояса происходит и при положительных значениях параметра K, при этом значение , при котором происходит смена знака нормальной реакции, растет с ростом угловой скорости. Понятно, что такие “оторвавшиеся” равновесия физического смысла не имеют. Иными словами, при больших значениях Ω существует значение , такое, что при равновесия заполняют лишь две приполярные области, а при вся сфера будет заполнена равновесиями (рис. 6, ж).
Замечание 7. Бифуркационная диаграмма, построенная для случая и корня уравнения (3.6), отвечающему значению такому, что (рис. 4, в) будет изменяться по схеме, схожей с изображенной на рис. 6, б–ж.
- Об устойчивости относительных равновесий. Положения относительного равновесия, расположенные внутри найденных областей, устойчивы по Ляпунову, что следует из результатов Г.К. Пожарицкого [31]. Можно, как и в [16, 18, 19], поставить вопрос об устойчивости связных компонент областей, заполненных равновесиями, в следующем смысле: связная компонента считается устойчивой, если для каждой точки ее границы проекция суммы активных сил и центробежной силы на плоскость, касательную к поверхности в этой точке, направлена внутрь рассматриваемой связной компоненты. Если найдется хотя бы одна точка границы связной компоненты, для которой эта проекция будет направлена во внешнюю часть рассматриваемой компоненты, то будем считать компоненту неустойчивой.
Замечание 8. В рассматриваемой задаче благодаря осевой симметрии это свойство достаточно проверить для любого сечения поверхности тела вдоль меридиана.
Введенное таким образом определение устойчивости проверяется путем анализа знака функции в точках границы области, заполненной равновесиями. На бифуркационных диаграммах (рис. 4–6) точки границ областей равновесия, в которых упомянутая проекция суммы сил направлена вовне соответствующей связной компоненты, прорисованы пунктиром, а точки границ, в которых эта проекция суммы сил направлена внутрь соответствующей связной компоненты, прорисованы сплошной линией.
В качестве примера обсудим устойчивость компонент областей относительных равновесий в случае, приведенном на рис. 4, а. Так, при приполярная компонента, содержащая полюс N, неустойчива, а противоположная приполярная компонента – устойчива. При имеется единственная связная компонента, совпадающая со всей сферой. Она не имеет границ, т. е. устойчива. При приполярная компонента, содержащая полюс N, будет устойчивой, а компонента, содержащая полюс S – неустойчивой.
Выводы. Исследование показало, что области, заполненные неизолированными относительными равновесиями, на поверхности сферического тела с включением существенно зависят от параметров системы. Выявлены существенные отличия от рассмотренного ранее случая [18], когда рассматривается не массивное включение, а незаполненная полость. В частности, при любом значении угловой скорости вращения тела существует такое значение дополнительной массы включения K, что на сфере есть или две приполярные области равновесий, причем северная компонента устойчива, а южная неустойчива, или вся сфера заполнена равновесиями. В случае незаполненной полости подобного не наблюдается.
Заметим, что вид функции напряженности силы притяжения со стороны тела позволяет получить выражение для напряженности силы притяжения в случае, когда в сферическом теле есть несколько сферических включений различной плотности. Таким образом, и в этом более сложном случае можно выполнить исследование относительных равновесий на поверхности тела.
Исследование выполнено при поддержке Российского научного фонда (проект № 22–21–00297).
About the authors
A. A. Burov
FRC CSC RAS
Author for correspondence.
Email: jtm@narod.ru
Russian Federation, Moscow
V. I. Nikonov
FRC CSC RAS
Email: nikon_v@list.ru
Russian Federation, Moscow
E. S. Shalimova
Lomonosov Moscow State University
Email: ekateryna-shalimova@yandex.ru
Russian Federation, Moscow
References
- Guibout V., Scheeres D.J. Stability of surface motion on a rotating ellipsoid // Celest. Mech.&Dyn. Astron., 2003, vol. 87, pp. 263–290.
- Bellerose J., Girard A., Scheeres D.J. Dynamics and Control of Surface Exploration. Robots on Asteroids // in: Optimization & Cooperative Control Strategies. LNCIS381. / Ed. by Hirsch M.J. et al. Heidelberg: Springer, 2009. pp. 135–150.
- Jiang Y., Zhang Y, Baoyin H. Surface motion relative to the irregular celestial bodies // Planetary&Space Sci., 2016, vol. 127, pp. 33–43.
- Tardivel S., Scheeres D. J., Michel P. et al. Contact motion on surface of asteroid // J. Spacecraft&Rockets, 2015, vol. 51, no. 6, pp. 1857–1871.
- Zhang Y., Zeng X., Circi C. et al. The motion of surface particles for the asteroid 101955 Bennu // Acta Astronaut., 2019, vol. 163, pt. B, pp. 3–10.
- Ryabova, G.O. Asteroid 1620 Geographos: I. Rotation. // Solar System Res., 2002, vol. 36, pp. 168–174.
- Van de Wouw N., Leine R.I. Stability of stationary sets in nonlinear systems with set-valued friction // Proc. 45th IEEE Conf. Decision and Control and European Control Conf. (CDC2006), San Diego, USA, 2006, pp. 3765–3770.
- Leine R.I., van de Wouw N. Stability and convergence of mechanical systems with unilateral constraints // Lecture Notes in Appl.&Comput. Mech., 2008, vol. 36, 236 p.
- Leine R.I., van Campen D.H. Bifurcation phenomena in non-smooth dynamical systems // Europ. J. Mech. A/Solids, 2006, vol. 25, pp. 595–616.
- Leine R.I. Bifurcations of equilibria in non-smooth continuous systems // Physica D, 2006, vol. 223, pp. 121–137.
- Ivanov A. Bifurcations in systems with friction: Basic models and methods // R&C Dyn., 2009, vol. 14, no. 6, pp. 656–672.
- Ivanov A.P. Fundamentals of the Theory of Systems with Friction. Moscow; Izhevsk: Izhevsk Inst. of Comput. Sci., 2011, 304 p. (in Russian)
- Burov A.A., Yakushev I.A. Bifurcations of the relative equilibria of a heavy bead on a rotating hoop with dry friction // JAMM, 2014, vol. 78, iss. 5, pp. 460–467.
- Burov A.A., Shalimova E.S. On the motion of a heavy material point on a rotating sphere (dry friction case) // R&C Dyn., 2015, vol. 20, no. 3, pp. 225–233.
- Burov A.A., Shalimova E.S. Bifurcations of relative equilibria of a heavy bead on a rotating parabolic bowl with dry friction // Mech. of Solids, 2016, vol. 51, no. 4, pp. 395–405.
- Shalimova E.S. On the motion of a material point on a rotating sphere with dry friction (the case of the vertical axis) // Nelin. Din., 2016, vol. 12, no. 3, pp. 369–383. (in Russian)
- Burov A.A., Kosenko I.I., Shalimova E.S. Relative equilibria of a massive point on a uniformly rotating asteroid // Dokl. Phys., 2017, vol. 62, no. 7, pp. 359–362.
- Burov A.A., Nikonov V.I., Shalimova E.S. On the motion of a point particle on a homogeneous gravitating ball with a spherical cavity in the presence of dry friction // Mech. of Solids, 2021, vol. 56, no. 8, pp. 1587–1598.
- Burov A.A., Nikonov V.I., Shalimova E.S. On relative equilibria on the surface of a spherical cavity inside a uniformly rotating gravitating sphere // Mech. of Solids, 2022, vol, 57, no. 8, pp. 1862–1872.
- Burov A.A., Nikonov V.I. Relative equilibria of a heavy point on a uniformly rotating inclined plane // Mech. of Solids, 2023, vol. 58, no. 1, pp. 131–139.
- Burov A.A., Nikonov V.I. On the relative equilibria of a heavy bead on a uniformly rotating rough spoke // Mech. of Solids, 2023, vol. 58, no. 3, pp. 748–753.
- Beletsky V.V. Generalized restricted circular three-body problem as a model for dynamics of binary asteroids // Cosmic Res., 2007, vol. 45, pp. 408–416.
- Beletsky V.V., Rodnikov A.V. On evolution of libration points similar to Eulerian in the model problem of the binary-asteroids dynamics // J. Vibroengng., 2008, vol. 10, no. 4, pp. 550–556.
- Beletsky V.V., Rodnikov A.V. Stability of triangle libration points in generalized restricted circular three-body problem // Cosmic Res., 2008, vol. 46, pp. 40–48.
- Munitsyna M.A. Relative equilibria of a point in a gravity field of a symmetrical solid body // in: Problems of Investigating the Stability and Stabilization of Motion. Moscow: Computing Center of the RAS, 2009. pp. 14–19. (in Russian)
- Beletsky V.V., Rodnikov A.V. Coplanar libration points in the generalized restricted circular problem of three bodies // Nelin. Din., 2011, vol. 7, no. 3, pp. 569–576. (in Russian)
- Burov A.A., Nikonov V.I. Libration points inside a spherical cavity of a uniformly rotating gravitating ball // Rus. J. of Nonlin. Dyn., 2021, vol. 17, no. 4, pp. 413–427.
- Lidov M.L., Gordeeva Y.F. Effect of mascons on prediction of the motion of artificial lunar satellites // Cosmic Res., 1974, vol. 12, pp. 449.
- Lidov M.L., Lyakhova V.A., Solov’ev A.A. Semi-analytical calculation of the motion of an artificial satellite of the Moon // Cosmic Res., 1975, vol. 13, pp. 249–274.
- Lidov M.L., Gordeeva Yu.F. Influence of “mascons” on the determination of the coefficients of the gravitational field of the moon // in: New Methods of Satellite Geodesy, 1977, pp. 564–586.
- Pozharitsky G.K. Stability of equilibria for the systems with dry friction // JAMM, 1962, vol. 26, iss. 1, pp. 5–14.
Supplementary files








