О некоторых закономерностях реализации электростатической неустойчивости заряженной поверхности жидкости в бассейне конечных размеров
- Авторы: Григорьев А.И.1, Ширяева С.О.2, Коромыслов В.А.3
-
Учреждения:
- Институт проблем механики им. А.Ю. Ишлинского РАН
- Ярославский государственный университет им. П.Г. Демидова
- Петербургский государственный университет путей сообщений Императора Александра I. Ярославский филиал
- Выпуск: Том 87, № 3 (2023)
- Страницы: 392-408
- Раздел: Статьи
- URL: https://journals.rcsi.science/0032-8235/article/view/138866
- DOI: https://doi.org/10.31857/S0032823523030037
- EDN: https://elibrary.ru/ZSLXLQ
- ID: 138866
Цитировать
Полный текст
Аннотация
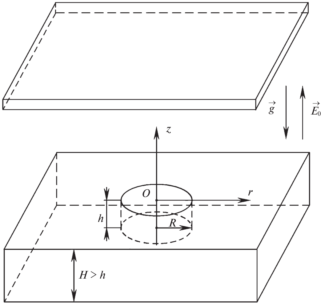
Рассмотрены физические закономерности реализации электростатической неустойчивости плоской заряженной поверхности несжимаемой вязкой проводящей жидкости в бассейне конечных размеров, где спектр появляющихся капиллярных волн дискретен. Показано, что критические условия начала электростатической неустойчивости несжимаемой вязкой проводящей жидкости в бассейне конечных размеров, совпадают с таковыми для безграничной поверхности бесконечно глубокой идеальной несжимаемой жидкости (совпадают с условиями реализации неустойчивости Тонкса–Френкеля). Это позволяет при экспериментальной проверке критерия реализации неустойчивости Тонкса–Френкеля пользоваться бассейнами конечных размеров, не допуская принципиальных ошибок.
Об авторах
А. И. Григорьев
Институт проблем механики им. А.Ю. Ишлинского РАН
Автор, ответственный за переписку.
Email: grigorai@mail.ru
Россия, Москва
С. О. Ширяева
Ярославский государственный университет им. П.Г. Демидова
Автор, ответственный за переписку.
Email: shir@uniyar.ac.ru
Россия, Ярославль
В. А. Коромыслов
Петербургский государственный университет путей сообщений Императора Александра I.Ярославский филиал
Автор, ответственный за переписку.
Email: s_myslov@mail.ru
Россия, Ярославль
Список литературы
- Rayleigh (Strutt J.W.) On the equilibrium of liquid conducting masses charged with electricity // Phil. Mag. 1882. V. 14. P. 184–186.
- Hendrics C.D., Schneider J.M. Stability of conducting droplet under the influence of surface tension and electrostatic forces // J. Amer. Phys. 1963. V. 1. № 6. P. 450–453.
- Taylor G.I. Disintegration of water drops in an electric field // Proc. Ro.y Soc. London. 1964. V. A280. P. 383–397.
- Zeleny J. On the conditions of instability of electrified drops, with application to the electrical discharge from liquid points // Proc. Cambridge Phil. Soc. 1914. V. 18. Pt. 1. P. 71–83.
- Zeleny J. Instability of electrified liquid surfaces // The Phys. Rev. 1917. V. 10. № 1. P. 1–6.
- Doyle A., Moffet D.R., Vonnegut B. Behavior of evaporating electrically charged droplets // J. Coll. Sci. 1964. V. 19. P. 136–143.
- Hunter H.C., Ray Asit K. On progeny droplets emitted during Coulombic fission of charged microdrops // Phys. Chem. Chem. Phys. 2009. V. 11. № 29. P. 6156–6165.
- Inculet I.I., Floryan J.M., Haywood R.J. Dynamics of water droplets breakup in electric fields // IEEE Trans. on Industry Appl. 1992. V. 28. № 5. P. 1203–1209.
- Karyappa R.B., Deshmukh S.D., Thaokar R.M. Breakup of a conducting drop in a uniform electric field // J. Fluid Mech. 2014. V. 754. P. 550–589.
- Григорьев А.И. Электростатическая неустойчивость сильно заряженной струи электропроводной жидкости // ЖТФ. 2009. Т. 79. № 4. С. 36–45.
- Cloupeau M., Prunet Foch B. Electrohydrodynamic spraying functioning modes: a critical review // J. Aerosol Sci. 1994. V. 25. № 6. P. 1021–1035.
- Jaworek A., Krupa A. Classification of the modes of EHD spraying // J Aerosol Sci. 1999. V. 30. № 7. P. 873–893.
- Tonks L. A Theory of liquid surface rupture by uniform electric field // Phys. Rev. 1935. № 48. P. 562–568.
- Френкель Я.И. К теории Тонкса о разрыве поверхности жидкости постоянным электрическим полем в вакууме // ЖЭТФ. 1936. Т. 6. № 4. С. 348–350.
- Taylor G.I., McEwan A.D. The stability of horizontal fluid interface in a vertical electric field // J. Fluid Mech. 1965. V. 22. № 1. P. 1–15.
- Габович М.Д., Порицкий В.Я. Исследование нелинейных волн на поверхности жидкого металла, находящегося в электрическом поле // Письма в ЖЭТФ. 1981. Т. 33. № 6. С. 320–324.
- Ландау Л.Д., Лифшиц Е.М. Гидродинамика. М.: Наука, 1982. 620 с.
- Ландау Л.Д., Лифшиц Е.М. Электродинамика сплошных сред. М.: Наука, 1982. 620 с.
- Лазарянц А.Э., Ширяева С.О., Григорьев А.И. Скаляризация векторных краевых задач. М.: Русайнс, 2020. 142 с.
- Найфе А.Х. Методы возмущений. М.: Мир, 1976. 455 с.
Дополнительные файлы




