Некоторые методы исследования дислокационной структуры и механических свойств твердых тел (обзор)
- Authors: Дриаев Д.Г.1
-
Affiliations:
- Институт физики им. Э. Андроникашвили Тбилисского государственного университета им. И. Джавахишвили
- Issue: No 4 (2024)
- Pages: 15-23
- Section: Articles
- URL: https://journals.rcsi.science/0032-8162/article/view/279079
- DOI: https://doi.org/10.31857/S0032816224040021
- EDN: https://elibrary.ru/NZJMWG
- ID: 279079
Cite item
Full Text
Abstract
Описаны оригинальные экспериментальные методы исследования дислокационной структуры и механических свойств твердых тел, разработанные в Институте физики им. Э. Андроникашвили: 1) способ возбуждения механических колебаний ионного кристалла путем воздействия на заряженные дислокации; 2) высокодобротный камертон нового типа (трехъязычковый) и основанный на нем акустический спектрометр; 3) способ деформирования кристалла сдвигом по одной системе плоскостей скольжения; 4) метод генерации дислокаций одного механического знака; 5) способ определения параметров релаксационного процесса; 6) метод вибрирующего сверхпроводника.
Full Text
ВВЕДЕНИЕ
В процессе исследовательской работы в Институте физики им. Э. Андроникашвили было разработано множество новых методов и приборов; в качестве методики эксперимента они были приведены в статьях, опубликованных в разное время в российских и зарубежных научных журналах. Некоторые из них были запатентованы и имеют самостоятельную ценность как оригинальный вклад в технику физического эксперимента. Представляется целесообразным опубликовать обзор этих методов, чтобы они не прошли мимо внимания экспериментаторов, занимающихся исследованиями механических свойств твердых тел.
СПОСОБ ВОЗБУЖДЕНИЯ МЕХАНИЧЕСКИХ КОЛЕБАНИЙ КРИСТАЛЛА ПУТЕМ ВОЗДЕЙСТВИЯ НА ЗАРЯЖЕННЫЕ ДИСЛОКАЦИИ
В щелочногалоидных кристаллах, обладающих центрально-симметричной структурой, пьезоэффект отсутствует. Однако этим ионным кристаллам присущи электромеханические явления, обусловленные тем обстоятельством, что дислокации в них имеют электрический заряд. Движение заряженных дислокаций при упругой или пластической деформации кристаллов вызывает их поляризацию (прямой псевдо-пьезоэффект), а электрическое поле способствует дислокационной деформации (обратный псевдо-пьезоэффект) [1].
Электростатическое поле вызывает перемещение дислокаций, однако деформация при этом настолько мизерна, что обнаружить ее практически невозможно. Поэтому мы обратились к динамическому режиму – измерения проводились в переменном электрическом поле на резонансной частоте механических изгибных колебаний образца, обладающего высокой механической добротностью (Q ≥ 104), когда образец служит акустическим усилителем колебаний с коэффициентом, равным Q [2]. Схема опыта представлена на рис. 1.
Рис. 1. Блок-схема метода возбуждения и регистрации колебаний.
Кристаллы LiF размером 100 × 10 × 5 мм3 были выколоты из монокристаллического блока по плоскостям спайности {100}. На две противоположные грани испарением в вакууме наносились серебряные пленки, одна из которых заземлялась, а ко второй подводилось переменное напряжение. Кристалл зажимался четырьмя иглами в узловых точках (они находились в середине боковой грани на расстоянии 0.224l от его концов, где l – длина образца), кристалл представлял собой одноволновый вибратор на изгибных колебаниях с собственной частотой
, (1)
где d – толщина образца, l – его длина, M – его модуль упругости, а ρ – его плотность; в случае одноволнового вибратора с = 1.02.
Переменное напряжение, создающее в кристалле электрическое поле, подводилось к проводящим пленкам от высоковольтного усилителя, ко входу которого был подключен звуковой генератор. При совпадении частоты поля с собственной частотой образца (около 3 кГц) кристалл приходил в колебательное движение на этой же частоте (что исключало наличие электрострикции).
Регистрация колебаний осуществлялась емкостным датчиком методом частотной модуляции. Одной обкладкой конденсатора служила заземленная грань кристалла, а второй – плоский электрод (диаметром 10 мм), расположенный у середины заземленной грани на расстоянии около 0.1 мм от нее. Эта емкость была включена в колебательный контур ультракоротковолнового генератора-датчика, работавшего на частоте примерно 50 МГц. При вибрации образца происходила частотная модуляция сигнала генератора-датчика; после демодуляции на выходе приемника имелся сигнал с частотой, равной частоте колебаний образца, и напряжением, пропорциональным амплитуде его колебаний. Используемая схема обеспечивала чувствительность около 10 нм (при необходимости ее можно было довести до 1 нм).
Амплитуда колебаний хорошо отожженных кристаллов в полях до 1 кВ/см линейно зависит от напряженности поля и не превышает 50 нм. После пластической деформации изгибом (при которой образуются краевые дислокации одного механического знака, см. разд. 3) величина эффекта резко возрастает: увеличение амплитуды колебаний (в зависимости от степени деформации) может достигать двух порядков. Измеренный на этих кристаллах псевдо-пьезокоэффициент лежит в пределах 10−13–10−15 Кл/Н.
Экспериментальные и теоретические исследования [3] позволили однозначно установить, что колебание кристалла LiF в электрическом поле не может быть объяснено явлениями обратного пьезоэффекта или электрострикции и что оно имеет дислокационную природу: под действием переменного электрического поля заряженные дислокационные сегменты выгибаются, создавая микроскопическую деформацию; это приводит к возникновению механического напряжения, возбуждающего колебания кристалла.
Необходимо отметить уникальную особенность данного явления. В существующих методах деформирования движение дислокаций вызывается внешним механическим напряжением, т.е. движение дислокаций является вторичным по отношению к механическому напряжению. А в данном явлении движение дислокаций является первичным – оно вызывает механическое напряжение, возбуждающее колебания кристалла.
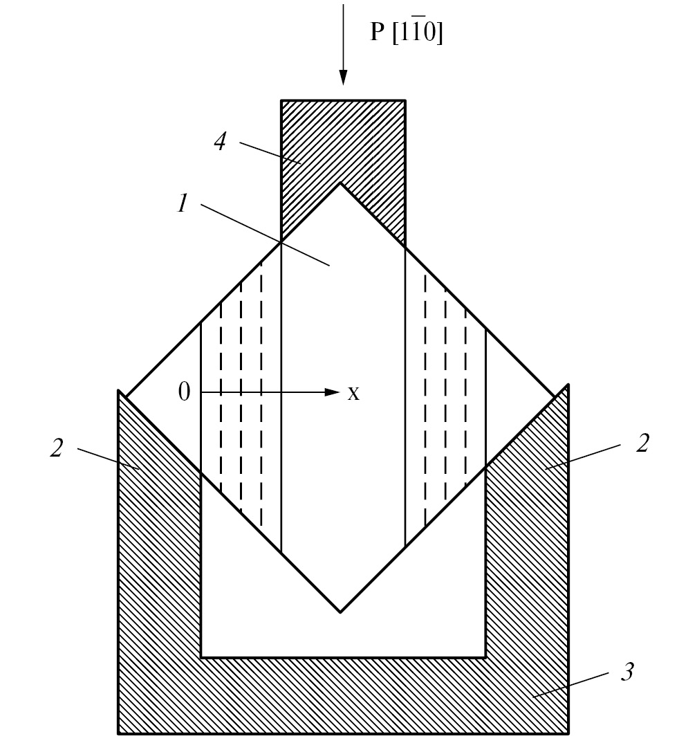
СПОСОБ ДЕФОРМИРОВАНИЯ КРИСТАЛЛА СДВИГОМ ПО ОДНОЙ СИСТЕМЕ ПЛОСКОСТЕЙ СКОЛЬЖЕНИЯ
В большинстве экспериментов по изучению пластической деформации (когда регистрируются кривые напряжение–деформация) нагружение кристалла неизбежно приводит ко множественному скольжению, т.е. к одновременному скольжению по нескольким системам кристаллографических плоскостей, что может существенно влиять на измеряемые в эксперименте параметры. Эти трудности в значительной степени снимаются, если деформирование кристаллов проводить путем “чистого сдвига”, т.е. одиночным скольжением, когда деформация протекает только в одной системе кристаллографических плоскостей.
Известный метод “чистого сдвига” Иоффе и Эренфеста (описанный в работе [4]) заключается в том, что кристалл жестко зажимается в захваты, которые перемещаются друг относительно друга в направлении скольжения. Однако здесь влияние захватов очень велико: в случае коротких кристаллов имеет место множественное скольжение, а при достаточно длинных образцах (когда влиянием захватов можно пренебречь) кристалл обычно изгибается. Поэтому указанный метод вряд ли можно полностью отнести к испытаниям на чистый сдвиг.
Другой способ деформирования кристаллов одиночным скольжением был разработан и успешно использован Смирновым [4]. Он заключается в упрочнении всего образца (путем облучения гамма- или рентгеновскими лучами), за исключением некоторой области, ориентированной в соответствии с заданной системой скольжения. Способ этот при всей его привлекательности требует довольно значительных усилий для подготовки образцов к эксперименту.
В предлагаемом простом способе деформирования путем чистого сдвига кристалл не зажимается в захваты, что исключает неконтролируемое воздействие на деформируемую зону и соседние с ней слои кристалла.
На рис. 2 приведена схема этого способа [5] на примере кристалла LiF, в котором скольжение происходит в направлении {110} <110>.
Рис. 2. Схема деформирования кристалла путем чистого сдвига.
Кристалл 1 строго квадратного сечения (размером 10 × 10 × 2 мм3), выколотый по плоскостям спайности {100}, свободно лежит нижними смежными гранями на двух стойках 2 П-образной опоры 3. Пуансон 4 воздействует на верхние смежные грани кристалла. Углы, которые образуют прилегающие к образцу поверхности стоек и поверхности пуансона, равны углу между гранями монокристалла (в данном случае 90°). Ширина l пуансона меньше расстояния L между стойками. При действии на пуансон сжимающего усилия в направлении [001] возникают касательные напряжения, и часть кристалла, прилегающая к пуансону, сдвигается относительно части, прилегающей к стойкам, – происходит чистый сдвиг по плоскостям скольжения (011). При этом деформация сосредоточена в двух узких зонах, ширина которых определяется величиной зазора (L – l) / 2.
По ширине деформируемой зоны сдвиговое напряжение распределено неоднородно, оно определяется выражением τ(x) = τ(0)/(1 + x/a), где τ(0) – сдвиговое напряжение в сечении x = 0, a – полувысота деформируемой зоны в этом же сечении.
Соответственно неоднородно распределена по ширине зоны сдвиговая деформация. Для определения ее величины на грань (001) кристалла вдоль оси х наносится тонкая линия (например, легкая царапина), перпендикулярная активной системе скольжения (011). Обусловленное деформацией смещение царапины измеряется в микроскопе, тем самым определяется зависимость сдвига Г(х) по плоскости (011) от координаты х [6]. Распределение по координате локальной сдвиговой деформации γ(х) получается графическим дифференцированием зависимости Г(х). Кривые Г(х) и γ(х) представлены на рис. 3.
Рис. 3. Зависимости локальной сдвиговой деформации γ (1) и сдвига Γ (2) от координаты x.
Предложенный метод дает возможность установить связь между некоторыми параметрами, характеризующими механические свойства кристалла и его дефектную структуру. В частности, измерив (по ямкам травления) зависимость плотности дислокаций ρ от координаты х и исключив х из зависимостей ρ(х) и γ(х), можно получить ρ(γ) – зависимость плотности дислокаций от величины локальной деформации. Для исследованных кристаллов LiF при сравнительно малых деформациях (в пределах 3%) в процессе деформационного упрочнения зависимость ρ(γ) оказалась линейной функцией деформации: ρ = сγ, где с = 6 × 109 см–2 [6]. Аналогичный результат линейной зависимости ρ(γ) был получен в работе [4].
Отметим, что для установления зависимости ρ(γ) обычно необходимо провести измерения как минимум на десятке образцов, тогда как предложенный метод дает возможность получить эту зависимость из результатов измерений, выполненных на одном образце при его однократном деформировании.
МЕТОД ГЕНЕРАЦИИ В МОНОКРИСТАЛЛЕ ДИСЛОКАЦИЙ ОДНОГО МЕХАНИЧЕСКОГО ЗНАКА
При изгибе однородной пластинки возникающие напряжения достигают максимальных значений на противоположных – сжатой и растянутой – гранях, они равны нулю в нейтральной плоскости, эквидистантной по отношению к этим двум граням. При пластическом изгибе монокристалла зарождающиеся у этих граней краевые дислокации разных механических знаков создают встречные потоки. Это обстоятельство не позволяет с достаточной точностью определить плотность участвующих в процессе деформации дислокаций, оно часто является причиной неконтролируемых ошибок. Чтобы создать в кристалле дислокации одного механического знака, экспериментаторы прибегали к различным ухищрениям, например, вырезали среднюю часть изогнутого кристалла, что, конечно, является неконтролируемым воздействием на образец. Мы разработали метод [7, 8], лишенный этих недостатков, сущность которого заключается в следующем.
Пластинка-образец из исследуемого кристалла скрепляется с пластинкой-держателем, жесткость которой отлична от жесткости образца. Плоскость нулевых напряжений такой бипластинки смещена к одной из граней образца; координата х0 этой нейтральной плоскости в рамках теории упругости дается выражением
, (2)
где a1 и a2 – толщины пластинки-держателя и пластинки-образца соответственно, с1 и с2 – их ширины, а Е1 и Е2 – их модули упругости. Из формулы (2) следует, что положение нейтральной плоскости можно изменять: в частности, при
, (3)
х0 = а1, т.е. нейтральная плоскость будет находиться на границе раздела пластинок.
Рассмотрим конкретный пример (рис. 4).
Рис. 4. Схема изгибной деформации кристалла: 1 – образец, 2 – пластинка-держатель, 3 – крепления.
Пластинка-образец из монокристалла LiF длиной L2 = 25 мм, шириной с2 = 2.5 мм, толщиной a2 = 1.7 мм, модулем Юнга Е2 = 88 ГПа жестко скреплена со стальной пластинкой-держателем длиной L1 = 50 мм, шириной с1 = 2.5 мм, толщиной a1 = 1.1 мм, модулем Юнга Е1 = 209 ГПа. Свободные концы пластинки-держателя установлены на двух опорах, расстояние между которыми L = 40 мм. Нагрузка Р, вызывающая изгиб бипластинки, приложена к пластинке-держателю. Соотношение геометрических и упругих параметров пластинки-держателя и монокристалла в приведенном примере удовлетворяет условию (3); вследствие этого нейтральная плоскость смещена на границу раздела кристалла с пластинкой-держателем. Картина, которую мы наблюдали в поляризационном микроскопе [8], наглядно иллюстрирует это смещение.
Таким образом, деформируемый кристалл, изгибаясь, только растягивается – напряжения максимальны у внешней грани и спадают до нуля у грани, прилегающей к пластинке-держателю. В результате от растягиваемой грани создается однонаправленный поток дислокаций по плоскостям (011) и . В кристалле образуются дислокации одного знака в количестве, необходимом для аккомодации изгиба.
Предлагаемый способ был успешно использован нами при исследовании линейной плотности электрического заряда дислокаций в щелочногалоидных кристаллах [8].
Отметим, что этим способом пластину (или балку) из любого материала при необходимости можно изогнуть таким образом, чтобы она испытывала только деформацию растяжения.
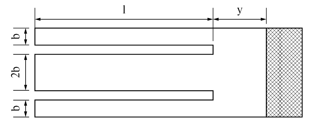
ТРЕХЪЯЗЫЧКОВЫЙ КАМЕРТОН И АКУСТИЧЕСКИЙ СПЕКТРОМЕТР
Одной из важнейших задач техники акустических измерений является повышение механической добротности Q колебательной системы. Основным каналом потерь энергии механических колебаний являются потери на внешнее трение между образцом и его держателем, которые могут достигать Q−1≈ 10−3, что ограничивает чувствительность метода и неприемлемо для задач, требующих более низкого уровня диссипации.
Чтобы уменьшить аппаратурный фон диссипации и зависимость параметров колебаний резонатора от свойств держателя, мы применили в качестве исследуемого образца камертон нового типа [9, 10] – трехъязычковый (рис. 5).
Рис. 5. Трехъязычковый камертон.
Камертон представляет собой плоскопараллельную пластинку с тремя язычками одинаковой длины; при этом средний язычок вдвое шире крайних. При возбуждении изгибных колебаний любого из язычков остальные тоже приходят в колебательное движение, причем крайние язычки колеблются синфазно друг с другом и в противофазе со средним язычком в направлении, перпендикулярном плоскости пластинки. Каждый язычок представляет собой вибратор на изгибных колебаниях с собственной частотой первой гармоники ν = (0.162 d/l2) (М/ρ)1/2, где d – толщина, l – длина, ρ – плотность, а М – модуль Юнга язычка.
Мы использовали камертоны со средними язычками шириной 2b = 4 мм, толщиной d = 0.5–2 мм и длиной l = 10 − 30 мм. При этих размерах частота первой гармоники различных материалов лежит в интервале 0.5–5 кГц.
Камертон закрепляется консольно за основание между двумя зажимными блоками, причем эмпирически установлено, что линия зажима должна быть удалена от основания язычков на расстояние y не меньшее ширины среднего язычка: y ≥ 2b (рис. 5). Поскольку амплитуда колебаний основания камертона практически равна нулю, то и потери на трение в зажимах минимальны и механическая добротность колебательной системы Q ≥ 106.
При креплении камертона деформация, обусловленная зажимными блоками, локализована в его основании, вследствие этого один и тот же образец можно зажимать сколько угодно раз без риска повредить его; при этом воспроизводимо обеспечивается минимальный уровень фонового затухания. Таким образом, использование камертона позволяет исключить самое уязвимое место техники акустических методов – воздействие крепления образца на уровень фоновой диссипации и воспроизводимость результатов измерений.
Отметим также то немаловажное обстоятельство, что для закрепления образца-камертона можно использовать держатель минимальной массы, что особенно ценно в экспериментах при сверхнизких температурах.
Трехъязычковый камертон в качестве исследуемого образца лежит в основе разработанного нами акустического спектрометра для измерения малых величин внутреннего трения и модуля упругости твердых тел в килогерцевом диапазоне частот, который подробно описан в работе [11]. Высокая чувствительность прибора (в первую очередь, благодаря использованию камертона) позволила впервые с помощью метода внутреннего трения наблюдать магнитопластический эффект – резонансную пластификацию диамагнитных кристаллов LiF при воздействии скрещенных магнитных полей в условиях ЭПР [12].
СПОСОБ ОПРЕДЕЛЕНИЯ ПАРАМЕТРОВ РЕЛАКСАЦИОННОГО ПРОЦЕССА
Внутреннее трение твердых тел, связанное с дефектами кристаллической структуры, часто проявляется в виде релаксационных пиков. Если пик на кривой температурной зависимости внутреннего трения (ВТ) является релаксационным, то для его центра справедливо эмпирическое соотношение Аррениуса [13]:
, (4)
где ν – частота измерения, ν0 – частотный фактор, H – энергия активации, T – абсолютная температура, k – постоянная Больцмана.
Энергия активации и частотный фактор являются важнейшими характеристиками релаксационного процесса. Знание этих параметров дает возможность выявить механизм этого процесса и идентифицировать участвующие в нем дефекты. Как следует из формулы (4), для определения Н и ν0 необходимо провести измерения ВТ по крайней мере на двух частотах; энергия активации и частотный фактор определяются по сдвигу температурного положения максимума из соотношения
(5)
и уравнения (4).
Недостатком аппаратуры, используемой для измерений ВТ, является невозможность определения Н и ν0 в одном эксперименте. Обычно проводятся два или более последовательных эксперимента, в которых ВТ измеряется на различных гармониках собственных колебаний образца. Этот способ требует больших затрат времени и ограничивает возможности эксперимента, в частности он не позволяет исследовать пики ВТ, отжигающиеся в процессе измерения. Широко распространен и другой способ – сравниваются результаты разных авторов, полученные на различных частотах. Определение Н и ν0 таким способом может привести к погрешностям, вызванным неидентичностью образцов и условий экспериментов.
Ниже описан разработанный нами способ [14], позволяющий определять Н и ν0 в одном эксперименте путем измерения ВТ на двух частотах одновременно (рис. 6).
Рис. 6. Блок-схема установки для измерения внутреннего трения и модуля упругости на двух частотах.
Образец в форме бруска размерами 100 × 10 × 5 мм3 закрепляется четырьмя иглами в узлах колебаний, расположенных в точках, лежащих на боковой грани образца на расстоянии 0.225l от его концов (l – длина образца). Как показывает расчет [15], эти точки практически совпадают с узлами первой (0.224l) и пятой (0.226l) гармоник изгибных колебаний бруска. Это обстоятельство позволяет возбуждать колебания образца на первой и пятой гармониках одновременно. Образец представляет собой вибратор на изгибных колебаниях с собственной частотой ν = c (d/l2) (M/ρ)1/2, где d – толщина образца, l – его длина, М – его модуль упругости, ρ – плотность образца. Коэффициент c для первой гармоники равен 1.02, а для пятой 13.54.
Регистрация колебаний осуществляется емкостным датчиком методом частотной модуляции сигнала высокочастотного генератора-датчика, описанным выше в разд. 1.
Возбуждение колебаний происходит путем подачи на электрод поляризованного переменного напряжения. В данном методе емкостным детектором и электростатическим возбудителем колебаний служит один и тот же электрод.
С выхода приемника демодулированный сигнал, представляющий собой суперпозицию колебаний образца на двух частотах, разделяется двумя LC-фильтрами нижних и верхних частот с порогами обрезания 5 и 20 кГц соответственно. Разделенные сигналы высокой и низкой частот через две аналогичные цепи, состоящие из предварительного усилителя, фазовращателя и ограничителя, поступают на оконечный усилитель, где вновь смешиваются и подаются на электрод для возбуждения колебаний. Через эти узлы замыкается цепь обратной связи, в которой поддерживаются незатухающие резонансные колебания образца на двух частотах.
В качестве примера представим данные о температурных спектрах внутреннего трения кристаллов LiF, записанных данным методом. Измерения проводились на первой (2.7 кГц) и пятой (36.5 кГц) гармониках одновременно в интервале температур от азотной до комнатной. На частоте 2.7 кГц пик ВT наблюдался при Т = 209 К, а на частоте 36.5 кГц он смещался к Т = 224 К. Рассчитанные из этого смещения по формулам (4) и (5) частотный фактор и энергия активации релаксационного процесса равны соответственно 9 × 1013 с–1 и 0.6 эB. Погрешности в определении Н и ν0 не превышают 15%.
МЕТОД ВИБРИРУЮЩЕГО СВЕРХПРОВОДНИКА
В постоянных магнитных полях B, превышающих нижнее критическое поле Bс1, но меньших верхнего критического поля Bс2, сверхпроводник второго рода находится в смешанном состоянии – он пронизывается вихрями Абрикосова, через каждый из которых сквозь сверхпроводник проникает квант магнитного потока Ф0 = hc/2e.
Для исследования диссипативных процессов, связанных с движением вихрей Абрикосова, в Институте физики им. Э. Андроникашвили был разработан механический метод [16–19], основанный на прямом крутильном маятнике, который, в отличие от электрических методов, дает возможность исследовать эти процессы без участия искажающего реальную картину большого транспортного тока, неизбежного при токовых экспериментах. Подробное описание этого метода и его возможностей дано в работе [19], здесь отметим только, что механический метод позволяет достичь чувствительности, эквивалентной электрическим полям 10–8 В/см.
Дальнейшие исследования в этом направлении привели к разработке метода возбуждения колебаний сверхпроводника путем воздействия на вихри Абрикосова. Метод реализован в двух вариантах.
7.1. Аксиальные колебания [20]
Цилиндр из сверхпроводника второго рода (сплав Nb30Ta70 диаметром 0.6 мм и длиной 5 мм) крепится к нижнему концу стеклянного стержня, который подвешивается в криостате на тонкой упругой нити (длиной 10 см и диаметром 40 мкм) из фосфористой бронзы так, что его ось лежит вдоль нити и стержня. Образец охлаждается ниже температуры сверхпроводящего перехода и помещается во внешнее постоянное магнитное поле В, направленное перпендикулярно оси цилиндра, и слабое переменное магнитное поле h < Вс1, перпендикулярное В и оси образца-цилиндра. Регистрация колебаний осуществляется как визуально (с использованием отраженного луча лазера), так и электронной схемой.
В полях Bс1 < В < Вс2 при совпадении частоты поля h с собственной частотой аксиальных колебаний образца (около 1 Гц) наблюдается резонансный пик. При увеличении индукции h амплитуда колебаний в резонансе возрастает нелинейно, причем вид кривой зависит от величины В, особенно сильная зависимость наблюдается вблизи Bс1.
7.2. Изгибные колебания [21]
Язычок из сверхпроводника второго рода (Nb размером 12 × 2 × 0.07 мм3) закрепляется консольно в держателе из немагнитного материала и помещается в криостате во внешнее постоянное магнитное поле В, направленное вдоль большой грани язычка (плоскости xy). К образцу вдоль оси z перпендикулярно большой грани и вектору В прикладывается слабое переменное магнитное поле h < Вс1 (рис. 7).
Рис. 7. Блок-схема метода вибрирующего сверхпроводника.
В полях Bс1 < В < Вс2 при совпадении частоты поля h с резонансной частотой колебаний язычка он совершает в направлении оси z изгибные колебания как четвертьволновый вибратор с частотой, определяемой выражением (1); в этом случае с = 0.162. Регистрация колебаний осуществляется методом частотной модуляции (описанным выше в разд. 1).
С увеличением индукции переменного поля h амплитуда колебаний образца растет нелинейно; характер этой зависимости (как и в случае аксиальных колебаний) связан с величиной В.
Таким образом, слабое переменное поле вызывает колебания сверхпроводника второго рода, находящегося в смешанном состоянии. В полях В > Вс1 образец пронизывают вихри Абрикосова. При наложении переменного магнитного поля h на вихри будет действовать сила; поскольку вихри закреплены на дефектах кристаллической решетки (пиннинг-центрах), эта сила приводит к вовлечению сверхпроводящего образца в колебания – аксиальные в случае цилиндра и изгибные в случае язычка.
В ходе этих экспериментов было открыто крайне интересное явление, связанное с пиннингом вихрей Абрикосова, – резкое возрастание резонансной частоты и затухания вибрирующего в магнитном поле сверхпроводника второго рода.
Измерения проводились на язычке из Nb при разных углах θ между направлением поля В и продольной осьюx образца (рис. 7). При поле В, совпадающем по направлению с осью x язычка, резонансная частота ν, начиная с В > Вс1, круто растет; если же В перпендикулярно продольной оси x образца и направлено вдоль оси y, то изменений резонансной частоты не наблюдается. На рис. 8 эта зависимость показана при изменении угла θ от 0 до 90°.
Рис. 8. Зависимость квадрата резонансной частоты (эффективного модуля упругости) образца Nb от ориентации вихрей Абрикосова: θ – угол между продольной осью образца и вектором B магнитной индукции (В = 0.1 Тл). Стрелкой показано значение при В = 0.
Поскольку модуль упругости М пропорционален квадрату резонансной частоты (выражение (1)), представленные результаты иллюстрируют зависимость эффективного модуля упругости от ориентации вихрей относительно оси x язычка. Как видно, изменение модуля максимально, когда поле В направлено вдоль продольной оси образца, т.е. когда вихри изгибаются вместе с образцом, и равно нулю, когда при изгибе образца вихри остаются параллельными внешнему магнитному полю.
Качественно эти факты можно объяснить следующим образом. Поскольку изменение частоты колебаний имеет место только в смешанном состоянии, можно заключить, что это явление обусловлено наличием вихрей Абрикосова. Когда поле В направлено вдоль оси x, при изгибе образца закрепленные на дефектах кристаллической решетки вихри будут изгибаться вместе с ним. Благодаря линейному натяжению (которое является функцией пиннинга) возникает возвращающая сила, увеличивающая жесткость язычка на изгиб, т.е. его эффективный модуль упругости, что и наблюдается в эксперименте. Когда же поле В направлено перпендикулярно оси x, при изгибе язычка вихри не изгибаются вместе с ним и возвращающая сила не возникает.
После нас это явление наблюдали в Институте прикладной физики в Гейдельберге [22]. Выполненные методом вибрирующего сверхпроводника обширные исследования [23] продемонстрировали его высокую чувствительность и точность и дали ценную информацию о полевой и температурной зависимостях пиннинга вихрей (ведь именно пиннинг делает возможным техническое применение сверхпроводников второго рода), важные результаты для понимания термоактивированного депиннинга в ВТСП и такого фундаментального вопроса, как упругая связь между вихревой и атомной решетками.
БЛАГОДАРНОСТИ
Приведенные в обзоре методы являются плодом коллективного труда. С болью в сердце и глубокой благодарностью вспоминаю ушедших из жизни моих коллег – соавторов этих методов: М.В. Галусташвили, В.А. Мелик-Шахназарова, З.К. Саралидзе, С.Д. Цакадзе, Дж.Г. Чигвинадзе – эта публикация посвящается их светлой памяти.
Выражаю искреннюю признательность Валерию Тавхелидзе за неоценимую помощь при подготовке статьи к печати.
About the authors
Д. Г. Дриаев
Институт физики им. Э. Андроникашвили Тбилисского государственного университета им. И. Джавахишвили
Author for correspondence.
Email: drijaev@gmail.com
Georgia, Тбилиси
References
- Brentley W.A., Bauer C.L. // Phil. Mag. 1969. V. 20. P. 441.
- Дрияев Д.Г., Мелик-Шахназаров В.А. // ФТТ. 1966. Т. 8. № 11. С. 3280.
- Дрияев Д.Г., Мелик-Шахназаров В.А. // Электронные и ионные процессы в твердых телах. 1972. Т. 5. С. 84.
- Смирнов Б.И. Дислокационная структура и упрочнение кристаллов, Ленинград: Наука, 1981.
- Галусташвили М.В., Дрияев Д.Г., Саралидзе З.К. Авторское cвидетельство СССР. SU 1432383 A1. 1986.
- Галусташвили М.В., Дрияев Д.Г., Политов И.А., Саралидзе З.К. // ФТТ. 1988. Т. 30. С. 1533.
- Галусташвили М.В., Дрияев Д.Г., Политов И.А., Саралидзе З.К. Авторское свидетельство СССР. SU 1803765 А1. 1989.
- Galustashvili M.V., Driaev D.G., Politov I.A., Saralidze Z.K. // Phys. Status Solidi (a). 1989. V. 114 (1). P. 99.
- Галусташвили М.В., Дрияев Д.Г., Саралидзе З.К., Политов И.А. Авторское свидетельство СССР. SU 1693452 A1. 1989.
- Галусташвили М.В., Дриаев Д.Г., Политов И.А., Саралидзе З.К. Патент Грузии. 2005. GE P 2005 3499 B.
- Driaev D., Kankadze L., Iashvili A., Tsakadze S. // Rev. Sci. Instruments. 2017. V. 88. Р. 054904. doi.org/10.1063/1.4983673.
- Driaev D., Galustashvili M., Tsakadze S. // Am. J. Nano Research and Applications. 2017. V.5. № 3-1. P. 37. doi: 10.11648/j.nano.s.2017050301.19.
- Новик А., Берри Б. Релаксационные явления в кристаллах. Москва: Атомиздат, 1975, С. 50.
- Дрияев Д.Г. Патент Грузии. 2007. GE P 2007 4711.
- Зинер К. // В cб.: Упругость и неупругость металлов. Москва: ИЛ, 1954, с. 74.
- Andronikashvili E.L., Ashimov S.M, Chigvinadze D.G., Tsakadze J.S. // Phys. Lett. 1967. V. 25A. P. 85.
- Чигвинадзе Дж.Г. // ЖЭТФ. 1972. Т. 63. С. 2144.
- Чигвинадзе Дж.Г. // ЖЭТФ. 1974. Т. 67. С. 2361.
- Ашимов С.М., Чигвинадзе Дж.Г. // ПТЭ. 2002. № 3. С. 51.
- Дрияев Д.Г., Чигвинадзе Дж.Г. // ФТТ. 1983. Т. 25. С. 887.
- Дрияев Д.Г., Чигвинадзе Дж.Г. // ФНТ. 1976. Т. 2. С. 1566.
- Brandt E.H., Esguinazi P., Neckel H., Weiss G. // Phys. Rev. Lett. 1986. V. 56. P. 89.
- Esguinazi P. // J. Low Temp. Phys. 1991. V. 85. № 3/4. P. 139.
Supplementary files










