Измерение карты поля в импульсных поворотных магнитах ускорителей с помощью датчиков Холла
- Authors: Штро К.С.1,2, Батраков A.М.1, Ильин И.В.1, Окунев И.Н.1, Павленко A.В.1, Синяткин С.В.1
-
Affiliations:
- Институт ядерной физики имени Г. И. Будкера Сибирского отделения Российской академии наук
- Новосибирский государственный университет
- Issue: No 2 (2024)
- Pages: 119–130
- Section: ОБЩАЯ ЭКСПЕРИМЕНТАЛЬНАЯ ТЕХНИКА
- URL: https://journals.rcsi.science/0032-8162/article/view/266099
- DOI: https://doi.org/10.31857/S0032816224020168
- EDN: https://elibrary.ru/QSBYYF
- ID: 266099
Cite item
Full Text
Abstract
Описываемая в статье система предназначена для измерения карты поля импульсных поворотных магнитов ускорителей. Как пример, выбран магнит, являющийся элементом канала перепуска частиц из бустера в нуклотрон создаваемого в ОИЯИ комплекса NICA. Анализ возможностей различных методов в измерениях импульсных полей и требования к погрешностям измерения в поворотных магнитах лучше, чем 10-3, привели к разработке метода, базирующегося на использовании датчиков Холла. В статье обосновывается созданный метод, описываются его возможности, а также аппаратные средства, разработанные для проведения измерений. В завершение статьи приводятся и анализируются результаты измерений импульсных поворотных магнитов канала бустер−нуклотрон.
Full Text
1. Введение
В Объединенном институте ядерных исследований в Дубне создается ускорительный комплекс NICA (Nuclotron based Ion Collider fАcility) [1]. Комплекс включает несколько инжекторов − линейных ускорителей и три циклических ускорителя: бустер, нуклотрон, коллайдер, связанные каналами перепуска частиц. Описываемая в статье система предназначалась для измерений импульсных поворотных магнитов, являющихся элементами канала бустер-нуклотрон.
Канал имеет сложную трехмерную структуру (рис. 1), обусловленную расположением бустера и нуклотрона. Место, где расположен канал, налагает ограничения по размерам магнитов и нагрузкам на фундамент. Из-за этих ограничений весь канал состоит из импульсных магнитов. Канал включает пять поворотных магнитов, три септум-магнита, восемь квадрупольных линз и три корректора. Изогнутая форма поворотных магнитов повторяет траекторию пучка. Параметры магнитов приведены в табл. 1.
Рис. 1. Структура канала бустер–нуклотрон и вид дипольного магнита канала.
Таблица 1. Расчетные параметры импульсных поворотных магнитов канала
Апертура по вертикали, мм | 67 |
Диаметр рабочей апертуры, мм | 60 |
Индукция магнитного поля, Тл | 1.58 |
Магнитная длина, м | 1.95 |
Магнитная жесткость, Тл∙м | 9.81 |
Радиус магнита, м | 6.190476 |
Угол поворота магнита, рад | 0.315 |
Рабочий ток, кА | 3.542 |
Индуктивность магнита, мГн | 3.78 |
Сопротивление магнита, мОм | 39 |
Длительность импульса поля, мс | 21 |
Частота повторения перепусков, Гц | 0.25 |
2. Анализ методов измерения полей в импульсных поворотных магнитах
Важнейшими характеристиками поворотного магнита являются угол поворота и однородность магнитного поля. Для стабильного перепуска частиц от данного магнита требуется обеспечить угол поворота с лучшей, чем 10-3, точностью и его слабой (±10-3) зависимостью от положения пучка в вакуумной камере. Значение угла поворота определяется по формуле
(1)
где α – это угол поворота, ∫BdL – интеграл магнитного поля вдоль траектории частицы, Bñ =Eβ/qc – магнитная жесткость ускорителя, E – полная энергия частицы, β = v/c, v — скорость частицы, c — скорость света в вакууме, q — заряд частицы, ρ — радиус поворота частицы, B — индукция магнитного поля.
Как следует из формулы (1), угол зависит от интеграла поля по длине магнита, часто называемого первым интегралом поля. Поэтому важным требованием к поворотным магнитам канала являлась малая величина вариации первого интеграла D∫BdL/∫BdL = ±10-3, что необходимо для малого разброса угла поворота при пролете через магнит. Это условие определило первичные требования к измерительным методикам и оборудованию, предназначенным для определения первого интеграла и однородности поля в целом.
2.1. Индукционные интегральные методики
В случае импульсных поворотных магнитов длиной до нескольких метров измерение первого интеграла часто выполняется с помощью индукционных методов. В таких измерениях используются точно изготовленные индукционные датчики, конструкция которых призвана повторить траекторию частицы в магнитном поле. Как правило, датчики представляют собой размещенную на многослойной печатной плате матрицу из нескольких расставленных по радиусу длинных катушек, выступающих за торцы магнита и узких в поперечном направлении. При наличии измерительного стенда с многоканальными прецизионными интеграторами данный подход выглядит весьма привлекательным, так как позволяет за одно измерение вычислить ∫BdL для частицы, двигающейся по определенной траектории.
Однако, когда речь идет об изготовлении индукционного датчика длиной более 1−1.5 м, применение данной методики трудно реализуемо прежде всего из-за технологических ограничений производителей печатных плат. Важно также и то, что точность позиционирования дорожек на печатной плате составляет десятки микрон, что при ширине индукционных датчиков 1–2 см дает разброс их площадей 0.5−1%. Эта проблема может быть решена только калибровкой площадей, процедура которой также нетривиальна. Еще одним источником ошибки в измерении первого интеграла являются остаточные поля в магните, величина которых составляет 5–20 Гс. При измерении остаточных полей приходится использовать датчики Холла как дополнительные элементы измерительной системы.
Тем не менее следует отметить, что для измерения длинных радиусных магнитов проекта MedAustron инженерами CERN была изготовлена матрица длинных радиусных катушек на многослойной печатной плате с длиной 2.5 м (рис. 2) [2]. А отмеченная выше проблема калибровки площадей решена ценой достаточно серьезных усилий. В работе [3] отмечалось, что получена абсолютная точность измерения первого интеграла 10-3 и повторяемость от измерения к измерению 6 ∙ 10-5.
Рис. 2. Демонстрация длинных “интегральных” датчиков. Фотография из работы [2].
Иногда, если позволяет апертура магнита, работают с одной катушкой, когда первый интеграл и его зависимость от радиуса измеряются путем последовательного и точного перемещения катушки в радиальном направлении за несколько шагов.
2.2. Малогабаритные “точечные” индукционные датчики
В результате отмеченных выше трудностей было решено отказаться от длинных “интегральных” датчиков и рассмотреть возможность применения “точечных” индукционных катушек с характерными размерами 5−10 мм. В отличие от ситуации длинных петель, площади малогабаритных датчиков реально определить с ошибкой порядка 10-3.
Такому подходу способствовала и принятая конструкция магнита. Для обеспечения требований к качеству поля и компактности магнита было принято решение добиваться однородности поля с помощью торцевых фасок на полюсах магнита. На рис. 3 показана торцевая фаска на половине ярма магнита. Фаска максимально упрощенной формы имеет 3 грани и небольшой поворот относительно торца магнита.
Рис. 3. Вид торцевой фаски.
Доработка торцевой фаски в готовом магните – это типовой прием для обеспечения требуемых характеристик последнего. Необходимый профиль фаски изготовленного магнита можно рассчитать, если известна карта поля этого магнита. Такой подход учитывает все особенности внутреннего устройства магнита и существенно расширяет возможности по доводке его характеристик [4]. Если же использовать длинные интегральные датчики, то модификация магнита осуществляется с использованием теоретического представления о магните. Форма фаски задается с помощью общих рекомендаций, основанных на опыте измерений других магнитов.
Вместе с тем использование малогабаритных индукционных датчиков привносит свои проблемы. Следует принимать во внимание, что при измерении карты поля датчики должны по шагам перемещаться в магните вдоль траектории пучка, причем импульсное поле включается на каждом шаге. В ошибки измерений в таком методе войдут нестабильность источника за время измерительного цикла и вклад некомпенсированных “паразитных” петель, образованных проводами с изменяемой длиной, тянущимися внутри магнита от перемещаемого датчика к измерительной электронике. Напомним также, что по-прежнему для измерения остаточных полей необходимы датчики Холла.
Множественные проблемы с индукционными методами, а также необходимость измерения полной карты поля с учетом остаточных полей, заставили проанализировать возможность использования в подобных измерениях датчиков Холла.
2.3. Возможности датчиков Холла в импульсных измерениях
Рассмотрим, что может ограничивать применение датчиков Холла при работе с импульсными магнитными полями. Видны два принципиальных ограничения, вызванные динамическими характеристиками преобразователя Холла. Первым является время релаксации носителей заряда в полупроводнике, которое определяется как отношение диэлектрической проницаемости материала к его удельной проводимости (τr = å/ó). Для датчиков Холла данный параметр находится в диапазоне 10−100 нс [5]. Второе ограничение динамических свойств обусловлено постоянной времени (τ = RC), определяемой собственным сопротивлением преобразователя Холла и паразитной емкостью, которая складывается из емкости, вносимой выводами датчика (около 5 пФ) и кабельной трассой (около 100 пФ/м). Величина постоянной времени для датчика с сопротивлением 500 Ом, измерения на котором проводятся через витую пару длиной 10 м, составляет 500 нс. Таким образом, характерные постоянные времени преобразователя Холла на несколько порядков меньше, чем длительности магнитных полей во многих импульсных элементах ускорителей.
Из этого следует два вывода. Во-первых, датчики Холла обладают необходимыми динамическими характеристиками для измерений импульсных полей с длительностью до сотен микросекунд, если измерительная электроника обеспечивает необходимое быстродействие. Во-вторых, широкополосность холловских датчиков позволяет применять к импульсным магнитным полям калибровку, полученную при постоянных полях, и тем самым получать в измерениях абсолютные значения импульсных полей. Оба этих обстоятельства делают крайне перспективным применение датчиков Холла в измерениях карт полей импульсных магнитов.
Следует отметить, что авторам не удалось найти сведений об использовании холловских систем для измерения импульсных полей, тем более в ускорительной технике. В этой связи на этапе выбора методик оставались опасения, не возникнет ли с датчиками Холла каких-либо непредвиденных проблем. Эти опасения послужили основанием для подготовки взаимодополняющих способов, базирующихся на использовании в единой системе как индукционных датчиков, так и датчиков Холла. Сравнение результатов измерений магнитов, полученных с помощью малогабаритных индукционных датчиков и полученных с помощью холловских датчиков, может послужить критерием правильности выбора инструментария. Разумеется, как аппаратура для интегрирования, так и средства цифрового осциллографирования должны быть адекватны задаче, т.е. обладать необходимыми динамическими характеристиками и параметрами по точности.
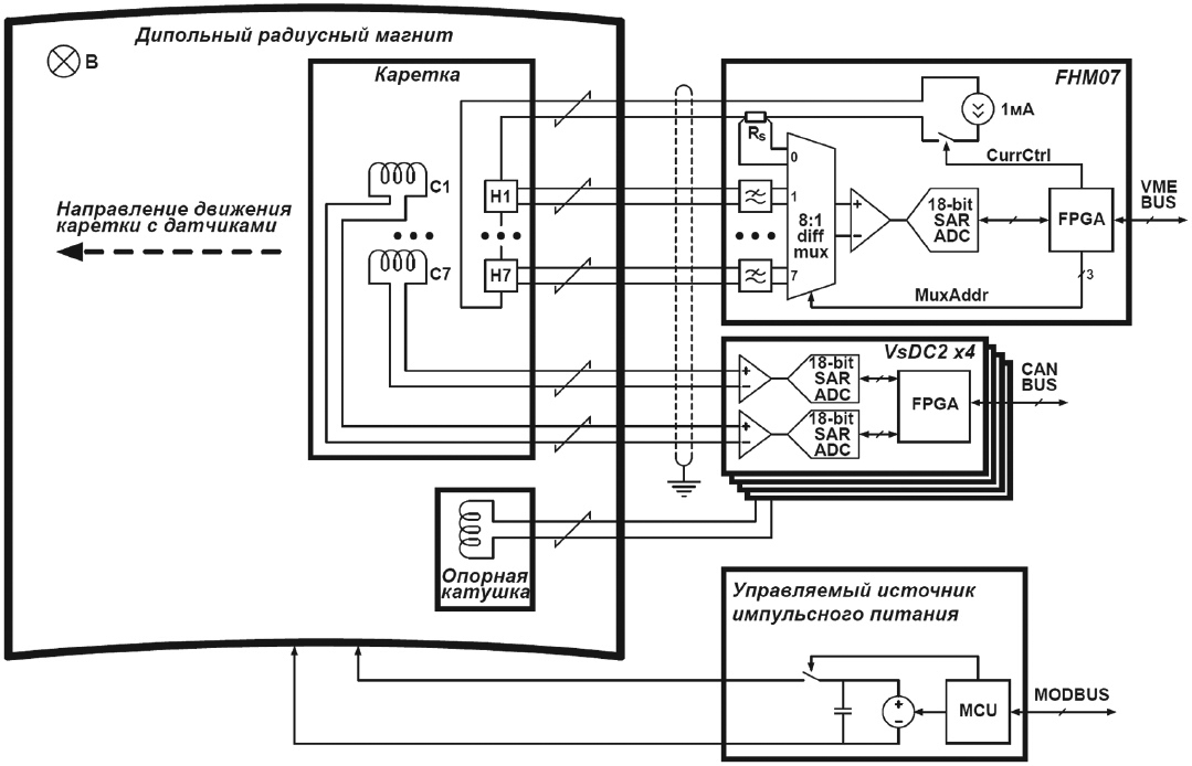
3. Аппаратура комбинированной измерительной системы
Измерительная система включает следующие основные узлы (рис. 4): механическую часть, предназначенную для перемещения датчиков внутри магнита, каретку с расположенными на ней малогабаритными индукционными датчиками и датчиками Холла, комплект прецизионных цифровых интеграторов, электронику для работы с датчиками Холла, импульсный источник питания.
Рис. 4. Структура измерительной системы.
Механическая часть представляет собой подвижку, управляемую шаговым двигателем, которая перемещает каретку внутри магнита. Каретка движется в точно изготовленной направляющей из стеклотекстолита, устанавливаемой в апертуру магнита и повторяющей ее профиль. Шаг перемещения – 10 мм, точность позиционирования – около 80 мкм на 2 метрах.
Каретка представляет собой стеклотекстолитовый носитель, внутри которого монтируется печатная плата с комплектом датчиков. Комплект включает 7 датчиков Холла и 13 “точечных” индукционных датчиков. Сигнальная трасса от датчиков к измерительной электронике изготовлена из свитых с малым шагом тонких проводов длиной около 10 м.
3.1. Применяемые датчики Холла
В работе использованы датчики типа HE244T [6]. Наиболее важные параметры представлены в табл. 2. Датчик HE244T обладает несколькими привлекательными свойствами. Первое – малый ток питания, вследствие чего рассеиваемая мощность не превышает 2 мВт. Поскольку теплоотвода от датчика при такой мощности не требуется, его можно монтировать на не чувствительной к магнитным полям печатной плате-подложке из стеклотекстолита. Также датчик обладает хорошими температурными коэффициентами чувствительности и напряжения смещения, вследствие чего реально получение ошибок менее 10-3 в диапазоне температур ±5 °C без термостабилизации каретки.
Таблица 2. Характеристики датчика HE244T
Диапазон полей, кГс | ±25 |
Ток питания, мА | 0.2÷4.0 |
Чувствительность, мкВ/Гс/мА | 10 |
Температурный коэффициент чувствительности (при B=10 кГс, I=2 мА), 10-4/K | ±1.5 |
Напряжение смещения (при B=0, I=2 мА), мкВ | ±500 |
Температурный коэффициент напряжения смещения (при B=0, I=2 мА), мкВ/K | ±0.2 |
Линейность (при B=±0−10 кГс), % | ±0.1 |
Линейность (при B=±0−25 кГс), % | ±0.2 |
Такие параметры, как линейность и напряжение смещения, учитываются после предварительной калибровки датчиков. Эта калибровка выполняется в магните с однородным полем, величина которого измеряется с помощью ЯМР-магнитометра, обладающего погрешностью на уровне 10-5 [7]. Однородность поля в этом магните не хуже, чем 2 ∙ 10-4 на площади 100×100 мм2 в диапазоне 0.1–2 Тл. Процедура калибровки заключалась в установке каретки с датчиками Холла вместе с ЯМР-пробником в магнит, измерении полей в диапазоне ±20 кГс и подготовке таблиц соответствия между полем и напряжением с датчиков.
3.2. Индукционные датчики и работа с ними
Размещенные на каретке малогабаритные индукционные датчики − это многовитковые катушки, изготовленные на той же печатной плате. Их максимальный размер 10×10 мм2, расчетная площадь с учетом различных неточностей находится в диапазоне 4350−4616 мм2.
Для интегрирования сигналов с индукционных датчиков задействованы прецизионные цифровые интеграторы VsDC2. Точность и широкий диапазон интервалов интегрирования (от десятков микросекунд до нескольких секунд) полностью удовлетворяют требованиям к обсуждаемым измерениям, это позволяет получать ошибки, близкие к 10-5.
На рис. 5 приведена одна из важных характеристик интегратора – шум интеграла в зависимости от времени интегрирования. Обращаем внимание, что приведенные графики − это характеристики собственно интегратора, никак не учитывающие особенности индукционных датчиков и сигнальных трасс к ним. Эти вопросы мы обсудим в разд. 4. Подробнее цифровые интеграторы, их параметры и варианты применения описаны в работах авторов [8, 9].
Рис. 5. Шум интеграла VsDC2 в зависимости от времени интегрирования.
Остановимся на процедуре калибровки малогабаритных индукционных датчиков. Их калибровка происходит в том же магните с однородным полем, что и калибровка датчиков Холла. Каретка помещается в магнит, поле которого (B0) измерено с высокой точностью с помощью ЯМР-магнитометра. Выходы датчиков подключаются к упоминавшимся выше цифровым интеграторам. После начала интегрирования каретка с индукционными датчиками, обладающими площадью S, вынимается из магнита и за время Ti перемещается в магнитный экран, где поле близко к нулю (Bsh ≤ 0.1 Гс). Интеграторы в процессе перемещения измеряют вольт-секундную площадь (∫edt), пропорциональную полю в магните. Заметим, что относительно небольшие габариты магнита позволяют разместить сигнальную трассу вне магнитного поля, так что ее влияние незначительно. Процедура калибровки может быть формально описана следующими соотношениями:
(2)
где Ti − это время интегрирования, S − площадь калибруемого индукционного датчика, B0 − поле в калибровочном магните, Bsh − поле в магнитном экране. Поскольку Bsh/B0 ≤ 10-5, поле Bsh можно принять равным нулю. Таким образом, выражение для площади калибруемого датчика примет следующий вид:
(3)
Цикл калибровки повторялся 30 раз, после чего для каждой катушки вычислялось среднее значение площади. В табл. 3 приведены полученные описанным способом площади катушек. Можно вычислить, что при такой площади и поле 16 кГс с длительностью 20 мс вольт-секундная площадь, накапливаемая к максимуму поля, составляет 9 ∙ 10-5 В ∙ с. Как следует из рис. 5, отношение шума при времени интегрирования 10 мс к полученной вольт-секундной площади близко к 10-4, так что интегратор вполне может использоваться как референсное устройство.
Таблица 3. Площади малогабаритных индукционных датчиков
Положение, мм | -30 | -24 | -18 | -12 | -6 | 0 | +6 | +12 | +18 | +24 | +30 |
Площадь, мм2 | 4490 | 4490 | 4492 | 4492 | 4500 | 4499 | 4490 | 4490 | 4498 | 4498 | 4496 |
3.3. Быстродействующий многоканальный модуль для работы с датчиками Холла
Ключевым элементом холловской части системы является устройство, которое, как отмечалось, должно обладать необходимыми характеристиками и по быстродействию, и по точности преобразования выходных сигналов датчика в цифровой код. В распоряжении авторов был экспериментальный образец VME-модуля FHM07 (Fast Hall Meter – 07), который разрабатывался для измерения карт поля с помощью датчиков Холла в многополюсных магнитных элементах − вигглерах и ондуляторах. Как показывали предварительные оценки, параметры этого модуля соответствовали обсуждаемому методу.
Поскольку детальное описание электроники не является целью этой статьи, здесь мы приведем лишь краткое описание аппаратной структуры и параметров FHM07, которые сравним с параметрами по частоте дискретизации, статической ошибке и полосе частот, необходимым для описываемых измерений.
Структуру FHM07 можно увидеть на рис. 4, в табл. 4 приведены основные параметры. Модуль содержит стабильный источник тока, семь каналов для подключения датчиков Холла и четыре сервисных канала, измеряющих ток питания датчиков, напряжение на линейке датчиков, напряжение опорного источника, а также напряжение на закороченном входе. Важным свойством модуля FHM07 является возможность отключать ток питания датчиков Холла.
Таблица 4. Параметры FHM07
Число измеряемых датчиков Холла | до 7 |
Диапазон измеряемых напряжений, мВ | 250 |
Диапазон измеряемых полей, кГс | 25 |
Разрядность АЦП, бит | 18 |
Полоса частот тракта (-3дБ), МГц | 1 |
Уровень шума среднеквадратичный (пиковый), мкВ | 5 (30) |
Выходной ток, мА | 1 |
Дрейф тока, 10-6/K | ±5 |
Производительность АЦП, мкс/отсчет | 4 |
Минимальная длительность импульса при ошибке 10-4, мс Одноканальный режим Восьмиканальный режим | 0.5 4 |
Память, точек | 4 ∙ 106 |
Сигнальный тракт модуля включает восьмиканальный дифференциальный мультиплексор, усилитель с коэффициентом 16 и 18-разрядный аналого-цифровой преобразователь (АЦП) с производительностью 4 мкс/отсчет. Измерение проводится путем последовательного подключения входных каналов через мультиплексор к буферному усилителю и далее − к АЦП. Таким образом, темп взятия отсчетов для каждого из восьми каналов составляет 32 мкс/отсчет. Цифровая часть модуля включает в себя схему управления, размещаемую в микросхеме программируемой логики FPGA, а также блок памяти объемом 4 ∙ 106 отсчетов.
Для оценки адекватности FHM07 создаваемой системе будем исходить из полной погрешности, вносимой этим устройством, на уровне 5 ∙ 10-4 для поля с длительностью 20 мс и амплитудой 16 кГс. В импульсном магните время пролета пучка частиц должно соответствовать амплитудному значению поля. Оценим период дискретизации из условия, что ближайший по времени к максимуму поля отсчет меньше этого максимума на величину допустимой ошибки. Представив форму импульса поля как полпериода косинусоидального сигнала, для ближайшего к максимуму поля отсчета, т.е. при t = DtADC, можем написать
(4)
где B0 − амплитуда измеряемого поля, DtADC — период дискретизации АЦП, T — период измеряемого гармонического сигнала. Задаваясь погрешностью из-за частоты дискретизации ä = ÄB/B0 = 2 ∙ 10-4 и учитывая, что T >> DtADC, можно разложить выражение (4) в ряд в окрестности точки 2ð ∙ ÄtADC /T = 0. Получим формулу для оценки максимального значения периода дискретизации при T = 40 мс:
мкс. (5)
Оценим необходимую полосу части сигнального тракта, включающей блок усилителя и АЦП, исходя из времени установления сигнала при переключении каналов с темпом 4 мкс/канал. Мультиплексор работает с медленными сигналами, поэтому его динамические свойства в задачу не входят. Сделаем допущение, что эта часть тракта имеет лишь одну постоянную времени τamp. Тогда можем написать 8τamp ≤ 4 мкс, откуда τamp ≤ 0.5 мкс и, следовательно, Famp ≥ 300 кГц.
Еще одним фактором, влияющим на точность измерения поля, является разрешающая способность измерителя. Этот параметр определим из такой же погрешности ä = 2 ∙ 10-4, которой мы задались ранее. При максимальном значении поля B0 = 16 кГс получаем величину шума измерителя от пика до пика около 3.5 Гс, что с учетом чувствительности датчиков дает требуемое значение шума в полосе 300 кГц, равное 35 мкВ.
3.4. Коррекция нестабильности импульсного источника
Еще одним элементом измерительной системы является импульсный источник, питающий магнит. Источник выдает ток до 5 кА, он рассчитан на напряжение на нагрузке до 2.5 кВ и обеспечивает стабильность не хуже ±3 ∙ 10-4. Контроль важной для решаемой задачи стабильности магнитного поля (рис. 6) выполняется с помощью стационарного индукционного датчика, установленного в апертуре магнита, сигнал с которого интегрируется в одном из интеграторов VsDC2, входящих в “индукционную” часть системы. Полученные при этом данные используются для нормировки данных FHM07. Учитывая, что ошибки, вносимые интегратором, близки к величине 10-5, с помощью данной нормировки можно повысить точность измерений, практически полностью исключив из них стабильность источника питания и температуру ярма магнита.
Рис. 6. Изменение магнитного поля в процессе измерений.
4. Проведение измерений и обработка сигналов
Напомним, что процедура измерений заключается в пошаговом перемещении каретки с датчиками по направляющей, закрепленной в апертуре магнита. На каждом шаге после остановки каретки запускается регистрация сигналов с датчиков Холла и включается интегрирование сигналов с индукционных датчиков и стационарной катушки. Затем через небольшой интервал запускается импульсный источник. Полученные от интеграторов и FHM07 данные сохраняются, после чего выполняется следующий цикл.
В ходе выполнения шагов все большая длина сигнальных проводов оказывается внутри магнита и попадает под действие импульсного магнитного поля. Несмотря на тщательную свивку пар проводников, в парах остается “паразитная” площадь, образованная как самими проводниками, так и местами подключения их к датчикам. Через эту площадь проходит магнитный поток, генерируя индукционный сигнал, добавляемый к сигналу датчика, причем этот сигнал зависит от длины и положения трассы, находящейся в магните. Описанный эффект присущ для обеих трасс (к индукционным датчикам и к датчикам Холла).
Для определения уровня “паразитного” сигнала выводы индукционных катушек закорачивались, а затем полностью воспроизводилась процедура измерений. На рис. 7 показаны зависимости “паразитного” сигнала от положения каретки в магните. Каретка двигалась от большей координаты к меньшей. Видно, что даже при очень тщательной свивке тонких проводов уровень паразитного сигнала варьируется в диапазоне 7–20 Гс. Из приведенных графиков следует, что влияние сигнальной трассы может приводить к разбросу измерений примерно на ±10 Гс.
Рис. 7. Уровень паразитного сигнала для двух типов сигнальных трасс: а – свивка из провода МГТФ 0.03 с шагом 10 мм, б – провод ПЭТВ2 с d = 0.16 мм и шагом 1 мм.
В отличие от индукционных, датчики Холла предоставляют возможность зарегистрировать “чистый” паразитный сигнал и при необходимости учесть его. Для этого в точках остановки каретки измерения выполняются два раза: с включенным током датчика Холла и без тока. Напомним, что модуль FHM07 обладает таким полезным функционалом. Очевидно, что без тока в холловских каналах будет зарегистрирован только “паразитный” индукционный сигнал. Тем самым в каждой точке регистрируются две осциллограммы. Далее с помощью программной обработки берется разность каждой пары осциллограмм, и по калибровочной кривой каждого датчика выполняется преобразование разностного сигнала в индукцию магнитного поля.
На рис. 8 показаны осциллограммы магнитного поля, зарегистрированные с одного из холловских датчиков каретки. Осциллограмма на рис. 8а демонстрирует суммарный сигнал, где к датчику Холла добавляется “паразитный” индукционный сигнал. Его примерная величина хорошо видна из небольшого положительного пика в начале осциллограммы, который появляется вследствие скачка производной поля. На следующей осциллограмме (рис. 8б) показана индукционная наводка при выключенном токе. Сигнал растянут по вертикали по сравнению с предыдущим в 20 раз. Видимая немонотонность (скачок) в районе нуля − включение рекуперации в импульсном источнике. Осциллограмма на рис. 8в − это сигнал с рис. 8а минус сигнал с рис. 8б.
Рис. 8. Осциллограммы сигналов с датчика Холла: а – исходный сигнал, включающий в себя полезный сигнал и индукционную наводку; б – индукционная наводка, измеренная при выключенном токе; в – разность сигналов а и б, являющаяся полезным сигналом.
Представленные осциллограммы демонстрируют одну важную деталь. Как видно на осциллограмме на рис. 8б, вклад индукционной наводки в максимум поля крайне мал, так как производная поля в этой точке близка к нулю. Это обстоятельство позволяет отказаться от учета индукционной наводки в импульсных измерениях с датчиками Холла. Действительно, во многих случаях такое решение возможно, особенно тогда, когда есть уверенность, что поле монотонно и пролет пучка точно синхронизован с максимумом. Тем не менее методически правильнее регистрировать и учитывать “паразитную” индукционную наводку, тем более, что это не очень сложно. В нашем случае такой учет был еще и необходим, так как предполагалось сравнение результатов измерений магнитов, полученных индукционным методом, и измерений датчиком Холла. Это сравнение приводится в следующем разделе.
Обсудим возможности холловских систем в измерениях импульсных полей. Прежде всего, интерес представляют параметры по быстродействию, т.е. минимально возможные длительности импульсов поля. Как упоминалось выше в разд. 2.3, теоретические возможности датчиков Холла ограничиваются постоянной времени в диапазоне нескольких сотен наносекунд. В этой связи имеет смысл провести отдельный анализ возможностей электроники для оцифровки сигналов с датчиков.
Для этого зададимся погрешностью ä = 10-4, близкой к статической погрешности датчиков Холла, и периодом дискретизации DtADC = 1 мкс, что реально для современных АЦП высокой разрядности (18−20 бит). Используя выражение (5), получаем оценку минимального периода измеряемого гармонического сигнала T = 500 мкс, т.е. минимально возможную длительность импульса 250 мкс. Напомним, что такая длительность находится далеко от предельных возможностей датчиков Холла, теоретическое значение постоянной времени которых измеряется сотнями наносекунд.
Отметим один принципиальный момент, заключающийся в том, что использование АЦП с периодом дискретизации DtADC = 1 мкс для оцифровки сигналов с длительностью в сотни микросекунд исключает примененную в модуле FHM07 мультиплексированную схему опроса датчиков. Для АЦП с производительностью 1 мкс/отсчет в схеме с 8-канальным мультиплексором время установления сигнала в одном канале с ошибкой ä = 10-4 должно быть меньше 125 нс, чего добиться довольно сложно. В этой связи более перспективной видится схема с восемью независимыми каналами, работающими параллельно. Такое решение позволит не только измерять импульсные магнитные поля в микросекундном диапазоне времен, но и снизить уровень шума за счет уменьшения частотной полосы сигнального тракта.
5. Результаты измерений магнитов
Главным критерием того, что магнит обеспечит успешное прохождение пучка по каналу, служат измерения интегральных и локальных распределений магнитного поля. На рис. 9 приведены графики поперечной зависимости интеграла, полученные расчетным путем с помощью метода конечных элементов [10] и измеренные с помощью преобразователей Холла и индукционных датчиков. Зависимость вычисляется с помощью следующего соотношения:
, (6)
где l − длина магнита, x − поперечная горизонтальная координата, s − продольная координата в сопутствующей системе координат,
− среднее значение по x во всем диапазоне,
− отклонение от среднего значения [11]. Зависимость (6) показывает относительное расхождение интеграла поля в точке на оси X по всей длине магнита от среднего значения.
Рис. 9. Поперечное распределение интеграла магнитного поля, измеренное датчиками Холла и индукционными датчиками и полученное с помощью метода конечных элементов.
На рисунке хорошо заметно различие в поведении графиков интегралов, полученных индукционным и холловским методами. Кривая, соответствующая индукционным датчикам, имеет “колебательный” характер, чего быть не может вследствие “гладкости” магнита. В то же время остальные две зависимости плавные и имеют схожее поведение. Очевидно, что колебательный характер вызван вкладом паразитных петель сигнальной трассы.
Отметим, что точность измерения индукционными датчиками лежит в диапазоне лучше, чем ±10-3, и она вполне удовлетворительна для подтверждения достоверности как холловских измерений, так и качества магнита.
При проведении измерений локальных распределений поля точечными датчиками была выявлена неоднородность в центре магнита, названная нами “провалом” поля (см. рис. 10). Анализ показал, что провал связан с положением выводов обмотки магнита. Как видно на рис. 1, отверстие в ярме для коммутации обмотки расположено посередине магнита. Именно особенности конструкции обмотки и отверстие в ярме послужили причиной “провала” и отличия поведения поля от расчетного. Еще раз обратим внимание на то, что наличие карты поля позволяет учесть влияние различных неоднородностей и модифицировать магнит максимально эффективно. Изготовление фаски мы проводили, опираясь на измерения датчиками Холла, и с учетом обнаруженного “провала”.
Рис. 10. Карта поля с “провалом” посередине магнита.
6. Заключение
Предложенный в статье метод измерения полей с помощью датчиков Холла в импульсных поворотных магнитах ускорителей успешно применялся при изготовлении магнитов канала перепуска из бустера в нуклотрон комплекса NICA. Полученные данные позволили провести доработку конструкции магнитов и достигнуть необходимых характеристик.
Основной инструмент в измерениях — многоканальный холловский измеритель, функционал которого позволил зарегистрировать и учесть в дальнейшей обработке индукционную наводку на проложенную в импульсном поле сигнальную трассу к датчикам.
Применение малогабаритных индукционных датчиков, сигнал с которых обрабатывался прецизионным интегратором, прежде всего, подтвердило достоверность данных, получаемых с помощью датчиков Холла, и отсутствие каких-либо необъяснимых явлений, тем самым была продемонстрирована перспективность холловских систем в импульсных измерениях. Кроме того, удалось улучшить точность измерений за счет применения прецизионного интегратора в комплекте со стационарной индукционной катушкой, с помощью которых определялась и учитывалась нестабильность импульсного источника при длительных измерительных процедурах.
Приведенные в статье результаты и оценки дают основания обсуждать применение датчиков Холла для измерения магнитных полей с длительностью в микросекундном диапазоне и ошибками в диапазоне 10-3−10-4.
About the authors
К. С. Штро
Институт ядерной физики имени Г. И. Будкера Сибирского отделения Российской академии наук; Новосибирский государственный университет
Author for correspondence.
Email: K.S.Shtro@inp.nsk.su
Russian Federation, 630090, Новосибирск, просп. Академика Лаврентьева, 11; 630090, Новосибирск, ул. Пирогова, 1
A. М. Батраков
Институт ядерной физики имени Г. И. Будкера Сибирского отделения Российской академии наук
Email: K.S.Shtro@inp.nsk.su
Russian Federation, 630090, Новосибирск, просп. Академика Лаврентьева, 11
И. В. Ильин
Институт ядерной физики имени Г. И. Будкера Сибирского отделения Российской академии наук
Email: K.S.Shtro@inp.nsk.su
Russian Federation, 630090, Новосибирск, просп. Академика Лаврентьева, 11
И. Н. Окунев
Институт ядерной физики имени Г. И. Будкера Сибирского отделения Российской академии наук
Email: K.S.Shtro@inp.nsk.su
Russian Federation, 630090, Новосибирск, просп. Академика Лаврентьева, 11
A. В. Павленко
Институт ядерной физики имени Г. И. Будкера Сибирского отделения Российской академии наук
Email: K.S.Shtro@inp.nsk.su
Russian Federation, 630090, Новосибирск, просп. Академика Лаврентьева, 11
С. В. Синяткин
Институт ядерной физики имени Г. И. Будкера Сибирского отделения Российской академии наук
Email: K.S.Shtro@inp.nsk.su
Russian Federation, 630090, Новосибирск, просп. Академика Лаврентьева, 11
References
- Аверичев А.С., Агапов Н.Н., Александров В.С., Алфеев А.В., Андреев В.А., Базанов А.М., Батин В.И., Блинов Н.А., Борисов В.В., Бровко О.И., Бутенко А.В., Бучнев В.Н., Вадеев В.П., Василишин Б.В., Вишневский А.В. и др. Технический проект ускорительного комплекса NICA / под ред. И.Н. Мешкова, Г. В. Трубникова. Дубна: ОИЯИ, 2015. ISBN 978-5-9530-0416-9.
- Golluccio G. Status of the magnetic measurements for the MedAustron project. https://indico.bnl.gov/event/609/contributions/15439/attachments/13786/ 16870/MM-IMMW18-Golluccio_final.ppt.
- Golluccio G., Beaumont A., Buzio M., Dunkel O., Stockner M., Zickler T. // Proceedings of 20th IMEKO. Benevento, Italy. 2014. P. 816.
- Синяткин С.В. Магнитная система бустерного синхротрона с энергией 3 ГэВ для источника синхротронного излучения NSLS-II. Дис. … канд. тех. наук. Новосибирск: ИЯФ им. Г.И. Будкера СО РАН, 2020. 130 с.
- Popovic R.S. Hall effect devices. Institute of Physics Publishing, 2004.
- Техническое описание преобразователя Холла HE244. https://asensor.eu/onewebmedia/Datasheet-HE244X.pdf
- Karpov G.V., Medvedko A.S., Shubin E.I. // Proceedings of RuPAC. Novosibirsk, 2006. P. 58.
- Павленко А.В. Многофункциональные цифровые интеграторы для прецизионных измерений магнитных полей в элементах ускорителей. Дис. …. канд. тех. наук. Новосибирск: ИЯФ им. Г.И. Будкера СО РАН, 2015. 115 с.
- Pavlenko A., Batrakov A., Ilyin I. // Proceedings of IPAC2013. Shanghai, China, THPEA033, 2013. P. 3216. https://accelconf.web.cern.ch/ipac2013/papers/thpea033.pdf
- Зенкевич О. Метод конечных элементов в технике. Москва: Мир, 1975.
- Левичев Е.Б. Лекции по нелинейной динамике частиц в циклическом ускорителе. Новосибирск: ИЯФ-НГТУ, 2007.
Supplementary files












