Optimization of a Separationless Three-Phase Oil–Water–Gas Flowmeter of Horizontal Orientation with Dual-Isotope Gamma Densitometers
- Authors: Filippov A.Y.1, Filippov Y.P.2, Kovrizhnykh A.M.2
-
Affiliations:
- National Research University Moscow Power Engineering Institute
- Joint Institute for Nuclear Research
- Issue: No 4 (2023)
- Pages: 132-144
- Section: ФИЗИЧЕСКИЕ ПРИБОРЫ ДЛЯ ЭКОЛОГИИ, МЕДИЦИНЫ, БИОЛОГИИ
- URL: https://journals.rcsi.science/0032-8162/article/view/138449
- DOI: https://doi.org/10.31857/S0032816223030047
- EDN: https://elibrary.ru/IRIZAW
- ID: 138449
Cite item
Full Text
Abstract
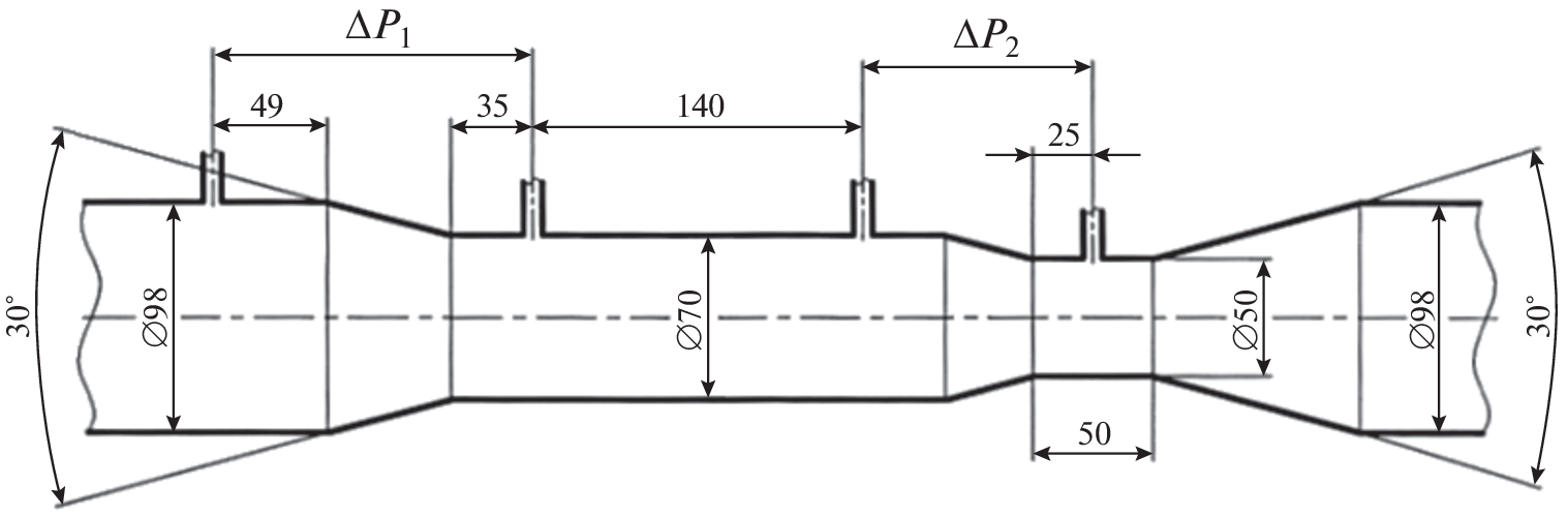
Information on the characteristics of separationless three-phase oil–water–gas flowmeters of horizontal orientation is presented, probably, for the first time; it is related to the optimization of their design based on experimental studies of single-isotope and dual-isotope gamma densitometers (GD) and a combined conical narrowing device (ND), which consists of two sequentially installed cones of various dimensions. The experiments were carried out on both real oil–gas–salt water mixtures at a TUV SUD NEL test bench (Glasgow) and with model exxsol–gas–fresh water flows at the GET195-2011 standard of multiphase flows at the All-Russia Research Institute for Flow Metering (Kazan) using typical flowmeters with a nominal diameter of DN 100. It is shown that it is advisable to install a γ-densitometer in a cross section with an intermediate diameter of D = 70 mm, use a cone of 70/50 mm as the measuring ND, and use a cone of 100/70 mm to preaccelerate the flow in order to reduce the variety of flow regimes of two-phase and three-phase flows in the measuring ND and in the flow part of the γ-densitometer. This significantly improves the characteristics of the prototype flowmeter. Some of the obtained characteristics are compared with those of the well-known Vx Schlumberger vertical analogue, and designs of variants of an advanced horizontal three-phase flowmeter are presented, which also make it possible to increase its service life and raise the operating pressure.
About the authors
A. Yu. Filippov
National Research University Moscow Power Engineering Institute
Email: forsc2231@gmail.com
111250, Moscow, Russia
Yu. P. Filippov
Joint Institute for Nuclear Research
Email: fyp@dubna.ru
141980, Dubna, Moscow oblast, Russia
A. M. Kovrizhnykh
Joint Institute for Nuclear Research
Author for correspondence.
Email: fyp@dubna.ru
141980, Dubna, Moscow oblast, Russia
References
- Babelli I.M.M. // Proceedings of International Nuclear Conference. Kuala Lumpur, 1997. P. 371.
- Atkinson I., Berard M., Hanssen B.-V., Segeral G. // The 19-th International North Sea Flow Measurement Workshop. Oslo, Norwegian, 1999. P. 154.
- Bukur D.B., Daly J.G., Patel S.A. // Ind. Eng. Chem. Res. 1996. V. 35. P. 70.
- Pan L. PhD. London: Imperial College, 1996.
- Filippov Y.P., Panferov K.S. // International Journal of Multiphase Flow. 2012. V. 41. P. 36. https://doi.org/10.1016/j.ijmultiphaseflow.2011.12.005
- Филиппов Ю.П., Филиппов А.Ю. // Тепловые процессы в технике. 2021. Т. 13. № 3. С. 98. doi 1034759/tpt-2021-13-398-110
- Филиппов А.Ю., Филиппов Ю.П. // Теплоэнергетика. 2022. № 5. С. 18. https://doi.org/10.1134/S0040363622050010
- Филиппов А.Ю., Филиппов Ю.П. // Тепловые процессы в технике. 2022. Т. 14. № 5. С. 225. doi 1034759/tpt-2022-14-5-225-240
- Pinguest B.G., Miller G.J., Moksnes P.O. // The 26-th International North Sea Flow Measurement Workshop. 21−24 October 2008. TUV NEL Publisher. Paper 3.1. P. 1. https://nfogm.no/wp-content/uploads/2019/02/2008- 08-The-Influence-of-Liquid-Viscosity-on-Multiphase-Flow-Meters-Pinguet-Schlumberger.pdf
- Коврижных А.М., Панферов К.С., Филиппов Ю.П., Демьянов А.А., Кепещук Т.В., Поярков С.А.// Автоматизация, телемеханизация и связь в нефтяной промышленности. 2007. № 8. С. 3.
- https://www.tuvsud.com/en-gb/industries/chemical-and-process/flow-measurement
- The State Primary Special Standard Unit of Mass Flow of Gas-Liquid Mixtures. https://vniir.org/standards/ get-195-2011
- Свешников Б.Н., Смирнов С.Н., Филиппов А.Ю., Филиппов Ю.П. // Письма в журнал Физика ЭЧАЯ. 2021. Т. 18. № 1(233). С. 58.
- Абрамов Г.С. // Автоматизация, телемеханизация и связь в нефтяной промышленности. 2012. № 1. С. 5.
- Filippov Y.P., Kakorin I.D. // Flow Measurement and Instrumentation. 2016. V. 52. P. 163.
- Экспериментальные исследования многофазных бессепарационных расходомеров на полигонах TUV SUD NEL и ГЭТ195-2011: протоколы и файлы. Дубна: ОИЯИ, ЛФВЭ, 2012/13.
- Filippov Yu.P., Kakorin I.D., Kovrizhnykh A.M., Miklayev V.M. // Physics of Particles and Nuclei Letters. 2017. V. 14. № 4. P. 602. https://doi.org/10.1134/S1547477117040082
- Filippov Yu.P., Filippov A.Yu. // Flow Measurement and Instrumentation. 2019. V. 68. P. 101578. doi org/https://doi.org/10.1016/j.flowmeasinst.2019.101758
- Filippov Y.P., Romanov S.V., Panferov K.S., Svesh-nikov B.N. // Proc. of the 22-th International Cryogenic Engineering Conf. (ICEC 22) (Seoul, Korea, 2008) Gyeongnam: KIASC, 2009. P. 419. ISBN 9788995713822
- Влагомеры поточные моделей L и F. Описание типа средства измерений, 56767-14.pdf.
- Какорин И.Д., Филиппов Ю.П. // Измерительная техника. 2013. № 11. С. 33.
- ГОСТ Р 8.615-2005. ГСИ. Измерения количества извлекаемых из недр нефти и нефтяного газа. Общие метрологические и технические требования.
- Плoтнoмep 804. piezoelectric.ru/Products/Densitometer804/
Supplementary files











