Thermally Induced Pulsed Processes in Strontium Barium Niobate Single Crystals
- Authors: Bolshakova N.N.1, Burtsev A.V.2, Pedko B.B.1, Semenova E.M.1
-
Affiliations:
- Tver State University, 170002, Tver, Russia
- ООО Al’tonika, 115230, Moscow, Russia
- Issue: Vol 68, No 5 (2023)
- Pages: 761-766
- Section: ФИЗИЧЕСКИЕ СВОЙСТВА КРИСТАЛЛОВ
- URL: https://journals.rcsi.science/0023-4761/article/view/137418
- DOI: https://doi.org/10.31857/S0023476123600581
- EDN: https://elibrary.ru/DPTYWD
- ID: 137418
Cite item
Full Text
Abstract
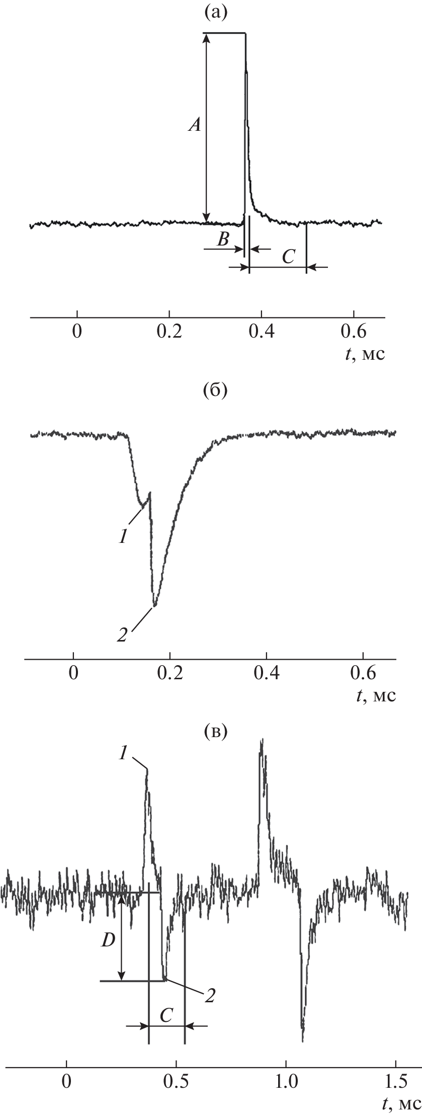
A brief analytical review of the literature data on the jump switching processes in classical ferroelectrics and new results of the experimental study of the thermally induced pulsed processes in the strontium barium niobate relaxor ferroelectric crystals are presented. The mechanisms of their occurrence in different temperature ranges are discussed based on the data of spectral analysis of the parameters of pulsed processes.
About the authors
N. N. Bolshakova
Tver State University, 170002, Tver, Russia
Email: semenova.em@tversu.ru
Россия, Тверь
A. V. Burtsev
ООО Al’tonika, 115230, Moscow, Russia
Email: semenova.em@tversu.ru
Россия, Москва
B. B. Pedko
Tver State University, 170002, Tver, Russia
Email: semenova.em@tversu.ru
Россия, Тверь
E. M. Semenova
Tver State University, 170002, Tver, Russia
Author for correspondence.
Email: semenova.em@tversu.ru
Россия, Тверь
References
- Рудяк В.М., Богомолов А.А., Шувалов Л.А. // Тезисы IV Всесоюзной конференции по физике сегнетоэлектриков. 1968. Рига. С. 96.
- Рудяк В.М. Процессы переключения в нелинейных кристаллах. М.: Наука, 1986. 248 с.
- Рудяк В.М. // УФН. 1970. Т. 101. № 3. С. 429.
- Рудяк В.М., Камаев В.Е. // Изв. АН СССР. 1965. Т. 29. С. 937.
- Рудяк В.М., Шувалов Л.А., Камаев В.Е. // Изв. АН СССР. Сер. физ. 1965. Т. 29. № 6. С. 943.
- Кузьминов Ю.С. Сегнетоэлектрические кристаллы для управления лазерным излучением. М.: Наука, 1982. 400 с.
- Волк Т.Р., Симагина Л.В., Гайнутдинов Р.В. и др. // ФТТ. 2011. Т. 53. Вып. 12. С. 2345.
- Lehnen P., Kleemann W., Woike T., Pankrath R. // Phys. Rev. B. 2001. V. 64. № 22. P. 224109. https://doi.org/10.1103/PhysRevB.64.224109
- Гайнутдинов Р.В., Волк Т.Р., Толстихина А.Л., Ивлева Л.И. // Письма в ЖЭТФ. 2007. Т. 86. Вып. 4. С. 299.
- Шур В.Я., Шихова В.А., Пелегов Д.В. и др. // ФТТ. 2011. Т 53. Вып. 11. С. 2195.
- Бурцев А.В., Педько Б.Б., Зазнобин Т.О. и др. // ФТТ. 2009. Т 51. № 7. С. 1407.
- Kapphan S., Pedko B., Trepakov V. et al. // Radiation effects and defects in solids. 2002. V. 157. № 6–12. P. 1033. https://doi.org/10.1080/10420150215799
- Педько Б.Б., Бурцев А.В., Зазнобин Т.О. и др. // Изв. вузов. Материалы электронной техники. 2009. № 2. С. 20.
- Бурцев А.В., Педько Б.Б. // Релаксационные явления в твердых телах. Матер. XXIV междунар. конф. Воронеж: Воронежский государственный технический университет, 2019. С. 66.
Supplementary files





