Structure and properties of bioinert titanium alloy Ti–39Nb–7Zr subjected to equal-channel angular pressing
- Authors: Illarionov A.G.1,2, Kuznetsov V.P.1,2, Mukanov G.Z.1, Stepanov S.I.1, Korenev A.A.1, Karelin R.D.3
-
Affiliations:
- Ural Federal University named after the First President of Russia B. N. Yeltsin
- Mikheev Institute of Metal Physics, Ural Branch, Russian Academy of Sciences
- Baikov Institute of Metallurgy and Materials Science, RAS
- Issue: Vol 126, No 1 (2025)
- Pages: 46-57
- Section: СТРУКТУРА, ФАЗОВЫЕ ПРЕВРАЩЕНИЯ И ДИФФУЗИЯ
- URL: https://journals.rcsi.science/0015-3230/article/view/288533
- DOI: https://doi.org/10.31857/S0015323025010063
- EDN: https://elibrary.ru/BZTSMB
- ID: 288533
Cite item
Abstract
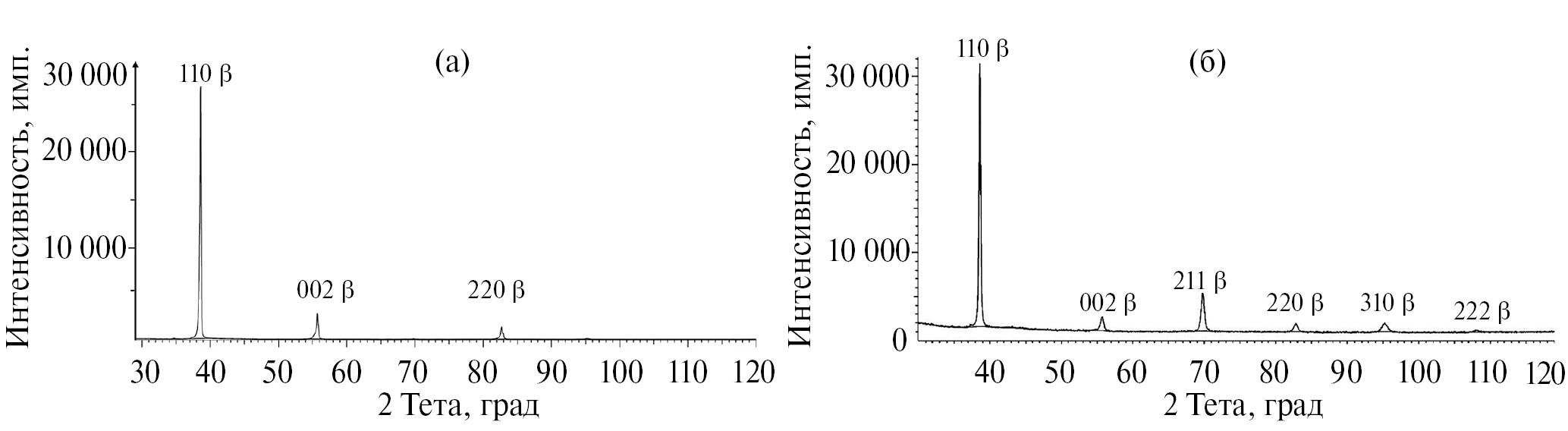
In this work, the structure, texture and properties of the biocompatible titanium pseudo-b-alloy Ti–39 wt.% Nb–7 wt.% Zr after equal-channel angular pressing (ECAP) in four passes with preliminary heating at 450°C for 30 minutes are studied using the methods of transmission and scanning orientation microscopy, X-ray diffraction phase analysis, microindentation and tensile testing. It was found that after ECAP the alloy is in a single-phase b-state, partial refinement of the grain structure down to 180...200 nm is observed, and a two-component limited shear texture {1–21} and {110} is formed, deviated from the rod axis at an angle of about 20°. A set of physical and mechanical properties (hardness, elastic modulus, strength and plastic characteristics) of the alloy in the state after ECAP is determined. A scheme of phase transformations occurring in a metastable b-solid solution of the alloy is proposed based on an analysis of changes in physical properties (modulus of elasticity, heat capacity, thermal diffusivity, linear expansion) upon heating up to the temperature of the polymorphic transformation. The temperature range of alloy aging for the implementation of dispersion strengthening is substantiated.
Full Text
About the authors
A. G. Illarionov
Ural Federal University named after the First President of Russia B. N. Yeltsin; Mikheev Institute of Metal Physics, Ural Branch, Russian Academy of Sciences
Author for correspondence.
Email: a.g.illarionov@urfu.ru
Russian Federation, Ekaterinburg, 620002; Ekaterinburg, 620108
V. P. Kuznetsov
Ural Federal University named after the First President of Russia B. N. Yeltsin; Mikheev Institute of Metal Physics, Ural Branch, Russian Academy of Sciences
Email: a.g.illarionov@urfu.ru
Russian Federation, Ekaterinburg, 620002; Ekaterinburg, 620108
G. Zh. Mukanov
Ural Federal University named after the First President of Russia B. N. Yeltsin
Email: a.g.illarionov@urfu.ru
Russian Federation, Ekaterinburg, 620002
S. I. Stepanov
Ural Federal University named after the First President of Russia B. N. Yeltsin
Email: a.g.illarionov@urfu.ru
Russian Federation, Ekaterinburg, 620002
A. A. Korenev
Ural Federal University named after the First President of Russia B. N. Yeltsin
Email: a.g.illarionov@urfu.ru
Russian Federation, Ekaterinburg, 620002
R. D. Karelin
Baikov Institute of Metallurgy and Materials Science, RAS
Email: a.g.illarionov@urfu.ru
Russian Federation, Moscow, 119334
References
- Li Y., Yang C., Zhao H., Qu S., Li X., Li Y. New Developments of Ti-Based Alloys for Biomedical Applications // Materials. 2014. V. 7. P. 1709–1800.
- Kim K.M., Kim H.Y., Miyazaki S. Effect of Zr Content on Phase Stability, Deformation behavior, and Young’s Modulus in Ti–Nb–Zr Alloys // Materials. 2020. V. 13. P. 476.
- Fellah M., Hezil N., Bouras D., Bouchareb N., Perez-Larios A., Obrosov A., Gamal A.El-Hit, Weiß S. Investigating the effect of Zr content on electrochemical and tribological properties of newly developed near β-type Ti-alloys (Ti–25Nb-xZr) for biomedical applications // J. Sci.: Advanced Mater. and Devices. 2024. V. 9. P. 100695.
- Biesiekierski A., Wang J., Abdel-Hady G.M., Wen C. A new look at biomedical Ti-based shape memory alloys // Acta Biomaterialia. 2012. V. 8. № 5. P. 1661–1669.
- Banerjee D., Williams J.C. Perspectives on titanium science and technology // Acta Mater. 2013. V. 61. P. 844–879.
- Эмсли Дж. Элементы. М.: Мир, 1993. 256 с.
- Коренев А.А., Илларионов А.Г. Расчетные и экспериментальные упругие свойства закаленных биосовместимых сплавов титана систем Ti–Nb, Ti–Nb–Zr, Ti–Nb–Zr–Sn, Ti–Nb–Zr–Sn–Ta // ФММ. 2022. Т. 123. № 11. С. 1203–1209.
- Коренев А.А., Илларионов А.Г. Влияние холодной деформации на структуру, текстуру, упругие и микродюрометрические свойства биосовместимых бета-титановых сплавов на базе системы Ti–Nb–Zr // ФММ. 2023. Т. 124. № 6. С. 492–499.
- Chen Q., Thouas G.A. Metallic implant biomaterials // Mater. Sci. Eng. R. 2005. V. 87. P. 1–57.
- Коренев А.А., Илларионов А.Г., Карабаналов М.С. Формирование структурно-фазового состояния, упругих и дюрометрических свойств в биосовместимых холоднокатаных титановых сплавах на базе системы Ti–Nb–Zr при старении // ФММ. 2024. Т. 125. № 3. С. 345–355.
- Edalati K., Bachmaier A., Beloshenko V.A., Beygelzimer Y., Blank V.D., Botta W.J., Bryła K., Čížek J., Divinski S., Enikeev N.A., Estrin Y., Faraji G., Figueiredo R.B., Fuji M., Furuta T., Grosdidier Th., Gubicza J., Hohenwarter A., Horita Z., Huot J., Ikoma Y., Janeček M., Kawasaki M., Král P., Kuramoto Sh., Langdon T.G., Leiva D.R., Levitas V.I., Mazilkin A., Mito M., Miyamoto H., Nishizaki T., Pippan R., Popov V.V., Popova E.N., Purcek G., Renk O., Révész Á., Sauvage X., Sklenicka V., Skrotzki W., Straumal B.B., Suwas S., Toth L.S., Tsuji N., Valiev R.Z., Wilde G., Zehetbauer M.J. &Zhu X. Nanomaterials by severe plastic deformation: review of historical developments and recent advances // Mater. Research Letters. 2022. V. 10. № 4. P. 163–256. https://doi.org/10.1080/21663831.2022.2029779
- Lowe T.C., Valiev R.Z. Advanced biomaterials and biodevices / In: Tiwari A, Nordin AN, editors. Beverly (MA): Wiley-Scrivener Publishing, 2014. P. 3–52.
- Деркач М.А., Шереметьев В.А., Коротицкий А.В., Прокошкин С.Д. Исследование низкотемпературного термомеханического поведения сверхупругого сплава Ti–18Zr–15Nb в различных температурно-скоростных условиях // ФММ. 2023. Т. 124. № 9. С. 873–883.
- Valiev R.Z., Islamgaliev R.K., Alexandrov I.V. Bulk nanostructured materials from severe plastic deformation // Prog. Mater. Sci. 2000. V. 45. P. 103–189.
- Sheremetyev V., Derkach M., Churakova A., Komissarov A., Gunderov D., Raab G., Cheverikin V., Prokoshkin S., Brailovski V. Microstructure, mechanical and superelastic properties of Ti–Zr–Nb alloy for biomedical application subjected to equal channel angular pressing and annealing // Metals. 2022. Т. 12. № 10. С. 1672.
- Valiev R.Z., Raab G.I., Prokofiev E.A., Kazarinov N.A., Minasov T.B., Stráský J. Developing nanostructured Ti alloys for innovative implantable medical devices // Materials. 2020. V. 13. P. 967. https://doi.org/10.3390/ma13040967
- Bartha K., Veverková A., Stráský J., Veselý J., Minárik P., Corrêa C.A., Janeček M., Polyakova V., Semenova I. Effect of the severe plastic deformation by ECAP on microstructure and phase transformations in Ti–15Mo alloy // Mater. Today Commun. 2020. V. 22. P. 100811.
- Derkach M., Gunderov D., Tabachkova N., Cheverikin V., Zolotukhin E., Prokoshkin S., Brailovski V., Sheremetyev V. Effect of low and high temperature ECAP modes on the microstructure, mechanical properties and functional fatigue behavior of Ti–Zr–Nb alloy for biomedical applications // J. Alloys Compounds. 2024. V. 976. P. 173147.
- Wang Q., Dong C., Liaw P.K. Structural Stabilities of β-Ti Alloys Studied Using a New Mo Equivalent Derived from [β/(α + β)] Phase-Boundary Slopes // Metal. Mater. Trans. A. 2015. V. 46A. P. 3440–3447
- Ильин А.А., Колачев Б.А., Полькин И.С. Титановые сплавы. Состав, структура, свойства: справочник. М.: ВИЛС–МАТИ, 2009. 520 с.
- Illarionov A., Mukanov G., Stepanov S., Kuznetsov V., Karelin R., Andreev V., Yusupov V., Korelin A. Microstructure and physico-mechanical properties of biocompatible titanium alloy Ti–39Nb–7Zr after rotary forging // Metals. 2024. V. 14. № 5. Р. 497.
- Hamed Shahmir, Mahmoud Nili-Ahmadabadi, Mojtaba Mansouri-Arani, Langdon T.G. The processing of NiTi shape memory alloys by equal-channel angular pressing at room temperature // Mater. Sci. Eng.: A. 2013. V. 576. P. 178–184. https://doi.org/10.1016/j.msea.2013.04.001
- Karelin R., Komarov V., Khmelevskaya I., Andreev V., Yusupov V., Prokoshkin S. Structure and properties of TiNi shape memory alloy after low-temperature ECAP in shells // Mater. Sci. Eng.: A. 2023. V. 872. № 5. P. 144960. https://doi.org/10.1016/j.msea.2023.144960
- Karelin R., Komarov V., Khmelevskaya I., Cherkasov V., Andreev V., Yusupov V., Prokoshkin S. Effect of temperature-deformation regimes of equal channel angular pressing in core-shell mode on the structure and properties of near-equiatomic titanium nickelide shape memory alloy // J. Alloys Compounds. 2024. V. 1005. № 11. P. 176071. https://doi.org/10.1016/j.jallcom.2024.176071
- Иванов И., Сафарова Д., Батаева З., Батаев И. Сравнение подходов, основанных на методе Вильямсона–Холла, для анализа структуры высокоэнтропийного сплава Al0.3CoCrFeNi после холодной пластической деформации // Обработка металлов (технология; оборудование; инструменты). 2022. Т. 24. № 3. С. 90–102.
- Коренев А.А. Влияние легирования и термомеханической обработки на структурно-фазовое состояние и свойства биосовместимых β-титановых сплавов титана на базе системы Ti–Nb–Zr/Диссертация на соискание ученой степени кандидата технических наук: специальность 2.6.4 “Металловедение и термическая обработка металлов и сплавов”. Уральский Федеральный университет, 2024. 136 с.
- Khrunyk Y.Y., Grib S.V., Illarionov A.G., Stepanov S.I., Popov A.A., Ryzhkov M.A., Belikov S.V., Ehnert S., Nüssler A.K., Xu Z., Rupp F. Synthesis and characterization of a novel biocompatible alloy, Ti–Nb–Zr–Ta–Sn // International Journal of Molecular Sciences. 2021. V. 22. Р. 10611. https://doi.org/10.3390/ijms221910611
- Prokoshkin S., Dubinskiy S., Brailovski V. Features of a Nanosubgrained Structure in Deformed and Annealed Ti–Ni SMA: A Brief Review // Shap. Mem. Superelasticity. 2019. V. 5. P. 336–345. https://doi.org/10.1007/s40830-019-00241-6
- Montheillet F., Gilormini P., Jonas J.J. Relation between axial stresses and texture development during torsion testing: A simplified theory // Acta Metal. 1985. V. 33. № 4. P. 705–717.
- Сегал В.М., Резников В.И., Копылов В.И., Павлик Д.А., Малышев В.Ф. Процессы пластического структурообразования металлов. Минск: Навука i тэхнiка, 1994. 230 с.
- Цвиккер У. Титан и его сплавы. М.: Мир, 1979. 512 с.
- Гриднев В.Н., Ивасишин О.М., Ошкадеров С.П. Физические основы скоростного термоупрочнения титановых сплавов. Киев.: Наукова думка, 1986. 256 с.
- Moffat D.L., Kattner U.R. The Stable and Metastable Ti–Nb Phase Diagrams // Metal. Trans. A. 1988. V. 19A. № 10. P. 2389–2397.
- Hao Y.L., Niinomy N., Kuroda D., Fukunaga K., Zhou Y.L., Yang R., Suzuki A. Aging Response of the Young’s Modulus and Mechanical Properties of Ti–29Nb–13Ta–4.6Zr for Biomedical Applications // Metal. Mater. Trans. A. 2003. V. 34A. P. 1007–1012.
- Nejezchlebov J., Seiner H., Sedl_ak P., Landa M., Smilauerovа Jana, Aeby-Gautier E., Denand B., Dehmas M., Appolaire B. On the complementarity between resistivity measurement and ultrasonic measurement for in-situ characterization of phase transitions in Ti–alloys // J. Alloys Compounds. 2018. V. 762. P. 868–872.
- Zhaňal P., Beran P., Hansen T., Šmilauerova J., Strasky J., Janeček M., Harcuba P. Thermal expansion evolution of metastable β Ti–15Mo alloy during linear heating // IOP Conf. Series: Materials Science and Engineering. 2019. V. 461. P. 012094. https://doi.org/10.1088/1757-899X/461/1/012094
- Горбатов В.И., Полев В.Ф., Пилюгин В.П., Коршунов И.Г., Смирнов А.Л., Талуц С.Г., Брытков Д.А. Температуропроводность субмикро- и нанокристаллических ниобия, титана и циркония при высоких температурах // Теплофизика высоких температур. 2013. Т. 51. № 4. С. 539–542.
- Пелецкий В.Э., Чеховской В.Я., Бельская Э.А., Зарецкий Е.Б., Петухов В.А., Фокин Л.Р., Шур Б.А. Теплофизические свойства титана и его сплавов. М.: Металлургия, 1985. 103 с.
- Illarionov A.G., Vodolazskiy F.V., Barannikova N.A., Kosmatskiy Y.I., Khudorozhkova Y.V. Influence of phase composition on thermal expansion of Ti–0.4Al, Ti–2.2Al–2.5Zr and Ti–3Al–2.5V alloys // J. Alloys Compounds. 2021. V. 857. P. 158049.
- Acharya S., Bahl S., Dabas S.S., Hassan S., Gopal V., Panicker A.G., Manivasagam G., Suwas S., Chatterjee K. Role of aging induced α precipitation on the mechanical and tribocorrosive performance of a β Ti–Nb–Ta–O orthopedic alloy // Mater. Sci. Eng. C. 2019. V. 103. P. 109755.
- Guo S., Meng Q., Liao G., Hu L., Zhao X. Microstructural evolution and mechanical behavior of metastable β-type Ti–25Nb–2Mo–4Sn alloy with high strength and low modulus // Progress in Natural Sci.: Materials International. 2013. V. 23. № 2. P. 174–182.
Supplementary files









