Gauge factor of refractory high-entropy alloys
- Authors: Evdokimov I.V.1, Sterkhov Е.V.1, Uporov S.A.1, Ryltsev R.E.1
-
Affiliations:
- Institute of Metallurgy, Ural Branch, Russian Academy of Sciences
- Issue: Vol 125, No 11 (2024)
- Pages: 1405-1415
- Section: СТРУКТУРА, ФАЗОВЫЕ ПРЕВРАЩЕНИЯ И ДИФФУЗИЯ
- URL: https://journals.rcsi.science/0015-3230/article/view/284467
- DOI: https://doi.org/10.31857/S0015323024110094
- EDN: https://elibrary.ru/ILZJUW
- ID: 284467
Cite item
Abstract
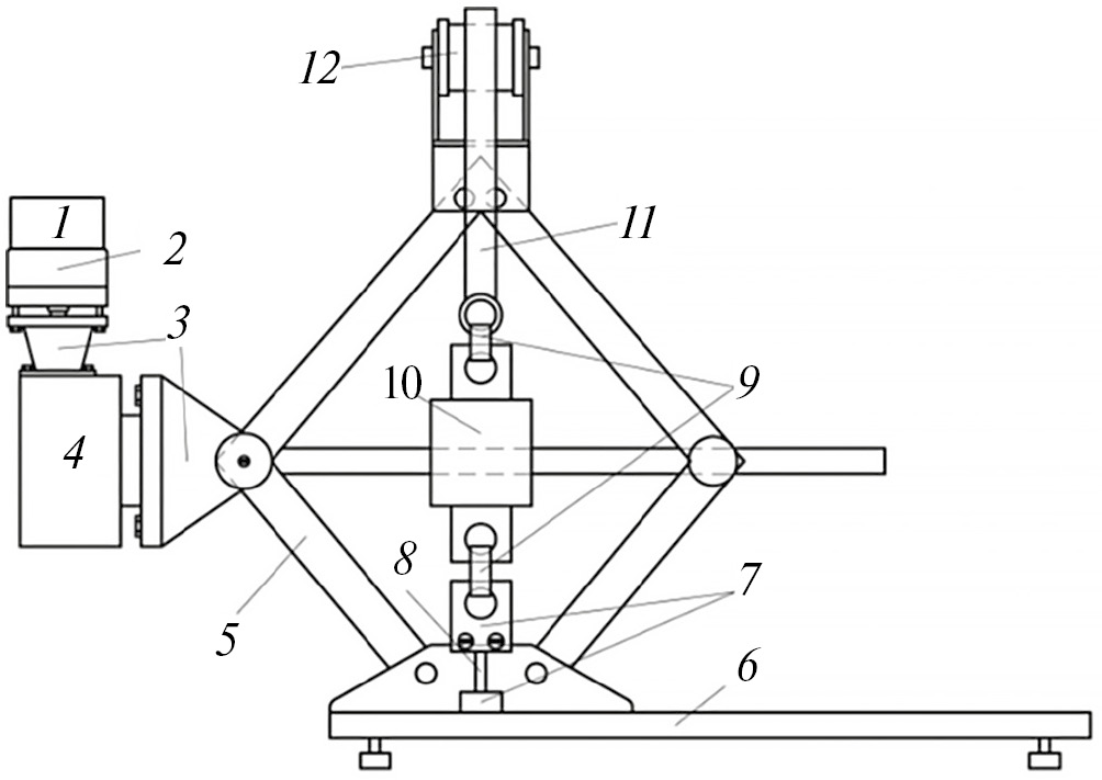
One of the most promising applications of high-entropy alloys (HEAs) is their use as materials for strain gauges. In order to study HEAs in the context of this application, it is necessary to be able to accurately and rapidly measure gauge factor (GF). This paper reports the results of testing and validation of a precision automated system for direct strain gauge testing of metal alloys. The technique has been applied in studies of both known strain-gauge alloys and new HEAs such as TiHfZrTa, TiHfNbTaZr, TiHfNbTa, and TiHfNbZr. It has been demonstrated that the HEAs under investigation display a markedly elevated GF with values ranging from 3.60 to 5.17. This is significantly higher than that observed in conventional materials employed in the fabrication of strain gauges, such as manganin, constantan, and nichrome. Furthermore, the examined HEAs demonstrate a considerable elastic limit, reaching up to 972 MPa. The analysis of the obtained data leads to the hypothesis that the anisotropy of the elastic properties of the material is an essential factor responsible for the high GF.
Full Text
About the authors
I. V. Evdokimov
Institute of Metallurgy, Ural Branch, Russian Academy of Sciences
Author for correspondence.
Email: rrylcev@mail.ru
Russian Federation, Ekaterinburg, 620016
Е. V. Sterkhov
Institute of Metallurgy, Ural Branch, Russian Academy of Sciences
Email: rrylcev@mail.ru
Russian Federation, Ekaterinburg, 620016
S. A. Uporov
Institute of Metallurgy, Ural Branch, Russian Academy of Sciences
Email: rrylcev@mail.ru
Russian Federation, Ekaterinburg, 620016
R. E. Ryltsev
Institute of Metallurgy, Ural Branch, Russian Academy of Sciences
Email: rrylcev@mail.ru
Russian Federation, Ekaterinburg, 620016
References
- Wu Y.D., Cai Y.H., Wang T., Si J.J., Zhu J., wang Y.D., Hui X.D. A refractory Hf25Nb25Ti25Zr25 high-entropy alloy with excellent structural stability and tensile properties // Mater. Letters. 2014. V. 130. P. 277–280.
- Senkov O.N., Scott J.M., Senkova S.V., Miracle D.B., Woodward C.F. Microstructure and room temperature properties of a high-entropy TaNbHfZrTi alloy // J. Alloys Compounds. 2011. V. 509. P. 6043–6048.
- Kumar S. Comprehensive review on high entropy alloy-based coating // Surface & Coatings Techn. 2024. V. 477. P. 130327.
- Tsai M.H., Yeh J.W. High-Entropy Alloys: A Critical Review // Mater. Research Letters. 2014. V. 2. P. 107–123.
- Ye Y.F., Wang Q., Lu J., Liu C.T., Yang T. High-entropy alloy: challenges and prospects // Mater. Today. 2016. V. 19. P. 349–362.
- Senkov O.N., Semiatin S.L. Microstructure and properties of a refractory high-entropy alloy after cold working // J. Alloys and Compounds. 2015. V. 649. P. 1110–1123.
- Miracle D.B., Senkov O.N. A critical review of high entropy alloys and related concepts // Acta Mater. 2017. V. 122. P. 448–511.
- Gludovatz B., Hohenwater A., Catoor D., Chang E.H., George E.P., Ritchie R.O. A fracture-resistant high-entropy alloy for cryogenic applications // Science. 2014. V. 345. P. 1153–1158.
- Liu J., Guo X., Lin Q., He Z., An X., Li L., Liaw P.K., Liao X., Yu L., Lin J., Xie L., Ren J., Zhang Y. Excellent ductility and serration feature of metastable CoCrFeNi high-entropy alloy at extremely low temperatures // Sci. China Mater. 2018. V. 62. P. 853–863.
- Uporov S.A., Ryltsev R.E., Sidorov V.A., Estemirova S. Kh., Sterkhov E.V., Balyakin I.A., Chtchelkatchev N.M. Pressure effects on electronic structure and electrical conductivity of TiZrHfNb high-entropy alloy // Intermetallics. 2022. V. 140. P. 107394.
- Uporov S.A., Evdokimov I.V., Ryltsev R.E., Sterkhov E.V., Bykov V.A., Sidorov V.A., Chtchelkatchev N.M. High entropy alloys as strain-sensitive materials // Intermetallics. 2024. V. 170. P. 108334.
- Schneeweiss O., Friák M., Dudová M., Holec D., Šob M., Kriegner D., Holý V., Beran P., George E.P., Neugebauer J., Dlouhý A. Magnetic properties of the CrMnFeCoNi high-entropy alloy // Phys. Rev. 2017. V. 96. P. 1–14.
- Yuan X., Wu Y., Zhou M., Liu X., Wang H., Jiang S., Zhang X., Wu H., Liu X., Chen Z., Xu X., Lu Z. Effects of trace elements on mechanical properties of the TiZrHfNb high-entropy alloy // J. Mater. Sci. Techn. 2023. V. 152. P. 135–147.
- Senkov O.N., Miracle D.B., Chaput K.J. Development and exploration of refractory high entropy alloys-A review // J. Mater. Research. 2018. V. 33. P. 3092–3128.
- He Q., Yoshida S., Yasuda H., Tsuji N. Effect of Elemental Combination on Microstructure and Mechanical Properties of Quaternary Refractory Medium Entropy Alloys // Mater. Trans. 2020. V. 61. P. 577–586.
- Агейкин Д.И., Костина Е.Н., Кузнецова Н.Н. Датчики контроля и регулирования М.: Машиностроение, 1965. 928 с.
- Готра З.Ю., Чайковский О.И. Датчики / КАМНЕЯР. 1995. 310 с.
- Hoffmann K. An introduction to stress analysis and transducer design using strain gauges. HBM. 2012. P. 257.
- Bertodo R. Development of high-temperature strain gauges // Proceedings of the Institution of Mechanical Engineering. 1959. V. 173. P. 605–622.
- Guo Z., Xu J., Chen Y., Guo Z., Liu Y., Zhao J. High-sensitive and stretchable resistive strain gauges: Parametric design and DIW fabrication // Composite Structures. 2019. V. 223. P. 110955.
- Zhao C., Xia Z., Wang X., Nie J., Huang P., Zhao S. 3D-printed highly stable flexible strain sensors based on silver-coated-glass fiber-filled conductive silicon rubber // Mater. Design. 2020. V. 193. P. 108788.
- Rajanna K., Nayak M.M. Strain sensitivity and temperature behavior of invar alloy films // Mater. Sci. Eng. 2000. V. B77. P. 288–292.
- Bertodo R. Precious metal alloys for high-temperature resistance strain gauges // J. Phys. D: Applied Physics. 1968. V. 1. P. 1743–1752.
- Druyvesteyn M.J. The variation of the resistivity of some metals with elastic deformation // Physica. 1951. XVII. P. 748–760.
- Bertodo R. Resistance strain gauges for the measurement of steady strains at temperatures above 650oC // J. Strain Analysis. 1965. V. 1. P. 11–19.
- Tong L., Guo J. Noble metal alloys as strain gauge materials // Platinum Metals Rev. 1994. V. 38. P. 98–108.
- Vigness I. Investigation of Stress-Strain Relations of Metal Wires by Electrical Resistance Changes // J. Appl. Phys. 1952. V. 23. P. 43–47.
- Sciammarella C., Sciammarella F. Strain Gages — Introduction to Electrical Strain Gages //Experimental Mechanics of Solids. 2012. P. 41–73.
- Webster J.G. Strain sensors / Wiley Encyclopedia of Electrical and Electronics Engineering. 1999. P. 566–579.
- Kazi I.H., Wild P.M., Moore T.N., Sayer M. The electromechanical behavior of nichrome (80/20 wt.%) film // Thin Solid Films. 2003. V. 433. P. 337–343.
- Latha H.K.E., Stephen R.J. Development and Characterization of thin film nichrome strain gauge sensor for load applications // International Journal of Advanced Research in Engineering and Technology. 2010. V. 1. P. 48–54.
- Kazi I.H., Wild P.M., Moore T.N., Sayer M. Characterization of sputtered nichrome (Ni-Cr 80/20 wt.%) films for strain gauge applications // Thin Solid Films. 2006. V. 515. P. 2602–2606.
- Fukamichi K., Kimura H.M., Masumoto T., Gambino R.J. Stran gauge characteristics of Ni-base amorphous alloys // Trans. Magn. 1980. V. 16. P. 907–909.
- Ueda R., Yamamoto Y. Electrical Resistance-Strain Effect of Ni-Cu Alloy Films // Shinku. 1964. V. 7. P. 253–258.
- Masumoto H., Nakamura N. The Strain Gauge Factor and Electrical Properties in a Cold-Worked State of Iron-Chromium Alloys // Mater. Trans. 1969. V. 10. P. 124–127.
- Gouault J., Hubin M., Richon G., Eudeline B. The electromechanical behavior of a full component (dielectric and Cu/Ni constantan alloy) for thin film strain gauge deposited upon steel-substrate // Vacuum. 1977. V. 27. P. 363–365.
- Kukhar V.V. Alloys for precision resistors // Metal Science and Heat Treatment. 1972. V. 14. P. 413–418.
- Chen Z., Huang R., Chu X., Wu Z., Liu Z., Zhou Y., Li L. Negative thermal expansion and nearly zero temperature coefficient of resistivity in anti-perovskite manganese nitride Mn3CuN co-doped with Ag and Sn // Cryogenics. 2012. V. 52. P. 629–631.
- Агейкин Д.И., Костина Е.Н., Кузнецова Н.Н. Датчики контроля и регулирования: Справочные материалы — 2-е изд. перераб. и доп. Машиностроение, 1965. 928 с.
- Crone U.V.D., Tietz F., Vaben R., Stover D. Synthesis and thermal properties of Ni-alloy/Al2O3 cermets for interconnector materials in solid oxide fuel cells // High Temperature Materials and Processes. 1998. V. 4. P. 253–256.
- Peng L., Congchun Z., Yawen P., Shenyong Y., Meiju Z. Fabrication and performance investigation of Karma alloy thin film strain gauge // Journal of Shanghai Jiaotong University (Science). 2021. V. 26. P. 454–462.
- Xing L., Yansheng Z. The strain sensitivity coefficient of resistance for an FeMnAlCr antiferromagnetic alloy // J. Phys. D: Applied Physics. 1996. V. 29. P. 511–513.
- Perfetti M., Ventura G. “Data of thermal expansion,” in Thermal Properties of Solids at Room and Cryogenic Temperatures. Springer. 2014. P. 121–127.
- Wang Q., Kishimoto S., Xie H., Liu Z., Lou X. In situ temperature creep deformation of micro-structure with metal film wire on flexible membrane using geometric phase analysis // Microelectronics Reliability. 2013. V. 53. P. 652–657.
- Bertodo R. Resistance strain gauges for the measurement of steady strains at temperatures above 650°C // J. Strain Analysis. 1965. 1. P. 11–19.
- Ma Y., Wu S., Jia Y., Hu P., Bu Y., Chen X., Wang G., Liu J., Wang H., Zhai Q. Hexagonal Closed-Packed Precipitation Enhancement in a NbTiHfZr Refractory High-Entropy Alloy // Metals. 2019. V. 9. P. 485.
- He Q., Yoshida S., Tsuji N. Characteristic strengthening mechanisms in body-centered cubic refractory high/medium entropy alloys // Scripta Mater. 2023. V. 231. P. 115442.
- Gorsse S., Nguyen M.H., Senkov O.N., Miracle D.B. Database on the mechanical properties of high entropy alloys and complex concentrated alloys // Data in Brief. 2018. V. 21. P. 2664–2678.
- Juan C.C., Tseng K.K., Hsu W.L., Tsai M.H., Tsai C.W., Lin C.M., Chen S.K., Lin S.J., Yeh J.W. Solution strengthening of ductile refractory HfMoxNbTaTiZr high-entropy alloys // Mater. Letters. 2016. V. 175. P. 284–287.
- Schuh B., Volker B., Todt J., Schell N., Perriere L., Li J., Couzinie J.P., Hohenwarter A. Thermodynamic instability of a nanocrystalline, single-phase TiZrNbHfTa alloy and its impact on the mechanical properties // Acta Mater. 2018. V. 142. P. 201–212.
- Guo Z., Yu P., Liu Y., Zhao J. Pre-fatigue enhancing both long-term stability and sensitivity of direct-ink-writing printed sensors // Intern. J. Fatigue. 2023. V. 166. P. 107237.
- Kondratov A.P., Yakubov V., Volinsky A.A. Strain gauges capable of measuring large cyclical deformations printed on elastic polymer films // Measurement. 2020. V. 166. P. 108107.
- Guo Z., Yu P., Liu Y., Zhao J. High-precision resistance strain sensors of multilayer composite structure via direct ink writing: Optimized layer flatness and interfacial strength // Comp. Sci. Techn. 2021. V. 201. P. 1085350.
- Balaji R., Sasikumar M. Development of strain and damage monitoring system for polymer composites with embedded nickel alloys // Measurment. 2017. V. 111. P. 307–315.
- Enser H., Kulha P., Sell J.K., Schatzl-Linder M., Straub B., Hilber W., Jakoby B. Printed strain Gauges embedded in organic coatings — Analysis of gauge factor and temperature dependence // Sensors and Actuators A: Physical. 2018. V. 276. P. 137–143.
- Pan X., Lin F., Wu C., Zeng Y., Chen G., Chen Q., Sun D., Hai Z. Additive-Manufactured Platinum Thin-Film Strain Gauges for Structural Microstrain Testing at Elevated Temperatures // Micromachines. 2022. V. 13. P. 1472.
- Angadi. M. A., Whiting R. Longitudinal and Transverse Strain Sensitivity of Nichrome Films // Mater. Sci. Eng. 1990. B7. P. L1–L4.
- Ye Y.X., Musico B.L., Lu Z.Z., Xu L.B., Lei Z.F., Keppens V., Xu H.X., Nieh T.G. Evaluating elastic properties of a body-centered cubic NbHfZrTi high-entropy alloy — A direct comparison between experiments and ab initio calculations // Intermetallics. 2019. V. 109. P. 167–173.
- Li X., Tian F., Schönecker S., Zhao J., Vitos L. Ab initio-predicted micro-mechanical performance of refractory high-entropy alloys // Sci. Reports. 2015. V. 5. P. 12334.
- Li S., Ni X., Tian F. Ab Initio Predicted Alloying Effects on the Elastic Properties of AlxHf1-xTaTiZr High Entropy Alloys // Coatings. 2015. V. 5. № 3. P. 366–377.
- Dirras G., Lilensten L., Djemia P., Laurent-Brocq M., Tingaud D., Couzinie J. –P., Perriere L., Chauveau T., Guillot I. Elastic and plastic properties of as-cast equimolar TiHZrTaNb high-entropy alloy // Mater. Sci. Eng.: A. 2016. V. 654. P. 30–38.
- Huang S., Li W., Holmstrom E., Vitos L. Phase-transition assisted mechanical behavior of TiZrHfTax high-entropy alloys // Sci. Reports. 2018. V. 8. № 1. P. 12576.
- Schonecker S., Li X., Wei D., Nozaki S., Kato H., Vitos L., Li X. Harnessing elastic anisotropy to achieve low-modulus refractory high-entropy alloys for biomedical applications // Materials & Design. 2022. V. 215. P. 110430.
- Ledbetter H.M., Naiomon E.R. Elastic Properties of Metals and Alloys. II. Copper // J. Phys. Chem. Reference Data. 1974. V. 3. P. 897–935.
- Neighbours J.R., Alers G.A. Elastic Constants of Silver and Gold // Phys. Rev. 1958. V. 111. P. 707–712.
- Vallin J., Mongy M., Salama K., Beckman O. Elasic Constants of Aluminum // J. Appl. Phys. 1964. V. 35. P. 1825–1826.
- Featherston F.H., Neighbours J.R. Elastic Constants of Tantalum, Tungsten, and Molybdenum // Phys. Rev. 1963. V. 130. P. 1324–1333.
- Zhou W., Liu L., Li B., Wu P., Song Q. Structural, elastic and electronic properties of intermetallics in the Pt-Sn system: A density functional Investigation // Comp. Mater. Sci. 2009. V. 46. P. 921–931.
- Sun Y.J., Xiong K., Zhang S.M., Mao Y. First-Principles Investigations on the Elastic Propertiesof Platinum Group Metals (Pt, Pd, and Ru) // Mater. Sci. Forum. 2019. V. 944. P. 761–769.
- Rayne J.A., Chandrasekhar B.S. Elastic Constants of Iron from 4.2 to 300°K // Phys. Rev. 1961. V. 122. P. 1714–1716.
- Palmer S.B., Lee E.W. The elastic constants of chromium // Philosoph. Mag.: A J. Theoret. Exp. Appl. Phys. 1971. V. 24. P. 311–318.
Supplementary files







