Исследование карбида титана, полученного из титансодержащего концентрата в комбинированной плазменной установке с СВЧ-воздействием
- Authors: Балахонов Д.И.1, Николенко С.В.1, Коневцов Л.А.1
-
Affiliations:
- Хабаровский Федеральный исследовательский центр, Институт материаловедения ДВО Российской академии наук
- Issue: Vol 60, No 8 (2024)
- Pages: 920-932
- Section: Articles
- URL: https://journals.rcsi.science/0002-337X/article/view/290790
- DOI: https://doi.org/10.31857/S0002337X24080022
- EDN: https://elibrary.ru/LOXDAF
- ID: 290790
Cite item
Full Text
Abstract
В статье изложены результаты исследований по получению карбида титана из минерального концентрата без этапа химического выделения основного оксида TiO2 с применением метода плазмохимического синтеза. На основе химического и фазового анализов продуктов синтеза обсуждаются химические реакции, протекающие при плазменном воздействии на подготовленную смесь из концентрата и карбидизатора. Описаны модель процесса деструктуризации сложных соединений минерального концентрата и синтез карбида титана. В качестве источника локального энергетического воздействия применена экспериментальная установка, содержащая электродуговой плазмотрон косвенного действия и генератор СВЧ-поля. Удельная энтальпия плазменной струи достигает ~3 кДж/г при среднемассовой скорости до 10 м/с, а дополнительное СВЧ-воздействие позволяет наращивать энергию плазмы и температуру процесса. Получен карбид титана высокой чистоты стехиометрического состава. Обоснована перспективность применения плазменных технологий для получения наноразмерных частиц карбида титана из титансодержащего минерального концентрата.
Keywords
Full Text
ВВЕДЕНИЕ
При получении карбида титана чаще всего используют диоксид титана TiO2 высокой чистоты [1–3]. Наиболее распространенным способом получения карбида титана является реакция металлического титана или его диоксида в смеси с углеродом при высоких температурах, например спекание [4]. Для ускорения реакции образования карбида титана смесь титана и углерода нагревается выше 2000°C. При синтезе карбида титана важным условием является наличие защитной атмосферы или вакуума, препятствующих негативным процессам образования примесей. Однако различные методы спекания, будь то печной синтез, пиролиз с органическими соединениями [5] или лазерное спекание [6], требуют сложного оборудования [3, 6, 7]. При указанных способах сложно добиться однородности материала и наноразмерности частиц, что в значительной степени определяет пригодность продукта для дальнейшего применения, например при получении твердых сплавов.
Известен способ получения карбида титана из металлического титана с добавкой углерода, что имеет ряд преимуществ: относительная простота процесса и возможность проводить синтез без применения вакуума [3, 7, 8], однако при этом необходим тщательный контроль температуры, чтобы избежать образования примесей или нежелательных фаз.
В атмосфере аргона можно осуществить переход титана в карбид высокой чистоты при температуре от 1900°C [1, 6–8]. Для снижения температуры и полного удаления кислорода можно уменьшить давление образующегося в реакторе углекислого газа, например осуществляя доставку инертного газа. Использование аргоновой атмосферы и оптимизация процесса вакуумной обработки могут повысить эффективность и результативность производства TiC [8]. Однако существуют методы получения TiC в плазме дугового разряда постоянного тока, инициированного в воздушной среде [9].
Процесс получения карбида титана из его диоксида включает несколько стадий и может быть представлен в виде ряда TiO2→Ti3O5→Ti2O3→TiO→Ti→TiC [1–4]. В процессе вакуумной обработки реакция начинается при 800°С, быстро протекает при температуре 1200‒1400°C. Для получения товарного продукта проводят выдержку при 1900°C в течение 0.5 ч. Однако производство TiC в вакууме является малопроизводительным процессом.
Полученные результаты по синтезу карбида титана из минерального концентрата могут служить основой будущих технологий, в которых синтез протекает в одну или несколько стадий, минуя процессы гидрометаллургической и химической переработки первичного сырья, содержащего оксиды титана. Процесс синтеза карбида титана базируется на экспериментальном методе с применением низкотемпературной плазмы, генерируемой плазмотроном с СВЧ-воздействием. Дополнительное СВЧ-воздействие на плазменный поток может повысить температуру в зоне химических реакций
Цель работы – получение карбида титана в комбинированной плазменной установке с СВЧ-воздействием и исследование его свойств.
ЭКСПЕРИМЕНТАЛЬНАЯ ЧАСТЬ
Для проведения эксперимента по получению карбида титана из минерального концентрата в качестве источника плазмы применялась экспериментальная установка с плазмотроном косвенного действия и генератором СВЧ-излучения, представленная на рис. 1. Ранее [10, 11] установка применялась для синтеза боридов тугоплавких металлов. На схеме аппаратной части можно отметить некоторые изменения, обусловленные особенностью процесса плазменного синтеза карбида титана.
Рис. 1. Схема размещения магнетрона и плазмотрона косвенного действия на волноводной камере: а – схема исполнения аппаратной части, б – канал плазмотрона, в – канал концентратора; 1 и 2 – загрузочные емкости концентрата и графита, 3 – смеситель, 4 – подвод газа, 5 и 12 – отвод/подвод охладителя, 6 – волновод, 7 – магнетрон, 8 – огнеупорная трубка, 9 – концентратор, 10 – плазменный реактор с футеровкой, 11 – плазмотрон, 13 – отвод газа, 14 – фильтр тонкодисперсный, 15 – вставка.
В качестве основного нагревающего элемента в комбинированной установке применяется дуговой плазмотрон с направленным на него воздействием СВЧ-поля. Генератором СВЧ-поля служит магнетрон с диапазоном частоты от 1.9 до 2.44 ГГц. Общий принцип формирования высокочастотного разряда электродуговой плазмы основан на комбинированном подходе по принципу магнетрон–волновод–плазмотрон. Удельная энтальпия плазменной струи, вырабатываемой электродуговым плазмотроном под воздействием СВЧ-излучения, достигает порядка ~3 кДж/г при среднемассовой скорости до 9–10 м/с, что позволяет нагреть и разложить сложносоставные частицы минерального концентрата. Такой подход позволяет достичь температуры нагрева на выходе из сопла плазмотрона в концентрированной части потока порядка (8–11) × 103 К. Некоторые наблюдения показали, что при использовании графита в качестве компонента шихты энергетические показатели плазмы, генерируемой установкой, несколько отличаются от холостого режима работы и требуют более углубленного анализа.
К электродуговому плазмотрону подводится питание от инвертора переменного тока с частотой от 50 до 180 Гц (180–350 А, 30–55 В). В зависимости от выбранного режима магнетрон имеет мощность 800–2500 Вт (220 В, 1.9–2.44 ГГц). Прибавку мощности магнетрон дает в диапазоне от 0.56 до 1.3 кВт при 70% эффективности для режима ~800 Вт.
Анализ основных энергетических показателей плазмы основан на методах спектроскопического исследования температуры и скорости плазменной струи. В работах [12–15] приведены значения скорости истечения газа и плазменной струи. Истечение плазмообразующего газа происходит через сопло плазмотрона, особенность состоит в том, что поток испытывает дополнительное воздействие от СВЧ-поля.
Значения температуры плазменного потока tp получены при использовании аргона в качестве плазмообразующего газа, расход которого составлял от 8–10 л/мин. Сечение плазменной струи S у ее основания (концентратора) составляло порядка 4 мм, далее плазменная струя рассеивалась, расширяясь до 35–40 мм на расстоянии 20–35 мм, что приводило к снижению показателя плотности потока и температуры.
На схеме (рис. 1) магнетрон (7) генерирует СВЧ-поле, направленное по камере волновода (6) в сторону огнеупорной трубки (8), которая не препятствует прохождению электромагнитного поля, но является уязвимым элементом конструкции, так как подвергается значительному нагреву, что приводит к ее деградации. Концентратор (9) позволяет изменять давление и скорость движения газового потока, переносящего нагретые частицы в реакционную камеру, за счет изменения диаметра критического сечения с помощью сменной токопроводящей вставки (15).
Применение отечественных программ для конечно-элементного анализа позволило предварительно сымитировать поведение плазменного потока. Результаты наших исследований необходимы для анализа и оценки влияния на состав и свойства получаемых продуктов синтеза таких показателей, как температуры потока, его плотность и скорость, а также время воздействия высокотемпературной среды при одинаковом фракционном составе.
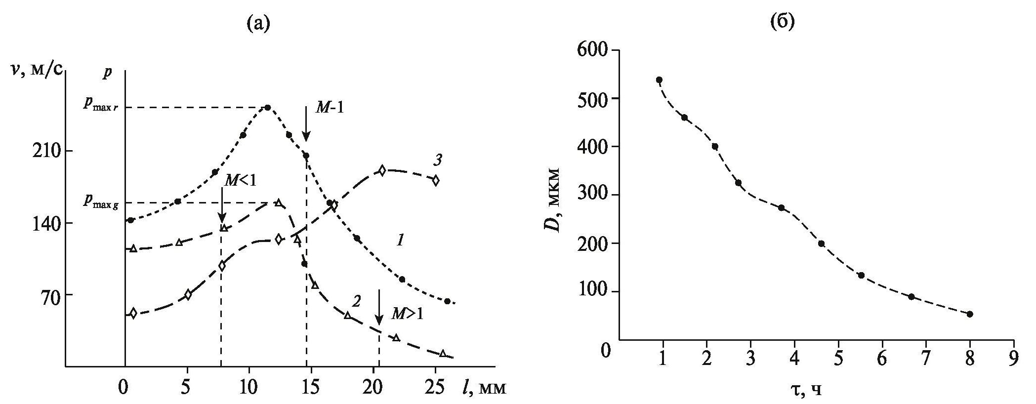
На рис. 2а представлены зависимости плотности плазменного потока с парокапельной фазой (кривая 1) и до подачи материала (кривая 2) от длины сопла. Зависимость скорости потока без обрабатываемого материала от длины сопла демонстрирует кривая 3. На рис.2б показан фракционный состав смеси в процессе механоактивации.
Рис. 2. Зависимости плотности (1, 2) и скорости плазменного потока (3) плазмотрона от длины сопла (М – число Маха, pr, pg – плотности парокапельной фазы и газовой смеси соответственно) (а) и фракционный состав смеси в процессе механоактвации (б).
Для проведения экспериментов порошкообразную смесь подготавливали и закладывали в бункеры установки 1 и 2 (рис. 1). Система дозирования каждого компонента позволяет корректировать состав в смесителе 3. Кроме аргона, в качестве транспортирующего газа в данной установке могут применяться углекислый газ или их смесь. В случае применения СО2 следует учитывать дополнительный кислород и увеличивать количество углерода, вводимого в шихту.
В табл. 1 приведен фазовый состав рутилового концентрата. Возможные химические реакции компонентов концентрата с углеродом [16–21] приведены в табл. 2. Реакции в табл. 2 позволяют проследить процесс восстановления, в случае, когда TiO2 взаимодействует с углеродом с образованием металлического титана и углекислого газа. Важно отметить, что восстановительные реакции в процессе теплового воздействия плазмой связаны с передачей электронов, что приводит к снижению окислительной способности TiO2 и сопровождается дополнительным выделением тепла. В большинстве случаев при проведении экспериментов по синтезу карбида восстановление металлического титана обусловлено недостатком углерода в системе, например из-за его возгонки при высокой температуре, изменения состава концентрата, недостаточной или избыточной скорости плазменного синтеза. Важно также учесть реакции с металлами Mn, Ca, Mg, которые протекают в системе с образованием карбидных фаз, нежелательных в конечном продукте. Однако карбиды этих металлов хорошо взаимодействуют с водой с образованием нерастворимых гидроксидов, легко удаляемых из получаемого материала.
Таблица 1. Состав рутилового концентрата (мас.%)
ТiO2 | Al2O3 | Fe2O3 | SiO2 | MnO | CaO | MgO | Прочие |
75.0 | 4.5 | 8.8 | 4.0 | 2.6 | 2.1 | 1.5 | 1.5 |
Таблица 2. Некоторые химические реакции компонентов рутилового концентрата с углеродом
Восстановительная реакция | Синтез карбидной фазы |
TiO2 + 2C → Ti + 2CO | TiO2 + 3C → TiC + 2CO |
Al2O3 + 3C → 2Al + 3CO | Al2O3 + 3C → → 2Al4C3 + 3CO |
Fe2O3 + 3C → 2Fe + 3CO | Fe2O3 + 3C → → 2Fe3C + 3CO |
SiO2 + 2C → Si + 2CO | SiO2 + 3C → SiC + 2CO |
MnO + C → Mn + CO | 3MnO + 4C → → Mn3C + 3CO |
CaO + 3C → CaC2 + CO | CaO + 3C → CaC2 + CO |
MgO + C → Mg + CO | MgO + 3C → MgC2 + CO |
Для приготовления смеси применялся рутиловый концентрат (РК) 10–50 мас.% и графит (С) 10–50 мас.%. Расчет производится в зависимости от содержания оксидов основного металла и попутных химических элементов с учетом количества кислорода в оксидах и добавления углерода в смесь с завышением на 10–30%. Так, в случае прогонки 100 г TiO2 требуется 45 г углерода, при этом учитывалось содержание попутных химических элементов, входящих в состав концентрата. Попутные элементы и оксидные соединения в процессе высокотемпературного разложения забирают на себя значительную часть углерода. Также учитывались потери углерода при возгонке, которые составляли 10–25%.
Температуру потока аргоновой плазмы определяли по спектру излучения в ультрафиолетовом, видимом и инфракрасном диапазонах с использованием трехканального оптоволоконного спектрометра [14, 15].
Истинную плотность твердых образцов измеряли на автоматическом газовом пикнометре Quantachrome Ultrapyc 1200e.
Морфологию поверхности, фазовый и элементный состав образцов, получаемых в ходе синтеза, изучали на электронном энергодисперсионном спектрометре, входящем в состав сканирующего электронного микроскопа VEGA 3 LMH и рентгеновском дифрактометре MiniFlex II Rigaku (трубка из Cu, мощность 0.45 кВт, минимальный шаг 2t = 0.01°).
Фазовый анализ проводился с использованием просвечивающего электронного микроскопа ZEISS Libra-120, оснащенного HAADF-детектором и энергетическим Ω-фильтром. Исследования проводились в двух режимах: на просвет темного поля и электронной микродифракции. Образцы для просвечивающей микроскопии подготавливались методом электролитической полировки и ионным травлением.
Для изучения показателей плазменного потока на различных режимах работы экспериментальной установки применялся теневой прибор “Свиль-80”. Анализ параметров плазмы предварительно проводился без парокапельной и диспергированной фаз.
Анализ на содержание связанного углерода в карбиде титана проводился с применением анализатора Horiba Emia 320V2. Рентгенофазовый анализа образцов, полученных плазмохимическим синтезом, проводился с применением дифрактометра ДРОН-7 (СоКα-излучение, скорость съемки 2 град/мин).
Размер частиц получаемых продуктов плазмохимического синтеза определяли с применением лазерного анализатора ANALYSETTE 22 в диапазоне 0.01–3800 мкм.
В ходе экспериментов в поток плазмы вводилась порошкообразная смесь массой от 20 до 100 г, соотношение концентрата и углерода в смеси составляло 10–50% (так, соотношение добавленного углерода к концентрату при расчете только на TiO2 составляет 1 к 3 без учета других химические соединения). Более эффективным оказалось содержание углерода в составе шихты на 10–30% больше, хотя это приводило к увеличению свободного углерода в продуктах синтеза. Длительность плазменного нагрева смеси составляла 4.5–15 с, расход порошкообразной смеси – 0.8–2 г/с. По окончании плазменного синтеза полученный в реакционной камере материал постепенно остывал, затем его извлекали и размалывали в агатовой ступке. Полученный материал представлял собой порошок темно-серого цвета, состоящий из мелкодисперсных частиц, трудно поддаваемый ручному измельчению.
Измеренная пикнометрическая плотность порошкового РК с фракцией ~400–450 мкм в среднем составляет 4.18 г/см³, что приближенно соответствует справочным характеристикам (4.2–4.3 г/см³).
РЕЗУЛЬТАТЫ И ОБСУЖДЕНИЕ
В процессе резкого нагрева исходного порошка (РУ+ С), вводимого в поток плазмы после смешивания и механоактивации, происходят следующие процессы: нагрев→ →плавление→диспергирование→возгонка. Однако графит не проходит стадию плавления, а сразу переходит из твердого состояния в газообразное. Плавление тугоплавких соединений в потоке плазмы, например TiO2, SiO2 и Al2O3, протекает медленнее, чем MnO, Fe2O3, CaO, MgO. Если расположить оксиды по возрастанию температуры плавления, то ряд будет иметь вид: MnO <Fe2O3 < < CaO < MgO < Al2O3 ≈ TiO2 < SiO2. При этом важно учесть, что температуры плавления TiO2, Al2O3 и SiO2 близки.
По активности химических реакций с углеродом компоненты РК можно расположить в ряд: CaO > MgO > MnO > Fe2O3 > > TiO2 ≈ Al2O3 ≈ SiO2. Основным механизмом таких реакций является карботермическое восстановление.
СЭМ-изображение РК, смешанного с графитом, без механоактивации приведено на рис. 3а. Видно, что частицы РК (светлая область) и графита (темная область) неоднородны. Размеры частиц исходной смеси составляли 50–450 мкм. Предполагалось, что в процессе термохимических реакций в жидкой фазе будет достигнута наноразмерная величина с частичным переходом в атомарное состояние. При этом при достижении максимально реализуемой температуры 8000–11000 К реализуется состояние квазинейтральности потока плазмы.
Рис. 3. СЭМ-изображения РК (а) и продуктов синтеза, отобранных с камеры реактора (б), отобранных ближе к основанию концентратора (в).
На СЭМ-изображении, представленном на рис. 3б, видны сферообразные частицы, полученные с поверхности камеры реактора, находящиеся в отдалении от осевого центра плазменного потока, представляющие собой восстановленный титан (светлая область, спектры 5, 7) или сплавы металлов (спектры 6, 8) преимущественно системы Fe–C, карбиды титана (темная область) и карбиды других металлов, а также их агломераты. При относительно высоком градиенте температуры плазменного потока в объемной области и на стенках камеры реактора можно добиться перехода образованных частиц в глобулярную форму.
Если диспергированные частицы, сформированные уже на выходе из потока плазмы и удаляющиеся от ее источника продолжают испытывать воздействие температуры порядка 3500–5000 К (температура плавления карбида титана 3533.15±300 K, кипения – 4573.15 К), образуются агломераты.
На рис. 3в показан СЭМ-снимок сплавленных карбидных фаз, преимущественно TiC. Элементный состав исходного материала и компонентов продуктов, полученных в ходе плазмохимического синтеза, представлен в табл. 3.
Таблица 3. Элементный состав компонентов смеси и продуктов после плазменного синтеза (спектры 1–11 см. на рис. 3)
Элемент | Содержание химических элементов, ат.% | |||||||||
1 | 2 | 3 | 5 | 6 | 7 | 8 | 9 | 10 | 11 | |
C | – | – | – | 18.61 | 0.12 | 19.35 | 0.36 | 19.35 | 19.76 | 18.89 |
О | 41.74 | 40.27 | 41.35 | – | – | – | – | – | – | – |
Ti | 36.08 | 37.02 | 36.35 | 80.84 | 6.76 | 79.98 | 11.26 | 80.44 | 79.95 | 80.9 |
Al | 8.12 | 9.11 | 8.98 | 0.02 | 7.11 | 0.08 | 0.21 | 0.02 | 0.01 | – |
Fe | 6.64 | 6.71 | 6.52 | 0.5 | 85.31 | 0.45 | 87.56 | 0.04 | 0.09 | 0.07 |
Si | 4.13 | 4.32 | 4.16 | 0.02 | 0.04 | 0.12 | 0.04 | 0.13 | 0.16 | 0.12 |
Mn | 0.59 | 0.52 | 0.57 | 0.01 | 0.12 | 0.01 | 0.12 | 0.01 | 0.01 | – |
Ca | 0.6 | 0.54 | 0.59 | – | 0.01 | – | 0.01 | – | – | – |
Mg | 0.6 | 0.6 | 0.48 | – | 0.16 | – | 0.13 | – | – | – |
Прочие | 1.5 | 0.91 | 1 | 0 | 0.37 | 0.01 | 0.31 | 0.01 | 0.02 | 0.02 |
Спектральный анализ полученных после плазменного синтеза образцов, отобранных из реакционной камеры, показал наличие большинства химических элементов, входящих в исходный состав порошков РК и углерода. Анализ химического состава концентрата показал наличие следующих попутных элементов: K (до 0.18 мас.%), Cr (до 0.17 мас.%), Zr (до 0.31 мас.%), W (до 0.42 мас.%), V (до 0.14 мас.%), P (до 0.14 мас.%).
Спектры 1–3 (рис. 4а, табл. 3) указывают на содержание в смеси Ti (до 37.02 мас.%), О (до 41.74 мас.%) и попутных элементов (22.71 мас.%). Рентгеноспектральный анализ показал наличие фазы TiO2. Спектр 4 показывает наличие С (99.98 мас.%) и попутных элементов (0.02 мас.%), что соответствует графиту.
Рис. 4. Спектры исходной смеси (а) и продуктов синтеза, полученных со стенок камеры реактора (б, в) (см. табл. 3).
Спектры 5 и 7 (рис. 4б, табл. 3) указывают на содержание в смеси Ti (до 80.84 мас.%, до 50 ат.%), С (до 19.35 мас.%, до 50 ат.%) и попутных элементов (до 0.67 мас.%). Рентгеноспектральный анализ показал наличие TiC, Al4C3, Fe3C, SiC, Mn3C, CaC2, MgC2.
Спектры 6 и 8 указывают на содержание в смеси Fe (до 87.56 мас.%), С (до 0.36 мас.%), Ti (до 11.26 мас.%), Al (до 7.11 мас.%) и попутных (среднее содержание по двум спектрам до 0.65 мас.%). Материал, характеризуемый спектрами 6 и 8, представляет собой металлические шарики из сплавов на основе Fe–Ti–Al, которые легко отделяются от основной массы с применением магнитной сепарации.
Спектры 9–11 (рис. 3в) указывают на содержание в смеси Ti (до 80.9 мас.%, до 50 ат.%), С (до 19.76 мас.%, до 50 ат.%), попутных элементов (до 0.29 мас.%).
СЭМ-изображения образцов, сконденсированных на стенках реакционной камеры, показаны на рис. 5, результаты химического анализа образцов сведены в табл. 4. Образцы (рис. 5а), отобранные из камеры и не прошедшие никаких этапов очистки, на снимках имеют четкие очертания металлических фрагментов на фоне более темной области, представленной преимущественно карбидом титана. Рентгеноспектральный анализ показал наличие TiC, Ti (восстановленный металл), Al4C3, Fe3C, SiC, Mn3C, CaC2, MgC2 преимущественно в сплавленном виде, а также интерметаллических сплавов Fe–Ti–Al.
Рис. 5. СЭМ-изображения полученных образцов до (а) и после очистки (б).
Таблица 4. Элементный состав компонентов продуктов плазменного синтеза до и после очистки (спектры 13–20 см. на рис. 5)
Элемент | Содержание химических элементов в спектре, ат.% | |||||||
13 | 14 | 15 | 16 | 17 | 18 | 19 | 20 | |
C | 0.18 | 0.23 | 17.84 | 19.31 | 0.09 | 19.22 | 18.99 | 19.06 |
Ti | 91.27 | 87.62 | 81.65 | 80.18 | 64.57 | 80.53 | 80.91 | 80.78 |
Al | 4.76 | 6.21 | 0.01 | 0.01 | 11.13 | – | – | – |
Fe | 3.19 | 4.51 | – | – | 22.31 | 0.05 | 0.04 | 0.06 |
Si | 0.06 | 0.02 | – | – | 0.18 | – | – | – |
Прочие | 0.54 | 1.41 | 0.5 | 0.5 | 1.72 | 0.2 | 0.06 | 0.1 |
Спектры 15 и 16 (рис. 5а) указывают на содержание Ti (до 81.65 мас.%, до 50 ат.%), С (до 19.31 мас.%, до 50 ат.%) и попутных элементов (до 0.5 мас.%)
В ходе проведения рентгенофазового анализа образцов, полученных в ходе плазмохимического синтеза и очищенных от загрязнений, выявлена преимущественно фаза TiC (рис. 6).
Рис. 6. Рентгенограмма карбида титана, полученного плазмохимическим синтезом, после очистки.
В дальнейшем были проведены операции по очистке полученных образцов с применение ультразвуковой ванны и дистиллированной воды. В процессе такого воздействия протекала характерная реакция CaC2 + + 2H2O → Ca(OH)2 + C2H2 (с выделением газа). Также под воздействием ультразвука и кавитационного эффекта протекают следующие реакции: Mn3C + 6H2O→3Mn(OH)2 + + CH4 + H2 (с выделением газа), MgC2 + + 2H2O→Mg(OH)2 + C2H2 (с выделением газа) и Al4C3+ H2O→4Al(OH)3 + 3CH4 (с выделением газа). После отключения ультразвука, не извлекая материал, была проведена магнитная обработка водного раствора, затем материал повторно промывался и просушивался. Материал, прошедший операцию очистки, показан на рис. 5б.
Спектры 18–20 (рис. 5б) указывают на содержание в смеси Ti (до 80.91 мас.%, до 50 ат.%), С (до 19.22 мас.%, до 50 ат.%), Fe (до 0.06 мас.%) и попутных элементов (до 0.2 мас.%). Рентгеноспектральный анализ показал наличие TiC (преимущественно), Fe3C и SiC.
Для анализа морфологического и фазового составов были отобраны образцы карбида титана, прошедшие предварительную химическую очистку с дистиллированной водой и ультразвуковым воздействием (рис. 7). Результаты дифракционного анализа (рис. 7б) показали наличие преимущественно кубической решетки с параметром элементарной ячейки 0.43270 нм (пр. гр. Fm3m).
Рис. 7. ПЭМ-изображение карбида титана, полученного с сетки (а), и дифракционная картина участка карбида титана (б).
Масса полученного карбида титана после просушки измерялась методом насыпной плотности. В процессе эксперимента поэтапно изменялись доля графита в составе подготавливаемого порошка и гранулометрический состав. Температура плазменного потока определялась до подачи порошка в систему. Зависимости показывают количество карбида титана, полученного после отделения от шлака и попутных соединений, при этом в процессе высокотемпературного воздействия часть материала возгоняется, что ведет к снижению общей массы получаемого материала.
На рис. 8 приведены экспериментальные зависимости массы карбида титана от количества вносимого углерода (а) и температуры плазменного потока (б) при изменении размера фракции. Для оценки влияния размера фракции, температуры и состава смеси на количество синтезируемого карбида титана применялся метод дисперсионного анализа.
Рис. 8. Зависимости содержания карбида титана от количества углерода в смеси (а) и температуры плазменного потока (б) при определенных фракциях шихты.
Cтоит отметить, что время механоактивации в значительной степени влияет на количественные и качественные характеристики плазменного синтеза. Так, при схожих параметрах на инверторе электродугового плазмотрона 250 А, расходе газа 9 л/мин, частоте СВЧ-излучения магнетрона 2.44 ГГц характеристики карбида титана при фракционном составе 50–150 мкм лучше на 52–58%, чем при аналогичных параметрах и фракционном составе 400–450 мкм, который напрямую связан с временем механоактивации.
Температура плазменного потока, зависящая от количества подаваемого материала, токовой нагрузки на плазмотрон за один цикл, также влияет на качество и количество синтезируемого карбида титана. Длительность воздействия потока плазмы на частицы порошка, время их нахождения в активной, наиболее горячей, области потока – один из параметров, который требует наиболее детального анализа. Так, по результатам наблюдения, это условие в значительной степени влияет на количество прореагировавшего с углеродом оксида титана. Одним из механизмов управления временем пребывания частиц смеси в наиболее нагретой зоне плазмы является применение фокусирующих устройств по типу “концентраторов”. Важно отметить, что повышение температуры плазмы при увеличении нагрузки на плазмотрон снижает количество прореагировавшего карбида титана (рис. 8).
При температуре, близкой к 8000 К, и размерах частиц 50–150 мкм содержание карбида уменьшается, однако при увеличении размера фракций до 400–450 мкм температура может повыситься на 1500 К, что позволит увеличить выход карбида титана.
Проблемным является фактор наличия карбида кремния, который схож по многим температурным и химическим характеристикам с карбидом титана, что делает его трудно выводимым из системы Ti–Si–C.
Измеренная плотность полученного материала, преимущественно состоящего из карбида титана, после стадии очистки и сушки составляет 4.91 г/см³, что соответствует справочным значениям.
Таким образом, плазмохимический синтез позволяет в условиях дефицита сырья получать карбид титана высокой чистоты (до 99.94 мас.%) быстро, без пиро-, гидрометаллургического передела, без применения сложной техники и стадий предварительной химической переработки.
Полученная в результате дробления фракция представлена преимущественно наноразмерным карбидом титана (менее 100 нм, встречаются частицы до 10 нм), доля которого от общей массы 10 г составляет порядка 67%. Отметим, что полученный после очистки карбид титана в процессе измельчения достаточно быстро разрушался на более мелкие фракции. Это обусловлено хрупкостью связей в больших агломератах, состоящих из более мелких частиц. При этом высокая скорость охлаждения частиц при выходе из потока плазмы препятствует их сплавлению. Основной проблемой остается предварительная очистка карбида титана от примесей карбидов других элементов, что критически важно для получения высокочистого продукта.
ЗАКЛЮЧЕНИЕ
Методом плазмохимического синтеза с применением экспериментальной лабораторной установки из рутилового концентрата с содержанием TiO2 до 75.0 мас.% и добавлением в качестве карбидообразующего материла графита получен TiC. Чистота очищенного карбида титана может составлять до 99.94 мас.%, однако без предварительной очистки в карбиде титана присутствуют карбиды попутных химических элементов.
Полученная после дробления, просушивания и просеивания фракция представлена преимущественно наноразмерным карбидом титана (менее 100 нм, встречаются частицы до 10 нм), доля которого от общей массы 10 г составляет порядка 67%.
В работе была апробирована технология получения карбида титана на экспериментальной комбинированной установке в потоке низкотемпературной плазмы с СВЧ-воздействием. В установке применена схема размещения магнетрона и плазмотрона косвенного действия на волноводной камере. Синтез карбида титана протекает в атмосфере инертного газа, что может позволить повысить качество получаемого TiC в один технологический цикл.
БЛАГОДАРНОСТЬ
Коллектив авторов благодарит Н.В. Бердникова и Н.С. Коновалову за помощь в проведении спектрального и рентгенофазового анализов образцов.
ФИНАНСИРОВАНИЕ РАБОТЫ
Работа выполнена в рамках государственного задания Министерства науки и высшего образования Российской Федерации № 075-01108-23-02 (тема № 123020700174-7. Создание и исследование новых металлических, керамических, интерметаллидных, композиционных материалов и наноструктурных покрытий с высокими физико-химическими и эксплуатационными свойствами).
КОНФЛИКТ ИНТЕРЕСОВ
Авторы заявляют, что у них нет конфликта интересов.
About the authors
Д. И. Балахонов
Хабаровский Федеральный исследовательский центр, Институт материаловедения ДВО Российской академии наук
Author for correspondence.
Email: karoxar@mail.ru
Russian Federation, ул. Тихоокеанская, 153, Хабаровск, 680033
С. В. Николенко
Хабаровский Федеральный исследовательский центр, Институт материаловедения ДВО Российской академии наук
Email: karoxar@mail.ru
Russian Federation, ул. Тихоокеанская, 153, Хабаровск, 680033
Л. А. Коневцов
Хабаровский Федеральный исследовательский центр, Институт материаловедения ДВО Российской академии наук
Email: karoxar@mail.ru
Russian Federation, ул. Тихоокеанская, 153, Хабаровск, 680033
References
- Богданов С.П. Синтез карбида титана в присутствии йода // Новые огнеупоры. 2015. № 10. С. 57–62. https://doi.org/10.17073/1683-4518-2015-10-57-62
- Bolshakov V.I., Kalinin A.V., Glushkova D.B., Kirichenko I.G., Voronkov A.I., Kostina L.L. Titanium-Based High-Melting Nanodispersed Compositions Obtaining and Study // Funct. Mater. 2018. V. 25. № 4. P. 736–740. https://doi.org/ 10.15407/fm25.04.736
- Крутский Ю.Л., Максимовский Е.А., Петров Р.В., Нецкина О.В., Ухина А.В., Крутская Т.М., Гудыма Т.С. Синтез карбида и диборида титана для металлообработки и получения керамики // Обработка металлов (технология, оборудование, инструменты). 2021. Т. 23. № 4. С. 155–166. https://doi.org/10.17212/1994-6309-2021-23.4-155-166
- Крутский Ю.Л., Дюкова К.Д., Антонова Е.В., Баннов А.Г., Вязьмина Ю.А. Синтез высокодисперсного порошка карбида титана с использованием нановолокнистого углерода // Перспективные материалы. 2014. № 2. С. 60–65.
- Хидиров И., Парпиев А.С., Гетманский В.В., Махмудов Ш.А. Нейтронографическое исследование фазовых превращений на нижней границе области гомогенности кубического карбида титана TiCx // Журн. неорган. химии. 2022. Т. 67. № 4. С. 483–491. https://doi.org/10.31857/S0044457X22040109
- Туманов Ю.H. Плазменные, высокочастотные, микроволновые и лазерные технологии в химико-металлургических процессах. М.: Физматлит, 2010. 968 с.
- Anshakov A., Domarov P., Faleev V. Plasma Devices for the Synthesis and Processing of Powder Materials // 7th Int. Congr. on Energy Fluxes and Radiation Effects (EFRE 2020). Tomsk. 2020. P. 14–26. https://doi.org/10.1109/EFRE47760.2020.9241967
- Гумовская А.А., Шеховцов В.В., Пак А.Я., Герасимов Р.Д., Волокитин О.Г., Мамонтов Г.Я. Синтез карбида титана в дуговом реакторе при атмосферном давлении // Неорган. материалы. 2023. Т. 59. № 5. С. 475–480. https://doi.org/10.31857/S0002337X23050044
- Пак А.Я., Якич Т.Ю., Мамонтов Г.Я., Рудмин М.А., Васильева Ю.З. Получение карбида титана в атмосферной электроразрядной плазме // Журн. техн. физики. 2020. Т. 90. № 5. С. 805–810. https://doi.org/10.21883/JTF.2020.05.49182.8-19
- Балахонов Д.И., Николенко С.В. Исследование боридов вольфрама, полученных из вольфрамсодержащего концентрата при воздействии СВЧ-плазмой // Неорган. материалы. 2023. Т. 59. № 6. С. 603–609. https://doi.org/10.31857/S0002337X23060039
- Балахонов Д.И., Макаров И.А. Плазмохимический синтез карбидов вольфрама из многокомпонентных оксидосодержащих концентратов // Расплавы. 2020. № 2. С. 113–123. https://doi.org/ 10.31857/S0235010620020024
- Domarov P.V., Serikov V.A., Morev A.E., Cherednichenko O.S. Cherednichenko O.S. Vacuum Plasmatrons with Hollow Cathode: Gas-Dynamic Plasma Processes in the Hollow Cathode // J. Eng. Thermophys. 2023. V. 32. № 3. P. 603–626. https://doi.org/10.1134/s1810232823030153
- Заякина С.Б. Исследования параметров плазмы и аналитических возможностей источников возбуждения спектров // Аналитика и контроль. 2005. Т. 9. № 4. С 377–385.
- Шавелкина М.Б., Амиров Р.Х., Кавыршин Д.И., Чиннов В.Ф. Спектроскопическое исследование плазменной струи гелия с добавками углеводородов // ТВТ. 2020. Т. 58. № 3. С. 327–335. https://doi.org/10.31857/S0040364420030163
- Горячев С.В., Хромов М.А., Кавыршин Д.И., Куликов Ю.М., Чиннов В.Ф., Щербаков В.В. Скорость и температура плазменных струй и их изменение вносимыми в плазму искусственными оптическими неоднородностями // ТВТ. 2021. Т. 59. № 1. С. 41–50. https://doi.org/10.31857/S0040364421010038
- Капсаламова Ф.Р., Красиков С.А., Журавлев В.В. Особенности фазовых превращений при механохимическом легировании в композиции Fe–Ni–Cr–Cu–Si–B–C // Расплавы. 2021. № 1. С. 79–89. https://doi.org/10.31857/S0235010621010060
- Пак А. Я. Закономерности и характеристики процессов получения керамических материалов на основе карбидов в условиях воздействия атмосферной электродуговой плазмы: дис. …докт. техн. наук. 2022. 340 с.
- Прибытков Г.А., Фирсина И.А., Коржова В.В., Барановский А.В., Криницын М.Г. Исследование продуктов синтеза в порошковых смесях титана, углерода и алюминия // Изв. вузов. Физика. 2021. Т. 64. № 9 (766). С. 92–98. https://doi.org/10.17223/00213411/64/9/92
- Гордиенко П.С., Пашнина Е.В., Ярусова С.Б., Иванников С.И., Жевтун И.Г., Зарубина Н.В. Комплексная переработка ильменитового концентрата // Хим. технология. 2019. Т. 20. № 14. С. 657–661. https://doi.org/10.31044/1684-5811-2019-20-14-657-661
- Гостищев В.В., Хосен Ри, Щекин А.В., Дзюба Г.С. Получение металлов и композиционных материалов с использованием минерального сырья Дальнего Востока. Хабаровск: ТОГУ, 2019. 230 с.
- Макиенко В.М., Коневцов Л.А. Избранные труды профессора А.Д. Верхотурова. В 2-х т. Т. 1. Общие проблемы науки и науки о материалах на современном этапе развития человеческой цивилизации. Хабаровск: ДВГУПС, 2016. 384 с.
Supplementary files










